|
|
(21), (22) Заявка: 2007136275/12, 28.02.2006
(24) Дата начала отсчета срока действия патента:
28.02.2006
(30) Конвенционный приоритет:
02.03.2005 DE 102005011004.5
(43) Дата публикации заявки: 10.04.2009
(46) Опубликовано: 20.02.2010
(56) Список документов, цитированных в отчете о поиске:
US 6553299 B1, 22.04.2003. US 6070539 A, 06.06.2000. EP 1415523 A, 06.05.2004. RU 2043006 C1, 10.09.1995. SU 664526 A, 25.05.1979.
(85) Дата перевода заявки PCT на национальную фазу:
02.10.2007
(86) Заявка PCT:
DE 2006/000390 20060228
(87) Публикация PCT:
WO 2006/092133 20060908
Адрес для переписки:
127055, Москва, а/я 11, пат.пов. Н.К.Попеленскому, рег. 31
|
(72) Автор(ы):
ВАГНЕР Йюрген (DE), ВУЛЬШНЕР Йенс (DE), ПАЛЬМЕР Маттиас (DE)
(73) Патентообладатель(и):
ВТК-Электроник ГмбХ (DE)
|
(54) УСТРОЙСТВО УПРАВЛЕНИЯ И РЕГУЛИРОВАНИЯ ОДНОЗЕРНОВОЙ СЕЯЛКИ
(57) Реферат:
Изобретение относится к устройству (1) управления и регулирования однозерновой сеялки с группой однозерновых высевающих аппаратов (2), каждый из которых имеет приводной двигатель, датчик импульсов вращения и средство (2.1) регулирования. Средство (2.1) регулирования имеет регулятор и регулирующий контур для управления приводным двигателем. Регуляторы связаны посредством сигнальных линий (3) со средством управления (4), представляющим собой компьютер, которое по сигнальным линиям передает управляющий сигнал на регуляторы. Средства (2.1) регулирования выполнены с возможностью преобразования поступающего с центрального компьютера (4) непреобразованного сигнала, зависящего от пути или скорости, в управляющие сигналы для соответствующих приводных двигателей. Каждый однозерновый высевающий аппарат снабжен высевающим диском с датчиком синхронизации отдельных высевающих дисков друг с другом. При этом датчик высевающего диска выполнен с возможностью обнаружения вращения диска. Использование изобретения позволит осуществить более точную и гибкую регулировку высевающих аппаратов, простую замену высевающих дисков, синхронизировать работу высевающих аппаратов, снизить количество сигналов и информации, которые необходимо передавать сигнальным линиям между средством управления и высевающими аппаратами. 7 з.п. ф-лы, 1 ил.
Область техники, к которой относится изобретение
Изобретение в целом относится к однозерновой сеялке с несколькими однозерновыми высевающими аппаратами, распределенными на расстоянии друг от друга по рабочей ширине на раме навесного устройства и имеющими собственный привод. В частности, изобретение относится к устройству управления и регулирования однозерновой сеялки такого рода.
Уровень техники
Однозерновые сеялки с однозерновыми высевающими аппаратами используют в сельском хозяйстве для рядного посева посевного материала. Обычно однозерновая сеялка снабжена бункерами для семян, количество которых соответствует числу высевающих аппаратов, так что возможен как целенаправленный одновременный посев семенного материала различных сортов, так и реализация схемы с оставлением свободных полос.
Для достижения равномерности промежутков между семенами в почве необходимо постоянно вести регулировку выкладки семян. Поэтому отдельные однозерновые высевающие аппараты соединены с центральным устройством регулирования, расположенным для обработки регулирующего и регулируемого параметров и формирования одного или многих выходных сигналов в виде параметров управления приводными двигателями однозерновых высевающих аппаратов.
На практике в качестве регулирующих параметров обычно используют скорость движения или пройденный однозерновой сеялкой путь. Эти регулирующие параметры либо воспринимают с помощью датчиков, которые расположены в районе колеса или катящегося по земле ролика, либо определяются иным образом, например, с помощью радиолокационных датчиков. Из уровня техники известен патент Германии DE 4234600
С2, в котором описана сеялка с однозерновыми высевающими аппаратами. При этом сеялка состоит из нескольких работающих от привода однозерновых высевающих аппаратов, распределенных друг от друга по рабочей ширине на расстоянии ширины ряда, и датчика пути для получения информации о пройденном расстоянии. Отличием этого изобретения является то, что каждый однозерновой высевающий аппарат имеет собственный электропривод, причем каждый электропривод соединен с центральным устройством управления посредством линии управляющих сигналов. Устройство управления, со своей стороны, снабжено одним или нескольким бесступенчатыми пропорциональными регуляторами, которые преобразуют поступающие с датчика пути импульсы в управляющие импульсы для электроприводов.
В патенте DE 10251114.4 описана сеялка, имеющая несколько высевающих аппаратов, закрепленных с промежутками на раме. Каждый высевающий аппарат при этом имеет собственный привод для выкладки посевного материала. Кроме того, предусмотрено такое управление, что при заданной схеме посева оно осуществляется в отношении либо по меньшей мере одного высевающего аппарата с тем, чтобы он выкладывал семенной материал с учетом точки высева по меньшей мере одного соседнего высевающего аппарата, либо же в отношении всех высевающих аппаратов централизованным образом с использованием внешней системы для определения положения каждого отдельного высевающего аппарата.
В патенте DE 3704308 раскрыта однозерновая сеялка с центральной рамой, причем на центральной раме размещено несколько однозерновых высевающих аппаратов. При этом однозерновые высевающие аппараты приводит в действие управляемый привод в зависимости от скорости движения. Отличительным признаком этого изобретения является управляемый приводной двигатель, размещенный на приводном валу однозерновых высевающих аппаратов.
Из заявки DE 3908665 А1 известна пневматическая сеялка, которая снабжена множеством распределителей в виде вращающихся дисков, каждый из которых оснащен собственным электродвигателем. При этом скорость перемещения сеялки воспринимается преобразователями. Данные преобразователи подают импульсы, являющиеся функцией скорости перемещения, на электронные устройства, воздействующие на двигатели распределителей.
Общим для приведенных выше изобретений является то, что управление отдельными высевающими аппаратами, соединенными с центральным управляющим и регулирующим устройством, в каждом случае осуществляется с использованием одной сигнальной линии посредством обработанного управляющего сигнала от одного или нескольких пропорциональных регуляторов, размещенных в управляющем и регулирующем устройстве. В пропорциональных регуляторах происходит сравнение заданных параметров, получаемых от пропорциональных звеньев центрального управляющего и регулирующего устройства для отдельных приводных двигателей, с реальными величинами скорости вращения, сообщенными от датчиков скорости вращения, и регулировка в зависимости от разницы. Используемые для этого сигнальные линии дополнительно передают и другую информацию, что приводит в конечном итоге к соответствующему увеличению количества сигнальных линий. Помимо этого централизованное регулирование отдельных высевающих аппаратов обладает недостатком, заключающимся в том, что ввиду различного количества пропорциональных регуляторов сеялки с различным количеством высевающих аппаратов требуют применения различных управляющих и регулирующих устройств.
Раскрытие изобретения
Задача изобретения состоит, соответственно, в том, чтобы предложить устройство управления и регулирования однозерновой сеялки с несколькими работающими от привода высевающими аппаратами, обладающее большей гибкостью и меньшей чувствительностью к помехам, а также возможностью более простого дооборудования и подключения дополнительных однозерновых высевающих аппаратов.
Эту задачу решают тем, что, как и в предшествующем уровне техники, устройство управления и регулирования однозерновой сеялкой с несколькими работающими от привода высевающими аппаратами, каждый из которых содержит соответственно отдельный приводной двигатель с датчиком импульсов вращения. При этом для управления каждым двигателем привода предусмотрен регулятор, причем эти регуляторы выполнены таким образом, что ими управляет сигнал от центрального компьютера. В то время как в настоящем уровне техники регуляторы централизованно размещают в центральном компьютере, регуляторы согласно изобретению размещают децентрализованно на однозерновых высевающих аппаратах и соединяют их сигнальными линиями с центральным компьютером, представляющем собой только средство управления. Соответственно, каждый однозерновой высевающий аппарат снабжен собственным децентрализованным средством регулирования, имеющим регулятор и регулирующий контур. При этом регуляторы выполнены с возможностью преобразования подаваемого с центрального компьютера непреобразованного сигнала, зависящего от пути или скорости, в управляющие сигналы соответствующего приводного двигателя.
В отличие от настоящего уровня техники, средство управления согласно изобретению не снабжено регуляторами и не берет на себя таким образом ни функцию регулирования, ни выработку регулирующих сигналов. Все функции регулирования однозерновых высевающих аппаратов передаются отдельным децентрализованным средствам регулирования самих аппаратов. Центральный компьютер выполняет только функции управления и передает необработанные или непреобразованные сигналы, зависящие от пути или скорости, на средства регулирования однозерновых высевающих аппаратов. Преобразование переданных сигналов в управляющие сигналы для приводных двигателей однозерновых высевающих аппаратов осуществляется исключительно самими средствами регулирования однозерновых высевающих аппаратов.
Центральный компьютер, представляющий собой чисто средство управления, соединен как с регуляторами однозерновых высевающих аппаратов, так и с терминалом управления посредством сигнальных линий, выполненных в виде информационных шин. Помимо непреобразованных сигналов, зависящих от пути или скорости, информационные шины согласно изобретению передают задаваемые оператором на терминале управления параметры, например, измененное расстояние между семенами, и информацию о необходимом подключении или отключении отдельных однозерновых высевающих аппаратов.
Таким образом, центральный компьютер подключен ко всем децентрализованным средствам регулирования однозерновых высевающих аппаратов и служит для соединения средств регулирования с терминалом управления. В предпочтительном выполнении изобретения центральный компьютер, представляющий собой средство управления, дополнительно к связи с терминалом управления, берет на себя функции управления сеялкой, например, откидной рамой, следоуказателем или шасси.
В качестве соединения между терминалом управления и центральным компьютером (средством управления) предпочтительно применять часто используемый в транспортных средствах ISOBUS, а для связи между центральным компьютером и децентрализованными средствами регулирования однозерновых высевающих аппаратов – LIN-BUS.
Все информационные шины между средством управления и децентрализованными средствами регулирования снабжены органами переключения, которые, соответственно, могут быть включены или выключены. В качестве органов переключения целесообразно использовать реле или полупроводники. Благодаря этому можно запускать посредством управляющего устройства каждый однозерновой высевающий отдельно с определенным адресом соответственно размещению.
В конце процедуры запуска информационные шины оказываются подключенными ко всем децентрализованным средствам регулирования посредством органов переключения, благодаря чему достигается двусторонняя связь между средством управления и всеми средствами регулирования.
При этом преимущество изобретения становится особенно явным. Если необходима замена однозерновых высевающих аппаратов с относящимися к ним средствами регулирования, то они могут быть без дополнительных усилий установлены на сеялку без адресации согласно их положению и включены в систему управления.
Соответственно, децентрализованные средства регулирования дополнительно берут на себя функцию контроля за количеством посевных зерен, функцию настройки органов переключения на предвсходовую разметку на соответствующих однозерновых высевающих аппаратах, а также функцию сообщения о неисправности.
В более предпочтительном варианте выполнения изобретения децентрализованные средства регулирования выполнены с возможностью управления разбрасывателями гранулированных удобрений и другими дозировочными приводами. Таким образом спектр применения предмета изобретения значительно расширяется.
Как упомянуто выше, однозерновые высевающие аппараты снабжены отдельным приводным двигателем с датчиком импульсов вращения. При этом сигнал датчика импульсов вращения служит основой регулировки скорости вращения приводного двигателя, представляющего собой электродвигатель. Согласно изобретению однозерновые высевающие аппараты включают в себя дополнительный датчик высевающего диска, воспринимающий сигналы от диска, вращающегося при движении сеялки. При этом высевающий диск снабжен несколькими ячейками или метками, которые идентичны друг другу или находятся на одинаковом друг от друга расстоянии. На одну метку или на одну проходящую ячейку приходится один воспринимаемый датчиком высевающего диска сигнал, используемый как регулируемая величина для дальнейшей дозировки. Датчик высевающего диска, таким образом, может воспринимать количество ячеек диска и его угловое положение. Размещать датчик высевающего диска целесообразно непосредственно на месте выброса семян или непосредственно на ободе диска напротив места выброса. Это упрощает замену высевающего диска, поскольку оператору нет необходимости что-либо предпринимать ни на центральном компьютере, представляющем собой средство управления, ни на соответствующих дискам децентрализованных средствах регулирования.
С помощью датчика высевающего диска и датчика импульсов вращения децентрализованное средство регулирования каждого однозернового высевающего аппарата имеет возможность привести высевающий диск к заданному начальному углу. Данный начальный угол может быть задан посредством информационной шины для каждого отдельного высевающего аппарата в виде сдвига зерна или отступа относительно определенного нулевого положения в направлении движения. Преимущество состоит в возможности синхронизировать отдельные однозерновые высевающие аппараты сеялки. То есть выкладка семян может производиться однозерновыми высевающими аппаратами одновременно или согласно иной требуемой схеме посева, например, с размещением семян со сдвигом.
Основные существенные преимущества и признаки изобретения по сравнению с настоящим уровнем техники состоят в следующем:
– передача функций регулировки с центрального средства управления на децентрализованные средства регулирования однозерновых высевающих аппаратов,
– более точная и гибкая регулировка однозерновых высевающих аппаратов,
– снижение количества сигналов и информации, которые необходимо передавать сигнальным линиям между средством управления и однозерновыми высевающими аппаратами,
– возможность синхронизации отдельных однозерновых высевающих аппаратов благодаря использованию датчика импульсов вращения в сочетании с датчиком высевающего диска,
– возможность замены высевающих дисков с различным количеством ячеек без ручной настройки параметров или изменения количества ячеек.
Прочие признаки и преимущества становятся ясны специалисту из нижеследующего подробного описания предпочтительного варианта выполнения с учетом прилагаемого чертежа.
Краткое описание чертежа
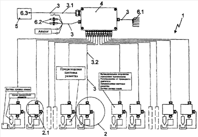
В описании представлена: блок-схема устройства управления и регулирования согласно изобретению для однозерновой сеялки с несколькими однозерновыми высевающими аппаратами, работающими от привода.
Осуществление изобретения
На чертеже представлена блок-схема устройства 1 управления и регулирования согласно изобретению для однозерновой сеялки с несколькими однозерновыми высевающими аппаратами 2, работающими от привода. Устройство 1 содержит размещенное на однозерновой сеялке средство 4 управления (центральный компьютер 4), соединенное посредством информационной шины ISOBUS 3.2 с терминалом 5 управления. Также предусмотрены несколько однозерновых высевающих аппаратов 2, каждый из которых снабжен децентрализованным средством 2.1 регулирования, которые соединены соответственно посредством информационной шины LIN-BUS 3.1 со средством 4 управления. Терминал 5 управления находится, как правило, в водительской кабине трактора (тягача) и служит для передачи информации о вводимых оператором терминала управления заданных параметров 6.3, например, измененное расстояние между семенами, и информации о желаемом подключении или отключении отдельных однозерновых высевающих аппаратов 2, через средство 4 управления к отдельным децентрализованным средствам 2.1 регулирования однозерновых высевающих аппаратов 2. Однозерновые высевающие аппараты 2 при этом расположены на расстоянии друг от друга по рабочей ширине на раме навесного устройства, подробно неописанного. Помимо вышеуказанной информации в центральный компьютер 4 поступают также зависимые от пройденного пути или скорости сигналы 6.2, которые без обработки и соответственно преобразования передаются на децентрализованные регулирующие устройства 2.1 однозерновых высевающих аппаратов 2. Кроме того, средство 4 управления может брать на себя функции 6.1 управления однозерновой сеялкой, например, откидной рамой, следоуказателем или шасси. Необходимые для этого сигнальные выходы показаны на правой, с точки зрения наблюдателя, стороне средства 4 управления. Помимо децентрализованных средств 2.1 регулирования у каждого однозернового высевающего аппарата 2 есть отдельный приводной двигатель с датчиком импульсов вращения. В однозерновом высевающем аппарате 2 дополнительно предусмотрен датчик высевающего диска, воспринимающий сигналы от высевающего диска, вращающегося при перемещении сеялки. Децентрализованные средства 2.1 регулирования однозерновых высевающих аппаратов 2 обрабатывают, с одной стороны, непреобразованные зависящие от пройденного пути или скорости сигналы от средства 4 управления, а также заданные оператором на терминале управления параметрами 6.3, например, измененное расстояние между семенами. Благодаря тому, что обработка и генерация сигнала происходит согласно изобретению вместо средства 4 управления в децентрализованных средствах 2.1 регулирования однозерновых высевающих аппаратов 2, можно значительно уменьшить количество информационных шин LIN-BUS 3.1, соединяющих центральный компьютер 4 с однозерновыми высевающими аппаратами 2.
Формула изобретения
1. Устройство (1) управления и регулировования однозерновой сеялки, отличающееся тем, что оно содержит группу однозерновых высевающих аппаратов (2), каждый из которых имеет приводной двигатель, датчик импульсов вращения и средство (2.1) регулирования, снабженное регулятором и регулирующим контуром управления приводным двигателем, средство управления (4), представляющее собой центральный компьютер и связанное с регуляторами однозерновых высевающих аппаратов (2) посредством сигнальных линий (3) с возможностью подачи управляющего сигнала на регуляторы, при этом средства (2.1) регулирования выполнены с возможностью преобразования поступающего с центрального компьютера непреобразованного сигнала (6.2), зависящего от пути или скорости, в управляющие сигналы для соответствующих приводных двигателей, причем каждый однозерновой высевающий аппарат (2) снабжен высевающим диском с датчиком синхронизации отдельных высевающих дисков друг с другом, а датчик высевающего диска выполнен с возможностью обнаружения вращения диска.
2. Устройство (1) по п.1, отличающееся тем, что средство (4) управления связано с терминалом (5) управления посредством сигнальных линий (3) с возможностью передачи вводимых оператором на терминале управления (5) параметров (6.3), и/или передачи сигналов центральных датчиков пути или скорости в качестве входных параметров (6.2), и/или подключения или отключения отдельных однозерновых высевающих аппаратов.
3. Устройство (1) по п.1 или 2, отличающееся тем, что каждое средство (2.1) регулирования дополнительно выполнено с возможностью контроля за количеством посевных зерен и настройки органов переключения на предвсходовую разметку на соответствующих однозерновых высевающих аппаратах (2).
4. Устройство (1) по любому из пп.1 и 2, отличающееся тем, что по меньшей мере одно средство (2.1) регулирования выполнено с возможностью управления разбрасывателями гранулированных удобрений и другими дозировочными приводами.
5. Устройство (1) по любому из пп.1 и 2, отличающееся тем, что средство (4) управления дополнительно выполнено с возможностью управления (6.1) узлами сеялки, такими, как откидная рама, следоуказатели или шасси.
6. Устройство (1) по любому из пп.1 и 2, отличающееся тем, что средство (2.1) регулирования каждого однозернового высевающего аппарата (2) выполнено с возможностью обнаружения сигнала, соответствующего количеству ячеек или меток соответствующего высевающего диска, и его использования в качестве параметра управления для дальнейшей дозировки.
7. Устройство (1) по любому из пп.1 и 2, отличающееся тем, что средство (2.1) регулирования каждого однозернового высевающего аппарата (2) выполнено с возможностью приведения высевающего диска к заданному начальному углу, который в виде сдвига зерна или отступа относительно определенного нулевого положения в направлении движения задан для каждого отдельного высевающего аппарата (2) посредством сигнальной линии (3).
8. Устройство (1) по любому из пп.1 и 2, отличающееся тем, что сигнальные линии (3), связывающие однозерновые высевающие аппараты (2) со средством (4) управления, представляют собой шины LIN-BUS, а сигнальные линии (3), связывающие средство (4) управления с терминалом управления (5), представляют собой шины ISOBUS.
РИСУНКИ
|
|