|
|
(21), (22) Заявка: 2008144146/28, 06.11.2008
(24) Дата начала отсчета срока действия патента:
06.11.2008
(46) Опубликовано: 10.02.2010
(56) Список документов, цитированных в отчете о поиске:
RU 2193826 С2, 27.11.2002. SU 688996 A1, 30.09.1979. WO 0052978 A1, 08.09.2000. US 2004105565 A1, 03.06.2004. GB 2344016 A, 24.05.2000.
Адрес для переписки:
450059, г.Уфа, ул. Р. Зорге, 26/3, кв.85, В.В. Шаньгину
|
(72) Автор(ы):
Шаньгин Вячеслав Викторович (RU)
(73) Патентообладатель(и):
Шаньгин Вячеслав Викторович (RU)
|
(54) ГРОМКОГОВОРИТЕЛЬ
(57) Реферат:
Изобретение относится к электроакустике, в частности к малогабаритным высококачественным громкоговорителям для звуковоспроизводящей аппаратуры. Техническим результатом изобретения является повышение эффективности излучения громкоговорителя в области низких частот и снижение искажений при воспроизведении звуковых сигналов высокой частоты. Громкоговоритель содержит корпус, электродинамическую головку, жестко прикрепленную к корпусу, пассивный излучатель. Между электродинамической головкой и пассивным излучателем размещен акустический канал, площадь поперечного сечения которого составляет (0,1÷0,5)Sдиф, площадь пассивного излучателя составляет (1÷20)Sдиф, длина канала выбирается из условия (0÷0,4)D, а расстояние между электродинамической головкой и пассивным излучателем равно (0,01÷0,5)D, где Sдиф – площадь диффузора электродинамической головки; D – диаметр пассивного излучателя. Акустический канал выполняется в виде трубки, размещенной соосно с электродинамической головкой. Для точной настройки может выполняться телескопическим. 1 ил.
Изобретение относится к электроакустике, в частности к малогабаритным высококачественным громкоговорителям для звуковоспроизводящей аппаратуры.
Известен громкоговоритель, содержащий корпус, к которому жестко прикреплены электродинамическая головка и пассивный излучатель из синтетической пленки, натянутой на корпус. Пассивный излучатель сопряжен с диффузором электродинамической головки через замкнутый воздушный промежуток [1]. Недостатком известного устройства является недостаточно широкий диапазон воспроизведения звука в области низких частот и искажения на высоких частотах, вызванные резонансом пленочного покрытия корпуса.
Известен громкоговоритель, содержащий корпус с прикрепленной к нему электродинамической головкой, пассивный излучатель, сопряженный с электродинамической головкой, причем пассивный излучатель имеет большую, чем диффузор, площадь излучения [2]. Недостатком известного устройства, выбранного в качестве прототипа, является нелинейная зависимость частотной характеристики от размеров пассивного излучателя и искажения при воспроизведении высокочастотной составляющей звукового спектра.
Цель изобретения – повышение эффективности излучения громкоговорителя в области низких частот и снижение искажений при воспроизведении звуковых сигналов высокой частоты.
Поставленная цель достигается тем, что в громкоговорителе, содержащем корпус, электродинамическую головку, жестко прикрепленную к корпусу, пассивный излучатель, в отличие от прототипа между электродинамической головкой и пассивным излучателем размещен акустический канал, площадь поперечного сечения которого составляет (0,1÷0,5)Sдиф, площадь пассивного излучателя составляет
(1÷20)Sдиф, длина канала выбирается из условия (0÷0,4)D, а расстояние между электродинамической головкой и пассивным излучателем равно (0,01÷0,5)D, где Sдиф – площадь диффузора электродинамической головки; D – диаметр пассивного излучателя.
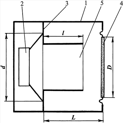
На чертеже представлена схема конструкции громкоговорителя.
В корпусе 1 размещена электродинамическая головка 2, жестко прикрепленная к деке 3. К передней стенке корпуса на гибких упругих гофрах прикреплен пассивный излучатель 4. Между декой 3 и пассивным излучателем 4 установлен акустический канал 5 перпендикулярно деке 3 и соосно с электродинамической головкой 2. Размеры акустического канала 5 выбираются из условий:
– площадь поперечного сечения канала 5 составляет 10÷50% от площади диффузора электродинамической головки 2, т.е. Sкан=(0,1÷0,5)Sдиф, где Sкан – площадь поперечного сечения акустического канала; Sдиф – площадь диффузора электродинамической головки;
– длина канала составляет от 0 до 40% диаметра пассивного излучателя, т.е. l=(0÷0,4)D, где l – длина канала; D – диаметр пассивного излучателя;
Площадь пассивного излучателя 4 составляет Sпи=(1÷20)Sдиф, где Sпи – площадь пассивного излучателя; Sдиф – площадь диффузора электродинамической головки.
Расстояние между декой 2 и пассивным излучателем 4 выбирается равным половине диаметра пассивного излучателя 4, т.е. L=(0,01÷0,5)D, где L – расстояние между декой 3 и пассивным излучателем 4; D – диаметр пассивного излучателя.
Конструктивно предлагаемый громкоговоритель может быть выполнен в виде деревянного корпуса 1, оклеенного внутри звукопоглощающим покрытием. Пассивный излучатель 4 выполняется из ламинированного пенопласта, прикрепленного с помощью резиновых гофров к передней стенке корпуса 1. Акустический канал 5 представляет собой отрезок трубки, прикрепленной к деке 3 соосно с электродинамической головкой 2. Для более точной подборки длины акустического канала 5 его можно выполнить телескопическим.
По сравнению с устройствами аналогичного назначения предлагаемое техническое решение обладает следующими преимуществами:
– определены наиболее критичные соотношения размеров основных элементов громкоговорителя, что позволяет от метода подбора конструктивных элементов перейти к расчетам;
– полученные эмпирические соотношения конструктивных элементов громкоговорителя позволяют повысить эффективность излучения в области низких частот и получить более линейную характеристику в области высоких частот;
– полученные данные пригодны для создания высокоэффективных малогабаритных громкоговорителей различной мощности.
Источники информации
1. Пат. RU 2193826.
2. Пат. RU 2000131505 (прототип).
Формула изобретения
Громкоговоритель, содержащий корпус, электродинамическую головку, жестко прикрепленную к корпусу, пассивный излучатель, отличающийся тем, что между электродинамической головкой и пассивным излучателем размещен акустический канал, площадь поперечного сечения которого составляет (0,1÷0,5)Sдиф, площадь пассивного излучателя составляет (1÷20)Sдиф, длина канала выбирается из условия (0÷0,4)D, а расстояние между электродинамической головкой и пассивным излучателем равно (0,01÷0,5)D, где Sдиф – площадь диффузора электродинамической головки; D – диаметр пассивного излучателя.
РИСУНКИ
|
|