|
(21), (22) Заявка: 2008104644/09, 06.02.2008
(24) Дата начала отсчета срока действия патента:
06.02.2008
(30) Конвенционный приоритет:
07.02.2007 KR 10-2007-0012779
(43) Дата публикации заявки: 20.08.2009
(46) Опубликовано: 10.02.2010
(56) Список документов, цитированных в отчете о поиске:
RU 2241305 C1, 27.11.2004. RU 2265951 C2, 10.12.2005. RU 2279758 C2, 10.07.2006. WO 2004/054099 А1, 24.06.2004. ЕР 1387487 А2, 04.02.2004. US 6163789 А, 19.12.2000. WO 2005/073959 A1, 11.08.2005.
Адрес для переписки:
129090, Москва, ул.Б.Спасская, 25, стр.3, ООО “Юридическая фирма Городисский и Партнеры”, пат.пов. А.В.Мицу, рег. 364
|
(72) Автор(ы):
ОХ Дзае-оне (KR), ЛИ Геон-хиоунг (KR), ЛИ Чул-воо (KR), ДЗЕОНГ Дзонг-хоон (KR), ЛИ Нам-сук (KR)
(73) Патентообладатель(и):
САМСУНГ ЭЛЕКТРОНИКС КО., ЛТД. (KR)
|
(54) СПОСОБ ОСУЩЕСТВЛЕНИЯ ЭКВАЛАЙЗЕРА В ДЕКОДЕРЕ АУДИОСИГНАЛА И УСТРОЙСТВО ДЛЯ ЕГО ОСУЩЕСТВЛЕНИЯ
(57) Реферат:
Изобретение относится к обработке аудиосигнала и, более конкретно, к способу осуществления эквалайзера в устройстве, предназначенном для обработки аудиосигнала. В соответствии со способом и устройством величины частотных составляющих регулируют в соответствии с пользовательским вводом, до того, как данные выборки поддиапазона преобразуют в сигнал частотной области в декодере аудиосигнала, таким образом, осуществляя эквалайзер в кодеке. Технический результат – уменьшение сложности осуществления устройства, предназначенного для воспроизведения аудиосигнала, и уменьшение задержки эквалайзера. 3 н. и 4 з.п. ф-лы, 4 ил.
ПЕРЕКРЕСТНАЯ ССЫЛКА НА РОДСТВЕННЫЕ ЗАЯВКИ НА ПАТЕНТЫ
Настоящая заявка испрашивает приоритет корейской заявки на патент 10-2007-0012779, зарегистрированной 7 февраля 2007 г. в Корейском ведомстве интеллектуальной собственности, раскрытие которой полностью включено в настоящее описание посредством ссылки.
УРОВЕНЬ ТЕХНИКИ
ОБЛАСТЬ ТЕХНИКИ, К КОТОРОЙ ОТНОСИТСЯ ИЗОБРЕТЕНИЕ
Способы и устройства, согласующиеся с настоящим изобретением, относятся к обработке аудиосигнала и, более конкретно, к способу осуществления эквалайзера в устройстве, предназначенном для обработки аудиосигнала.
ОПИСАНИЕ ПРЕДШЕСТВУЮЩЕГО УРОВНЯ ТЕХНИКИ
Фиг.1 является блок-схемой, иллюстрирующей структуру устройства предшествующего уровня техники, предназначенного для воспроизведения аудиосигнала в соответствии с традиционной технологией.
Декодер 110 потока анализирует и выполняет синтаксический анализ битового потока, полученного с помощью кодирования аудиосигнала, а устройство 120 деквантизации выполняет деквантизацию значения, выведенного из декодера 110 потока.
Многоканальный декодер 130 декодирует величину, выведенную из устройства 120 деквантизации, и выводит данные выборки поддиапазона для каждого из множества каналов. Кодирование поддиапазона является широко известным способом кодирования, используемым во многих кодеках для эффективного кодирования, и закодированный аудиосигнал поддиапазона декодируют в элементах поддиапазонов. Устройство 140 преобразования генерирует информацию о составляющих во всем диапазоне частот из данных выборки поддиапазона, преобразует сгенерированную информацию о частотных составляющих в аудиосигнал во временной области с помощью использования обратного быстрого преобразования Фурье (IFFT) или обратного модифицированного дискретного косинусного преобразования (IMDCT) и восстанавливает исходный аудиосигнал.
Эквалайзер 150 преобразует сигнал временной области опять в сигнал частотной области, анализирует частотные составляющие, включенные в аудиосигнал, и регулирует амплитуду каждой из частотных составляющих диапазона в соответствии с величиной, введенной пользователем через пользовательский интерфейс 160. То есть с помощью регулирования частотных составляющих аудиосигнала посредством эквалайзера 150 пользователь может генерировать звук таким образом, чтобы он соответствовал его предпочтению. Эквалайзер 150 преобразует амплитуды частотных составляющих, отрегулированных с помощью пользовательского ввода, выводит преобразованный сигнал и отображает отрегулированные амплитуды частотных составляющих пользователю посредством пользовательского интерфейса 160.
Таким образом, в устройстве предшествующего уровня техники, предназначенном для воспроизведения аудиосигнала, для того чтобы регулировать амплитуды частотных составляющих в соответствии с пользовательским вводом, эквалайзер должен преобразовывать сигнал временной области, полученный посредством декодирования, опять в сигнал частотной области. Также, для того чтобы сгенерировать сигнал, выводимый в громкоговоритель после регулирования амплитуд частотных составляющих, информация о частотных составляющих должна быть опять преобразована в сигнал временной области. В этом процессе эквалайзер должен обрабатывать большое количество сигналов и, следовательно, увеличивается сложность осуществления всего устройства воспроизведения аудио, имеющего эквалайзер. Также после того, как амплитуды частотных составляющих отрегулированы пользователем через устройство ввода, для того чтобы фактически вывести звук через громкоговоритель, информация об отрегулированных амплитудах должна быть преобразована посредством IMDCT или IFFT, а это вызывает задержку.
СУЩНОСТЬ ИЗОБРЕТЕНИЯ
Настоящее изобретение предоставляет устройство, предназначенное для декодирования аудиосигнала, и способ декодирования аудиосигнала, в котором информация о частотных составляющих, сгенерированных из данных выборки поддиапазона, регулируется в соответствии с вводом пользователя, и отрегулированную информацию о частотных составляющих преобразуют в выходной сигнал временной области.
В соответствии с аспектом настоящего изобретения предоставлен способ декодирования аудиосигнала, включающий в себя этапы, на которых: преобразуют данные выборки поддиапазона аудиосигнала в элементы информации диапазона частот; регулируют преобразованные элементы информации диапазона частот в соответствии с пользовательским вводом; и преобразуют отрегулированные элементы информации диапазона частот в данные выборки поддиапазона.
Способ дополнительно может включать в себя этап, на котором отображают отрегулированную информацию диапазона частот посредством устройства отображения.
Этап, на котором преобразуют данные выборки поддиапазона в элементы информации диапазона частот, может включать в себя этапы, на которых: детектируют частотные составляющие из данных выборки поддиапазона; и группируют детектированные частотные составляющие с учетом диапазонов частот, и отображают каждую группу на один из предварительного определенного числа элементов информации диапазона частот.
Этап, на котором регулируют элементы информации диапазона частот, может включать в себя этапы, на которых: принимают входные данные команды регулирования для предварительно определенного элемента информации диапазона частот от пользователя; и изменяют амплитуды всех частотных составляющих, отображенных на соответствующий элемент информации диапазона, в соответствии с пользовательским вводом, причем при преобразовании отрегулированных элементов информации диапазона частот в данные выборки поддиапазона измененные частотные составляющие преобразуют в данные выборки поддиапазона.
В соответствии с еще одним аспектом настоящего изобретения предоставлен машиночитаемый носитель, имеющий воплощенную в нем компьютерную программу, предназначенную для выполнения способа декодирования аудиосигнала.
В соответствии с другим аспектом настоящего изобретения предоставлено устройство для декодирования аудиосигнала, включающее в себя: первое устройство преобразования, преобразующее данные выборки поддиапазона аудиосигнала в элементы информации диапазона частот; устройство регулирования, регулирующее преобразованные элементы информации диапазона частот в соответствии с пользовательским вводом; и второе устройство преобразования, преобразующее отрегулированные элементы информации диапазона частот в данные выборки поддиапазона.
Устройство дополнительно может включать в себя устройство управления отображением, отображающее отрегулированные элементы информации диапазона частот посредством устройства отображения.
Первое устройство преобразования может включать в себя: блок детектирования, детектирующий частотные составляющие из данных выборки поддиапазона; и блок отображения, группирующий детектированные частотные составляющие с учетом диапазонов частот и отображающий каждую группу на один из предварительно определенного числа элементов информации диапазона частот.
Устройство регулирования может принимать входные данные команды регулирования для предварительно определенных элементов информации диапазона частот от пользователя и изменять амплитуды всех частотных составляющих, преобразованных в соответствующий элемент информации диапазона, в соответствии с пользовательским вводом, и второе устройство преобразования может преобразовывать измененные частотные составляющие опять в данные выборки поддиапазона.
КРАТКОЕ ОПИСАНИЕ ЧЕРТЕЖЕЙ
Вышеупомянутые и другие аспекты настоящего изобретения станут более понятными с помощью подробного описания его примерных вариантов осуществления со ссылкой на прилагаемые чертежи, на которых:
фиг.1 является блок-схемой, иллюстрирующей структуру устройства предшествующего уровня техники, предназначенного для воспроизведения аудиосигнала;
фиг.2 является блок-схемой, иллюстрирующей структуру декодера аудиосигнала в соответствии с примерным вариантом осуществления настоящего изобретения;
фиг.3 является блок-схемой, иллюстрирующей структуру эквалайзера в декодере аудиосигнала в соответствии с примерным вариантом осуществления настоящего изобретения; и
фиг.4 является блок-схемой последовательности операций, иллюстрирующей способ декодирования аудиосигнала в соответствии с примерным вариантом осуществления настоящего изобретения.
ПОДРОБНОЕ ОПИСАНИЕ ПРИМЕРНЫХ ВАРИАНТОВ ОСУЩЕСТВЛЕНИЯ НАСТОЯЩЕГО ИЗОБРЕТЕНИЯ
Настоящее изобретение описано ниже более подробно со ссылкой на иллюстрирующие чертежи, на которых изображены примерные варианты осуществления изобретения.
Фиг.2 является блок-схемой, иллюстрирующей структуру декодера аудиосигнала в соответствии с примерным вариантом осуществления настоящего изобретения.
Как проиллюстрировано на фиг.2, декодер аудиосигнала в соответствии с настоящим примерным вариантом осуществления включает в себя декодер 210 потока, устройство 220 деквантизации, многоканальный декодер 230, эквалайзер 240 и устройство 260 преобразования. Пользовательский интерфейс 250 является блоком, существующим отдельно от декодера аудиосигнала.
Декодер 210 потока анализирует и выполняет синтаксический анализ битового потока, полученного с помощью кодирования аудиосигнала, а устройство 220 деквантизации выполняет деквантизацию значения, выведенного из декодера 210 потока.
Многоканальный декодер 230 декодирует величину, выведенную из устройства 220 деквантизации, и выводит данные выборки поддиапазона для каждого из множества каналов.
Эквалайзер 240 преобразует данные выборки поддиапазона в информацию о частотных составляющих, формирует предварительно определенное число групп частотных составляющих и преобразует частотные составляющие в элементы информации диапазона частот. Для того чтобы преобразовать данные выборки поддиапазона в информацию о частотных составляющих, должен быть известен формат данных выборки поддиапазона, амплитуда поддиапазона и тому подобное. Формат и амплитуда могут изменяться в соответствии с кодеком. Таким образом, декодер 210 потока может считывать информацию о кодеке из заголовка битового потока и передавать информацию в эквалайзер 240.
Если элементы информации диапазона частот отрегулированы, эквалайзер 240 преобразует отрегулированные элементы информации диапазона частот опять в данные выборки поддиапазона, передает данные выборки поддиапазона в устройство 260 преобразования, а также отображает отрегулированные элементы информации диапазона частот пользователю посредством пользовательского интерфейса 250, такого как жидкокристаллический дисплей (LCD).
Устройство 260 преобразования генерирует информацию о составляющих во всем диапазоне частот из данных выборки поддиапазона и преобразует сгенерированную информацию о частотных составляющих в аудиосигнал временной области с использованием IFFT или IMDCT, таким образом, создавая конечный аудиосигнал. Конечный аудиосигнал выводится через громкоговоритель 290.
Таким образом, в отличие от технологии предшествующего уровня техники, при которой эквалайзер принимает и обрабатывает входные данные аудиосигнала временной области, преобразованные из данных выборки поддиапазона, в устройстве декодирования аудиосигнала в соответствии с настоящим вариантом осуществления эквалайзер, который регулирует амплитуды частотных составляющих в соответствии с пользовательским вводом до того, как данные выборки поддиапазона преобразуются в аудиосигнал временной области, реализуется в кодеке.
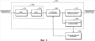
Фиг.3 является блок-схемой, иллюстрирующей структуру эквалайзера в декодере аудиосигнала в соответствии с примерным вариантом осуществления настоящего изобретения.
Как проиллюстрировано на фиг.3, эквалайзер 240 в соответствии с настоящим вариантом осуществления включает в себя первое устройство 250 преобразования, устройство 260 регулирования, второе устройство 270 преобразования и устройство 280 управления отображением. Первое устройство 250 преобразования включает в себя блок 251 детектирования и блок 252 отображения.
Первое устройство 250 преобразования преобразует входные данные выборки поддиапазона в элементы информации диапазона частот, а блок 251 детектирования детектирует частотные составляющие из данных выборки поддиапазона. Данные выборки поддиапазона являются также данными частотных составляющих аудиосигнала и в соответствии с кодеком частотные составляющие могут быть упорядочены в матричном виде или в линейном виде, а амплитуда поддиапазона может изменяться. Таким образом, блок 251 детектирования адаптивно интерпретирует данные выборки поддиапазона в соответствии с кодеком и детектирует амплитуды каждой частотной составляющей.
Блок 252 отображения группирует каждые частотные составляющие на основании диапазонов частот и отображает частотную составляющую на предварительно определенное число элементов информации диапазона частот. Так как типы элементов ввода, позволяющих пользователю вводить некоторое значение в пользовательском интерфейсе, и объем информации, который может быть отображен пользователю, ограничены, большое число частотных составляющих группируют в предварительно определенное число групп и представляют элементами информации диапазона частот.
Устройство 260 регулирования регулирует амплитуды частотных составляющих, преобразованных в элементы информации диапазона частот, в соответствии с пользовательским вводом. Пользователь может регулировать элемент информации диапазона частот предварительно определенного диапазона посредством пользовательского интерфейса 250. Если пользователь регулирует элемент информации диапазона частот предварительно определенного диапазона, одновременно могут быть изменены амплитуды всех частотных составляющих, отображенных на элементы информации диапазона частот.
Второе устройство 270 преобразования преобразует частотные составляющие, измененные с помощью устройства 260 регулирования, опять в данные выборки поддиапазона. Устройство 280 управления отображением отображает отрегулированные элементы информации диапазона частот пользователю посредством пользовательского интерфейса 250.
Фиг.4 является блок-схемой последовательности операций, иллюстрирующей способ декодирования аудиосигнала в соответствии с примерным вариантом осуществления настоящего изобретения.
В операции 410 данные выборки поддиапазона преобразуют в информацию диапазона частот. Как описано выше, в этом процессе частотные составляющие детектируют из данных выборки поддиапазона и группируют, а затем отображают на предварительно определенное число элементов информации диапазона частот.
В операции 420 элементы информации диапазона частот регулируют в соответствии с пользовательским вводом. Если пользователь регулирует предварительно определенные элементы информации диапазона частот посредством пользовательского интерфейса, одновременно изменяются все частотные составляющие, отображенные на элементы информации диапазона частот.
В операции 430 отрегулированные элементы информации диапазона частот отображают пользователю посредством пользовательского интерфейса.
В операции 440 отрегулированные элементы информации диапазона частот преобразуют в данные выборки поддиапазона.
В операции 450 на основании данных выборки поддиапазона генерируют сигнал частотной области и преобразуют в сигнал временной области, таким образом, генерируя конечный сигнал.
В операции 460 конечный сигнал выводят через громкоговоритель.
В соответствии с примерными вариантами осуществления настоящего изобретения не требуется эквалайзер, который преобразует сигнал временной области, выведенный из декодера аудиосигнала, в сигнал частотной области и обрабатывает сигнал в соответствии с пользовательскими входными данными. Таким образом, может быть уменьшена сложность устройства воспроизведения аудио, имеющего эквалайзер.
Также, так как сигнал частотной области, отрегулированный в соответствии с пользовательским вводом, преобразуют в сигнал временной области и непосредственно выводят, задержка в эквалайзере может быть уменьшена по сравнению с традиционной технологией.
Настоящее изобретение также может быть осуществлено как считываемые компьютером коды на машиночитаемом носителе записи. Машиночитаемый носитель записи является любым устройством запоминания данных, которое может запоминать данные, которые затем могут быть считаны с помощью компьютерной системы. Примеры машиночитаемых носителей записи включают в себя память, предназначенную только для чтения (ROM), память произвольного доступа (RAM), CD-ROM, магнитные ленты, флоппи-диски и оптические устройства запоминания данных. Машиночитаемый носитель записи также может распространяться через компьютерные системы, соединенные в сеть, так что считываемый компьютером код сохраняется и исполняется распределенным способом.
Несмотря на то, что настоящее изобретение конкретно изображено и описано со ссылкой на его примерные варианты осуществления, специалистам в данной области техники должно быть понятно, что различные изменения по форме и в деталях могут быть сделаны в них без изменения сущности и объема настоящего изобретения, как определено с помощью следующей формулы изобретения. Предпочтительные варианты осуществления должны рассматриваться только в описательном смысле, а не для целей ограничения. Таким образом, объем изобретения определяется не подробным описанием изобретения, а прилагаемой формулой изобретения, и все различия в рамках объема будут истолкованы как включенные в настоящее изобретение.
Формула изобретения
1. Способ регулирования частотных искажений аудиосигнала, причем способ содержит этапы, на которых: преобразуют данные выборки поддиапазона аудиосигнала в элементы информации диапазона частот, причем этап содержит этапы, на которых: детектируют частотные составляющие из данных выборки поддиапазона и группируют детектированные частотные составляющие в диапазоны частот, и отображают каждую группу на один из множества элементов информации диапазона частот, регулируют элементы информации диапазона частот в соответствии с вводом, причем этап содержит этапы, на которых: принимают входную команду регулирования для элемента информации диапазона частот и изменяют амплитуды всех частотных составляющих, отображенных на соответствующий элемент информации диапазона, в соответствии с входной командой регулирования, и преобразуют измененные частотные составляющие в данные выборки поддиапазона.
2. Способ по п.1, дополнительно содержащий этап, на котором отображают отрегулированные элементы информации диапазона частот.
3. Способ по п.1, в котором этап, на котором регулируют элементы информации диапазона частот, содержит этап, на котором регулируют амплитуды всех частотных составляющих, отображенных на элементы информации диапазона в соответствии с вводом.
4. Машиночитаемый носитель, имеющий сохраненный на нем код, считываемый компьютером, для выполнения способа по п.1.
5. Устройство регулирования частотных искажений аудиосигнала, причем устройство содержит: первый блок преобразования, который преобразует данные выборки поддиапазона аудиосигнала в элементы информации диапазона частот, причем первый блок преобразования содержит: блок детектирования, который детектирует частотные составляющие из данных выборки поддиапазона; и блок отображения, который группирует детектированные частотные составляющие в диапазоны частот и отображает каждую группу на один из множества элементов информации диапазона частот; блок регулирования, который регулирует элементы информации диапазона частот в соответствии с вводом, причем блок регулирования принимает входную команду регулирования для элемента информации диапазона частот и изменяет амплитуды всех частотных составляющих, отображенных на соответствующий элемент информации диапазона в соответствии с входной командой регулирования, и второй блок преобразования, который преобразует измененные частотные составляющие в данные выборки поддиапазона.
6. Устройство по п.5, дополнительно содержащее блок управления отображением, который отображает отрегулированные элементы информации диапазона частот посредством блока отображения.
7. Устройство по п.5, в котором блок регулирования регулирует амплитуды частотных составляющих, отображенных на элементы информации диапазона частот, в соответствии с вводом.
РИСУНКИ
|