|
|
(21), (22) Заявка: 2007142032/09, 12.04.2006
(24) Дата начала отсчета срока действия патента:
12.04.2006
(30) Конвенционный приоритет:
14.04.2005 CA 60/671,080
(43) Дата публикации заявки: 27.05.2009
(46) Опубликовано: 10.02.2010
(56) Список документов, цитированных в отчете о поиске:
US 4213428 A, 22.07.1980. US 4317058 А, 23.02.1982. US 20020121815 A1, 05.09.2002. US 5036930 A, 06.08.1991. RU 2156870 C2, 27.09.2000.
(85) Дата перевода заявки PCT на национальную фазу:
14.11.2007
(86) Заявка PCT:
CA 2006/000585 20060412
(87) Публикация PCT:
WO 2006/108297 20061019
Адрес для переписки:
103735, Москва, ул. Ильинка, 5/2, ООО “Союзпатент”, пат.пов. С.Б.Фелицыной, рег. 303
|
(72) Автор(ы):
БОЛЬЁ Жеральд (CA)
(73) Патентообладатель(и):
БОЛЬЁ Жеральд (CA)
|
(54) ЭЛЕКТРОМАГНИТНЫЙ ДВИГАТЕЛЬ
(57) Реферат:
Изобретение относится к электротехнике и может быть использовано в гибридных двигателях совместно с обычными двигателями внутреннего сгорания для транспортных средств. Технический результат состоит в упрощении конструкции, эксплуатации и изготовления. Электромагнитный двигатель (10) включает в себя постоянный магнит (30), соединенный с поршневым компонентом (18) двигателя (10), определяющим линейный возвратно-поступательный путь перемещения. Два электромагнита (36, 38), соединенные с корпусом (22) цилиндра, периодически и поочередно взаимодействуют с постоянным магнитом (30) и электрически подключены к источнику питания для их избирательной активации. Электромагниты (36, 38) содержат парамагнитный материал и магнитно притягивают постоянный магнит (30) на соответствующем первом участке (MA1, MA2) пути перемещения, когда они не активированы, и магнитно отталкивают постоянный магнит (30) на соответствующем втором участке (MI1, MR1, MI2, MR2) пути перемещения, когда их в один момент активируют от источника питания. Двигатель (10) может включать в себя множество вторых постоянных магнитов (64), соединенных с коленчатым валом (24), определяющим круговой путь перемещения, и множество третьих электромагнитов (68), подключенных к источнику питания и установленных на картере (56), рядом и радиально снаружи от пути кругового перемещения вторых постоянных магнитов (64) для периодического и последовательного взаимодействия с ними. 20 з.п. ф-лы, 4 ил.
Область техники, к которой относится изобретение
Настоящее изобретение относится к электромагнитным двигателям для транспортных средств и, более конкретно, относится к электромагнитному двигателю, который можно использовать в гибридных двигателях совместно с обычными двигателями внутреннего сгорания, скомбинированных с источником электромагнитной энергии для уменьшения потребления топлива и повышения коэффициента полезного действия двигателя.
Уровень техники
В данной области техники хорошо известно комбинирование альтернативного и более чистого источника энергии с обычным двигателем внутреннего сгорания для транспортных средств для получения, так называемого, “зеленого” двигателя, или альтернативных источников энергии, не загрязняющих окружающую среду, или гибридного двигателя с уменьшенным потреблением топлива, который в меньшей степени загрязняет окружающую среду. В большинстве гибридных двигателей обычно электродвигатель, или множество электродвигателей, или водородный двигатель комбинируют с обычным двигателем внутреннего сгорания (бензиновым или дизельным); при этом оба таких двигателя работают либо независимо, или одновременно друг с другом, в зависимости от требуемой мощности.
С гибридными двигателями такого типа обычно связаны проблемы, состоящие в том, что для каждого такого двигателя требуется свой собственный блок двигателя, трансмиссия/коробка передач и/или механизм привода, что означает увеличение массы, увеличение занимаемого пространства и повышенную сложность, в результате чего повышаются производственные и эксплуатационные затраты.
Во множестве документов также описано добавление электромагнитных компонентов или систем к существующим двигателям внутреннего сгорания. Примеры таких документов представляют собой:
– патент США 3,747,649, выданный авторам Densow и др. 24 июля 1973 г. “Crankshaft Magneto System”;
– патент США 4,213,428, выданный автору Bradley 22 июля 1980 г. “Electromagnetic Augmentation of Internal Combustion Engines”;
– патент США 4,317,058, выданный автору Blalock 23 февраля 1982 г. “Electro-Magnetic Reciprocating Engine”;
– патент США 4,749,893, выданный автору Reynolds 7 июня 1988 г. “Magnetically Actuated Engine”;
– патент США 5,036,930, выданный авторам Bisel и др. 6 августа 1991 г. “Electromagnetically Powered Engine Apparatus and Method”;
– патент США 5,203,172, выданный авторам Simpson и др. 20 апреля 1993 г. “Electromagnetically Powered Hydraulic Engine”;
– патент США 5,287,518, выданный авторам Miller и др. 15 февраля 1994 г.”Engine Crankshaft Variable Reluctance Alternator”;
– патент США 5,457,349, выданный автору Gifford 10 октября 1995 г. “Reciprocating Electromagnetic Engine”.
Более конкретно, в патенте США 4,213,428 описан постоянный магнит, жестко закрепленный на поршне, при этом ось полярности магнита расположена параллельно направлению движения поршня для избирательного и магнитного взаимодействия с электромагнитной катушкой, установленной на головке двигателя коаксиально с осью движения поршня. Электромагнитная катушка электрически активируется синхронно с перемещением поршня во время его разных тактов работы для обеспечения магнитного притяжения и отталкивания во время, по меньшей мере, заданного периода рабочего хода сжатия (и выпуска) и расширения (и впуска) соответственно. Хотя такая электромагнитная компоновка повышает эффективность двигателя, непрактично устанавливать электромагнитную катушку в головке двигателя, из-за отсутствия доступного места, в частности, учитывая компоновки с множеством впускных и/или выпускных клапанов для каждого цилиндра. Кроме того, учитывая тот факт, что всегда остается существенный зазор между электромагнитной катушкой и постоянным магнитом, формирующим камеру сгорания, существенно снижается возможность для повышения эффективного использования электромагнитных сил, которые становятся тем больше, чем меньше зазор. Кроме того, такой наименьший зазор между этими двумя элементами возникает только один раз за полный двухтактный цикл.
Другие патенты США относятся к преобразованию двигателя внутреннего сгорания в электромагнитный двигатель путем замены головки двигателя, а также поршня, используя, таким образом, только одну полярность любого постоянного магнита, или путем функционального механического соединения электромагнитной компоновки с коленчатым валом двигателя внутреннего сгорания для рекуперации энергии или управления (синхронизации) работой системы на основе положения коленчатого вала.
Ни в одном из этих патентов не используется электромагнитная система, соединенная с существующим двигателем внутреннего сгорания, для существенного повышения его эффективности. Аналогично, ни в одном из указанных выше документов не описан электромагнитный двигатель, эффективно работающий сам по себе, при этом двигатель является либо двигателем с линейным перемещением, или двигателем роторного типа.
В соответствии с этим, существует потребность в улучшенном электромагнитном двигателе.
Сущность изобретения
Таким образом, общая цель настоящего изобретения состоит в создании улучшенного электромагнитного двигателя, который решает указанные выше проблемы существующих систем.
Преимущество настоящего изобретения состоит в том, что для электромагнитного двигателя, когда он используется в гибридном двигателе, используется общий блок двигателя, соединенный с общей коробкой передач и системой привода, и поэтому он является более легким, меньшим и менее сложным в производстве и эксплуатации, чем существующие гибридные двигатели.
Другое преимущество настоящего изобретения состоит в том, что электромагнитный двигатель обеспечивает эффективное использование электромагнитной системы.
Дополнительное преимущество настоящего изобретения состоит в том, что электромагнитный двигатель имеет электромагнитную энергетическую систему, которая работает синхронно, предпочтительно, под электронным управлением, с положением постоянного магнита относительно электромагнита и синхронно с рабочим ходом взаимодействующего двигателя внутреннего сгорания, когда он используется в гибридном двигателе.
Другое преимущество настоящего изобретения состоит в том, что электромагнитный двигатель, когда он используется в гибридном двигателе, имеет электромагнитную энергетическую систему, которая может быть функционально отрегулирована относительно взаимодействующего двигателя внутреннего сгорания, в зависимости от соответствующих рабочих условий и общей потребности в мощности.
Другое преимущество настоящего изобретения состоит в том, что электромагнитный двигатель имеет электромагнитную энергетическую систему, которая может быть встроена в существующий двигатель внутреннего сгорания, и при этом требуется минимальная его модификация, для получения гибридного двигателя.
Другое преимущество настоящего изобретения состоит в том, что электромагнитный двигатель, когда его используют в гибридном двигателе, имеет электромагнитную энергетическую систему, которая не изменяет существующие функции двигателя внутреннего сгорания благодаря тому, что она всегда действует вместе с ним и никогда не действует против него.
Дополнительное преимущество настоящего изобретения состоит в том, что электромагнитный двигатель оптимизирует эффективность электромагнитной энергетической системы, обеспечивая возможность как можно более близкого размещения взаимодействующих магнитов друг к другу в конфигурации квазиконтакта, с использованием структур взаимодополняющих выступов на взаимодействующих поверхностях разных магнитов.
Другое преимущество настоящего изобретения состоит в том, что электромагнитный двигатель, когда его используют в гибридном двигателе, имеет электромагнитную энергетическую систему, которая может быть адаптирована к большинству существующих двигателей, для повышения общей эффективности путем снижения потребления топлива и уменьшения уровня выброса загрязняющих частиц/газов.
Дополнительное преимущество настоящего изобретения состоит в том, что электромагнитный двигатель, особенно когда он используется в гибридном двигателе, обеспечивает возможность рекуперации энергии вне периодов активной работы нормального двигателя, например во время торможения двигателем и во время периодов режима сжатия двигателя.
Еще одно преимущество настоящего изобретения состоит в том, что электромагнитный двигатель использует преимущества энергии, обеспечиваемой в результате усиления магнитного отталкивания с сильным воздействием, когда два магнита находятся в конфигурации квазиконтакта, непосредственно перед движением друг от друга.
Другое преимущество настоящего изобретения состоит в том, что электромагнитный двигатель, когда его используют в гибридном двигателе, имеет электромагнитную энергетическую систему, которая работает во время всех рабочих тактов двигателя внутреннего сгорания, включая двигатели с линейным перемещением поршней и/или роторные двигатели.
Другое преимущество настоящего изобретения состоит в том, что электромагнитный двигатель, с учетом перемещаемых по кругу постоянных магнитов, обеспечивает магнитное взаимодействие между магнитами в направлении, в общем, по касательной к пути кругового движения постоянных магнитов для повышения коэффициента полезного действия двигателя.
Дополнительное преимущество настоящего изобретения состоит в том, что электромагнитный двигатель имеет электромагнитную энергетическую систему, которая оптимально использует обе магнитные полярности постоянного магнита с линейным перемещением, например, когда он установлен на поршне или тому подобное.
Еще одно преимущество настоящего изобретения состоит в том, что электромагнитный двигатель имеет электромагнитную энергетическую систему, в которой оптимально и одновременно используются обе полярности магнита одного и того же электромагнита.
Дополнительное преимущество настоящего изобретения состоит в том, что электромагнитный двигатель имеет электромагнитную энергетическую систему, которая включает в себя магниты с большими площадями поверхности взаимодействия по сравнению с размером поршня.
В соответствии с аспектом настоящего изобретения предложен электромагнитный двигатель, состоящий из: постоянного магнита, соединенного с подвижной частью двигателя, соединенной с его выходным валом и образующей путь перемещения постоянного магнита; и электромагнита, соединенного с неподвижной частью двигателя, при этом электромагнит, по меньшей мере, периодически функционально взаимодействует с постоянным магнитом, электромагнит может быть электрически подключен к источнику питания для его избирательного включения, благодаря магнитным свойствам электромагнит притягивает постоянный магнит на первом участке пути перемещения, когда он выключен, и под действием магнитного поля отталкивает постоянный магнит на втором участке пути перемещения, когда он подключен к источнику питания.
В одном варианте выполнения путь перемещения постоянного магнита представляет собой путь кругового перемещения, при этом электромагнит, установленный рядом и радиально снаружи от пути кругового перемещения постоянного магнита, по меньшей мере, периодически функционально взаимодействует с ним, при этом направления отталкивания, по существу, располагаются по касательной к пути кругового перемещения.
Удобно использовать постоянный магнит, который включает в себя множество постоянных магнитов, по существу, расположенных вдоль окружности на равных расстояниях друг от друга, при этом электромагнит включает в себя множество электромагнитов, по существу, расположенных вдоль окружности на равных расстояниях друг от друга, при этом каждый упомянутый постоянный магнит периодически функционально взаимодействует с последующим из электромагнитов.
Обычно множество электромагнитов в определенный момент времени одновременно активируется от источника питания.
Обычно постоянный магнит включает в себя первую взаимодействующую поверхность для магнитного взаимодействия со второй взаимодействующей поверхностью электромагнита, при этом первая поверхность имеет первую структуру выступов, сформированную на ней, вторая поверхность имеет вторую структуру выступов, сформированную на ней, которая, по существу, взаимно дополняет структуру первой структуры выступов.
Обычно электромагнит включает в себя притягивающий постоянный магнит, соединенный с ним для магнитного притягивания постоянного магнита на первом участке пути кругового перемещения. Обычно естественное магнитное притяжение постоянного магнита относительно постоянного магнита, по меньшей мере, частично компенсируется силой электромагнитного отталкивания электромагнита на втором участке кругового пути перемещения, когда его подключают к источнику питания.
В одном варианте выполнения путь перемещения постоянного магнита представляет собой путь линейного возвратно-поступательного перемещения, определяющий первое и второе продольные предельные положения постоянного магнита, при этом электромагнит представляет собой первый электромагнит, расположенный рядом с первым предельным положением, двигатель включает в себя второй электромагнит, соединенный с неподвижной частью двигателя, рядом со вторым предельным положением и, по меньшей мере, периодически функционально взаимодействует с постоянным магнитом, при этом второй электромагнит может быть электрически соединен с источником питания для избирательного его включения, при этом первый и второй электромагниты поочередно и в определенный момент времени активируют, когда постоянный магнит достигает первого и второго предельных положений соответственно. Обычно постоянный магнит имеет противоположные магнитные полярности, обращенные к первому и второму электромагнитам соответственно.
Как правило, постоянный магнит имеет противоположные первую и вторую взаимодействующие поверхности, обращенные соответственно к третьей и четвертой взаимодействующим поверхностям первого и второго электромагнитов для магнитного взаимодействия с ними соответственно, при этом первая и вторая поверхности имеют сформированную на них первую структуру выступов, третья и четвертая поверхности имеют сформированную на них вторую структуру выступов, которые, по существу, взаимно дополняют выступы первой структуры выступов. Первая и вторая структуры выступов обычно включают в себя взаимодополняющие поперечные сечения, выполненные, в общем, в форме квадратных зубьев.
Обычно двигатель дополнительно включает в себя третий электромагнит, соединенный с неподвижной частью двигателя, расположенной, в общем, на половине пути между первым и вторым предельными положениями, в непосредственной близости, и радиально наружу от периферии постоянного магнита для, по меньшей мере, периодического функционального взаимодействия с ним, при этом третий электромагнит может электрически подключаться к источнику питания для избирательной его активации, третий электромагнит обеспечивает магнитное притяжение постоянного магнита на третьем участке пути перемещения, когда он отключен, и магнитное отталкивание постоянного магнита на четвертом участке пути перемещения, когда он подключен к источнику питания.
Как правило, третий электромагнит электрически и реверсивно может быть подключен к источнику питания для его избирательной реверсивной периодической магнитной активации.
Как правило, третий электромагнит включает в себя притягивающий постоянный магнит, соединенный с ним для магнитного притягивания постоянного магнита на третьем участке пути линейного возвратно-поступательного перемещения. Обычно естественное магнитное притяжение притягивающего постоянного магнита, по меньшей мере, частично компенсируется электромагнитным отталкиванием третьего электромагнита на четвертом участке пути линейного возвратно-поступательного перемещения, когда он подключен к источнику питания.
Как правило, двигатель дополнительно включает в себя электрическую катушку рекуперации, расположенную, в общем, между первым и вторым предельными положениями, рядом и радиально снаружи от периферии постоянного магнита для, по меньшей мере, периодического функционального взаимодействия с ним, при этом электрическая катушка избирательно магнитно взаимодействует с постоянным магнитом на третьем участке пути перемещения для уменьшения скорости постоянного магнита, движущегося вдоль пути перемещения, и генерирования электрической энергии, используемой внешним устройством, подключенным к ней.
В одном варианте выполнения двигатель дополнительно включает в себя контроллер, подключенный к первому и второму электромагнитам для избирательного управления их активацией путем подключения к источнику питания.
В одном варианте выполнения постоянный магнит соединен с поршнем двигателя внутреннего сгорания, и первый и второй электромагниты соединены с блоком двигателя внутреннего сгорания, при этом из двигателя формируется электромагнитный гибридный двигатель с двигателем внутреннего сгорания. Как правило, двигатель дополнительно включает в себя контроллер, соединенный с первым и вторым электромагнитами и с компьютером двигателя для избирательного управления активацией первого и второго электромагнитов от источника питания синхронно с перемещением поршня.
Другие цели и преимущества настоящего изобретения будут очевидны после внимательного чтения приведенного здесь подробного описания, с соответствующей ссылкой на прилагаемые чертежи.
Краткое описание чертежей
Другие аспекты и преимущества настоящего изобретения будут более понятны со ссылкой на описание и на следующие чертежи, на которых одинаковыми ссылочными позициями, используемыми на разных чертежах, обозначены одинаковые компоненты, на которых:
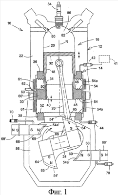
на фиг.1 показан упрощенный вид в разрезе цилиндра электромагнитного двигателя в соответствии с вариантом выполнения настоящего изобретения, совместно с существующим двигателем внутреннего сгорания;
на фиг.2А-2F показаны упрощенные виды, аналогичные фиг.1, представляющие разные положения постоянного магнита, закрепленного на поршне, в положении практически законченного полуцикла из двух тактов;
на фиг.3 показана схема, представляющая типичное сгорание и генерирование электромагнитной энергии в соответствии с вариантом выполнения, показанным на фиг.1, в течение законченного цикла из четырех тактов;
на фиг.4А показан упрощенный вид в разрезе с увеличением варианта выполнения, представленного на фиг.1, представляющий типичную конфигурацию магнитных полей двух неподвижных электромагнитных катушек, предназначенных для взаимодействия с подвижным постоянным магнитом; и
на фиг.4B показан вид, аналогичный фиг.4а, представляющий другую конфигурацию других магнитных полей.
Подробное описание изобретения
Со ссылкой на чертежи будут описаны предпочтительные варианты выполнения настоящего изобретения для упомянутого назначения и без ограничений.
Хотя следующее описание относится к электромагнитному гибридному двигателю, для специалиста в данной области техники будет понятно, что электромагнитный двигатель можно рассматривать как работающий самостоятельно без какого-либо двигателя другого типа, подключенного к нему, при условии, что определенное устройство – стартер будет установлено на нем для инициирования работы электромагнитного двигателя.
На фиг.1 представлен упрощенный вид в разрезе электромагнитного двигателя 10 в соответствии с вариантом выполнения настоящего изобретения, совместно с существующим двигателем 12 внутреннего сгорания для получения электромагнитного гибридного двигателя 11. Гибридный двигатель 11 типично включает в себя обычный двигатель 12 внутреннего сгорания, бензиновый двигатель, показанный на фиг.1, детали которого, предпочтительно, изготовлены из немагнитных материалов, таких как алюминий, титан и аналогичные сплавы или композитные материалы, несколько модифицированных для установки систем 14 электромагнитного питания для повышения общего коэффициента полезного действия гибридного двигателя 11. Хотя показан только один цилиндр 16 гибридного двигателя 11, следует понимать, что все цилиндры двигателя 12 модифицированы аналогично.
Цилиндр 16 включает в себя поршень 18, линейно и возвратно-поступательно движущийся внутри отверстия 20 блока 22 двигателя вдоль оси R возвратно-поступательно движения. Обычно поршень 18 соединен с возможностью движения с коленчатым валом 24 или выходным валом через соединительный шток 26.
Поскольку известно, что силы магнитного притяжения и отталкивания между двумя магнитами увеличиваются при уменьшении расстояния между двумя магнитами, в настоящем изобретении обеспечивается то, что все взаимодействующие магниты приближаются как можно ближе друг к другу, но при этом физически не касаются друг друга.
В соответствии с этим, каждый цилиндр 16 гибридного двигателя 11 включает в себя, по меньшей мере, один подвижный постоянный магнит 30, такой как, но без ограничений, магнит из сплава неодима, железа и бора и магнит из сплава алнико, в зависимости от рабочих условий, установленный на поршне 18, на некотором расстоянии от головки 32 поршня, обычно рядом с основанием 34 поршня. Неподвижные первый верхний 36 и второй нижний 38 магниты в виде электромагнитных катушек установлены на блоке 22 двигателя для функционального взаимодействия с подвижным постоянным магнитом 30. Постоянный магнит 30 обычно имеет форму кольцевого диска и закреплен на основании 34 поршня через подвеску 40 кольцевого соединения, соединяющуюся со свободным внутренним пространством основания 34 поршня. Верхний и нижний электромагниты 36, 38 также имеют кольцевую форму для правильного функционального взаимодействия с постоянным магнитом 30 и расположены таким образом, что они находятся в квазиконтакте с ним, когда поршень 18 находится соответственно в самом дальнем и самом ближнем положениях относительно коленчатого вала 24 вдоль его линейного пути движения. Следует отметить, что, когда электромагнитный двигатель 10 не используется совместно с двигателем 12 внутреннего сгорания, постоянный магнит 30 и электромагниты 36, 38, очевидно, могут иметь форму дисков или любую другую форму без полости, так что при этом постоянный магнит 30, по существу, образует “поршень”.
Электромагниты 36, 38 электрически соединены с контроллером 41 (который показан пунктирными линиями на фиг.1) и источником электропитания (не показан) через соответствующие соединители 42, 44, для избирательной их активации, как более подробно поясняется ниже.
Верхняя 46 и нижняя 48 поверхности постоянного магнита 30 и соответствующие, взаимодействующие поверхности 50, 52 электромагнитов 36, 38 обычно имеют взаимодействующие профили с соответствующими взаимодополняющими структурами 54, 54а выступов, в общем, выполненных в виде концентрических кругов. Структуры 54, 54а выступов увеличивают общую площадь поверхности каждой из поверхностей 46, 48, 50, 52. Они упрощают управление наименьшим возможным зазором в квазиконтакте для увеличения магнитных сил между взаимодействующими поверхностями, путем оптимизации направления магнитного поля и концентрации его (минимизации его рассеивания) в направлении противоположного взаимодействующего магнита, и увеличивают диапазон движения поршня, в котором сила магнитного взаимодействия между взаимодействующими поверхностями может быть приложена при включении питания соответствующего электромагнита 36, 38, оставаясь все еще существенной и эффективной. Зазор выполнен меньшим и более простым в управлении (в особенности, если учитывать тепловое расширение и аналогичные характеристики материалов) для поверхностей, обращенных, по существу, радиально относительно оси R направления возвратно-поступательного перемещения поршня 18. Хотя структура 54, 54а выступов иллюстрируется как, в общем, имеющая поперечное сечение в форме квадратных зубьев, любая другая форма может быть рассмотрена без отклонения за пределы объема настоящего изобретения, например, такая как, но без ограничения, зубья V-образной формы, усеченные и/или закругленные зубья V-образной формы, клиновидный, квадратный тип зубьев, пилообразные зубья, тип с некоторым наклоном и т.п.
Электромагнитная энергетическая система 14 гибридного двигателя 11 обычно дополнительно включает в себя выполненную с возможностью подключения к источнику питания электрическую катушку 60, установленную на блоке 22 двигателя, которая расположена, по существу, на половине пути между двумя электромагнитами 36, 38, рядом и радиально снаружи от внешней кромки постоянного магнита 30 для функционального взаимодействия с ним. Электрическая катушка 60 электрически соединена с контроллером 41 и источником электрического питания (не показан) через соединитель 62, для избирательной ее активации, как более подробно поясняется ниже. Обычно электромагнит 60 имеет ширину, не меньшую (вдоль оси цилиндра), чем ширина первого постоянного магнита 30, для более эффективного его отталкивания с сильным воздействием
Как показано на фиг.1 (и не показано на других чертежах для ясности представления), выступы 61 электрической катушки рекуперации обычно расположены с обеих сторон электрической катушки 60, так что между ними отсутствует электрическое соединение, в направлении двух электромагнитов 36, 38, для генерирования электроэнергии во время периодов торможения транспортного средства и/или периодов такта сжатия двигателя внутреннего сгорания, когда в установленной после двигателя коробке передач переключают передачу на более низкую. В соответствии с этим, выступы 61 электрической катушки рекуперации, как правило, электрически соединены с аккумуляторной батареей, внешним электрическим устройством или тому подобное (не показано) через соответствующий электрический соединитель катушки (не показан) и предпочтительно контроллер/компьютер 41. В качестве альтернативы, электрическая катушка 60, аналогично выступам 61 катушки, также может использоваться для генерирования электроэнергии во время периодов торможения транспортного средства и/или периодов такта сжатия двигателя внутреннего сгорания, когда в установленной после двигателя коробке передач выполняют переключение передачи на более низкую.
Для дополнительного снижения общего потребления топлива гибридного двигателя 11 или повышения коэффициента полезного действия, система 14 электромагнитного питания может включать в себя, по меньшей мере, один, как правило, множество (два, как показано на чертеже) равноудаленных вдоль окружности друг от друга (диаметрально противоположные, как показано на чертежах), вторых подвижных постоянных магнитов 64, как правило, непосредственно установленных на коленчатом валу 24 (или на его компонентах) через магнитный держатель 66 или тому подобное, для функционального и магнитного взаимодействия, по меньшей мере, с одним, как правило, множеством (двумя, как показано на чертежах) равноудаленных вдоль окружности друг от друга (диаметрально противоположных, как показано на чертежах), третьих неподвижных магнитов 68 в виде электромагнитной катушки, установленной на картере 56 блока 22 двигателя в непосредственной близости к круговому пути движения вторых магнитов 64. Аналогично первому и второму электромагнитам 36, 38, третьи электромагниты 68, которые могут быть погружены в масло двигателя (не показано) внутри картера 56, электрически соединены с контроллером 41 и источником электропитания (не показан) через соответствующие соединители 70 для избирательной их активации. Очевидно, что размер магнитов 64, 68, так же как и их соответствующие места установки (положения на коленчатом валу 24 и положения на картере 56) могут отличаться от представленных на чертежах, без отступления за пределы объема настоящего изобретения.
Когда используется множество постоянных магнитов 64 и электромагнитов 68, количество магнитов одного типа должно быть кратным количеству магнитов другого типа. Кроме того, когда используется множество электромагнитов 68, все они обычно активируются одновременно, если только, например, количество электромагнитов 68 не превышает вдвое количество постоянных магнитов 64, и в этом случае две половины электромагнитов, одновременно взаимодействующих с соответствующими постоянными магнитами, поочередно одновременно активируют в один момент времени.
Обычно взаимодействующие поверхности 65, 69 соответствующих магнитов 64, 68 имеют дугообразное сечение для того, чтобы приближаться и перемещаться как можно ближе друг к другу для эффективного периодического электромагнитного взаимодействия между ними. Аналогично другим магнитам 30, 36, 38, дугообразные поверхности 65, 69 имеют соответствующие взаимодополняющие круглые структуры 54′, 54а’ выступов, такие как ориентированные вдоль окружности шпунты и канавки или тому подобное.
Хотя они могут быть расположены в любом положении вокруг коленчатого вала 24, третьи электромагниты 68 обычно расположены в положениях, которые позволяют обеспечить большую силу отталкивания магнитов 64, направленную, в общем, по касательной к пути их вращательного перемещения относительно оси вращения соединительного штока, соединяющегося с коленчатым валом, когда поршень 18 находится в своих продольно предельных или ограничительных положениях относительно коленчатого вала, предпочтительно, в самом дальнем положении и, в случае необходимости, в положении в непосредственной близости к нему, когда шток 26 соединения с осью, в общем, пересекает ось коленчатого вала 24.
Очевидно, что магниты 64, 68 области коленчатого вала могут быть единственными, присутствующими в случае роторного двигателя, такого как двигатель Ванкеля или тому подобное, благодаря отсутствию каких-либо движущихся линейно и возвратно-поступательно компонентов двигателя.
Хотя это не показано на чертежах, для ясности могут присутствовать некоторые отверстия для циркуляции воздуха (не показаны), продолжающиеся, в общем, вдоль оси через магнит 30 и/или отверстия (не показаны) на его периферии, на боковой стенке поршня или в любых других соответствующих местах, которые обеспечивают возможность свободного протекания воздуха в область объема и из нее, расположенную между магнитом 30 и первым электромагнитом 36, без приложения к узлу поршня некоторой нагрузки из-за давления реакции, которая препятствовала бы правильному функционированию гибридного двигателя 11.
Работа
Как показано на фигурах 1 и 4A, каждая поверхность 46, 48, 50, 52, 65, 69 магнита обычно имеет одну магнитную полярность N, S (северный, южный или положительный, отрицательный) по всей своей поверхности, и каждый магнит 30, 36, 38 имеет ось магнитной полярности, по существу, параллельную оси R возвратно-поступательного движения поршня, в то время как каждый магнит 64, 68 имеет ось магнитной полярности, по существу, расположенную по касательной к коленчатом валу 24 относительно его оси. Поверхности 50, 52 двух электромагнитов 36, 38 проявляют свою полярность только, когда их подключают к электрическому питанию с той же полярностью, что и у соответствующих, взаимодействующих поверхностей 46, 48, в результате чего каждый соответствующий электромагнит 36, 38 поочередно отталкивает постоянный магнит 30, начиная от момента, в который магнит 30 находится в ближайшем положении относительно соответствующего электромагнита 36, 38 или непосредственно после него, для дополнительного обеспечения незначительного его движения, индуцированного магнитной силой. Аналогично поверхности 69 электромагнитов 68 проявляют свою полярность только, когда их подключают к электрическому питанию с той же полярностью, что и у соответствующей, взаимодействующей поверхности 65, в результате чего каждый соответствующий электромагнит 68 периодически отталкивает соответствующий постоянный магнит 64, начиная от момента, когда магнит 64 находится в самом ближнем положении (по касательной линии) относительно соответствующего электромагнита 68 или непосредственно после него, для дополнительного обеспечения незначительного его движения, индуцированного магнитной силой; причем направление отталкивания расположено по касательной к пути кругового перемещения или перпендикулярно радиальному направлению к оси вращения коленчатого вала 26.
Благодаря правильному расположению электромагнитов 68, взаимодействующих с движущимися по окружности, по круговому пути, постоянными магнитами 64, становится возможным обеспечить некоторые силы отталкивания, которые всегда эффективны (из-за направления по касательной силы отталкивания), в отличие от электромагнитов 36, 38, которые обеспечивают импульс отталкивания, когда соединительный шток 26 обычно располагается по линии с осью R цилиндра, когда взаимодействие менее эффективно. Для того чтобы повысить эффективность, должен быть обеспечен импульс отталкивания с третьим электромагнитом 60, когда угол между штоком 26 и осью R приблизительно составляет максимально значение, которое может быть реализовано, ограниченное до определенной степени конфигурацией электромагнитной системы 14.
Только в качестве примера, приводится следующее описание работы, представленное на фиг.3, которое относится к четырехтактному бензиновому двигателю 12 внутреннего сгорания, но те же принципы применяются для двухтактного двигателя, и/или дизельного двигателя, и/или для роторного двигателя (не показан), в котором присутствуют только магниты 64, 68.
Во время работы, как частично представлено на фигурах 2A-2F, постоянный магнит 30 линейно возвратно-поступательно перемещается между двумя электромагнитами 36, 38 во время каждого такта поршня 16, в то время как постоянные магниты 64 непрерывно вращаются между электромагнитами 68. На фиг.2А поршень 16 находится в верхнем положении в начале рабочего такта, момент времени “0” на фиг.3, в котором два входных 80 и выходных 82 клапана закрыты и свеча 84 зажигания (или требуемая степень сжатия смеси топлива-воздуха в дизельном двигателе) воспламеняет смесь воздуха с бензином, находящуюся внутри камеры 86 сгорания. Энергия, получаемая в результате взрывного сгорания, представленная верхним поперечным пиком С на фиг.3, толкает поршень 16 вниз и приблизительно в то же время первый и третий электромагниты 36, 68 электрически активируют или ВКЛЮЧАЮТ, для обеспечения, в общем, мгновенного магнитного отталкивающего ударного воздействия и магнитного отталкивания, как представлено квадратными пиками MI1, MI” и нижними поперечными пиками MR1, MR1″ на фиг.3 соответственно, с магнитами 30, 64, установленными на поршне 16 и на коленчатом валу 24. Магнитное отталкивание MR1, MR1″ обычно продолжается до тех пор, пока постоянный магнит 30 не достигнет местоположения, расположенного приблизительно рядом со средним положением между двумя электромагнитами 36, 38, когда эффективность действительно сильно падает относительно требуемой энергии активации первого и третьего электромагнитов 36, 68, как показано на фиг.2B. Приблизительно в этот момент времени постоянный магнит 30 приближается к своему среднему положению перемещения, где он начинает испытывать естественное магнитное притяжение со стороны неактивированного электромагнита 60, поскольку в нем присутствует парамагнитный материал, также называемое эффектом вторичного магнитного притяжения, что иллюстрируется относительно малым нижним, обратным поперечным пиком МА1′ перед моментом времени “0.5” на фиг.3. Затем магнит 30 достигает области среднего положения перемещения, в которой оба электромагнита 36, 38 не активированы или ВЫКЛЮЧЕНЫ, как показано на фиг.2C, в то время как электромагнит 60 активируют или ВКЛЮЧАЮТ для обеспечения, в общем, мгновенных магнитных отталкивающих ударных воздействий и магнитного отталкивания, как представлено квадратным пиком МI1′ и нижним поперечным пиком MR1′ на фиг.3 соответственно.
Как показано на фиг.2D, когда постоянные магниты 30, 64 соответственно приближаются к неактивизированным второму и третьему электромагнитам 38, 68, они испытывают естественное магнитное притяжение с их стороны в результате наличия в них парамагнитного материала, также называемое эффектом вторичного магнитного притяжения, что иллюстрируется относительно малыми соответствующими нижними обратными поперечными пиками МА1, МА1″ перед моментом времени “1” на фиг.3.
В месте перехода между рабочим тактом и следующим тактом выпуска, в момент времени “1” на фиг.3, второй и третий электромагниты 38, 68 ВКЛЮЧАЮТ для обеспечения второго, в общем, мгновенного отталкивающего магнитного ударного воздействия и второго магнитного отталкивания, что иллюстрируется квадратными пиками MI2, MI2″ и нижними поперечными пиками MR2, MR2″ на фиг.3 соответственно, для отталкивания постоянных магнитов 30, 64, установленных на поршне 16 в направлении первого электромагнита 36 и на коленчатом валу 24, как показано на фиг.2E, и при этом сгоревшую смесь воздуха и бензина выпускают из камеры 86 сгорания через открытый выпускной клапан 82.
Непосредственно перед моментом времени “1.5” на фиг.3, постоянный магнит 30 снова находится близко к его среднему положению перемещения и начинает испытывать силу естественного магнитного притяжения со стороны неактивированного электромагнита 60, как иллюстрируется относительно малым нижним обратным поперечным пиком МА2′. Когда магнит 30 достигает области среднего положения перемещения, в которой оба электромагнита 36, 38 не активированы или ВЫКЛЮЧЕНЫ, электромагнит 60 активируется или ВКЛЮЧАЕТСЯ, с обратной полярностью, как в момент времени “0.5”, для формирования, в общем, мгновенных отталкивающих ударных магнитных воздействий и магнитного отталкивания, как представлено квадратным пиком MI2′ и нижним поперечным пиком MR2′ на фиг.3 соответственно.
Непосредственно перед окончанием первой половины двухтактного цикла в момент времени “2” на фиг.3, как показано на фиг.2F, когда постоянные магниты 30, 64 возвращаются в положение, расположенное рядом с соответствующим первым и третьим электромагнитами 36, 68, они испытывают естественную силу магнитного притяжения с их стороны в результате воздействия парамагнитного материала, находящегося в них, также называемую эффектом вторичного магнитного притяжения, как представлено относительно малыми нижними обратными поперечными пиками МА2, МА2″ перед моментом времени “2” на фиг.3.
В течение последних двух тактов впуска и сжатия, выполняемых между моментом времени “2” и моментом времени “4” через моменты времени “2.5”, “3” и “3.5” на фиг.3, работа системы 14 электромагнитного питания аналогична описанной выше для первых двух тактов, в которых отталкивающие электромагнитные силы MI1, MI1″, MR1, MR1″, MI1′, MR1′, MI2, MI2″, MR2, MR2″, MI2′, MR2′ и силы МА1′, МА1, МА1″, МА2′, МА2, МА2″ магнитного притяжения, между постоянными магнитами 30, 64 и соответствующими электромагнитами 36, 38, 60, 68 соответственно, заменяются силами MI3, MI3″, MR3, MR3″, MI3′, MR3′, MI4, MI4″, MR4, MR4″, MI4′, MR4′ электромагнитного отталкивания и силами МА3′, МА3, МА3″, МА4′, МА4, МА4″ магнитного притяжения, представленными на фиг.3. Все указанные выше электромагнитные силы индуцируются путем периодической подачи электрических импульсов для подачи энергии на разные электромагниты 36, 38, 60, 68 в течение периода приблизительно несколько миллисекунд (или даже долей этого периода), в то время как постоянные магниты 30, 64 обеспечивают магнитную энергию, доступную благодаря их положению относительно соответствующих, периодически активируемых электромагнитов. Эти магнитные силы притяжения и отталкивания обычно возникают на первом и втором участках соответствующего пути перемещения постоянного магнита 30, 64, как схематично иллюстрируется на фиг.3. Каждый первый и второй участок, очевидно, может включать в себя множество последовательных подучастков в том же цикле перемещения в зависимости от количества магнитов, расположенных вдоль соответствующего пути перемещения.
Как указано выше, моменты времени приложения всех электромагнитных сил обычно синхронизируют с четырехтактным циклом двигателя 12 внутреннего сгорания, когда это применимо, через электронный контроллер 41 или тому подобное.
Кроме того, во время периодов, когда не требуется мощность от гибридного двигателя 11, например во время периодов торможения и периодов режима торможения двигателем, электромагниты могут не активироваться, с тем чтобы не расходовать энергию, что, в свою очередь, может быть непродуктивным, из-за работы против тормозящего двигателя 11. Возвратно-поступательное перемещение постоянного магнита 30 и его магнитное поле в непосредственной близости к выступам 61 электрической катушки могут генерировать электрическую энергию, которая может непосредственно использоваться или даже накапливаться для будущего использования.
Альтернативы
Для улучшения магнитного притяжения разных электромагнитов 60, 68, когда они не активированы, они обычно включают в себя соответствующий притягивающий постоянный магнит 60′ (показан пунктирными линиями на фигурах, благодаря тому что его полная эффективность используется только в течение половины линейного перемещения постоянного магнита 30), 68′, соединенный с ними, обычно на обратной их стороне. При использовании таких магнитов 60′, 68′ притяжения, соответствующие электромагниты 60, 68, по существу, становятся их выступающими частями. С другой стороны, когда их активируют или ВКЛЮЧАЮТ, электромагниты 60, 68 обычно становятся достаточно сильными, чтобы, по меньшей мере, компенсировать и преодолевать магнитное поле своих соответствующих притягивающих магнитов 60′, 68′ с величиной, аналогичной соответствующим постоянным магнитам 30, 64, как если бы притягивающие магниты 60′, 68′ отсутствовали и не притягивали бы соответствующие постоянные магниты 30, 64, когда происходит их отталкивание. Хотя это не показано, аналогичные притягивающие постоянные магниты могут быть соединены с электромагнитами 36, 38 соответственно.
На фиг.4B показан альтернативный способ ориентации магнитных полярностей постоянного магнита 30 и электромагнитов 36, 38, 60. Внешняя окружность всех магнитов 30, 36, 38, 60 может быть разделена на множество, состоящее из четного количества сегментов обычно равных размеров, имеющих чередующиеся магнитные полярности N, S, как две половины кольца в представленном на иллюстрации примере. Такой вариант выполнения позволяет физически выполнить такую конструкцию электромагнитов 36, 38 (U-образные оси магнитного поля), чтобы обе их магнитные полярности использовались для функционального магнитного взаимодействия с соответствующим участком постоянного магнита 30, который может быть изготовлен с относительно высокой направленностью магнитного поля для обеспечения отсутствия какого-либо электромагнитного притяжения между несоответствующими магнитами/электромагнитами, когда принудительно выполняется электромагнитное отталкивание между соответствующими магнитами/электромагнитами.
Как будет очевидно для специалистов в данной области техники, магниты 30, 64 и электромагниты 36, 38, 60, 68 могут быть расположены в разных местах, без выхода за пределы объема настоящего изобретения. Аналогично дополнительный магнит (магниты) и/или электромагнит (электромагниты) могут быть добавлены в других местах, таких как коленчатый вал 24 и картер 56, вал передачи и т.п., без выхода за пределы объема настоящего изобретения.
Кроме того, для специалистов в данной области техники будет понятно, что электромагнитная энергетическая система в соответствии с настоящим изобретением может использоваться совместно с любым другим типом двигателя, таким как, без ограничений, линейно движущиеся двигатели с соединительным штоком, включая двигатель Вайсмана (Wiseman) и двигатель Бурке (Bourke), которые обеспечивают возможность движения множества постоянных магнитов между соответствующими электромагнитами благодаря возможности изготовления более длинных соединительных штоков, а также роторные двигатели.
Хотя это не является предпочтительным, из-за необходимости относительно высокого потребления электроэнергии при относительно малом повышении выходной мощности, электромагниты 36, 38, 60, 68 в конечном итоге могут быть избирательно активированы в конфигурации с обратной полярностью для притяжения соответствующего постоянного магнита 30, 64, приближающегося к ним, всякий раз, когда это требуется, например, для получения дополнительной выходной мощности двигателя.
Хотя настоящий электромагнитный двигатель 10 был описан с определенной степенью конкретизации, следует понимать, что раскрытие было выполнено только в качестве примера и что настоящее изобретение не ограничивается свойствами описанных и иллюстрируемых здесь вариантов выполнения, но включает в себя все варианты и модификации в пределах объема и сущности изобретения, заявленных ниже.
Формула изобретения
1. Электромагнитный двигатель (10), содержащий постоянный магнит (30, 64), соединенный с подвижной частью (18, 66) двигателя (10), связанной с его выходным валом (24) и определяющей путь перемещения постоянного магнита (30, 64); и электромагнит (36, 68), соединенный с неподвижной частью (22) двигателя (10), причем электромагнит (36, 68), по меньшей мере, периодически функционально взаимодействует с постоянным магнитом (30, 64), при этом электромагнит (36, 68) выполнен с возможностью электрического соединения с источником питания для его избирательной активации, причем электромагнит (36, 68) содержит парамагнитный материал и магнитно притягивает постоянный магнит (30, 64) на первом участке (МА1, МА1″) пути перемещения, когда он не активирован источником питания, и магнитно отталкивает постоянный магнит (30, 64) на втором участке (MI1, MR1, MI1″, MR1″) пути перемещения, когда он активирован источником питания.
2. Двигатель (10) по п.1, в котором путь перемещения постоянного магнита (64) представляет собой круговой путь перемещения, причем электромагнит (68) расположен рядом и радиально снаружи от указанного кругового пути перемещения постоянного магнита (64) для того, чтобы, по меньшей мере, периодически функционально взаимодействовать с ним, причем с направлением отталкивания, по существу, направленным по касательной к указанному круговому пути перемещения.
3. Двигатель (10) по п.2, в котором постоянный магнит включает в себя множество постоянных магнитов (64), расположенных, по существу, вдоль окружности с равным промежутком друг от друга, причем электромагнит включает в себя множество электромагнитов (68), расположенных, по существу, вдоль окружности с равным промежутком друг от друга, и каждый из указанных постоянных магнитов (64) периодически функционально взаимодействует с последующим из электромагнитов (68).
4. Двигатель (10) по п.3, в котором множество электромагнитов (68) в один момент одновременно активируют с помощью источника питания.
5. Двигатель (10) по п.2, в котором постоянный магнит (64) включает в себя первую поверхность (65) взаимодействия, предназначенную для магнитного взаимодействия со второй поверхностью (69) взаимодействия электромагнита (68), причем первая поверхность (65) имеет первую структуру (54′) выступов, сформированную на ней, вторая поверхность (69) имеет вторую структуру (54а’) выступов, сформированную на ней, в виде, по существу, взаимодополняющей структуры к первой структуре (54′) выступов.
6. Двигатель (10) по п.5, в котором первая и вторая структуры (54′, 54а’) выступов включают в себя взаимодополняющие, расположенные вдоль окружности шпунт и канавки.
7. Двигатель (10) по п.2, в котором электромагнит (68) включает в себя притягивающий постоянный магнит (68′), соединенный с ним для магнитного притяжения постоянного магнита (64) на первом участке (МА1″) кругового пути перемещения.
8. Двигатель (10) по п.7, в котором естественное магнитное притяжение притягивающего постоянного магнита (68′) к постоянному магниту (64), по меньшей мере, компенсируется электромагнитным отталкиванием электромагнита (68) на втором участке (MI1″, MR1″) пути кругового перемещения, когда он активирован от источника питания.
9. Двигатель (10) по п.1, в котором путь перемещения постоянного магнита (30) представляет собой линейный возвратно-поступательный путь перемещения, определяющий первое и второе продольные граничные положения постоянного магнита (30), причем электромагнит представляет собой первый электромагнит (36), расположенный рядом с первым граничным положением, при этом двигатель (10) включает в себя второй электромагнит (38), соединенный с неподвижной частью (22) двигателя (10), рядом со вторым граничным положением, и, по меньшей мере, периодически функционально взаимодействующий с постоянным магнитом (30), причем второй электромагнит (38) выполнен с возможностью электрического подключения к источнику питания для избирательной его активации, причем первый и второй электромагниты (36, 38) поочередно и в один момент активируются, когда постоянный магнит (30) достигает первого и второго граничных положений соответственно.
10. Двигатель (10) по п.9, в котором постоянный магнит (30) имеет противоположные магнитные полярности (N, S), обращенные к первому и второму электромагнитам (36, 38) соответственно.
11. Двигатель (10) по п.9, в котором постоянный магнит (30) имеет противоположные первую и вторую взаимодействующие поверхности (46, 48), обращенные соответственно к третьей и четвертой взаимодействующим поверхностям (50, 52) первого и второго электромагнитов (36, 38) для магнитного взаимодействия между ними соответственно, причем первая и вторая поверхности (46, 48) имеют первую структуру (54) выступов, сформированную на них, а третья и четвертая поверхности (50, 52) имеют вторую структуру (54а) выступов, сформированную на них, которая является, по существу, взаимодополняющей структурой для первой структуры (54) выступов.
12. Двигатель (10) по п.11, в котором первая и вторая структуры (54, 54а) выступов имеют взаимодополняющие поперечные сечения в форме квадратных зубьев.
13. Двигатель (10) по п.9, дополнительно включающий в себя третий электромагнит (60), соединенный с неподвижной частью (22) двигателя (10), расположенный в общем на половине пути между первым и вторым граничными положениями, рядом и радиально снаружи от периферии постоянного магнита (30) для, по меньшей мере, периодического функционального взаимодействия с ним, причем третий электромагнит (60) выполнен с возможностью электрического соединения с источником питания для избирательной активации, при этом третий электромагнит (60) магнитно притягивает постоянный магнит на третьем участке (МА1′, МА2′) пути перемещения, когда он не активирован, и магнитно отталкивает постоянный магнит на четвертом участке (MI1′, MR1′, MI2′, MR2′) пути перемещения, когда он активирован источником питания.
14. Двигатель (10) по п.13, в котором третий электромагнит (60) выполнен с возможностью электрического и реверсивного подключения к источнику питания для избирательной реверсивной магнитной активации.
15. Двигатель (10) по п.14, в котором третий электромагнит (60) выполнен с возможностью электрического подключения к источнику питания для его избирательной дополнительной активации и реверсивной магнитной активации.
16. Двигатель (10) по п.13, в котором третий электромагнит (60) включает в себя притягивающий постоянный магнит (60′), соединенный с ним, для магнитного притяжения постоянного магнита (30) на третьем участке (МА1′, МА2′) линейного возвратно-поступательного пути перемещения.
17. Двигатель (10) по п.16, в котором естественное магнитное притяжение притягивающего постоянного магнита (60′) к постоянному магниту (30), по меньшей мере, компенсируется электромагнитным отталкиванием третьего электромагнита (60) на четвертом участке (MI1′, MR1′, MI2′, MR2′) линейного возвратно-поступательного пути перемещения, когда он активирован источником питания.
18. Двигатель (10) по п.9, дополнительно включающий в себя электрическую катушку (61) рекуперации, расположенную в общем между первым и вторым граничыми положениями, рядом и радиально снаружи от периферии постоянного магнита (30) для, по меньшей мере, периодического функционального взаимодействия с ним, причем электрическая катушка (61), избирательно магнитно взаимодействующая с постоянным магнитом (30) на третьем участке пути перемещения, предназначена для снижения скорости постоянного магнита (30), перемещающегося вдоль пути перемещения, и генерирования электроэнергии, подходящей для использования подключенным к ней внешним устройством.
19. Двигатель (10) по п.9, дополнительно включающий в себя контроллер (41), подключенный к первому и второму электромагнитам (36, 38) для избирательного управления его активацией от источника питания.
20. Двигатель (10) по п.9, в котором постоянный магнит (30) соединен с поршнем (18) двигателя (12) внутреннего сгорания и первый и второй электромагниты (36, 38) подключены к блоку (22) двигателя (12) внутреннего сгорания, при этом двигатель (10) образует электромагнитный гибридный двигатель (11) с двигателем (12) внутреннего сгорания.
21. Двигатель (10) по п.20, дополнительно включающий в себя контроллер (41), подключенный к первому и второму электромагнитам (36, 38) и к компьютеру двигателя для избирательного управления активацией первого и второго электромагнитов (36, 38) от источника питания синхронно с перемещением поршня (18).
РИСУНКИ
|
|