|
|
(21), (22) Заявка: 2008148681/09, 09.12.2008
(24) Дата начала отсчета срока действия патента:
09.12.2008
(46) Опубликовано: 10.02.2010
(56) Список документов, цитированных в отчете о поиске:
RU 2208275 С1, 10.07.2003. RU 94017129 А1, 27.05.1996. RU 2173010 C1, А1, 27.08.2001. FR 2123051 А1, 08.09.1972. DE 19603803 А1, 14.08.1997.
Адрес для переписки:
183010, г.Мурманск, ул. Спортивная, 13, ФГОУВПО “Мурманский государственный технический университет”, патентный отдел
|
(72) Автор(ы):
Милкин Владимир Иванович (RU), Калитенков Николай Васильевич (RU), Сосин Алексей Васильевич (RU), Гурин Алексей Валентинович (RU)
(73) Патентообладатель(и):
Федеральное государственное образовательное учреждение высшего профессионального образования “Мурманский государственный технический университет” (RU)
|
(54) КОМБИНИРОВАННАЯ АНТЕННАЯ РЕШЕТКА
(57) Реферат:
Изобретение относится к антенной технике. Техническим результатом является повышение коэффициента усиления при расширении рабочей полосы частот. Комбинированная антенная решетка содержит рефлектор с боковыми створками, две двойные треугольные антенны дециметрового диапазона, вибратор расширения полосы метрового диапазона волн, три вертикальные двухпроводные соединительные линии и одну горизонтальную. Двойные треугольные антенны расположены в одной плоскости. Эта плоскость параллельна плоскости рефлектора. Вибратор расширения полосы метрового диапазона волн расположен за рефлектором. 4 з.п. ф-лы, 7 ил.
Изобретение относится к антенной технике и может быть использовано в качестве коллективной или индивидуальной антенны для приема эфирного цифрового телевидения во всем частотном диапазоне радиоволн (в метровом и дециметровом).
11, с.35-36), состоящая из 4 квадратных звеньев, расположенных в одной плоскости одно над другим при соответствующем фазировании для использования на 6-12 каналах в метровом диапазоне или для диапазона дециметровых волн.
Недостатками антенны являются громоздкость ее конструкции, работа антенны в относительно узком диапазоне радиоволн и недостаточно высокий коэффициент усиления.
Известна универсальная всеволновая антенна, способная принимать сигналы до 40 телевизионных каналов с использованием единого фидера без специальных фильтров сложения (Антенны спутниковые ТВ, РВ, СИ-БИ, KB, УКВ: Конструкции, каталоги фирм, иллюстрированный обзор публикаций / Никитин В.А. и др. – М.: ДМК, 1999, с.152). Часть антенны для приема дециметровых волн представляет собой многоэлементный «волновой канал», а сигналы метровых волн принимаются «веерным» вибратором. Сложение сигналов происходит на общей нагрузке. Развязка от взаимного влияния при работе элементов антенны в различных участках частотного диапазона обеспечивается сложной схемой фазирования.
Недостатками этой антенны являются сложность конструкции и относительная узкополосность из-за использования в качестве базовой антенны, работающей в дециметровом диапазоне радиоволн, настроенной вибраторной антенны типа «волновой канал».
Наиболее близкой по технической сущности к заявляемой в качестве изобретения комбинированной антенной решетке является антенная решетка фазируемая диапазонная (Патент 2208275, опубл. 10.07.2003), содержащая синфазную систему антенных секций, выполненных в виде зигзагообразных вибраторов, согласованных с общей нагрузкой, которые снабжены вибраторами расширения полосы, подключенными к выходу зигзагообразных вибраторов.
Секции снабжены рефлекторами, повышающими помехозащищенность и коэффициент усиления. Зигзагообразные вибраторы используют для приема в дециметровом диапазоне радиоволн, а сигналы метрового диапазона принимают вибраторы расширения полосы при параллельной работе.
В этой антенной решетке фазируемой диапазонной параллельная работа зигзагообразных и дополнительных вибраторов расширения полосы обеспечивается синфазным режимом при суммировании сигналов на общей согласованной нагрузке. В то же время из-за отсутствия фильтрации суммирование сигналов дециметрового диапазона от зигзагообразных вибраторов и сигналов метрового диапазона от вибраторов расширения полосы приводит к нарушению фазировки и перемене полярности вибраторов, что не обеспечивает потенциального повышения коэффициента усиления в случае более широкополосной антенной решетки.
Технический результат, на достижение которого направлено заявляемое изобретение, состоит в повышении коэффициента усиления при расширении рабочей полосы частот.
Для достижения указанного технического результата в комбинированной антенной решетке, содержащей расположенный в вертикальной плоскости и выполненный в виде плоского прямоугольного экрана рефлектор, четыре попарно соединенные между собой с образованием точек выхода антенные секции дециметрового диапазона волн, вибратор полосы расширения метрового диапазона волн с плечами, превышающими ширину рефлектора, подключенная к точкам питания решетки общая согласованная нагрузка, с которой согласованы антенные секции и вибратор полосы расширения, при этом последние расположены в плоскости, параллельной плоскости рефлектора, дополнительно введены четыре двухпроводные соединительные линии, три из которых вертикальные, а одна горизонтальная, а также четыре Т-трансформатора, каждая антенная секция представляет собой незамкнутую треугольную рамку, имеющую две одинаковые по длине боковые стороны, выполняющие роль вибраторов среднечастотного диапазона волн, и основание длиной, отличной от длины боковых сторон и необходимой для обеспечения работы последнего в качестве вибратора расширения полосы в высокочастотном диапазоне волн, причем попарно соединенные треугольные рамки образуют две двойные треугольные антенны, расположенные в одной плоскости одна над другой, основание каждой треугольной рамки подключено через Т-трансформатор с помощью соответственно первой и второй вертикальных двухпроводных линий к точкам выхода соответствующих двойных треугольных антенн, а точки выхода последних соединены между собой с помощью третьей вертикальной двухпроводной соединительной линии, в центре которой расположены точки питания решетки, к которым подключен с помощью горизонтальной двухпроводной соединительной линии вибратор расширения полосы метрового диапазона волн, установленный за рефлектором на расстоянии, обеспечивающем оптимальную фазировку.
Отличительными признаками предлагаемой комбинированной решетки от указанной выше известной, наиболее близкой к ней, являются следующие:
– дополнительно введены четыре двухпроводные соединительные линии, три из которых вертикальные, а одна горизонтальная;
– дополнительно введены четыре Т-трансформатора;
– каждая антенная секция представляет собой незамкнутую треугольную рамку, имеющую две одинаковые по длине боковые стороны и основание;
– боковые стороны треугольных рамок являются вибраторами среднечастотного диапазона волн;
– длина основания треугольной рамки отличается от длины боковых сторон и обеспечивает работу основания в качестве вибратора расширения полосы в высокочастотном диапазоне волн;
– длина основания каждой треугольной рамки меньше длины боковых сторон, при этом чем она меньше, тем выше принимаемая частота;
– попарно соединенные треугольные рамки образуют две двойные треугольные антенны;
– обе двойные треугольные антенны расположены в одной плоскости одна над другой;
– основание каждой треугольной рамки соответствующей двойной треугольной антенны подключено через Т-трансформатор с помощью соответственно первой и второй вертикальной двухпроводной линии к соответствующим точкам выхода;
– точки выхода обеих двойных треугольных антенн также соединены между собой с помощью третьей вертикальной двухпроводной соединительной линии;
– в центре третьей вертикальной двухпроводной соединительной линии расположены точки питания решетки;
– к точкам питания решетки подключен с помощью горизонтальной двухпроводной соединительной линии вибратор расширения полосы метрового диапазона волн;
– вибратор расширения полосы метрового диапазона волн установлен за рефлектором на расстоянии, обеспечивающем оптимальную фазировку;
– рефлектор по всему периметру имеет боковые створки, расположенные под углом 120° к плоскости рефлектора;
– двойные треугольные антенны расположены от рефлектора на расстоянии, равном 0,18-0,28 ср., где ср. – средняя длина волны;
– расстояние установки вибратора расширения полосы метрового диапазона волн равно или меньше ср./4, где ср. – средняя длина волны.
Благодаря наличию этих признаков предлагаемая комбинированная антенная решетка имеет высокий коэффициент усиления при одновременном расширении рабочей полосы частот.
Кроме того, выполнение оснований треугольных рамок длиной, меньшей длины боковых сторон треугольных рамок, обеспечивает работу этих оснований в качестве вибраторов расширения полосы (или шунтовых вибраторов) в области высоких частот. В то время как боковые стороны треугольных рамок являются вибраторами среднечастотного диапазона волн. При этом выполнение длины первой и второй вертикальных двухпроводных соединительных линий, соединяющих через Т-трансформатор оба основания треугольных рамок в каждой двойной треугольной антенне с точками выхода соответствующей двойной треугольной антенны, соизмеримой с длинами боковых сторон, равных ср./4 их рабочих частот, устраняет влияние этих соединительных линий, замкнутых в точках подключения шунтовых вибраторов, и самих вибраторов в рабочем диапазоне двойных треугольных антенн, а вследствие того, что импедансы этих линий будут равны , двойные треугольные антенны будут работать в классическом режиме.
Дополнительный вибратор расширения полосы метрового диапазона волн в области низких частот с длинами плеч, превышающими ширину рефлектора, размещенный за ним и подключенный к точкам питания решетки, которые являются центром третьей вертикальной двухпроводной соединительной линии, соединяющей выходы двойных треугольных антенн, в данной комбинации работает как активный вибратор, а рефлектор в роли директора для него, что обеспечивает выраженную направленность в нижней части рабочего диапазона. Участки соединительной линии от точек питания решетки, куда подключается дополнительный вибратор расширения полосы метрового диапазона волн, через выходы двойных треугольных антенн, соединительные линии и Т-трансформаторы, зашунтированные в центре укороченных оснований треугольных рамок высокочастотного диапазона, соизмеримы с ср./4 низкочастотной полосы рабочей части частотного диапазона и обеспечивают импеданс в точках выхода секций со стороны средне-высокочастотной комбинации этих секций для низких частот, равный . Все это способствует максимальному увеличению коэффициента усиления предлагаемой комбинированной антенной решетки при одновременном расширении полосы частот.
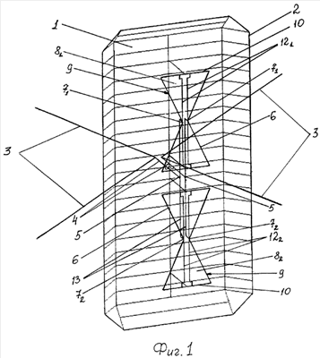
Предлагаемая комбинированная антенная решетка (КАР) иллюстрируется чертежами, представленными на фиг.1-7.
На фиг.1 показан общий вид антенны, на фиг.2 – график изменения коэффициента усиления в метровом диапазоне волн, на фиг.3 – график изменения коэффициента усиления в дециметровом диапазоне волн, на фиг.4 – диаграмма направленности заявляемой решетки в горизонтальной плоскости в метровом диапазоне волн, на фиг.5 – то же в вертикальной плоскости, на фиг.6 – диаграмма направленности заявляемой решетки в горизонтальной плоскости в дециметровом диапазоне волн, на фиг.7 – то же в вертикальной плоскости.
Комбинированная антенная решетка содержит рефлектор 1 (фиг.1). Рефлектор выполнен в виде плоского прямоугольного экрана. По периметру рефлектора 1 расположены боковые створки 2. Боковые створки 2 расположены к плоскости рефлектора 1 под углом 120° (не показано).
Рефлектор 1 расположен в вертикальной плоскости (фиг.1). За рефлектором 1 на расстоянии, обеспечивающем оптимальную фазировку и равном или меньше ср./4, где ср. – средняя длина волны, установлен вибратор 3 расширения полосы метрового диапазона волн. Плечи вибратора 3 превышают ширину рефлектора 1. Вибратор 3 полосы расширения подключен с помощью горизонтальной двухпроводной соединительной линии 4 к точкам 5 питания КАР. В плоскости, параллельной плоскости рефлектора 1, установлены четыре антенные секции 6 дециметрового диапазона волн. Каждая антенная секция 6 представляет собой незамкнутую треугольную рамку. Антенные секции 6 попарно соединены между собой с образованием точек 71 и 72 выхода и с образованием двух двойных треугольных антенн 81 и 82. Каждая незамкнутая треугольная рамка антенной секции 6 имеет две одинаковые по длине боковые стороны 9 и основание 10. При этом длина основания 10 меньше длины боковых сторон 9, что обеспечивает работу основания 10 в качестве вибратора расширения полосы в высокочастотном диапазоне волн, а боковые стороны 9 работают в среднечастотном диапазоне волн. Оба основания 10 в двойной треугольной антенне 81 соединены через Т-трансформатор 11 с помощью первой вертикальной двухпроводной соединительной линии 121 с точками 71 выхода. Оба основания 10 в двойной треугольной антенне 82 также соединены через Т-трансформатор 11 с помощью аналогичной второй вертикальной двухпроводной соединительной линии 122 с точками 72 выхода.
Двойные треугольные антенны 81 и 82 расположены одна над другой в одной вертикальной плоскости (фиг.1). Точки 71 и 72 выхода соответственно обеих двойных треугольных антенн 81, 82 соединены друг с другом с помощью третьей вертикальной двухпроводной соединительной линии 13, в центре которой расположены точки 5 питания КАР. К точкам 5 питания КАР подключена общая согласованная нагрузка RH (на фиг.1 не изображена). Двойные треугольные антенны 81, 82 расположены от рефлектора 1 на расстоянии, равном 0,18-0,28 ср., где ср. – средняя длина волны, и механически закреплены к рефлектору 1.
Комбинированная антенная решетка работает следующим образом.
Принимаемые электромагнитные сигналы в высокочастотной части (ВЧ) дециметрового диапазона радиоволн на основания 10, выполняющие роль вибраторов расширения полосы в ВЧ-диапазоне (или шунтовые вибраторы) и входящие в состав антенных секций 6, преобразуются в ЭДС и в синфазном режиме суммируются на общей нагрузке Rн, пройдя по очереди через Т-трансформаторы 11, вертикальные двухпроводные соединительные линии 121 и 122, участки третьей вертикальной двухпроводной соединительной линии 13 и точки 5 питания КАР. При этом принимаемые электромагнитные сигналы в средней части высокочастотного рабочего диапазона, например дециметрового, боковыми сторонами 9, выполняющими роль вибраторов среднечастотного диапазона волн, преобразуются в ЭДС и в синфазном режиме, пройдя через третью двухпроводную вертикальную соединительную линию 13 и точки 5 питания КАР, суммируются на общей нагрузке Rн. Вертикальная двухпроводная соединительная линия 13, 1/2 длины которой соизмерима с боковыми сторонами 9 незамкнутых треугольных рамок антенных секций 6, ввиду их импеданса, равного , как закороченные отрезки длинных линий, равных ср./4, влияния на работу двойных треугольных антенн 81 и 82 оказывать не будет. При этом принимаемые электромагнитные сигналы в низкочастотной части метрового диапазона радиоволн вибраторами 3 расширения полосы преобразуются в ЭДС и в синфазном режиме суммируются на общей нагрузке Rн, пройдя через горизонтальную двухпроводную соединительную линию 4 и точки 5 питания КАР. При этом рефлектор 1 будет выполнять роль директора для вибратора 3, а боковые стороны 9 и основания 10 антенных секций 6 (высокочастотный тракт КАР) шунтировать работу вибратора 3 низкочастотной части не будут, так как от точек 5 питания КАР, куда подключены вибраторы 3 расширения полосы метрового диапазона низкочастотной части, до оснований 10, выполняющих роль вибраторов полосы расширения в высокочастотном диапазоне волн (или высокочастотных шунтовых вибраторов), длина суммы участков 1/2 вертикальной двухпроводной соединительной линии 13 и 1/2 двухпроводной вертикальной соединительной линии 121 (или соответственно 122) линии соизмерима с ср./4 низкочастотной части рабочего диапазона радиоволн.
Высокую эффективность предлагаемой в качестве изобретения КАР подтверждают следующие графики:
графики на фиг.2, 3 показывают относительную равномерность коэффициента усиления КАР во всем рабочем диапазоне с большим увеличением в высокочастотной части дециметрового диапазона длин волн;
графики на фиг.4, 5 свидетельствуют о хорошей односторонней направленности КАР как в горизонтальной, так и в вертикальной плоскости в метровом диапазоне длин радиоволн;
графики на фиг.6, 7 свидетельствуют о хорошей односторонней направленности КАР как в горизонтальной, так и в вертикальной плоскости в дециметровом диапазоне длин радиоволн.
Создан опытный натурный образец предлагаемой КАР, успешно проведены его испытания, которые подтвердили достижение заявляемого технического результата. Натурный образец КАР был представлен на Всероссийской выставке НТТМ-2008, проходившей 25.06-28.06.2008 года в г.Москве и удостоен Диплома.
Формула изобретения
1. Комбинированная антенная решетка, содержащая расположенный в вертикальной плоскости и выполненный в виде плоского прямоугольного экрана рефлектор, четыре попарно соединенные между собой с образованием точек выхода антенные секции дециметрового диапазона волн, вибратор полосы расширения метрового диапазона волн с плечами, превышающими ширину рефлектора, подключенная к точкам питания решетки общая согласованная нагрузка, с которой согласованы антенные секции и вибратор полосы расширения, при этом последние расположены в плоскости, параллельной плоскости рефлектора, отличающаяся тем, что дополнительно введены четыре двухпроводные соединительные линии, три из которых вертикальные, а одна горизонтальная, а также четыре Т-трансформатора, каждая антенная секция представляет собой незамкнутую треугольную рамку, имеющую две одинаковые по длине боковые стороны, выполняющие роль вибраторов среднечастотного диапазона волн, и основание длиной, отличной от длины боковых сторон и необходимой для обеспечения работы последнего в качестве вибратора расширения полосы в высокочастотном диапазоне волн, причем попарно соединенные треугольные рамки образуют две двойные треугольные антенны, расположенные в одной плоскости одна над другой, а основание каждой треугольной рамки подключено через Т-трансформатор с помощью соответственно первой и второй вертикальных двухпроводных линий к точкам выхода соответствующих двойных треугольных антенн, а точки выхода последних соединены между собой с помощью третьей вертикальной двухпроводной соединительной линии, в центре которой расположены точки питания решетки, к которым подключен с помощью горизонтальной двухпроводной соединительной линии вибратор расширения полосы метрового диапазона волн, установленный за рефлектором на расстоянии, обеспечивающем оптимальную фазировку.
2. Комбинированная антенная решетка по п.1, отличающаяся тем, что длина основания каждой треугольной рамки меньше длины боковых сторон, при этом чем она меньше, тем выше принимаемая частота.
3. Комбинированная антенная решетка по п.1, отличающаяся тем, что рефлектор по всему периметру имеет боковые створки, расположенные под углом 120° к плоскости рефлектора.
4. Комбинированная антенная решетка по п.1, отличающаяся тем, что двойные треугольные антенны расположены от рефлектора на расстоянии, равном 0,18-0,28 ср., где ср. – средняя длина волны.
5. Комбинированная антенная решетка по п.1, отличающаяся тем, что расстояние установки вибратора расширения полосы метрового диапазона волн равно или меньше ср./4, где ср. – длина волны.
РИСУНКИ
|
|