|
|
(21), (22) Заявка: 2009105778/09, 19.02.2009
(24) Дата начала отсчета срока действия патента:
19.02.2009
(46) Опубликовано: 10.02.2010
(56) Список документов, цитированных в отчете о поиске:
RU 2234176 С2, 10.09.2004. RU 58840 U1, 27.11.2006. RU 2168879 С1, 10.06.2001. JP 2008103691 А, 01.05.2008. JP 2006351693 А, 28.12.2006. US 6304209 В1, 16.10.2001. JP 9275296 А, 21.10.1997. ЕР 0318873 А1, 07.06.1989. US 4973963 А, 27.11.1990.
Адрес для переписки:
119334, Москва, ул. Косыгина, 5, кв.35, М.Б. Щедрину
|
(72) Автор(ы):
Рябов Юрий Георгиевич (RU), Гуров Игорь Борисович (RU)
(73) Патентообладатель(и):
Закрытое акционерное общество “Специнжпроект” (RU)
|
(54) МНОГОСЛОЙНЫЙ ЭЛЕКТРОМАГНИТНЫЙ ЭКРАН
(57) Реферат:
Устройство относится к области экранирования от электромагнитного излучения и может быть применено для защиты производственных и жилых помещений от низкочастотных электромагнитных полей, индуцируемых электротехническим оборудованием. Повышение эффективности защиты от воздействия эллиптически поляризованного магнитного поля, индуцируемого трехфазным электрооборудованием, является техническим результатом изобретения. Размещенные снаружи экрана плоские экранирующие слои (1, 2) выполнены из листовой магнитомягкой изотропной стали с относительной начальной магнитной проницаемостью не менее 2×103, а размещенный между ними объемный экранирующий слой (3) выполнен в виде стальной прямоугольной решетки, ячейки которой образованы направляющими 4 и короткими перемычками 5, которые функционируют в качестве запредельных волноводов по отношению к основной гармонике частоты экранируемого поля. При экранировании полей промышленной частоты толщина листовой стали, из которой изготовлены плоские экранирующие слои, не менее 1 мм, диагональ окна решетки объемного слоя не более 300 мм, а глубина ячеек и толщина ребер решетки лежат в пределах 80÷300 мм и 40÷160 мм соответственно. Направляющие решетки объемного слоя ориентированы вдоль и навстречу преобладающей составляющей вектора геомагнитного поля. В случае наличия сварных швов 6 в плоских слоях 1 и 2, они должны быть параллельны между собой и перпендикулярны направляющим 4 решетки объемного слоя 3. 9 з.п.ф-лы, 1 ил.
Изобретение относится к области экранирования от электромагнитного излучения и может быть применено, в частности, для защиты от низкочастотных электромагнитных полей, индуцируемых электротехническим оборудованием.
Уровень техники
Известны многослойные электромагнитные экраны, в которых слои из металлического листа, толщина которого меньше глубины проникновения электромагнитной волны, чередуются со слоями из диэлектрика, экраны, в которых между тонкими металлическими слоями размещен ферромагнитный слой, поглощающий электромагнитную волну, а также экраны, в которых один из слоев выполнен в виде металлической сетки, имеющей заданные размеры и омическое сопротивление [RU 2168879, RU 58840 U1, RU 2277729].
Недостаток известных многослойных экранов состоит в неэффективности защиты от воздействия низкочастотных электромагнитных полей, индуцируемых электротехническим оборудованием, и особенно от эллиптически поляризованных магнитных полей, индуцируемых, например, трехфазным электрооборудованием.
Раскрытие изобретения
Задача, решаемая изобретением, – повышение эффективности защиты производственных и жилых помещений от воздействия магнитных полей и особенно от эллиптически поляризованного магнитного поля, индуцируемого трехфазным электрооборудованием.
Предметом изобретения является многослойный электромагнитный экран, содержащий два размещенных снаружи плоских экранирующих слоя, каждый из которых выполнен из листовой магнитомягкой изотропной стали с относительной начальной магнитной проницаемостью не менее 2×103, и размещенный между ними, по меньшей мере, один объемный экранирующий слой в виде стальной прямоугольной решетки, выполненной с возможностью функционирования ее ячеек в качестве запредельных волноводов по отношению к основной гармонике частоты экранируемого поля.
Эта совокупность признаков обеспечивает решение поставленной задачи и получение указанного технического результата.
Изобретение имеет развития, характеризующие частные случаи ее выполнения и состоящие в том, что:
– толщина листовой стали, из которой изготовлены плоские экранирующие слои, не менее 1 мм, диагональ окна решетки объемного слоя не более 300 мм, а глубина ячеек и толщина ребер решетки лежат в пределах 80÷300 мм и 40÷160 мм соответственно;
– решетка объемного слоя образована направляющими и перпендикулярными им перемычками;
– направляющие и перемычки выполнены из труб прямоугольного сечения;
– каждый из плоских экранирующих слоев выполнен из листов, сваренных внахлест, при этом продольные сварные швы плоских экранирующих слоев параллельны между собой и перпендикулярны направляющим решетки объемного слоя;
– направляющие продольно намагничены в одну сторону, а перемычки – в чередующихся направлениях;
– направляющие решетки объемного слоя ориентированы вектором намагниченности вдоль и навстречу преобладающей составляющей вектора геомагнитного поля;
– содержит второй объемный экранирующий слой, отделенный от первого дополнительно введенным плоским экранирующим слоем;
– содержит, по меньшей мере, один диэлектрический слой, размещенный между объемным и плоским экранирующими слоями;
– толщина диэлектрического слоя лежит в пределах 0,5÷4,0 мм.
Развития изобретения уточняют конструкцию экрана для частных случаев применения и раскрывают возможности дальнейшего повышения эффективности экранирования.
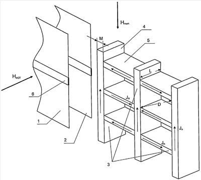
На чертеже представлена трехслойная конструкция экрана (для наглядности в разобранном виде).
Осуществление изобретения с учетом его развития
На чертеже показаны плоские экранирующие слои 1 и 2, размещенные снаружи экрана, и объемный экранирующий слой 3, размещенный между слоями 1 и 2. Слои 1 и 2 выполнены из листовой магнитомягкой изотропной стали с высокой начальной магнитной проницаемостью (не менее 2×103). Слой 3 выполнен в виде стальной прямоугольной решетки, ячейки которой образованы направляющими 4 и короткими перемычками 5. Решетка слоя 3 выполнена с возможностью функционирования ее ячеек в качестве запредельных волноводов по отношению к основной гармонике частоты экранируемого поля. В частности, для экранирования магнитного поля промышленной частоты (50 или 60 Гц) толщина листовой стали, из которой изготовлены плоские экранирующие слои, должна быть не менее 1 мм, диагональ D окна ячейки должна быть не более 300 мм, а глубина ячеек L и толщина М ребер должны лежать в пределах 80÷300 мм и 40÷160 мм, соответственно.
На чертеже показаны направления векторов JH и JП намагниченности направляющих и перемычек решетки слоя 3 и преобладающей составляющей НГМП вектора геомагнитного поля, а также вектора НИСТ поля источника излучения.
Направляющие 4 и перемычки 5 решетки объемного слоя выполнены из намагниченных отрезков труб прямоугольного сечения: направляющие 4 продольно намагничены в одну сторону, а перемычки 5 – в чередующихся направлениях. При этом направляющие 4 ориентированы вектором намагниченности JH вдоль и навстречу преобладающей составляющей НГМП вектора геомагнитного поля.
В тех случаях, когда плоские экранирующие слои 1 и 2 выполнены из листов, сваренных внахлест, продольные (т.е. направленные вдоль длинной стороны стального листа) сварные швы 6 слоев 1 и 2 должны быть параллельны между собой и перпендикулярны направляющим 4 решетки объемного слоя 3.
Экран может содержать второй объемный экранирующий слой, отделенный от первого дополнительно введенным плоским слоем. Между соседними объемным и плоским экранирующими слоями может быть размещен диэлектрический слой, толщина которого лежит в пределах 0,5÷4,0 мм.
Предлагаемый экран используется, как правило, для защиты производственных или жилых помещений от магнитных полей, индуцируемых близко размещенным электрооборудованием, например оборудованием трансформаторной подстанции, расположенным в том же здании.
Экран сооружается и функционирует следующим образом.
Экран может размещаться на полу, потолке или на стенах в помещении источников опасного поля, а также на полу и стенах в прилежащих защищаемых помещениях. Для изготовления плоских слоев экрана используются листы магнитомягкой изотропной стали, например, стальной лист по ТУ 14-1-4592-89 (начальная относительная магнитная проницаемость 2×103), а для изготовления направляющих и перемычек объемных слоев – отрезки труб прямоугольного сечения, например, по ГОСТ 13663-86 (при этом толщина ребер решетки составит 40 мм, а глубина ячеек 80 мм). Размер окна ячейки может быть выбран в зависимости от величины необходимого расчетного значения затухания, например, 200×200 мм (диагональ 282 мм).
Трубы, из отрезков которых изготавливают направляющие 4 и перемычки 5, имеют продольную производственную намагниченность. Требуемые направления намагниченности направляющих 4 и перемычек 5 обеспечиваются путем ориентирования соответствующих отрезков продольно намагниченных труб. Для определения направления намагниченности отрезков трубы может использоваться компас или магнитометр. Направление преобладающей составляющей геомагнитного поля может быть определено по географическим координатам помещения и его расположению по отношению к сторонам света.
Магнитные поля, создаваемые электрооборудованием переменного тока промышленной частоты, представляющие биологическую опасность для человека и влияющие на электромагнитную совместимость технических средств, в общем случае являются эллиптически поляризованными, т.е. имеют линейную составляющую (магнитное поле, индуцируемое переменным током в фиксированном направлении) и вращающуюся составляющую, индуцируемую двумя и более смещенными в пространстве и сдвинутыми по фазе переменными токами.
Необходимая степень подавления линейной составляющей магнитного поля, вектор которой располагается в ограниченном диапазоне углов по отношению к плоскости экрана, во многих практических случаях может быть достигнута за счет двух плоских слоев 1, 2 и в отсутствие объемного слоя. Эффективное подавление вращающегося вектора магнитного поля, направление которого по отношению к стальной поверхности экрана непрерывно меняется во времени, представляет собой более сложную задачу.
Размещенный между плоскими экранирующими слоями 1 и 2 объемный экранирующий слой 3 в виде стальной прямоугольной решетки, выполненной с возможностью функционирования ее ячеек в качестве запредельных волноводов по отношению к основной гармонике частоты экранируемого поля, подавляет непрерывно вращающийся вектор магнитного поля при тех углах падения на поверхность экрана, когда пара плоских слоев 1 и 2 перестает работать.
В результате предлагаемый экран обеспечивает высокую эффективность экранирования как линейной, так и вращающейся составляющей эллиптически поляризованного магнитного поля промышленной частоты.
Развития изобретения уточняют конструктивное выполнение экрана при его использовании для защиты от поля промышленной частоты, а также предпочтительную ориентацию экрана по отношению к естественному геомагнитному полю, позволяющую избежать магнитного насыщения стали, что способствует эффективности экранирования вращающейся и линейной составляющих поля.
Для ослабления намагничивающего действия естественного геомагнитного поля направляющие элементы решетки объемного слоя ориентированы вектором намагниченности (возникшим за счет начальной намагниченности труб, из которых изготавливается слой 3) вдоль и навстречу преобладающей составляющей вектора геомагнитного поля. При этом, если плоские экранирующие слои выполняются, например, из двух рулонных листов стали, сваренных продольными сторонами внахлест, то сварные швы рулонных листов плоских экранирующих слоев располагают перпендикулярно направляющим и, следовательно, перпендикулярно преобладающей составляющей вектора геомагнитного поля. Сварные швы увеличивают сопротивление магнитной цепи для геомагнитного поля и, тем самым, препятствуют магнитному насыщению стального листа в плоских слоях экрана.
Для дальнейшего повышения эффективности экранирования в устройство могут быть введены дополнительные объемный и плоский слои. Для уменьшения гальванической связи между соседними (объемным и плоским) экранирующими слоями они могут быть разделены слоем диэлектрика.
Формула изобретения
1. Многослойный электромагнитный экран, содержащий два размещенных снаружи плоских экранирующих слоя, каждый из которых выполнен из листовой магнитомягкой изотропной стали с относительной начальной магнитной проницаемостью не менее 2×103, и размещенный между ними, по меньшей мере, один объемный экранирующий слой в виде стальной прямоугольной решетки, выполненной с возможностью функционирования ее ячеек в качестве запредельных волноводов по отношению к основной гармонике частоты экранируемого поля.
2. Экран по п.1, отличающийся тем, что толщина листовой стали, из которой изготовлены плоские экранирующие слои, не менее 1 мм, диагональ окна решетки объемного слоя не более 300 мм, а глубина ячеек и толщина ребер решетки объемного слоя лежат в пределах 80÷300 и 40÷160 мм соответственно.
3. Экран по п.1, отличающийся тем, что решетка объемного слоя образована направляющими и перпендикулярными им перемычками.
4. Экран по п.3, отличающийся тем, что направляющие и перемычки выполнены из труб прямоугольного сечения.
5. Экран по п.3, отличающийся тем, что каждый из плоских экранирующих слоев выполнен из листов, сваренных внахлест, при этом продольные сварные швы плоских экранирующих слоев параллельны между собой и перпендикулярны направляющим решетки объемного слоя.
6. Экран по п.3, отличающийся тем, что направляющие продольно намагничены в одну сторону, а перемычки – в чередующихся направлениях.
7. Экран по п.6, отличающийся тем, что направляющие решетки объемного слоя ориентированы вектором намагниченности вдоль и навстречу преобладающей составляющей вектора геомагнитного поля.
8. Экран по п.1, отличающийся тем, что содержит второй объемный экранирующий слой, отделенный от первого дополнительно введенным плоским экранирующим слоем.
9. Экран по п.1, отличающийся тем, что содержит, по меньшей мере, один диэлектрический слой, размещенный между объемным и плоским экранирующими слоями.
10. Экран по п.8, отличающийся тем, что толщина диэлектрического слоя лежит в пределах 0,5÷4,0 мм.
РИСУНКИ
|
|