|
|
(21), (22) Заявка: 2008103271/09, 12.04.2006
(24) Дата начала отсчета срока действия патента:
12.04.2006
(30) Конвенционный приоритет:
29.06.2005 DE 102005030384.6
(43) Дата публикации заявки: 10.08.2009
(46) Опубликовано: 10.02.2010
(56) Список документов, цитированных в отчете о поиске:
RU 2253170 С2, 27.05.2005. RU 2233017 C1, 20.07.2004. RU 2178604 С2, 20.01.2002. RU 2000121897 А, 20.08.2002. KR 20050013705 А, 05.02.2005. WO 2004/066444 А, 05.08.2004. DE 10124766 C1, 15.05.2003. WO 03077355 А2, 18.09.2003. WO 2004114464 А1, 29.12.2004.
(85) Дата перевода заявки PCT на национальную фазу:
29.01.2008
(86) Заявка PCT:
EP 2006/061555 20060412
(87) Публикация PCT:
WO 2007/000360 20070104
Адрес для переписки:
129090, Москва, ул.Б.Спасская, 25, стр.3, ООО “Юридическая фирма Городисский и Партнеры”, пат.пов. А.В.Мицу, рег. 364
|
(72) Автор(ы):
ГАПСКИ Дитмар (DE), ХЕРРМАНН Штефан (DE)
(73) Патентообладатель(и):
СИМЕНС ХОУМ ЭНД ОФФИС КОММЬЮНИКЕЙШН ДИВАЙСЕС ГМБХ УНД КО. КГ (DE)
|
(54) АНТЕННОЕ УСТРОЙСТВО ДЛЯ РАДИОТЕЛЕФОНОВ
(57) Реферат:
Изобретение относится к антенному устройству для радиотелефонов, которое содержит дополнительный антенный конструкционный элемент, который выводится из корпуса радиотелефона. Предложенное антенное устройство усовершенствовано таким образом, что оно может изготавливаться более экономичным и простым способом и имеет высокий КПД и несмотря на это обеспечивает снижение технической нагрузки для пользователя радиотелефона и мешающего влияния на телефон со стороны пользователя. Это достигается за счет того, что в антенном устройстве (2) носитель (1) проводящих дорожек вырезан вокруг используемой в качестве антенны проводящей дорожки (3) вплоть до перемычки (6), используемой для соединения используемой в качестве антенны проводящей дорожки (3) с остальными проводящими дорожками носителя (1) проводящих дорожек, при этом вырезанная область носителя (1) проводящих дорожек, несущая используемую в качестве антенны проводящую дорожку (3), по меньшей мере, в смонтированном состоянии носителя (1) проводящих дорожек в радиотелефоне с помощью технических средств (7) отклоняется от плоскости остальных областей носителя (1) проводящих дорожек. 2 з.п. ф-лы, 4 ил.
Изобретение относится к антенному устройству для радиотелефонов согласно родовому понятию пункта 1 формулы изобретения.
Радиотелефоны имеют антенну, с помощью которой может устанавливаться беспроводное соединение с соответствующими приемопередающими станциями.
В принципе имеется три возможности реализации антенн в радиотелефоне.
Во-первых, можно применять дополнительный внешний конструктивный элемент в виде антенны.
Такая реализация известна, например, из документа DE 696 22 451 Т2.
Антенное устройство, реализованное согласно этому документу, содержит дополнительный антенный конструктивный элемент, который выводится из корпуса радиотелефона.
Такое антенное устройство представляет с точки зрения антенной техники довольно оптимальное решение. Однако из соображений, связанных с конструированием, это решение, по меньшей мере, на рынке товаров широкого потребления практически больше не рассматривается.
Во-вторых, можно применять дополнительный внутренний конструктивный элемент в качестве антенны.
Подобная реализация известна, например, из документа DE 102 59 839 А1.
Антенное устройство, реализованное согласно этому документу, включает в себя дополнительный антенный конструктивный элемент, который, например, может представлять собой листовой элемент или иметь геометрию из проволоки. При этом данный дополнительный антенный конструктивный элемент имеет области, которые расположены вне плоскости применяемого носителя для антенного устройства, а также для других электротехнических средств. Тем самым по отношению к конфигурации антенного устройства на высоте плоскости упомянутого носителя реализуется увеличенное расстояние от головы пользователя радиотелефона до антенного устройства этого телефона. Таким образом, снижается нагрузка на голову пользователя из-за воздействия электромагнитного излучения телефона. И наоборот, снижается мешающее влияние пользователя на радиотелефон или эту антенну.
На виде сбоку, показанном в последнем упомянутом документе, можно хорошо различить упомянутое увеличенное расстояние, относящееся к антенне и носителю проводящих дорожек.
Недостатком такого антенного устройства является то обстоятельство, что для антенны применяется дополнительный конструктивный элемент, который является дорогостоящим в изготовлении и в монтаже.
В-третьих, можно использовать антенну в виде проводящей пластину или антенну из проводящей дорожки.
Такая реализация известна, например, из документа DE 201 12 076 U1.
Подобное антенное устройство имеет, по существу, только проводящую дорожку в качестве антенны, которая размещена непосредственно на носителе проводящих дорожек.
Существенный недостаток этого антенного устройства заключается в том, что расстояние от используемой в качестве антенны проводящей дорожки до внешней стенки соответствующего радиотелефона и, тем самым, до головы пользователя этого радиотелефона является весьма малым. Это уменьшенное расстояние до головы пользователя обуславливает и в этом случае наряду с повышенной нагрузкой для головы пользователя радиотелефона действием электромагнитного излучения телефона также нежелательное искажение диаграммы излучения антенного устройства телефона. Из-за этого вновь вызываются потери излучения за счет поглощения, которые спадают на незначительной дальности от телефона. Их компенсация должна была бы означать повышение излучаемой мощности, что вновь влечет за собой повышенное излучение высокочастотной мощности, воздействующее на голову пользователя.
Из документа EP 0 986 106 А1 известна шлейфовая антенна, которая со своим шлейфовым элементом расположена, за счет растяжки материала подводящих элементов, на некотором расстоянии от плоскости несущего их материала носителя.
Из документа WO 2004/066444 А1 известна антенная конструкция, которая образована с помощью гибкой, подобной пленке, подложки. На гибкой подложке размещены антенные элементы наряду с электронными элементами вместе с электрическими подводящими проводниками. Гибкая подложка нанесена на верхней стороне схемной платы и накрывает всю ее верхнюю поверхность. При этом она выполнена таким образом, что возвышается над верхней поверхностью схемной платы. Выступающая над схемной платой часть гибкой подложки, на которой размещены антенные элементы, обратно изогнута по дуге над поверхностью схемной платы и образует на расстоянии от верхней поверхности схемной платы вторую поверхность. Расстояние между этой второй поверхностью и поверхностью схемной платы фиксируется посредством размещенной между ними проставки.
В документе DE 101 24 766 С1 описана антенна, подобная представленной в документе WO 2004/066444 А1.
Задачей настоящего изобретения является исходя из антенного устройства вышеописанного типа технически усовершенствовать антенное устройство таким образом, чтобы оно могло изготавливаться более просто, имело высокий КПД и несмотря на это обеспечивало снижение технической нагрузки для пользователя радиотелефона и мешающего влияния на телефон со стороны пользователя.
Эта задача в соответствии с изобретением решается антенным устройством радиотелефона, которое имеет признаки отличительной части пункта 1 формулы изобретения.
В соответствии с этим носитель проводящих дорожек, на котором нанесена проводящая дорожка, используемая в качестве антенны, вырезан вокруг используемой в качестве антенны проводящей дорожки вплоть до перемычки, используемой для соединения используемой в качестве антенны проводящей дорожки с остальными проводящими дорожками носителя проводящих дорожек. Кроме того, вырезанная область носителя проводящих дорожек, несущая используемую в качестве антенны проводящую дорожку, по меньшей мере, в смонтированном состоянии носителя проводящих дорожек в радиотелефоне с помощью технических средств отклоняется от плоскости остальных областей носителя проводящих дорожек.
Подобное антенное устройство для радиотелефона объединяет предпочтительный фактор простоты изготовления антенн на проводящих дорожках с преимуществами увеличенного расстояния от используемой в качестве антенны проводящей дорожки до головы пользователя радиотелефона. За счет увеличенного расстояния снижается вызываемое при работе антенны техническое воздействие на пользователя. С другой стороны, также снижается мешающее воздействие пользователя на антенну, так что за счет этого вновь повышается КПД антенны.
Изготовление антенны на проводящей пластине в общем и, в частности, изготовление соответствующей изобретению антенны на проводящей пластине является простым, потому что изготовление антенны на поводящей пластине может интегрироваться в процесс изготовления проводящей пластины. Не требуются дополнительные детали, которые связаны с дополнительными затратами в процессе монтажа. Тем самым может обеспечиваться экономия на дополнительном материале и экономия затрат на его монтаж, для чего в соответствующем случае может быть необходимой особая оснастка. За счет экономии, например, на специальной оснастке также может экономиться время цикла при изготовлении.
Кроме того, в радиотелефоне предусмотрен опорный элемент, посредством которого в смонтированном состоянии носителя проводящих дорожек в радиотелефоне вырезанная область носителя проводящих дорожек, несущая используемую в качестве антенны проводящую дорожку, поддерживается посредством реверсивно пружинящего восстанавливающего усилия отклоненной от плоскости остальной области носителя проводящих дорожек.
Предпочтительные варианты осуществления изобретения представлены в зависимых пунктах формулы изобретения.
Преимущество изобретения заключается в том, что не требуется отдельный рабочий шаг для того, чтобы перед монтажом носителя проводящих дорожек в радиотелефоне область носителя проводящих дорожек, несущую проводящую дорожку, используемую в качестве антенны, отклонить из плоскости остальных областей носителя проводящих дорожек. Это автоматически осуществляется посредством соответствующих и соответственно размещенных опорных элементов в радиотелефоне при монтаже носителя проводящих дорожек в радиотелефон. За счет того что отклонение области носителя проводящих дорожек, на которой находится проводящая дорожка, используемая в качестве антенны, происходит за счет реверсивно пружинящего возвращающего усилия, предотвращается образование трещин или разрывов в проводящей дорожке, используемой в качестве антенны.
Другим преимуществом является то, что используемая в качестве антенны проводящая дорожка не должна проходить только прямо. Она может также иметь криволинейную форму или комбинацию из прямолинейности и криволинейной формы. Тем самым минимальные имеющиеся в распоряжении пространства, которые выполнены проходящими не только прямолинейно, могут использоваться для размещения антенны.
Особенно предпочтительным является, если направление отклонения области, несущей проводящую дорожку, используемую в качестве антенны, от плоскости остальных областей носителя проводящих дорожек выбрано таким образом, что отклонение осуществляется в таком направлении, которое направлено в сторону от пользователя радиотелефона. Как раз за счет этого можно предпочтительным образом, как описано выше, снизить влияния антенны на пользователя и влияния пользователя на антенну.
Здесь для полноты описания следует еще упомянуть о том, что в случае радиотелефона речь может идти о бесшнуровом телефоне или о мобильном телефоне. Однако и другие типы мобильных радиоустройств, которым требуются радиоантенны, могут быть включены в настоящее изобретение.
Далее пример выполнения изобретения более подробно поясняется со ссылками на чертежи, на которых представлено следующее:
фиг. 1 – носитель проводящих дорожек с антенным устройством согласно изобретению на стадии перед монтажом носителя проводящих дорожек в радиотелефон,
фиг. 2 – носитель проводящих дорожек согласно фиг. 1 в трехмерном представлении,
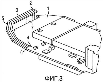
фиг. 3 – носитель проводящих дорожек с антенным устройством согласно изобретению на стадии после монтажа носителя проводящих дорожек в радиотелефоне в трехмерном представлении, и
фиг. 4 – носитель проводящих дорожек согласно фиг. 3 под вторым углом зрения.
Как показано на фиг. 1 и 2, носитель 1 проводящих дорожек для радиотелефона (на чертежах более детально не показан) содержит антенное устройство 2, которое размещено на краю носителя 1 проводящих дорожек. К антенному устройству 2 относится проводящая дорожка 3, которая образует собственно антенну. Носитель 1 проводящих дорожек частично отфрезерован вокруг проводящей дрожки 3, действующей в качестве антенны, посредством сквозной прорези 4. Таким способом получается гибкая часть 5, на которой размещена используемая в качестве антенны проводящая дорожка 3. Эта часть при соответствующем выборе материала для носителя 1 проводящих дорожек может в достаточной степени пружинить и, тем самым, отжиматься в любое положение. Сквозная прорезь 4 выбрана таким образом, что по отношению к носителю 1 проводящих дорожек остается только перемычка 6, которая, в том числе, используется для соединения используемой в качестве антенны проводящей дорожки 3 с остальными проводящими дорожками носителя 1 проводящих дорожек.
Как показано на фиг. 3 и 4, в смонтированном состоянии носителя 1 проводящих дорожек в радиотелефоне (не показан более подробно на чертежах) пружинящая часть 5 в корпусе (не показан более детально на чертежах) радиотелефона приподнимается посредством опорного элемента 7, например соответственно сформированного и размещенного ребра, в качестве примера технического средства, выполненного для такой функции. Тем самым гибкая часть 5 по отношению к плоскости других областей носителя 1 проводящих дорожек отклоняется от его плоскости, противодействуя реверсивно пружинящему восстанавливающему усилию. Направление отклонения гибкой части 5 выбирается таким образом, что проводящая дорожка 4, служащая в качестве антенны, отводится в сторону от пользователя радиотелефона.
Как показано на фиг. 1-4, гибкая часть 5, на которой находится проводящая дорожка 3, используемая в качестве антенны, выполнена изогнутой. Это соответствует в данных примерах выполнения форме накладки корпуса в этом месте радиотелефона, в который должен встраиваться показанный носитель 1 проводящих дорожек. Другие формы выполнения этой гибкой части 5 также возможны.
Формула изобретения
1. Антенное устройство для радиотелефона, содержащее носитель проводящих дорожек, на котором на краю выполнена проводящая дорожка, используемая в качестве антенны, отличающееся тем, что носитель (1) проводящих дорожек вырезан (4) вокруг используемой в качестве антенны проводящей дорожки (3) вплоть до перемычки (6), используемой для соединения проводящей дорожки (3), используемой в качестве антенны, с остальными проводящими дорожками носителя (1) проводящих дорожек, вырезанная область (5) носителя (1) проводящих дорожек, несущая используемую в качестве антенны проводящую дорожку (3), по меньшей мере, в смонтированном состоянии носителя (1) проводящих дорожек в радиотелефоне с помощью технических средств (7) отклоняется от плоскости остальных областей носителя (1) проводящих дорожек, и в радиотелефоне предусмотрен опорный элемент (7), посредством которого в смонтированном состоянии носителя (1) проводящих дорожек в радиотелефоне вырезанная область (5) носителя проводящих дорожек, несущая используемую в качестве антенны проводящую дорожку (3), поддерживается посредством реверсивно пружинящего восстанавливающего усилия отжатой от плоскости остальных областей носителя (1) проводящих дорожек.
2. Антенное устройство по п.1, отличающееся тем, что используемая в качестве антенны проводящая дорожка (3) выполнена проходящей прямо и/или с изгибом.
3. Антенное устройство по п.1 или 2, отличающееся тем, что в качестве направления отклонения области (5), несущей проводящую дорожку (3), используемую в качестве антенны, от плоскости остальных областей носителя (1) проводящих дорожек выбрано такое направление, которое направлено в сторону от пользователя радиотелефона.
РИСУНКИ
|
|