|
|
(21), (22) Заявка: 2008109057/28, 21.07.2006
(24) Дата начала отсчета срока действия патента:
21.07.2006
(30) Конвенционный приоритет:
12.08.2005 US 60/707,814 22.08.2005 US 60/710,068 12.12.2005 US 11/301,136
(43) Дата публикации заявки: 20.09.2009
(46) Опубликовано: 10.02.2010
(56) Список документов, цитированных в отчете о поиске:
US 4297607 А, 27.10.1981. US 2003101804 A1, 05.06.2003. WO 2005010864 A1, 03.02.2005. US 5339292 A, 16.08.1994. SU 287337 A1, 19.11.1970. SU 1772724 A1, 30.10.1992.
(85) Дата перевода заявки PCT на национальную фазу:
12.03.2008
(86) Заявка PCT:
US 2006/028399 20060721
(87) Публикация PCT:
WO 2007/021450 20070222
Адрес для переписки:
127055, Москва, а/я 11, пат.пов. Н.К.Попеленскому, рег. 31
|
(72) Автор(ы):
АЛЛЕН Чарльз Р. (US), СТРАУБ Генри К. мл. (US)
(73) Патентообладатель(и):
Дэниел Мэжэмэнт Энд Кэнтроул, Инк. (US)
|
(54) УЛЬТРАЗВУКОВОЙ РАСХОДОМЕР И ПРЕОБРАЗОВАТЕЛЬ ДЛЯ НЕГО
(57) Реферат:
Использование: для точного измерения количества транспортируемой жидкости или газа. Сущность: заключается в том, что преобразователь включает корпус, имеющий внутренний конец, наружный конец и внутреннюю полость, закрепленный на измерительной муфте ультразвукового расходомера, пьезоэлектрический элемент, установленный во внутренней полости с возможностью введения и извлечения из названной полости, и акустический согласующий слой, расположенный таким образом, что он изолирует наружный конец от потока текучей среды и имеет акустический импеданс, промежуточный между импедансом пьезоэлектрического элемента и импедансом текучей среды в ультразвуковом расходомере. Технический результат: повышение точности измерений количества транспортируемой жидкости или газа, а также сокращение времени технического обслуживания ультразвукового преобразователя. 2 н. и 14 з.п. ф-лы, 11 ил.
Область техники, к которой относится изобретение
Изобретение относится к измерительным приборам и более конкретно к ультразвуковым расходомерам.
Уровень техники
Извлеченные из недр жидкие или газообразные углеводороды (например, сырая нефть, природный газ) транспортируются по трубопроводам. Желательно иметь средства для точного измерения количества транспортируемой жидкости или газа; особенно это важно, если это количество должно точно учитываться при переходе из собственности одного владельца в собственность другого. Но точность измерений желательна и тогда, когда не требуется точный товарный учет.
Ультразвуковые расходомеры могут применяться в случаях, когда при транспортировке требуется точный товарный учет. При работе ультразвукового расходомера ультразвуковые сигналы излучаются в направлении, совпадающем с направлением потока жидкости или газа, и в противоположном направлении, и на основе различных характеристик ультразвуковых сигналов могут быть рассчитаны количественные характеристики потока. Точность измерений может быть повышена с помощью различных способов, улучшающих характеристики ультразвуковых сигналов, возбуждаемых в жидкости или газе. Кроме того, поскольку ультразвуковые расходомеры могут устанавливаться в суровых климатических условиях, желательными оказываются любые способы, позволяющие сократить время технического обслуживания, и если возможно, повысить его эффективность.
Раскрытие изобретения
Проблемы, отмеченные выше, связаны, по крайней мере частично, с корпусом пьезоэлектрического преобразователя ультразвукового расходомера. По крайней мере в некоторых из приведенных в качестве иллюстрации вариантах корпус преобразователя включает корпус, прикрепляемый кизмерительной муфте ультразвукового расходомера; корпус имеет внутренний конец, наружный конец и внутреннюю полость, а также содержит акустический согласующий слой, который изолирует наружный конец от внутренней полости (где в корпусе, в границах внутренней полости, устанавливается пьезоэлектрический элемент, который непосредственно примыкает к акустическому согласующему слою). Акустический согласующий слой имеет акустический импеданс, промежуточный между акустическим импедансом пьезоэлектрического элемента и акустическим импедансом текучей среды в ультразвуковом расходомере.
Краткое описание чертежей
Подробное описание различных вариантов изобретения содержит ссылки на следующие сопровождающие чертежи:
На фиг.1 представлен вид сбоку в разрезе ультразвукового расходомера;
На фиг.2 представлено сечение измерительной муфты, на котором показаны хорды М, N, О и Р;
На фиг.3 представлен вид сверху измерительной муфты, имеющей пары преобразователей, расположенных в корпусах;
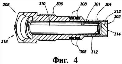
На фиг.4 показаны компоненты собираемого устройства в соответствии с вариантами изобретения;
На фиг.5 представлен вид в перспективе продольного сечения корпуса преобразователя в соответствии с вариантами изобретения;
На фиг.6 представлен вид сбоку в разрезе корпуса преобразователя в соответствии с вариантами изобретения;
На фиг.7 показан интегрированный блок преобразователя в соответствии с вариантами изобретения;
На фиг.8 показан вид в перспективе продольного сечения интегрированного блока преобразователя в соответствии с вариантами изобретения;
На фиг.9 представлен вид в перспективе внешней (передней) поверхности пьезоэлектрического элемента в соответствии с вариантами изобретения;
На фиг.10 представлено изображение в перспективе внутренней поверхности пьезоэлектрического элемента в соответствии с вариантами изобретения и
На фиг.11 представлена блок-схема, демонстрирующая способы замены блока преобразователя, в соответствии с вариантами изобретения.
Система обозначений и терминология
Некоторые термины используются всюду далее в описании и формуле изобретения для ссылок на конкретные компоненты системы. В данном документе компоненты, отличные друг от друга по наименованию, но не по функциям, различаться не будут.
В следующем далее обсуждении и в формуле изобретения термины “включает”, “содержит”, “имеет” и т.п. используются не в ограничительном смысле, и таким образом, должны пониматься как означающие “включая” (но перечень не является ограничительным) “. Термины “соединять”, “присоединять”, “подключать”, “связывать” и им подобные означают как непосредственное, так и опосредованное соединение, подключение или связь. Таким образом, если говорится, что первое устройство соединено со вторым устройством, то соединение может быть как непосредственным, так и опосредованным соединениями через другие устройства и соединители.
Далее, термин “устанавливать” будет служить для обозначения как непосредственного, так и опосредованного соединения. Таким образом, если говорится, что первое устройство установлено на втором устройстве, то соединение установленного устройства может быть как непосредственным, так и опосредованным соединениями через другие устройства и соединители. Под текучей средой подразумеваются, например, сырая нефть, легкие нефтепродукты или газ (например, метан).
Осуществление изобретения
На фиг.1 представлен вид сбоку в разрезе ультразвукового расходомера 101 в соответствии с вариантами изобретения. Измерительная муфта 100, которая может быть установлена между секциями трубопровода, играет роль корпуса расходомера 101. Измерительная муфта 100 имеет внутреннее пространство, являющееся каналом, по которому протекает измеряемый поток текучей среды. Измерительная муфта имеет предопределенные размеры, которыми определяется геометрия области, в которой проводятся измерения. Текучая среда протекает в направлении 150, и ее скорость описывается профилем 152 скоростей. Показанные на чертеже векторы скорости 153-158 иллюстрирует тот факт, что скорость потока, проходящего через измерительную муфту 100, увеличивается при приближении к оси муфты.
Пара преобразователей 120 и 130 размещается на боковой поверхности измерительной муфты 100. Преобразователи 120 и 130 оснащены устройствами входа/выхода 125 и 135 преобразователей соответственно. Положение преобразователей 120 и 130 может быть определено углом , первым расстоянием L, равным расстоянию между преобразователями 120 и 130, вторым расстоянием X, представляющим собой расстояние между точками 140 и 145, измеренное вдоль оси, и третьим расстоянием D, соответствующим диаметру трубы. В большинстве случаев расстояния D, Х и L точно определяются при изготовлении расходомера. Кроме того, такие преобразователи как 120 и 130 могут размещаться на определенном расстоянии от точек 140 и 145 соответственно, и это расстояние не зависит от размеров расходомера (то есть размеров измерительной муфты). Хотя преобразователи показаны как несколько заглубленные, в альтернативных вариантах они могут выступать над внутренней поверхностью муфты.
Отрезок 110, который называется хордой или лучом, соединяет два преобразователя 120 и 130 и направлен под некоторым углом к оси 105. Длина L хорды 110 равна расстоянию между передней стороной преобразователя 120 и передней стороной преобразователя 130. Точки 140 и 145 являются точками, где акустические сигналы, генерируемые преобразователями 120 и 130, переходят из потока текучей среды, проходящего через измерительную муфту 100, в кристалл датчика или, наоборот, переходят из кристалла в жидкость или газ.
Предпочтительно, чтобы преобразователи 120 и 130 представляли собой ультразвуковые приемопередатчики, то есть могли генерировать и принимать ультразвуковые сигналы. Термин “ультразвуковые сигналы” в данном контексте относится к акустическим сигналам, частота которых в некоторых вариантах превышает примерно 20 килогерц. Для генерации ультразвуковых сигналов осуществляется воздействие электрического сигнала на пьезоэлектрический элемент, который отвечает на это воздействие вибрацией. При вибрации пьезоэлектрического элемента генерируется ультразвуковой сигнал, который распространяется в диагональном направлении внутри измерительной муфты 100 через жидкость или газ, достигая соответствующего преобразователя, принадлежащего данной паре преобразователей. Сходным образом, ультразвуковой сигнал, достигший принимающего пьезоэлектрического элемента, заставляет его вибрировать, генерируя электрический сигнал, который детектируется, преобразуется в цифровую форму и анализируется электронной аппаратурой, связанной с расходомером. Сначала нижний (относительно потока) преобразователь 120 генерирует ультразвуковой сигнал, распространяющийся в направлении верхнего (относительно потока) преобразователя 130 и достигающий его. Через некоторое время верхний преобразователь 130 генерирует ответный ультразвуковой сигнал, распространяющийся в направлении нижнего преобразователя 120 и достигающий его. Таким образом, обмен распространяющимися вдоль хорды 110 ультразвуковыми сигналами 115 между преобразователями 120 и 130 можно сравнить с подачей мяча и его захватом в ловушку. При работе расходомера каждая пара преобразователей может повторять такую последовательность действий тысячи раз в минуту.
Время прохождения ультразвукового сигнала 115 между преобразователями 120 и 130 зависит, в частности, от направления распространения (вверх или вниз по потоку) ультразвукового сигнала 115. Время прохождения ультразвукового сигнала 115 по потоку (то есть в том же направлении, в котором движется поток) меньше, чем время прохождения сигнала в противоположном направлении (то есть в направлении против потока). Значения времени прохождения сигнала в направлениях по потоку и против потока можно использовать для определения средней по всей хорде 110 скорости потока, а также для определения скорости звука в потоке жидкости или газа. При заданных размерах сечения расходомера, через который проходит жидкость или газ, и при известной средней скорости может быть рассчитан объем текучей среды, прошедшей через расходомер 101 за определенное время.
В ультразвуковых расходомерах могут использоваться несколько пар преобразователей, соответствующих нескольким хордам (многолучевые расходомеры). На фиг.2 показано поперечное сечение измерительной муфты, имеющей диаметр D. В этих вариантах в измерительной муфте 100 имеются четыре хорды М, N, О и Р, расположенные в разных плоскостях потока. Каждая из хорд М-Р соответствует двум преобразователям, работающим поочередно в качестве передатчика и в качестве приемника. Показана также управляющая электронная аппаратура 160, которая получает и обрабатывает данные от пар преобразователей, соответствующих четырем хордам М-Р. На фиг.4 не показаны четыре пары преобразователей, соответствующие хордам М-Р.
Точное расположение четырех пар преобразователей можно легко понять, обратившись к фиг.3. В некоторых вариантах на измерительной муфте 100 устанавливаются четыре пары устройств входа/выхода преобразователей. Каждая пара устройств входа/выхода преобразователей соответствует одной хорде на фиг.2. Устройства входа/выхода первой пары 125, 135 преобразователей содержат соответствующие им преобразователи 120, 130 соответственно (фиг.1). Преобразователи установлены под острым углом к оси 105 измерительной муфты 100. Другая пара устройств входа/выхода преобразователей 165 и 175 (видны частично) и соответствующие им преобразователи установлены таким образом, что соединяющая их хорда расположена, в общих чертах, Х-образно по отношению к хорде, соединяющей устройства входа/выхода 125 и 135 преобразователей. Аналогично, устройства входа/выхода 185 и 195 преобразователей расположены параллельно устройствам входа/выхода 165 и 175 преобразователей, но в других плоскостях (то есть на разных радиальных расстояниях от оси трубопровода или измерительной муфты расходомера). На фиг.3 не показаны четвертая пара устройств входа/выхода преобразователей и соответствующие им преобразователи. Рассматривая совместно фиг.2 и 3, можно видеть, что пары преобразователей размещены таким образом, что две верхние пары преобразователей, соответствующие хордам М и N, расположены Х-образно, и две нижние пары преобразователей, соответствующих хордам О и Р, также расположены Х-образно. Может быть определена скорость потока жидкости для каждой из хорд М-Р, благодаря чему можно получить средние вдоль хорд скорости потока (далее – “скорости по хордам”); комбинируя значения скоростей по хордам, можно определить скорость потока, среднюю по всему сечению. Хотя показаны четыре пары преобразователей, расположенных Х-образно, число пар может быть большим или меньшим четырех. Кроме того, преобразователи могут находиться в одной и той же плоскости или образовывать другие конфигурации.
На фиг.4 показана сборка 200, которая подсоединяется к устройствам входа/выхода преобразователей и/или вставляется в них (например, в устройства входа/выхода 165, 175 на фиг.3). В частности, сборка 200 включает пучок электрических проводов или кабель 202 (далее – “провод”), имеющий соединительную муфту 204 на конце 205. Провод 202 посредством соединительной муфты 204 подсоединяется к устройству входа/выхода преобразователя (не показан на фиг.4) с помощью контргайки 206 и корпуса 208 преобразователя. Блок 210 преобразователя электрически подсоединяется к соединительной муфте 204 провода 202 (и, следовательно, к электронной аппаратуре расходомера) через отверстие в контргайке 206. Блок 210 преобразователя телескопически вкладывается в корпус 208 преобразователя и удерживается, по крайней мере частично, контргайкой 206. Когда блок 210 преобразователя и корпус 208 преобразователя соединены, пьезоэлектрический элемент 214 блока 210 преобразователя оказывается акустически связанным с акустическим согласующим слоем 212. Корпус 208 преобразователя и блок 210 преобразователя будут в свою очередь обсуждаться далее.
На фиг.5 представлен вид в перспективе продольного сечения корпуса 208 преобразователя в соответствии с вариантами изобретения. Корпус 208 имеет внутренний конец 318, наружный конец 302 и внутреннюю полость 310. Внутренний конец 314 по крайней мере частично закрыт акустическим согласующим слоем 212. Акустический согласующий слой 212 изолирует наружный конец 302, а внешняя сторона 314 согласующего слоя 212 соприкасается с потоком текучей среды через измерительную муфту или расходомер (фиг.1-3). Резьба 306 на наружной поверхности корпуса 208 преобразователя позволяет соединить корпус 208 с измерительной муфтой (фиг.1-3), а уплотнительные кольца 308 герметизируют соединение корпуса 208 с устройством входа/выхода преобразователя (фиг.1-3). В альтернативных вариантах корпус 208 преобразователя соединяется с устройством входа/выхода преобразователя измерительной муфты сваркой (фиг.1-3).
В некоторых вариантах корпус 208 преобразователя изготовляется из металла, например низкоуглеродистой нержавеющей стали. В альтернативных вариантах могут равным образом применяться любые материалы, способные выдерживать давление текучей среды внутри расходомера, например пластмассы высокой плотности или композиты. В некоторых вариантах толщина стенки корпуса 208 преобразователя выбирается такой, чтобы имело место небольшое сжатие в качестве реакции на перепад давления между текучей средой внутри расходомере и внутренней полостью 310. Сжатие стенок корпуса 208 преобразователя в таких вариантах способствует удержанию акустического согласующего слоя 212. Например, стенка, расположенная позади акустического согласующего слоя, слегка отклоняется внутрь, и уменьшение внутреннего диаметра усиливает опору акустического согласующего слоя, что позволяет ему оказывать сопротивление поперечному смещению, которое может быть вызвано давлением среды внутри расходомера. Кроме того, в процессе соединения акустического согласующего слоя 212 с корпусом 208 преобразователя корпус 208 испытывает некоторое растяжение (которое не превышает предельно допустимого для материала стенки), благодаря чему акустический согласующий слой 212 может быть установлен в требуемое положение.
Чтобы способствовать соединению акустического согласующего слоя 212 с корпусом 208 преобразователя, в некоторых вариантах акустический согласующий слой 212 имеет мениск 304, окружающий край слоя с внутренней стороны 312. На фиг.6 представлено продольное сечение корпуса 208 преобразователя, на котором, кроме того, показан мениск 304 в соответствии с этими вариантами. В частности, мениск 304 акустического согласующего слоя 212 увеличивает поверхность соприкосновения между стенкой корпуса преобразователя и акустическим согласующий слоем 212, но предпочтительно, чтобы у акустического согласующего слоя 212 оставалась поверхность достаточной площади с внутренней стороны 312, обеспечивающая акустический контакт между пьезоэлектрическим элементом (не показан на фиг.6) блока преобразователя и акустическим согласующим слоем. Таким образом, в блоке 210 преобразователя резервируется пространство, достаточное для размещения мениска 304, благодаря чему мениск 304 не будет вносить помехи во взаимодействие между пьезоэлектрическим элементом и согласующим слоем 212.
В качестве материала акустического согласующего слоя 212 может быть выбран один или несколько материалов из следующей группы: стекло, керамика, пластмассы, стеклопластик, пластик с наполнителем из углеродного волокна. Хотя в некоторых вариантах в качестве материала акустического согласующего слоя используется стопроцентно стеклянный материал, в альтернативных вариантах, в которых применяется пластмасса, содержание стекла может составлять 30% и меньше. Каков бы ни был материал акустического согласующего слоя 212, этот слой должен обеспечивать акустическую связь между пьезоэлектрическим элементом 214 и текучей средой внутри расходомера. В соответствии с вариантами изобретения акустический согласующий слой обладает акустическим импедансом, промежуточным между значениями импеданса для пьезоэлектрического элемента 214 и для текучей среды внутри расходомера. При акустическом импедансе согласующего слоя, промежуточном между его значением для пьезоэлектрического элемента 214 и для текучей среды внутри расходомера, качество ультразвукового сигнала улучшится (например, возрастет амплитуда и увеличится скорость нарастания сигнала). Стекло является предпочтительным материалом для акустического согласующего слоя, так как оно имеет акустический импеданс желательной величины, благодаря чему обеспечивается хорошая акустическая связь, и в то же время оно достаточно устойчиво к действию давления текучей среды внутри расходомера, благодаря чему пьезоэлектрический элемент будет оставаться изолированным от потока текучей среды внутри расходомера. Для сравнения отметим, что акустический импеданс согласующего слоя, состоящего, в основном, из нержавеющей стали, выше акустического импеданса пьезоэлектрического элемента, а поэтому не обеспечивает в достаточной мере акустическую связь. В некоторых вариантах акустический импеданс акустического согласующего слоя 212 лежит между примерно 1 и примерно 30 МПа·с/м или, альтернативно, между примерно 10 и примерно 15 МПа·с/м.
Когда блок 210 преобразователя введен в корпус 208 преобразователя, пьезоэлектрический элемент 214 (фиг.4) блока 210 преобразователя соприкасается с внутренней стороной 312 акустического согласующего слоя 212. Чтобы обеспечить хорошую акустическую связь, внутренняя сторона 312 и внешняя сторона 314 акустического согласующего слоя 212 выполняются, в целом, плоскими и параллельными друг другу. В некоторых вариантах мера отклонения от плоскости лежит в пределах до 25,4 микрон, а мера отклонения от параллельности – в пределах до 76,2 микрон. Кроме того, блок 210 преобразователя расположен так, что пьезоэлектрический элемент 214 оказывается центрированным по отношению к акустическому согласующему слою 212. Корпуса 208 преобразователей с акустическими согласующими слоями, описанные выше, могут быть изготовлены компанией Dash Connector Technology, г.Спокан (Spokane), штат Вашингтон и приобретены у нее.
Акустический согласующий слой 212 имеет толщину (измеряемую вдоль оси, общей для всех остальных частей корпуса 208 преобразователя), которая в некоторых вариантах является, в общем, равной нечетному кратному четверти (1/4, 3/4, 5/4, 7/4, ) длины акустических волн, генерируемых пьезоэлектрическим элементом 214. Рассмотрим, например, пьезоэлектрический элемент 214, работающий на частоте 1 МГц, и акустический согласующий слой 212, скорость звука в котором равна 5000 м/с. Длина акустических волн в таком слое равна, следовательно, примерно 5004 микрон. В таких вариантах толщина акустического согласующего слоя может составлять 1245, 3759, 6248, 8738 и т.д. микрон. Более тонкий акустический согласующий слой обеспечивает большую акустическую эффективность, но акустический согласующий слой большей толщины дает возможность корпусу 208 преобразователя выдерживать более высокое давление. Оптимизация толщины акустического согласующего слоя состоит в выборе самого тонкого слоя, который может выдерживать самые высокие давления, которые можно ожидать в расходомере.
С целью уменьшения электрических помех и удвоения напряжения возбуждения часто желательным оказывается раздельное электрическое подключение пьезоэлектрического элемента (о чем говорится ниже). Это означает, что часть пьезоэлектрического элемента, соприкасающаяся с акустическим согласующим слоем, может иметь токопроводящее покрытие. Если акустический согласующий слой является металлическим, то для электрической изоляции друг от друга металла и пьезоэлектрического элемента 214 между ними помещается тонкий электрический изолятор. Для устранения возникающих здесь трудностей в некоторых вариантах в качестве материала для акустического согласующего слоя 212 выбирают электрический изолятор, благодаря чему сокращается или устраняется надобность в дополнительной электроизоляции.
Перейдем далее к рассмотрению интегрированного блока 210 преобразователя. На фиг.7 представлен вид в перспективе блока 210 преобразователя в соответствии с вариантами изобретения. Блок 210 преобразователя имеет удлиненный внешний корпус 501, имеющий ось 505, направленную продольно. В некоторых вариантах удлиненный внешний корпус 501 имеет первую часть 500 и вторую часть 502, имеющие общую ось 505. В этих вариантах вторая часть 502 телескопически соединяется с первой частью 500, так что первая часть 500 и вторая часть 502 могут перемещаться относительно друг друга в осевом направлении. Отметим, что удлиненный внешний корпус 501 может иметь цилиндрическую форму, но могут использоваться корпуса другой формы.
В вариантах, в которых удлиненный внешний корпус 501 включает первую часть 500 и вторую часть 502, наружный диаметр второй части 502 в наружном конце 518, где расположен кристалл, по существу является таким же, что и диаметр первой части 500. Однако вторая часть 502 имеет также область 520 уменьшенного диаметра, которая телескопически вдвигается во внутреннее пространство первой части 500, то есть эта часть имеет наружный диаметр, несколько меньший, чем внутренний диаметр первой части 500. В некоторых вариантах длина области соединения первой и второй частей 500 и 502 примерно равна наружному диаметру, но в равной степени могут быть выбраны более длинные или короткие области соединения. Наружный диаметр удлиненного внешнего корпуса 501 является несколько меньшим, чем внутренний диаметр корпуса 208 преобразователя, что позволяет обеспечить точную установку пьезоэлектрического элемента в заданное положение.
В соответствии с некоторыми вариантами вторая часть 502 изготовляется из пластмассы (например, марки Ultem 1000). В этих вариантах осевая длина второй части 502 берется меньшей (по сравнению с осевой длиной первой части 500, которая предпочтительно является металлической) не только потому, что уменьшение длины снижает производственные затраты, но и потому, что изготовленная из пластмассы вторая часть 502 склонна абсорбировать влагу и увеличиваться в объеме. Увеличение объема второй части 502 допустимо, а уменьшенная осевая длина второй части 502 позволяет извлекать блок 210 преобразователя из корпуса 208 преобразователя несмотря на увеличение объема.
Вращательное движение первой и второй частей 500 и 502 и их смещение относительно друг друга по оси ограничены штифтом 506, отходящим радиально от второй части 502 и проходящим через отверстие 504 в первой части 500. В некоторых вариантах применяются три таких штифта и соответствующее множество отверстий, но в равной мере можно использовать конструкции с одним или более чем с тремя штифтами и с соответствующими множествами отверстий. Альтернативно, на второй части 502 может быть сформирован выступ (составляющий со второй частью 502 одно целое), взаимодействующий с отверстием 504.
В то время как пьезоэлектрический элемент 214 связан с первым концом 503 удлиненного внешнего корпуса 501 и по крайней мере частично закрывает его, контактная панель 508 по крайней мере частично закрывает второй конец 509 удлиненного внешнего корпуса 501. Первая часть 500 удлиненного внешнего корпуса 501 может иметь штифт 514, играющий роль ключа и обеспечивающий при подсоединении интегрированного блока преобразователя требуемую ориентацию контактов относительно соединительной муфты 204, на которой расположены контактные отверстия. Контактная панель 508 может иметь выемку 515, которая соответствует ключу 514 соединения, чем предотвращается вращение контактной панели 508 относительно удлиненного внешнего корпуса 501. Кроме того, контактная панель 508 может иметь выемку 516, предотвращающую вращение, которая в сочетании с выступом на корпусе 208 преобразователя предотвращает вращение интегрированного блока преобразователя 210 в корпусе 208 преобразователя. Второй конец 509 удлиненного внешнего корпуса 501 имеет внутренний диаметр, обеспечивающий свободное скольжение контактной панели 508, имеющей малый наружный диаметр. Контактная панель 508 может, если желательно, быть изготовлена из материала Ultem 1000, но может применяться и другой твердый диэлектрический материал.
На фиг.8 представлено в перспективнее продольное сечение блока 210 преобразователя. По крайней мере в некоторых вариантах пьезоэлектрический элемент 214 электрически изолирован от корпуса 208 преобразователя, и, таким образом, по крайней мере вторая часть 502 состоит из твердого непроводящего материала, как обсуждалось выше. Внутренний диаметр удлиненного внешнего корпуса 501 и наружный диаметр пьезоэлектрического элемента 214 подбираются такими, чтобы оставалось некоторое пространство между блоком 210 преобразователя и корпусом преобразователя 208, в который вставляется блок 210 преобразователя. Это пространство служит для размещения мениска 304 (фиг.5 и 6) акустического согласующего слоя. Это пространство обеспечивает также место для избытка смазки, которая может наноситься на внешнюю поверхность пьезоэлектрического элемента 214 перед его введением в корпус 208 преобразователя с целью улучшения акустической связи пьезоэлектрического элемента 214 с акустическим согласующим слоем 212.
Кольцевой упор 600 в удлиненном внешнем корпусе 501 соприкасается с пьезоэлектрическим элементом 214, что нужно для противодействия аксиальному движению пьезоэлектрического элемента, например, под действием сил, прилагаемых при установке блока 210 преобразователя в корпус 208 преобразователя. Пространство позади пьезоэлектрического элемента 214 включает опорный согласующий слой 602 (например, состоящий из эпоксидной смолы, эпоксидной смолы с порошкообразным наполнителем, резины, каучука с порошкообразным наполнителем) и служит для нескольких целей. Например, опорный согласующий слой механически скрепляет пьезоэлектрический элемент 214 и провод или несколько проводов, подведенных к пьезоэлектрическому элементу 214, с удлиненным внешним корпусом 501. В частности, масса опорного согласующего слоя увеличивает выходную акустическую мощность пьезоэлектрического элемента 214, уменьшая эффекты эха и расширяя полосу частот акустического сигнала. В некоторых вариантах длина опорного согласующего слоя (измеренная вдоль оси удлиненного внешнего корпуса) выбирается такой, что время распространения (с возвратом) ультразвукового сигнала в опорном согласующем слое 602 оказывается большим, чем время, затрачиваемое на измерение полученного сигнала. Например, если в качестве точки для измерения используется четвертое прохождение через нуль полученного сигнала, то предпочтительно, чтобы указанное время распространения с возвратом превосходило длительность двух циклов для главной рабочей частоты пьезоэлектрического элемента. Альтернативно, длина опорного согласующего слоя 602 может составлять от примерно одной до примерно 9 длин акустических волн в опорном согласующем слое для главной рабочей частоты пьезоэлектрического элемента. Выбор соответствующей длины гарантирует, что никакие отраженные акустические сигналы не достигают пьезоэлектрического элемента в течение переходного интервала времени для сигнала ультразвукового расходомера.
Продолжим рассмотрение. Удлиненный внешний корпус 501 включает первую часть 500 и вторую часть 502; область 520 уменьшенного диаметра второй части 502 имеет кольцевой упор 608. Высота упора достаточно мала, чтобы можно было пропустить провода через остающийся просвет и ввести через него материал, формирующий опорный согласующий слой 602; этот материал может быть введен шприцем, имеющим небольшой пластмассовый наконечник. На кольцевом краю этого упора 608 имеется конусообразный откос, гарантирующий отсутствие острого края, который мог бы повредить провода. Упор 608 занимает такое положение, что приспособление для смещения (обсуждаемое ниже) может упираться в него при смещении второй части 502.
В вариантах, в которых удлиненный внешний корпус 501 имеет первую часть 500 и вторую часть 502, которые могут смещаться относительно друг друга вдоль оси, блок 210 преобразователя имеет приспособление для смещения, например пружину 610. Приспособление для смещения раздвигает две части – первую часть 500 и вторую часть 502 – вдоль общей оси X. Сила, с которой приспособление для смещения сдвигает первую часть 500 и вторую часть 502 в некоторых вариантах, составляет от примерно 4 до примерно 12 фунтов. В альтернативных вариантах приспособление для смещения может представлять собой любое приспособление, обеспечивающее силу, требуемую для смещения, например гровер-шайбу, деталь из резины или сочетание пружин, гровер-шайб и/или деталей из резины.
Пружина 610 находится в слегка сжатом состоянии, когда опирается на упор 618 в процессе сборки. По крайней мере один штифт (частично видимый, обозначенный как 506) в сочетании с отверстием (фиг.7) ограничивает сдвиг по оси и вращение второй части 502 внутри первой части 500. Когда блок преобразователя 210 установлен в корпус 208 преобразователя, контргайка 206 (фиг.4) будет еще более сжимать пружину 610. Это сжатие компенсирует допуски, имеющиеся в собираемых компонентах, и служит для обеспечения хорошего контакта внешней стороны пьезоэлектрического элемента 214 с внутренней стороной 312 акустического согласующего слоя 212 (фиг.6). Когда соединительная муфта 204 (фиг.4) собрана, пружина 610 может оказаться сжатой в еще большей мере. Пружина может действовать с силой порядка 4,9 фунтов после установления соединительной муфты 204 на своем месте. В альтернативных вариантах нет надобности, чтобы соединительная муфта 204 оказывала дополнительное сжимающее действие на пружину. В вариантах, где удлиненный внешний корпус 501 является отдельной структурой, сила, обеспечивающая хорошую связь между пьезоэлектрическим элементом 214 и акустическим согласующим слоем 212 (фиг.6), может быть обеспечена контргайкой 206 (фиг.4) и/или соединительной муфтой 204 (фиг.4).
Контактная панель 508 имеет два контактных штифта 610 и 612, занимающих выбранное при проектировании положение и имеющих выбранную длину открытых участков. Контакты входят в слоты соединительной муфты 204, чем обеспечивается подсоединение блока преобразователя к электронной аппаратуре расходомера. Электрический контакт 610 соединяется с пьезоэлектрическим элементом 214 первым проводом 611, который проходит через внутреннюю полость удлиненного внешнего корпуса 501. Аналогично, второй контакт 612 соединяется с пьезоэлектрическим элементом 214 с помощью второго провода 613, которой также проходит через внутреннюю полость корпуса 501. В некоторых вариантах в качестве проводов 611, 613 применяются многожильные медные провода с изоляцией из ПТФЭ, но могут также применяться и провода других типов. Чтобы удерживать провода 611 и 613 и, возможно, резистор 614 (обсуждаемый ниже), а также контактную панель 508, адгезив 609 (например, эпоксидная смола) может быть введен через отверстие 612, предназначенное для этой цели. В некоторых вариантах контакты 610 и 612 являются медными штифтами с прочным покрытием золотом, имеющими карманы для соединения пайкой, но равным образом могут применяться и другие штифты. Применение изоляции двух различных цветов служит для обеспечения правильной полярности подаваемого на грани кристалла напряжения, а пространственное положение контактных штифтов и соединительного ключа на корпусе точно определяются при производстве. Провода перекручиваются при сборке, чтобы гарантировать, что любые электрические поля, возбуждаемые протекающими по ним токами, уравниваются; это необходимо, чтобы избежать влияния помех на импульсы, связанные с циклами измерений, проводимых с помощью пьезоэлектрических элементов.
Один мегаомный резистор 614 помещается между контактами 610 и 612, соединяя, таким образом, две грани пьезокристалла, контактирующие с металлом (что обсуждается ниже). Указанный резистор 614 обеспечивает короткое замыкание для низких частот, что необходимо для разрядки любого потенциала, индуцированного механическими, ударными или температурными воздействиями при транспортировке и установке. При высоких рабочих частотах преобразователя (примерно 1 МГц) резистор 614 фактически не оказывает никакого влияния на электрический сигналы, поступающие на пьезокристалл или генерируемые им. Один ввод резистора изолирован с помощью диэлектрической трубки, чтобы избежать его закорачивания на корпус в процессе производства. Альтернативные конструкции преобразователей могут включать дополнительные электрические компоненты, вводимые в интегрированный блок преобразователя (например, катушки индуктивности, усилители, выключатели, кремниевые стабилитроны и конденсаторы). Эти компоненты могут применяться как по отдельности, так и в многообразных комбинациях.
На фиг.9 и 10 представлены электрические соединения с пьезоэлектрическим элементом 214 в соответствии с вариантами изобретения. В некоторых вариантах пьезоэлектрический элемент 214 является пьезокристаллом, например состоящим из PZT-5A или другого подобного материала. Частота генерируемого ультразвукового сигнала зависит от толщины и диаметра кристаллов. Внешняя сторона 700 является той стороной пьезоэлектрического элемента 214, которая соединяется с акустическим согласующим слоем (фиг.5 и 6). Внешняя сторона 700 и внутренние стороны 702 пьезоэлектрического элемента по крайней мере частично покрыты серебром или другими металлами с целью создания поверхностей, служащих электродами. Часть 704 металлического покрытия внешней стороны 700 переходит по боковой стороне кристалла на внутреннюю сторону 702. Металлическое покрытие внешней стороны 700 (включая часть 704) и металлическое покрытие внутренней стороны 702 электрически изолированы областью 706, на которой отсутствует металлизация. Металлизация по такому способу позволяет подсоединять оба провода 611 и 613 только с внутренней стороной 702 пьезоэлектрического элемента 214. Показанная конфигурация металлического покрытия позволяет сделать внешнюю сторону 700 плоской, что важно для обеспечения хорошего контакта с акустическим согласующим слоем. Альтернативно, один провод может идти вокруг пьезоэлектрического элемента и соединяться с внешней стороной 700. В таких вариантах часть корпуса 501 (фиг.7 и 8) должна быть удалена, чтобы можно было провести провод. Кроме того, в таких вариантах, в которых один из проводов присоединяется непосредственно к внешней поверхности 700, акустический согласующий слой 214 также должен быть частично удален, чтобы можно было пропустить провод. В других вариантах первый провод соединяется с внутренней стороной 702 пьезоэлектрического элемента, а второй провод соединяется с периферией или ребром пьезоэлектрического элемента.
Конструкция блока 210 преобразователя сильно упрощает установку блока преобразователя и его замену, в частности, на тех трубопроводных системах, условия работы которых далеки от идеальных (возможность удара молнии, суровые климатические условия погода и т.п.). Обратимся к блок-схеме на фиг.11. В различных вариантах способ (обозначенный как 800 на чертеже) замены блока преобразователя включает отсоединение проводов (в блоке 802), электрически соединяющих электронную систему ультразвукового расходомера (фиг.1-3) с блоком 210 преобразователя. Приспособление для смещения, если оно применяется, отсоединяется (в блоке 803), например, путем ослабления и удаления гайки 206 (фиг.4). После этого блок преобразователя извлекается (в блоке 804) как единый модуль из корпуса 208 преобразователя. Блок преобразователя, предназначенный для замены, вставляется в корпус преобразователя (в блоке 806), также как единый модуль. В некоторых вариантах подсоединяется приспособление для смещения (в блоке 807), например, с помощью контргайки 206. Наконец, восстанавливается соединение с проводами (в блоке 808).
Здесь были представлены и описаны различные варианты данного изобретения, но специалисты в данной области могут разработать модификации, не выводящие из круга идей и предложений изобретения. Варианты, здесь описанные, являются лишь примерами и не имеют ограничительного характера. Таким образом, область патентной защиты не ограничена описанными здесь вариантами, а ограничена только следующей далее формулой изобретения, которая охватывает также все объекты, эквивалентные описанным в этой формуле.
Формула изобретения
1. Преобразователь, включающий корпус, имеющий внутренний конец, наружный конец и внутреннюю полость и закрепленный на измерительной муфте ультразвукового расходомера, пьезоэлектрический элемент, установленный во внутренней полости с возможностью введения и извлечения из названной полости, и акустический согласующий слой, расположенный изолирующим наружный конец от потока текучей среды и имеющий акустический импеданс, промежуточный между импедансом пьезоэлектрического элемента и импедансом текучей среды в ультразвуковом расходомере.
2. Преобразователь по п.1, в котором корпус имеет резьбу на наружной поверхности, посредством которой он закреплен на измерительной муфте.
3. Преобразователь по п.1, в котором акустический согласующий слой имеет толщину, равную нечетному кратному четверти длины акустических волн, генерируемых пьезоэлектрическим элементом.
4. Преобразователь по п.1, в котором акустический согласующий слой имеет акустический импеданс от примерно 1 до примерно 30 МПа·с/м.
5. Преобразователь по п.1, в котором акустический согласующий слой содержит по меньшей мере один материал, выбираемый из группы, включающей стекло, керамику и пластмассу.
6. Преобразователь по п.1, в котором внутренняя и внешняя стороны акустического согласующего слоя являются параллельными.
7. Преобразователь по п.1, в котором внешняя и внутренняя стороны акустического согласующего слоя параллельны с точностью по крайней мере 76,2 мкм.
8. Преобразователь по п.1, в котором внешняя и внутренняя стороны акустического согласующего слоя являются плоскими.
9. Преобразователь по п.1, в котором внешняя и внутренняя стороны акустического согласующего слоя являются плоскими с точностью по крайней мере 25,4 мкм.
10. Ультразвуковой расходомер, включающий измерительную муфту, в которой расположен измеряемый поток текучей среды и преобразователь, связанный с измерительной муфтой и содержащий корпус, имеющий внутреннюю полость, давление в которой равно атмосферному давлению, пьезоэлектрический элемент, установленный во внутренней полости с возможностью введения и извлечения из названной полости, и акустический согласующий слой, расположенный изолирующим внутреннюю полость от потока текучей среды и имеющий акустический импеданс, промежуточный между импедансом пьезоэлектрического элемента и импедансом текучей среды в ультразвуковом расходомере.
11. Расходомер по п.10, который содержит устройство входа/выхода преобразователя, связанное с измерительной муфтой, при этом преобразователь соединен с устройством входа/выхода посредством резьбового соединения.
12. Расходомер по п.10, в котором акустический согласующий слой содержит по меньшей мере один материал, выбираемый из группы, включающей стекло, керамику и пластмассу.
13. Расходомер по п.10, в котором внутренняя и внешняя стороны акустического согласующего слоя являются параллельными.
14. Расходомер по п.10, в котором внешняя и внутренняя стороны акустического согласующего слоя являются плоскими.
15. Расходомер по п.10, в котором пьезоэлектрический элемент расположен примыкающим к внутренней стороне акустического согласующего слоя.
16. Расходомер по п.10, который содержит приспособление смещения пьезоэлектрического элемента к акустическому согласующему слою.
РИСУНКИ
|
|