|
|
(21), (22) Заявка: 2008104028/09, 03.08.2006
(24) Дата начала отсчета срока действия патента:
03.08.2006
(30) Конвенционный приоритет:
29.05.2006 KR 10-2006-0048305
(43) Дата публикации заявки: 10.08.2009
(46) Опубликовано: 10.02.2010
(56) Список документов, цитированных в отчете о поиске:
US 6628245 В2, 30.09.2003. GB 1520593 А, 09.08.1978. US 6660948 B2, 09.12.2003. RU 987699 A1, 07.01.1983.
(85) Дата перевода заявки PCT на национальную фазу:
01.02.2008
(86) Заявка PCT:
KR 2006/003048 20060803
(87) Публикация PCT:
WO 2007/027018 20070308
Адрес для переписки:
129090, Москва, ул.Б.Спасская, 25, стр.3, ООО “Юридическая фирма Городисский и Партнеры”, пат.пов. А.В.Мицу, рег. 364
|
(72) Автор(ы):
ЧОИ Чанг-Киу (KR), КИМ Сеонг-Воон (KR), ХОНГ Сун-Ги (KR), ПАРК Дзун-Хо (KR), ХВАНГ Кванг-Ил (KR), ЯНГ Хонг-Сеок (KR), ЙИМ Йил-Миунг (KR), КИМ Йеун-Бае (KR), КИМ Нам-Воо (KR), ЙОО Биунг-Ин (KR)
(73) Патентообладатель(и):
САМСУНГ ЭЛЕКТРОНИКС КО., ЛТД. (KR)
|
(54) КНОПОЧНОЕ УСТРОЙСТВО ВВОДА С ФУНКЦИЕЙ ИНДИКАЦИИ И ПЕРЕНОСНОЕ ЭЛЕКТРОННОЕ УСТРОЙСТВО, СОДЕРЖАЩЕЕ ЕГО
(57) Реферат:
Изобретение относится к электротехнике. Технический результат состоит в уменьшении габаритов и упрощении пользования и изготовления. Кнопочное устройство ввода с функцией индикации, формирующее сигнал переключения в ответ на нажатие пользователя, включает в себя множество рычажных кнопок, имеющих прозрачное окно, по меньшей мере, на части каждой из них. Один край каждого из прозрачных окон закреплен, а другие их края упруго вертикально отклоняются. Основание переключателя расположено ниже множества рычажных кнопок, включает в себя вырезы, соответствующие прозрачным окнам, и формирует сигнал переключения в соответствии с движением любой из рычажных кнопок с помощью переключателей, расположенных так, чтобы соответствовать упругим частям рычажных кнопок. Индикаторная панель обеспечивает изображение на участке, соответствующем каждому из прозрачных окон. По меньшей мере, часть индикаторной панели расположена ниже множества рычажных кнопок. Переносное электронное устройство включает в себя кнопочное устройство ввода и блок управления кнопочным отображением, который отображает изображения, меняющиеся в соответствии с сигналом переключателя, на участках индикаторной панели, которые соответствуют прозрачным окнам. 2 н. и 30 з.п. ф-лы, 6 ил.
ОБЛАСТЬ ТЕХНИКИ, К КОТОРОЙ ОТНОСИТСЯ ИЗОБРЕТЕНИЕ
Настоящее изобретение относится к кнопочному устройству ввода с функцией индикации и переносному электронному устройству, содержащему его, и, более конкретно, к кнопочному устройству ввода с функцией индикации, которое отображает изображения через окна, включенные во множество рычажных кнопок, расположенных на индикаторной панели, и обеспечивает для пользователя удобство при вводе, несмотря на свою тонкость, и переносному (портативному) электронному устройству, содержащему кнопочное устройство ввода.
УРОВЕНЬ ТЕХНИКИ
В общем кнопочное устройство ввода формирует сигнал переключения в ответ на нажатие кнопки пользователем и выдает сформированный сигнал переключения. Когда пользователь нажимает кнопку, кнопочное устройство ввода обнаруживает ввод пользователя посредством упругого элемента, который перемещается вниз и затем возвращается в свое начальное положение. Куполообразный металлический элемент обычно применяется в качестве упругого элемента.
В последнее время предлагаются кнопочные устройства ввода, имеющие функцию индикации. Однако когда кнопочное устройство ввода тонкое, сложно обеспечить для пользователя удобство ввода, а когда кнопочное устройство ввода толстое, хотя пользователь обеспечен удобством ввода, сложно собирать кнопочное устройство ввода из-за его толщины или сложной конструкции.
РАСКРЫТИЕ ИЗОБРЕТЕНИЯ
ТЕХНИЧЕСКАЯ ЗАДАЧА
Настоящее изобретение представляет кнопочное устройство ввода с функцией индикации, при этом кнопочное устройство ввода тонкое и обеспечивает для пользователя удобство при вводе.
Настоящее изобретение также предлагает переносное электронное устройство, содержащее кнопочное устройство ввода.
ТЕХНИЧЕСКОЕ РЕШЕНИЕ
В соответствии с аспектом настоящего изобретения предложено кнопочное устройство ввода с функцией индикации, формирующее сигнал переключения в ответ на нажатие кнопки пользователем, при этом устройство содержит множество рычажных кнопок, имеющих прозрачные окна на, по меньшей мере, части рычажных кнопок, при этом один край каждого из прозрачных окон закреплен, а другие края каждого из прозрачных окон упруго вертикально отклоняются; основание переключателя, которое расположено ниже множества рычажных кнопок, включает в себя вырезы, которые должным образом соответствуют окнам, и формирует сигнал переключения в соответствии с движением любой из множества рычажных кнопок с помощью множества переключателей, расположенных так, чтобы должным образом соответствовать упругим частям рычажных кнопок; и индикаторную панель, обеспечивающую изображение на участке, соответствующем каждому из прозрачных окон, при этом, по меньшей мере, часть индикаторной панели расположена ниже множества рычажных кнопок.
Множество рычажных кнопок может содержать множество индивидуально разделенных кнопок и упругую пластину, которая представляет собой пластинообразный элемент, расположенный ниже множества кнопок, и содержит множество упругих частей, при этом часть упругой пластины, которая соответствует множеству кнопок, частично вырезана и каждая из множества упругих частей имеет вырез, соответствующий каждому из прозрачных окон. Каждая из множества упругих частей может содержать свободный край, частично вырезанный по контуру каждой кнопки, и закрепленный невырезанный край, причем, когда нажимается кнопка, свободный край перемещается. Упругая пластина может быть выполнена в виде металлической, пластиковой или резиновой пластины.
Множество рычажных кнопок может содержать единую кнопочную пластину, при этом единая кнопочная пластина разделена на множество кнопочных участков, один край каждого кнопочного участка закреплен, а другие его края частично вырезаны. Множество рычажных кнопок может дополнительно содержать кнопочную подкладку, которая расположена ниже кнопочной пластины и имеет множество вырезов, которые должным образом соответствуют прозрачным окнам множества рычажных кнопок. Множество выступов, которое должным образом соответствует множеству переключателей, может быть расположено на задней поверхности кнопочной подкладки.
Множество рычажных кнопок может содержать множество индивидуально разделенных кнопок и опорную конструкцию, поддерживающую закрепленный край каждой из множества кнопок. Множество рычажных кнопок может дополнительно содержать кнопочную подкладку, которая расположена ниже множества кнопок и имеет множество вырезов, которые должным образом соответствуют прозрачным окнам множества рычажных кнопок, при этом опорная конструкция представляет собой участок на основании переключателя, которое расположено ниже кнопочной подкладки и поддерживает части кнопочной подкладки, соответствующие закрепленным краям множества кнопок. Множество выступов, которое должным образом соответствует множеству переключателей, может быть расположено на задней поверхности кнопочной подкладки.
Основание переключателя может быть расположено между множеством рычажных кнопок и индикаторной панелью и иметь вырезы, которые должным образом соответствуют окнам множества рычажных кнопок. Устройство может дополнительно содержать усиливающую пластину, которая расположена между основанием переключателя и индикаторной панелью, имеет вырезы, которые должным образом соответствуют прозрачным окнам, и защищает индикаторную панель, поддерживая заднюю поверхность основания переключателя.
Основание переключателя может быть расположено рядом с краями индикаторной панели. Устройство может дополнительно содержать усиливающую конструкцию, которая расположена ниже основания переключателя и поддерживает заднюю поверхность основания переключателя.
В соответствии с другим аспектом настоящего изобретения предложено переносное электронное устройство, содержащее множество рычажных кнопок, имеющих прозрачное окно на, по меньшей мере, части каждой из рычажных кнопок, при этом один край прозрачного окна закреплен, а другие его края упруго вертикально отклоняются; основание переключателя, которое расположено ниже множества рычажных кнопок, включает в себя вырезы, которые должным образом соответствуют прозрачным окнам, и формирует сигнал переключения в соответствии с движением любой из множества рычажных кнопок с помощью множества переключателей, расположенных так, чтобы должным образом соответствовать упругим частям рычажных кнопок; индикаторную панель, обеспечивающую изображение на участке, соответствующем каждому из прозрачных окон, при этом, по меньшей мере, часть индикаторной панели расположена ниже множества рычажных кнопок; и блок управления кнопочным отображением, который отображает изображения, меняющиеся в соответствии с сигналом переключателя, на участках индикаторной панели, соответствующих прозрачным окнам.
ПОЛЕЗНЫЕ ПРЕИМУЩЕСТВА
В соответствии с настоящим изобретением толщина и количество частей кнопочного устройства ввода могут быть значительно уменьшены, при этом обеспечивая для пользователя удобство при вводе. Таким образом могут быть снижены сборочные и производственные затраты на кнопочное устройство ввода с функцией индикации и переносное электронное устройство, содержащее его.
КРАТКОЕ ОПИСАНИЕ ЧЕРТЕЖЕЙ
Фиг.1 – перспективный вид кнопочного устройства ввода с функцией индикации с разнесением деталей в соответствии с вариантом осуществления настоящего изобретения;
Фиг.2 – перспективный вид кнопочного устройства ввода с функцией индикации с разнесением деталей в соответствии с другим вариантом осуществления настоящего изобретения;
Фиг.3 – перспективный вид кнопочного устройства ввода с функцией индикации с разнесением деталей в соответствии с другим вариантом осуществления настоящего изобретения;
Фиг.4 – перспективный вид кнопочного устройства ввода с функцией индикации с разнесением деталей в соответствии с другим вариантом осуществления настоящего изобретения;
Фиг.5 – перспективный вид кнопочного устройства ввода с функцией индикации с разнесением деталей в соответствии с другим вариантом осуществления настоящего изобретения;
Фиг.6 – перспективный вид кнопочного устройства ввода с функцией индикации с разнесением деталей в соответствии с другим вариантом осуществления настоящего изобретения; и
Фиг. 7A и 7B – виды переносного электронного устройства, содержащего кнопочное устройство ввода с функцией индикации в соответствии с вариантом осуществления настоящего изобретения.
ОСУЩЕСТВЛЕНИЕ ИЗОБРЕТЕНИЯ
Теперь настоящее изобретение будет описано более основательно со ссылкой на сопровождающие чертежи, на которых показаны примеры вариантов осуществления изобретения.
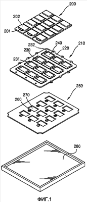
Фиг.1 – вид в перспективе кнопочного устройства ввода с функцией индикации с разнесением деталей в соответствии с вариантом осуществления настоящего изобретения. Кнопочное устройство ввода, продемонстрированное на Фиг.1, включает в себя клавиатуру 200, на которой расположено на одном уровне множество кнопок 201, упругую пластину 210, расположенную ниже клавиатуры 200, основание 250 переключателя, расположенное ниже упругой пластины 210, и индикаторную панель 280, расположенную ниже основания 250 переключателя. В данном варианте осуществления множество рычажных кнопок составлено из множества кнопок 201, расположенных по отдельности, и упругая пластина 210 имеет множество упругих частей 230, которое должным образом соответствует множеству кнопок 201.
Каждая из множества кнопок 201 включает в себя прозрачное окно 202, выполненное из прозрачного пластика. Оставшаяся часть кнопки 201 может быть выполнена из пластика или металла.
Упругая пластина 210 расположена ниже клавиатуры 200. Упругая пластина 210 включает в себя множество упругих частей 230, образованных частичным вырезанием участка и соответствующих множеству кнопок 201, при этом каждая упругая часть 230 имеет вырез 240, соответствующий прозрачному окну 202. Когда нажимается определенная кнопка 201, нижняя часть нажатой кнопки 201 нажимает на свободный край 231 одной из соответствующих упругих частей 230, в результате упругая часть 230 изгибается относительно закрепленного края 232, таким образом к нажатой кнопке 201 прилагается сила упругости.
Упругая пластина 210 может быть выполнена в виде пластиковой, резиновой или металлической пластины, имеющей хорошую упругость при изгибе. Так как кнопочное устройство ввода с функцией индикации должно быть тонким, упругая пластина 210 должна быть тонкой и напряжение должно концентрироваться на закрепленном крае 232, имеющем минимальную ширину из-за выреза 240. Таким образом, упругая пластина 210 может быть выполнена в виде металлической пластины, имеющей высокую прочность и длительный срок службы. Примерами материала металлической пластины являются нержавеющая сталь, алюминиевый сплав, магниевый сплав и так далее.
Основание 250 переключателя включает в себя множество вырезов 270, которые должным образом соответствуют окнам 202, и может включать в себя множество переключателей 260, расположенных так, чтобы соответствовать периметрам окон 202 кнопок 201, более точно свободным краям 231 упругих частей 230. Для переключателей 260 может применяться любой тип переключателя, если только переключатель может обнаруживать контакт со свободным краем 231. В данном варианте осуществления изобретения каждый из переключателей 260 может являться упругим куполообразным переключателем, который включает в себя упругий элемент куполообразного типа снаружи и углеродный контакт (не показан) внутри купола.
По меньшей мере, часть индикаторной панели 280, например часть для отображения изображений, отображающихся через множество кнопок 201, имеющих окна 202, расположена ниже основания 250 переключателя. Другими словами, индикаторная панель 280 может быть отдельно подготовлена для функции индикации, или часть основной индикаторной панели электронного устройства может располагаться ниже основания 250 переключателя для выполнения функции индикации.
Для того чтобы пользователь видел изображения, показанные на индикаторной панели 280, окна 202 кнопок 201 выполнены из прозрачного вещества и вырезы 240 и 270, выполненные в упругой пластине 210 и основании 250 переключателя, расположены в вертикальном направлении последовательно с окнами 202.
Теперь будут описаны действия клавиатуры 200, упругой пластины 210 и основания 250 переключателя для формирования сигнала переключения в ответ на нажатие пользователем. Когда пользователь нажимает на одну из кнопок 201, помещенную на клавиатуре 200, упругая часть 230, расположенная ниже нажатой кнопки 201, изгибается относительно закрепленного края 232, который закреплен на рамке 220, и благодаря давлению нажимается свободный край 231. Клавиатура 200 может быть выполнена из пластикового материала, и упругая пластина 210 может быть выполнена в виде пластиковой или металлической пластины, имеющей хорошую упругость при изгибе. В частности, для обеспечения достаточной силы упругости, когда кнопочное устройство ввода тонкое, упругая пластина 210 может быть выполнена из нержавеющей стали, алюминиевого сплава, магниевого сплава или аналогичного сплава.
Когда упругая часть 230 изогнута, один из переключателей 260, помещенный на основание 250 переключателя и расположенный ниже изогнутой упругой части 230, нажат и основание 250 переключателя формирует сигнал переключения, соответствующий нажатому переключателю 260. Значение сигнала переключения, соответствующего нажатому переключателю 260, может быть ‘1’.
Когда пользователь отпускает нажатую кнопку 201, изогнутая упругая часть 230 возвращается в свое начальное положение, в результате нажатый переключатель 260 возвращается в свое начальное положение. В соответствии с возвращением переключателя 260 в начальное положение значение сигнала переключения, соответствующего нажатому переключателю 260, может быть ‘0’.
Переносное электронное устройство, содержащее кнопочное устройство ввода с функцией индикации, в соответствии с вариантом осуществления настоящего изобретения дополнительно включает в себя дисплейный блок управления (не показан), обеспечивающий смену изображений в соответствии с сигналом переключения, описанным выше. Дисплейный блок управления может разделять индикаторную панель 280 на то же самое количество участков, что и кнопок 201, помещенных на клавиатуре 200, и показывать изображение на каждом из разделенных участков. Множество изображений, показанных на индикаторной панели 280, соответственно отображается на кнопках 201 через вырезы 270 в основании 250 переключателя, вырезы 240 в упругой пластине 210 и прозрачные окна 202.
Фиг.2 – вид в перспективе кнопочного устройства ввода с функцией индикации с разнесением деталей в соответствии с другим вариантом осуществления настоящего изобретения.
Кнопочное устройство ввода, продемонстрированное на Фиг.2, почти такое же, как и кнопочное устройство ввода, продемонстрированное на Фиг.1. Однако между основанием 250 переключателя и индикаторной панелью 280 дополнительно может быть включена усиливающая пластина 290, поддерживающая заднюю поверхность основания 250 переключателя и защищающая индикаторную панель 280. Усиливающая пластина 290 включает в себя вырезы 292, соответствующие окнам 202 кнопок 201, как и в случае упругой пластины 210 и основания 250 переключателя.
Фиг.3 – вид в перспективе кнопочного устройства ввода с функцией индикации с разнесением деталей в соответствии с другим вариантом осуществления настоящего изобретения. Кнопочное устройство ввода, продемонстрированное на Фиг.3, включает в себя множество рычажных кнопок 301, расположенных на части единой кнопочной пластины 300. Кнопочная пластина 300 может являться передней крышкой для защиты поверхности основного дисплея переносного электронного устройства. Кнопочная пластина 300 разделена на множество кнопочных участков, при этом один край каждого кнопочного участка закреплен, а другие его края частично вырезаны, таким образом, каждый свободный край 331 упруго перемещается. Каждая из множества рычажных кнопок 301 включает в себя прозрачное окно 302, и кнопочная подкладка 310 может присоединяться к задней поверхности множества рычажных кнопок 301. Кнопочная подкладка 310 включает в себя вырезы 312, которые должным образом соответствуют окнам 302. Кнопочная подкладка 310 может быть выполнена из вещества, такого как силикон или уретан, для обеспечения ощущения мягкости при работе рычажных кнопок 301 и предотвращения проникновения инородного вещества через вырезанную часть.
Основание 340 переключателя, которое содержит множество переключателей 350, расположенные так, чтобы соответствовать нажимающей части, окружающей окна 302, т.е. свободным краям 331, расположено ниже рычажных кнопок 301. Множество выступов 315, которое должным образом соответствует множеству переключателей 350, может быть помещено на заднюю поверхность 310′ кнопочной подкладки 310. В этом случае переключатели 350 могут являться упругими куполообразными переключателями, которые могут нажиматься вниз благодаря действию кнопок 301 и затем возвращаться в свои начальные положения. Углеродный контакт (не показан) может быть включен в структуру куполообразного типа, обладающую упругостью, и металл обычно применяется в качестве материала структуры куполообразного типа. Однако переключатели 350 не ограничены куполообразными переключателями и возможны другие типы переключателей, если они являются чувствительными к нажатию переключателями.
Индикаторная панель 380 расположена ниже основания 340 переключателя. Кроме того, усиливающая конструкция 360, поддерживающая заднюю поверхность основания 340 переключателя, может располагаться ниже основания 340 переключателя. Здесь основание 340 переключателя может располагаться на поверхности 382, прилегающей к краю индикаторной панели 380. В этом случае граничная поверхность внутренней части индикаторной панели 380 может проступать через окна 302 кнопок 301 и свободные края 331 кнопок 301 могут соответствовать переключателям 350, расположенным на основании 340 переключателя.
Кнопочное устройство ввода, продемонстрированное на Фиг.3, может дополнительно включать в себя дисплейный блок управления (не показан), обеспечивающий смену изображений в соответствии с сигналом переключения. Дисплейный блок управления может делить индикаторную панель 380 на участок основного дисплея и участок кнопочного отображения, и более точно на то же самое количество участков, что и кнопок 301, и показывать изображение на каждом из разделенных участков. Множество изображений, показанных на участке кнопочного отображения, соответственно отображается на кнопках 301 через вырезы 312 в кнопочной подкладке 310 и прозрачные окна 302.
Фиг.4 – вид в перспективе кнопочного устройства ввода с функцией индикации с разнесением деталей в соответствии с другим вариантом осуществления настоящего изобретения. В данном варианте осуществления рычажные кнопки могут включать в себя множество индивидуально разделенных кнопок 401 и опорную конструкцию, поддерживающую каждый закрепленный край множества кнопок 401. Рычажные кнопки могут дополнительно включать в себя кнопочную подкладку 410, расположенную ниже множества кнопок 401, при этом опорная конструкция представляет собой части 444 основания 440 переключателя, расположенного ниже кнопочной подкладки 401 и поддерживающей часть 414 кнопочной подкладки 410, которая соответствует каждому закрепленному краю множества кнопок 401.
Множество кнопок 401 может быть выполнено из прозрачной пластиковой пластины и включать в себя прозрачное окно (не показано) на, по меньшей мере, ее части. Кроме того, кнопочная подкладка 410 включает в себя вырезы 412, которые должным образом соответствуют окнам. Кнопочная подкладка 410 может быть выполнена из материала, такого как силикон или уретан, для обеспечения ощущения мягкости при работе кнопок 401 и предотвращения проникновения инородного вещества через зазоры по периметру кнопок 401. Множество выступов (не показано), которое должным образом соответствует множеству переключателей 450 на основании 440 переключателя, может располагаться на задней поверхности кнопочной подкладки 410.
Основание 440 переключателя может располагаться между кнопочной подкладкой 410 и индикаторной панелью 480. В этом случае основание 440 переключателя может включать в себя вырезы 442, которые должным образом соответствуют окнам кнопок 401 и вырезам 412 в кнопочной подкладке 410. Усиливающая пластина для защиты индикаторной панели 480 может быть расположена на задней поверхности основания 440 переключателя.
Теперь будет описана работа рычажных кнопок в соответствии с данным вариантом осуществления. Когда пользователь нажимает одну из кнопок 401, окружающие части 413 и 414 соответствующего выреза 412, выполненного в кнопочной подкладке 410, нажимаются. Одна часть 414 опирается на соответствующую часть 444 основания 440 переключателя, расположенную на задней поверхности кнопочной подкладки 410, а другая часть 413 нажимает на переключатель 450, расположенный на соответствующей части основания 440 переключателя.
Фиг.5 – вид в перспективе кнопочного устройства ввода с функцией индикации с разнесением деталей в соответствии с другим вариантом осуществления настоящего изобретения. Кнопочное устройство ввода, продемонстрированное на Фиг.5, включает в себя множество рычажных кнопок 501, расположенных на части единой кнопочной пластины 500. Кнопочная пластина 500 может являться передней крышкой для защиты поверхности основного дисплея переносного электронного устройства. Кнопочная пластина 500 разделена на множество кнопочных участков, при этом один край 532 каждого кнопочного участка закреплен, а другие его края частично вырезаны, таким образом, каждый свободный край 531 упруго перемещается. Каждая из множества рычажных кнопок 501 включает в себя прозрачное окно 502, и кнопочная подкладка 510 может присоединяться к задней поверхности множества рычажных кнопок 501. Кнопочная подкладка 510 включает в себя вырезы 512, которые должным образом соответствуют окнам 502. Кнопочная подкладка 510 может быть выполнена из материала, такого как силикон или уретан, для обеспечения ощущения мягкости при работе рычажных кнопок 501 и предотвращения проникновения инородного вещества через вырезанную часть кнопочной пластины 500.
Индикаторная панель 580 расположена ниже рычажных кнопок 501, и переключатели 550 могут располагаться рядом с краями индикаторной панели 580. Здесь основание 540 переключателя может быть выполнено в одном корпусе с печатной платой (printed circuit board, PCB), управляющей индикаторной панелью 580. Окна 502 рычажных кнопок 501 соответствуют поверхности дисплея индикаторной панели 580, и нажимаемая часть, т.е. свободные края 531, окружающей части окон 502 соответствует переключателям 550, расположенным рядом с краями индикаторной панели 580. Множество выступов (не показано), которые должным образом соответствуют переключателям 550, может располагаться на задней поверхности кнопочной подкладки 510. В этом случае, если один из переключателей 550 нажимается благодаря действию соответствующей кнопки 501 и отпускается, нажатый переключатель естественным образом вернется в свое начальное положение. Могут применяться различные чувствительные к нажатию переключатели, содержащие вышеописанный упругий куполообразный переключатель.
Фиг.6 – вид в перспективе кнопочного устройства ввода с функцией индикации с разнесением деталей в соответствии с другим вариантом осуществления настоящего изобретения. В соответствии с данным вариантом осуществления рычажные кнопки могут включать в себя кнопочную подкладку 610, имеющую множество вырезов 612, и множество кнопок 601, выполненных из прозрачного вещества и индивидуально разделенных. Первые края 632 кнопок 601 тянутся от окон 602 и накладываются на один край 614 краев выреза 612 на передней поверхности кнопочной подкладки 610, и вторые края 631, расположенные в противоположном положении относительно первых краев 632, тянутся от задней поверхности кнопочной подкладки 610 наружу.
Индикаторная панель 680 расположена ниже рычажных кнопок, и множество переключателей 650 расположено рядом с краями индикаторной панели 680, как в варианте осуществления на Фиг.5. Основание 640 переключателя может быть выполнено в одном корпусе с PCB, которая управляет индикаторной панелью 680. В этом случае множество переключателей 650 расположено так, чтобы должным образом соответствовать вторым краям 631 множества кнопок 601.
Фиг. 7A и 7B – виды переносного электронного устройства, например терминала мобильной связи, содержащего кнопочное устройство ввода с функцией индикации в соответствии с вариантом осуществления настоящего изобретения. Теперь будет описан простой пример отображения изменяемого изображения через окно каждой кнопки 201. Когда пользователь нажимает кнопку 201, на которой в исходном режиме терминала мобильной связи, продемонстрированном на Фиг.7A, отображается изображение, показывающее функцию телефонного вызова, на кнопках 201 могут отображаться целые числа от 0 до 9 для ввода телефонного номера, изображение, показывающее функцию посыла вызова, и изображение, показывающее функцию завершения вызова, как продемонстрировано на Фиг.7B.
Как описано выше, в соответствии с настоящим изобретением толщина и количество частей кнопочного устройства ввода могут быть значительно уменьшены, при этом обеспечивая для пользователя удобство при вводе. Таким образом, могут быть снижены сборочные и производственные затраты на кнопочное устройство ввода с функцией индикации и переносное электронное устройство, содержащее его.
Хотя настоящее изобретение было конкретно показано и описано со ссылкой на примеры вариантов осуществления, для специалиста в данной области будет понятно, что в него могут быть внесены различные изменения в форме и элементах, не отступая от идеи и объема настоящего изобретения, как оно определено нижеследующей формулой изобретения.
Формула изобретения
1. Кнопочное устройство ввода с функцией индикации, формирующее сигнал переключения в ответ на нажатие пользователя, при этом устройство содержит: множество рычажных кнопок, имеющих прозрачное окно, по меньшей мере, на части каждой из рычажных кнопок, при этом один край каждой из рычажных кнопок с одной стороны прозрачного окна закреплен, а другие края каждой из рычажных кнопок с противоположной стороны прозрачных окон являются упруго-вертикально отклоненными; основание переключателя, которое расположено ниже множества рычажных кнопок, включает в себя вырезы, которые должным образом соответствуют прозрачным окнам и формирует сигнал переключения в соответствии с движением любой из множества рычажных кнопок с помощью множества переключателей, расположенных так, чтобы должным образом соответствовать упругим частям рычажных кнопок; и индикаторную панель, обеспечивающую изображение на участке, соответствующем каждому из прозрачных окон, при этом, по меньшей мере, часть индикаторной панели расположена ниже основания переключателя.
2. Устройство по п.1, в котором множество рычажных кнопок содержит: множество кнопок, которые индивидуально разделены; и упругую пластину, которая представляет собой пластинообразный элемент, расположенный ниже множества кнопок, и содержит множество упругих частей, при этом часть упругой пластины, которая соответствует множеству кнопок, является частично вырезанной, каждая из множества упругих частей имеет вырез, соответствующий каждому из прозрачных окон.
3. Устройство по п.2, в котором каждая из множества упругих частей содержит свободный край, частично вырезанный по контуру каждой из кнопок, и закрепленный невырезанный край, причем, когда нажимается кнопка, свободный край перемещается.
4. Устройство по п.2, в котором упругая пластина выполнена в виде металлической пластины.
5. Устройство по п.2, в котором упругая пластина выполнена в виде пластиковой или резиновой пластины.
6. Устройство по п.1, в котором множество рычажных кнопок содержит единую кнопочную пластину, при этом единая кнопочная пластина разделена на множество кнопочных участков, один край каждого из кнопочных участков закреплен, а другие его края частично вырезаны.
7. Устройство по п.6, в котором множество рычажных кнопок дополнительно содержит кнопочную подкладку, которая расположена ниже кнопочной пластины и имеет множество вырезов, которые должным образом соответствуют прозрачным окнам множества рычажных кнопок.
8. Устройство по п.7, в котором множество выступов, которое должным образом соответствует множеству переключателей, расположено на задней поверхности кнопочной подкладки.
9. Устройство по п.1, в котором множество рычажных кнопок содержит: множество кнопок, которые индивидуально разделены; и опорную конструкцию, поддерживающую закрепленный край каждой из множества кнопок.
10. Устройство по п.9, в котором множество рычажных кнопок дополнительно содержит кнопочную подкладку, которая расположена ниже множества кнопок и имеет множество вырезов, которые должным образом соответствуют прозрачным окнам множества рычажных кнопок, в котором опорная конструкция представляет собой часть основания переключателя, которое расположено ниже кнопочной подкладки и поддерживает части кнопочной подкладки, соответствующие закрепленным краям множества кнопок.
11. Устройство по п.10, в котором множество выступов, которое должным образом соответствует множеству переключателей, расположено на задней поверхности кнопочной подкладки.
12. Устройство по п.1, в котором основание переключателя расположено между множеством рычажных кнопок и индикаторной панелью и имеет вырезы, которые должным образом соответствуют прозрачным окнам множества рычажных кнопок.
13. Устройство по п.12, дополнительно содержащее усиливающую пластину, которая расположена между основанием переключателя и индикаторной панелью, имеет вырезы, соответствующие окнам, и защищает индикаторную панель, поддерживая заднюю поверхность основания переключателя.
14. Устройство по п.1, в котором основание переключателя расположено рядом с краями индикаторной панели.
15. Устройство по п.14, дополнительно содержащее усиливающую конструкцию, которая расположена ниже основания переключателя и поддерживает заднюю поверхность основания переключателя.
16. Устройство по п.14, в котором основание переключателя выполнено в одном корпусе с печатной платой (РСВ), управляющей индикаторной панелью.
17. Переносное электронное устройство, содержащее: множество рычажных кнопок, имеющих прозрачное окно, по меньшей мере, на части каждой из рычажных кнопок, при этом один край каждой из рычажных кнопок закреплен, а другие края каждой из рычажных кнопок являются упруго-вертикально отклоненными; основание переключателя, которое расположено ниже множества рычажных кнопок, включает в себя вырезы, которые должным образом соответствуют окнам, и формирует сигнал переключения в соответствии с движением любой из множества рычажных кнопок с помощью множества переключателей, расположенных так, чтобы должным образом соответствовать упругим частям рычажных кнопок; индикаторную панель, обеспечивающую изображение на участке, соответствующем каждому из прозрачных окон, при этом, по меньшей мере, часть индикаторной панели расположена ниже основания переключателя; и блок управления кнопочным отображением, который отображает изображения, меняющиеся в соответствии с сигналом переключателя, на участках индикаторной панели, соответствующих прозрачным окнам.
18. Переносное электронное устройство по п.17, в котором множество рычажных кнопок содержит: множество кнопок, которые индивидуально разделены; и упругую пластину, которая представляет собой пластинообразный элемент, расположенный ниже множества кнопок, и содержит множество упругих частей, при этом часть упругой пластины, которая соответствует множеству кнопок, частично вырезана, и каждая из множества упругих частей имеет вырез, соответствующий каждому из прозрачных окон.
19. Переносное электронное устройство по п.18, в котором каждая из множества упругих частей содержит свободный край, частично вырезанный по контуру каждой из кнопок, и закрепленный невырезанный край, причем, когда нажимается кнопка, свободный край перемещается.
20. Переносное электронное устройство по п.18, в котором упругая пластина выполнена в виде металлической пластины.
21. Переносное электронное устройство по п.18, в котором упругая пластина выполнена в виде пластиковой или резиновой пластины.
22. Переносное электронное устройство по п.17, в котором множество рычажных кнопок содержит единую кнопочную пластину, при этом единая кнопочная пластина разделена на множество кнопочных участков, один край каждого из кнопочных участков закреплен, а другие его края частично вырезаны.
23. Переносное электронное устройство по п.22, в котором множество рычажных кнопок дополнительно содержит кнопочную подкладку, которая расположена ниже кнопочной пластины и имеет множество вырезов, которые должным образом соответствуют прозрачным окнам множества рычажных кнопок.
24. Переносное электронное устройство по п.23, в котором множество выступов, которое должным образом соответствует множеству переключателей, расположено на задней поверхности кнопочной подкладки.
25. Переносное электронное устройство по п.17, в котором множество рычажных кнопок содержит: множество кнопок, которые индивидуально разделены; и опорную конструкцию, поддерживающую закрепленный край каждой из множества кнопок.
26. Переносное электронное устройство по п.25, в котором множество рычажных кнопок дополнительно содержит кнопочную подкладку, которая расположена ниже множества кнопок и имеет множество вырезов, которые должным образом соответствуют прозрачным окнам множества рычажных кнопок, в котором опорная конструкция представляет собой часть основания переключателя, которое расположено ниже кнопочной подкладки и поддерживает части кнопочной подкладки, соответствующие закрепленным краям множества кнопок.
27. Переносное электронное устройство по п.26, в котором множество выступов, которое должным образом соответствует множеству переключателей, расположено на задней поверхности кнопочной подкладки.
28. Переносное электронное устройство по п.17, в котором основание переключателя расположено между множеством рычажных кнопок и индикаторной панелью и имеет вырезы, которые должным образом соответствуют окнам множества рычажных кнопок.
29. Переносное электронное устройство по п.28, дополнительно содержащее усиливающую пластину, которая расположена между основанием переключателя и индикаторной панелью, имеет вырезы, которые должным образом соответствуют прозрачным окнам, и защищает индикаторную панель, поддерживая заднюю поверхность основания переключателя.
30. Переносное электронное устройство по п.17, в котором основание переключателя расположено рядом с краями индикаторной панели.
31. Переносное электронное устройство по п.30, дополнительно содержащее усиливающую конструкцию, которая расположена ниже основания переключателя и поддерживает заднюю поверхность основания переключателя.
32. Переносное электронное устройство по п.30, в котором основание переключателя выполнено в одном корпусе с печатной платой (РСВ), управляющей индикаторной панелью.
РИСУНКИ
|
|