|
|
(21), (22) Заявка: 2008102640/09, 24.06.2005
(24) Дата начала отсчета срока действия патента:
24.06.2005
(43) Дата публикации заявки: 27.07.2009
(46) Опубликовано: 10.02.2010
(56) Список документов, цитированных в отчете о поиске:
ЕР 0680061 А1, 02.11.1995. WO 03098648 A1, 27.11.2003. RU 2183877 С2, 20.06.2002. US 2004199015 A1, 07.10.2004.
(85) Дата перевода заявки PCT на национальную фазу:
24.01.2008
(86) Заявка PCT:
RU 2005/000350 20050624
(87) Публикация PCT:
WO 2007/001202 20070104
Адрес для переписки:
129090, Москва, ул.Б.Спасская, 25, стр.3, ООО “Юридическая фирма Городисский и Партнеры”, пат.пов. А.В.Мицу, рег. 364
|
(72) Автор(ы):
Недошивин Валерий Павлович (RU), Степанов Алексей Борисович (RU), Тарасов Сергей Владимирович (RU), Варакин Игорь Николаевич (RU), Разумов Сергей Николаевич (RU)
(73) Патентообладатель(и):
ЮНИВЕРСАЛ СУПЕРКАПАСИТОРЗ ЭлЭлСи (US)
|
(54) ЭЛЕКТРОД И КОЛЛЕКТОР ТОКА ДЛЯ ЭЛЕКТРОХИМИЧЕСКОГО КОНДЕНСАТОРА С ДВОЙНЫМ ЭЛЕКТРИЧЕСКИМ СЛОЕМ И ФОРМИРУЕМЫЙ С НИМИ ЭЛЕКТРОХИМИЧЕСКИЙ КОНДЕНСАТОР С ДВОЙНЫМ ЭЛЕКТРИЧЕСКИМ СЛОЕМ
(57) Реферат:
Изобретение относится к электроду для использования в электрохимическом конденсаторе. Согласно изобретению электрод представляет собой поляризуемый электрод, состоящий из активированного углеродного материала, имеющего, по существу, нулевое процентное содержание золы и низкое процентное содержание переходных металлов. При создании конденсатора с двойным электрическим слоем (ДЭС-конденсатор) также предпочтительно используется неполяризуемый электрод, состоящий из смеси диоксида свинца/сульфата свинца. В ДЭС-конденсаторе может использоваться электролит на основе кислоты, такой как водный сернокислотный электролит. Электрод также включает в себя коллектор тока, который предпочтительно содержит основной материал, состоящий из свинца или соединения свинца, и материал защитного покрытия, который является стойким к электролиту на основе кислоты. Предпочтительно материал защитного покрытия сформирован из полимерной основы и проводящей добавки, которые после этого могут наноситься на основной материал коллектора тока различными способами. Техническим результатом является улучшенная способность к накоплению энергии. 4 н. и 28 з.п. ф-лы, 5 ил.
ПРЕДПОСЫЛКИ ИЗОБРЕТЕНИЯ
[0001] Настоящее изобретение относится к электроду для использования в электрохимическом конденсаторе. В частности, электрод по настоящему изобретению идеален для использования в электрохимическом конденсаторе со способностью накапливать большое количество энергии, причем конденсатор имеет двойной электрический слой. Такие конденсаторы часто называют «ультраконденсаторами» или «суперконденсаторами», однако здесь и далее они будут называться просто «конденсаторами».
[0002] Интерес к использованию конденсаторов как к средству накопления электрической энергии постоянно растает. Такие конденсаторы могут эффективно накапливать и перераспределять большое количество электрической энергии. В целях иллюстрации, а не ограничения такие конденсаторы могут использоваться: в качестве основного источника энергии в определенном месте; в качестве резервного источника электропитания в определенном месте; для обеспечения качества энергии (т.е. для компенсации кратковременных «бросков», «всплесков» и «скачков» мощности, обычных для питаемого от электростанции источника электроэнергии); для обеспечения выравнивания нагрузки путем накопления определенного количества электроэнергии, получаемой во вне пиковые часы, и перераспределения упомянутой электроэнергии во время периодов пикового спроса и в качестве первичного или вторичного источника энергии для разнообразных транспортных средств.
[0003] Конденсатор с двойным электрическим слоем (ДЭС) обычно включает в себя пару располагающихся на расстоянии друг относительно друга электродов, между которыми находится электролит. Электролит может быть либо водным, либо неводным по природе в зависимости от состава электродов. Обычно в пространстве между электродами также находится сепаратор. Один или оба электрода могут накапливать электрическую энергию по электрохимическому механизму двойного слоя. В процессе накопления энергии двойным электрическим слоем на электродной стороне границы раздела электрод/электролит формируется слой электронов. На электролитной стороне границы раздела электрод/электролит также формируется слой положительных ионов. Напряжение на границе раздела электрод/электролит возрастает с аккумулированием заряда, который отдается во время разряда конденсатора.
[0004] Обычно один или оба электрода могут быть поляризуемыми электродами. Поляризуемый электрод может включать, например, активный материал и коллектор тока, к которому крепится этот активный материал. Наиболее часто используемым активным материалом является один из множества активированных углеродных материалов. Активированные углеродные материалы дешевы и имеют большую площадь удельной поверхности на единицу массы. Обычно электроды формируются из активированных углеродных материалов в форме активированного углеродного порошка и связующего или из тканых или нетканых активированных углеродно-волокновых материалов. Однако приготовление электродов с ДЭС из активированного углеродного порошка часто является предпочтительным по причине его более низкой стоимости.
[0005] Как указано выше, в типичном конденсаторе один или оба электрода могут быть поляризуемыми. Тем не менее, было выяснено, что выполнение ДЭС-конденсатора с одним поляризуемым и одним неполяризуемым электродом обеспечивает ДЭС-конденсатор с удельной запасаемой энергией, которая больше, чем удельная запасаемая энергия конденсатора с двумя поляризуемыми электродами. В таком ДЭС-конденсаторе хранение заряда на неполяризуемом электроде происходит в результате реакций окисления и восстановления на границе раздела неполяризуемого электрода и электролита. Обычно говорят, что такой электрод демонстрирует фарадеевское псевдоемкостное поведение.
[0006] Каждый из электродов такого ДЭС-конденсатора обычно прикрепляется какими-либо средствами к коллектору тока. Коллекторы тока обычно выполняются из материала, демонстрирующего электрическую проводимость, обычно – металла. Поскольку, по меньшей мере, часть коллектора тока вместе с материалом электрода должна находиться в электролите, должно быть обеспечено, чтобы материал коллектора тока не реагировал с ним неблагоприятным образом. Например, электролит ДЭС-конденсатора может состоять из водной серной кислоты. В таком случае должны быть предприняты определенные меры предосторожности, такие как, например, нанесение защитного покрытия или защита каким-либо другим образом той части коллектора тока, которая подвергается воздействию электролита, поскольку серно-кислотный электролит может корродировать или разъедать материал коллектора тока.
[0007] Хотя на настоящий момент известны различные конструктивные варианты исполнения ДЭС-конденсаторов, каждый из них имеет один или более неотъемлемых недостатков. Например, активированные углеродные порошки, используемые для формирования электродов обычных ДЭС-конденсаторов, часто являются производными переработки каменноугольного сырья. Такой активированный углеродный порошок, как правило, будет иметь высокую зольность (например, 15 или более массовых процентов). Кроме этого эти активированные углеродные порошки также обычно содержат неприемлемо большое количество примесей переходных металлов. Этот высокий процент зольности и большое количество примесей переходных металлов, присутствующих в активированном углеродном порошке, в конечном итоге станут, конечно же, частью любого электрода, сформированного из них. Наличие этих примесей в электроде ограничивает напряжение, до которого ДЭС-конденсатор с использованием этого электрода может быть заряжен. Например, наличие примесей переходных металлов может снизить напряжение разложения кислотного электролита и, таким образом, снизить рабочее напряжение конденсатора.
[0008] Также, есть и другие недостатки известных конструкций ДЭС-конденсаторов. Например, многие из активированных углеродных материалов, используемых для формирования электродов таких конденсаторов, требуют добавления большого количества связующего материала. Использование большего количества связующего материала приводит к соответствующему снижению количества активированного углеродного материала, содержащегося в получающемся электроде. Сокращение количества присутствующего в электроде активированного углерода впоследствии уменьшает емкостные и энергонакопительные характеристики конденсатора, в котором установлен этот электрод. Кроме этого, для формирования коллекторов тока ДЭС-конденсатора часто используются сталь и сходные металлы. К сожалению, сталь и многие другие металлы неустойчивы по отношению к кислотному электролиту. Например, в присутствии серно-кислотного электролита стальной коллектор тока будет деградировать, например, из-за коррозии. Коррозия коллектора тока может оказать негативное влияние на ресурс циклирования и срок службы конденсатора. Как следствие, чтобы снизить или избежать деградации таких коллекторов тока, в известных конструкциях ДЭС-конденсаторов часто используется защитное покрытие, которое является устойчивым по отношению к используемому в конденсаторе электролиту. Защитное покрытие, в зависимости от его состава, может быть нанесено на коллектор тока самыми разнообразными методами. В качестве одного примера, для стального коллектора тока может использоваться защитный слой из графитовой фольги. В то время как некоторые из этих материалов защитных покрытий могут демонстрировать приемлемую устойчивость по отношению к электролиту, в котором они находятся, большие трудности вызывает получение адекватной адгезии между защитными покрытиями и нижележащими электродными материалами. В результате, электролит часто проникает между защитным покрытием и коллектором тока. Следует понимать, что любая деградация или разрушение такого металлического коллектора тока может негативно сказаться на работе ДЭС-конденсатора. Например, когда используется серно-кислотный электролит, даже крайне малые количества присутствующего в нем железа могут резко понизить напряжение разложения электролита, приводя к значительному уменьшению рабочего напряжения конденсатора. Следовательно, необходимо исключить деградацию коллектора тока.
[0009] Как можно понять из вышеизложенного, с известными конструкциями ДЭС-конденсаторов связаны несколько недостатков. В электроде по настоящему изобретению используется улучшенная конструкция, которая существенно снижает или исключает многие из этих проблем, связанных с известными ДЭС-конденсаторами. Конструкция электрода по настоящему изобретению может быть использована для производства ДЭС-конденсатора, имеющего повышенную удельную энергию, большую надежность, больший ресурс циклирования и увеличенный срок службы.
СУЩНОСТЬ ИЗОБРЕТЕНИЯ
[0010] Настоящее изобретение включает в себя новый электрод и формируемый с ним ДЭС-конденсатор. Электрод по настоящему изобретению предусматривается как поляризуемый электрод. Состав электрода предпочтительно содержит активированный углеродный материал, который имеет по существу нулевую зольность и который по существу не содержит примесей переходных металлов. Такие активированные углеродные материалы обычно получают из материалов на синтетической основе, например, путем карбонизации и последующей активации фурановой смолы или полимера. Однако также могут быть использованы и другие активированные углеродные материалы, как это будет описано более подробно ниже. Предпочтительно, во время производства электродного материала к активированному углеродному материалу добавляют фторсодержащее связующее, такое как, например, политетрафторэтилен (ПТФЭ), или подобное полимерное вещество. При конструировании ДЭС-конденсатора с использованием электрода по настоящему изобретению предпочтительно использовать также неполяризуемый электрод. В одном варианте реализации такого ДЭС-конденсатора предпочтительно используется неполяризуемый электрод, состоящий из соединения диоксида свинца/сульфата свинца.
[0011] В настоящем изобретении далее предусматривается ДЭС-конденсатор с использованием электрода по настоящему изобретению. Ожидается, что в таком ДЭС-конденсаторе может использоваться электролит на основе кислоты, такой как водный серно-кислотный электролит. Следовательно, настоящее изобретение также включает в себя коллектор тока для использования с вышеописанным электродом. Коллектор тока по настоящему изобретению предпочтительно состоит по существу из основного материала, который будет обеспечивать желаемое окно рабочего напряжения. Для этой цели может быть успешно использован ряд металлических и неметаллических материалов. Однако с учетом его способности удовлетворять различным физическим требованиям, одновременно имея низкую стоимость, свинец или соединение свинца является особенно привлекательным в качестве основного материала коллектора тока. Основной материал предпочтительно покрыт защитным материалом, который является устойчивым к электролиту на основе кислоты. Материал защитного покрытия предпочтительно образован из полимерной основы и проводящей добавки, которая впоследствии может быть нанесена на основной материал коллектора тока различными методами. Когда такой коллектор тока изготавливается с использованием свинца или соединения свинца в качестве основного материала, коллектор является менее дорогостоящим и более стабильным в электролите на основе кислоты, чем стальной коллектор тока. Кроме того, защитное покрытие, предусматриваемое в настоящем изобретении, более надежно, чем известные защитные покрытия, такие как покрытия из фольги, которые обычно прикрепляют к основному материалу коллектора тока посредством клея.
[0012] Таким образом, электрод по настоящему изобретению позволяет сформированному с ним ДЭС-конденсатору преодолеть многие из недостатков известных ДЭС-конденсаторов. Дополнительные подробности об электроде и ДЭС-конденсаторе по настоящему изобретению будут очевидны при изучении нижеследующего описания и обращении к прилагаемым рисункам.
КРАТКОЕ ОПИСАНИЕ РИСУНКОВ
[0013] В дополнение к вышеупомянутым признакам, другие аспекты настоящего изобретения станут очевидными из следующего описания чертежей и приводимых в качестве примеров вариантов реализации, на которых одинаковыми ссылочными номерами на разных видах обозначены идентичные или эквивалентные признаки и на которых:
Фигура 1а иллюстрирует вид спереди одного варианта реализации поляризуемого электродного узла по настоящему изобретению;
Фигура 1b представляет собой вид справа в сечении поляризуемого электродного узла по Фигуре 1а;
Фигура 2а представляет собой вид спереди поляризуемого электрода, являющегося частью поляризуемого электродного узла по Фигурам 1а-1b;
Фигура 2b представляет собой вид справа поляризуемого электрода по Фигуре 2а;
Фигура 3а представляет собой коллектор тока, являющийся частью поляризуемого электродного узла по Фигурам 1а-1b;
Фигура 3b представляет собой вид справа в сечении коллектора тока по Фигуре 3а;
Фигура 4 демонстрирует один вариант реализации ДЭС-конденсатора по настоящему изобретению; и
Фигура 5 показывает альтернативный вариант реализации ДЭС-конденсатора по настоящему изобретению, в котором используется множество поляризуемых электродных узлов по Фигурам 1а-1b.
ПОДРОБНОЕ ОПИСАНИЕ ПРИМЕРНОГО(ЫХ) ВАРИАНТА(ОВ) РЕАЛИЗАЦИИ
[0014] Подробный вид одного варианта реализации поляризуемого электродного узла 10 по настоящему изобретению можно увидеть при обращении к Фигуре 1. Поляризуемый электродный узел 10 образован путем послойного размещения коллектора 20 тока с защитным покрытием 30 между двумя поляризуемыми электродами 15. Поляризуемые электроды 15 и коллектор 20 тока можно увидеть по отдельности на Фигурах 2-3 соответственно. Следует отметить, что некоторые размеры, в частности толщина различных компонентов электродного узла 10, были преувеличены на Фигурах 1-5 для большей ясности. И хотя вполне возможно, что электродный узел 10 по настоящему изобретению может демонстрировать именно такое отношение размеров, не существует какого-либо намерения ограничить электродный узел по настоящему изобретению тем, что показано на Фигурах 1-5.
[0015] Материал, используемый для изготовления поляризуемых электродов 15, показанных на Фигурах 1-2 и 4-5, представляет собой активированный углеродный материал, имеющий очень низкое, или по существу нулевое процентное содержание золы (зольность). Активированный углеродный материал предпочтительно также по существу свободен от примесей переходных металлов. А именно, предпочтительно, чтобы концентрация переходных металлов в активированном углеродном материале была менее 500 частей на миллион (ч./млн). Могут успешно использоваться активированные угли, производимые из различных синтетических материалов, из углеродной сажи и из растительных и минеральных материалов. Такие материалы могут подвергаться специальному очищению для того, чтобы снизить концентрацию переходных металлов до приемлемого уровня. Как было установлено, что активированный углеродный материал, полученный путем соответствующей карбонизации и последующей активации фурановой смолы или полимера, является особенно подходящим для использования при формировании поляризуемого электрода по настоящему изобретению. Приемлемая форма такого активированного углеродного материала доступна в России под коммерческим наименованием «ФАС». Такой активированный углеродный материал может быть в виде листа, диска, гранул, порошка или другом виде. Предпочтительно, однако, чтобы поляризуемые электроды 15 изготавливались с использованием порошкообразного активированного углеродного материала. Более предпочтительно, диаметр частиц активированного углерода (угля) составляет не более 100 мкм, и он может достигать вплоть до примерно 100 Å.
[0016] К активированному углеродному порошковому материалу добавляется связующее. И хотя ряд различных связующих материалов может быть использован с приемлемыми результатами, в одном примерном варианте реализации поляризуемого электрода по настоящему изобретению связующее включает в себя фторсодержащее соединение, а в частности фторированный полиолефин. Было установлено, что одним конкретным связующим материалом, который дает хорошие результаты, является политетрафторэтилен (ПТФЭ). В конкретном варианте реализации поляризуемого электрода 15 связующее, содержащее фторопластовую эмульсию, было смешано с порошком активированного угля. Приемлемый вариант такой фторопластовой эмульсии доступен в России под коммерческим наименованием «Ф-4Д». Фторопластовая эмульсия Ф-4Д является водной суспензией порошка фторопласта (Тефлона). Количество связующего, добавляемого к активированному углеродному материалу, может изменяться в зависимости от конкретного используемого активированного углеродного материала. Однако предпочтительно использовать примерно 0,5-5,0 массового процента связующего материала. Например, при формировании конкретного поляризуемого электрода 15, показанного на Фигурах 1-2 и 4-5, в порошок активированного угля был примешан приблизительно 1,0 массовый процент фторопластовой эмульсии.
[0017] Поляризуемый электрод 15 по настоящему изобретению может быть сформирован с помощью множества известных методов в зависимости от его желаемых размера и формы. В целях иллюстрации, поляризуемые электроды по настоящему изобретению могут быть отформованными, штампованными, прессованными или прокатанными до желаемых размера и/или формы. В качестве конкретного примера, поляризуемые электроды 15, используемые в примерном поляризуемом электродном узле 10 по Фигурам 1 и 4, были сформированы сначала путем смешивания порошка активированного угля со фторсодержащим связующим материалом и последующей сушки получающегося в результате состава c формованием кирпичей. Позже эти кирпичи были пропитаны этиловым спиртом и прокатаны в полосы желаемой толщины. Затем, после того как полоса из состава активированного угля/связующего высохла, из нее вырезали электродные карты или пластины предварительно заданной длины и ширины. Однако, как указано выше, поляризуемый электрод по настоящему изобретению может быть различным по форме и размеру. Например, конкретный поляризуемый электрод 15, показанный на Фигурах 1-2 и 4-5, имеет длину (высоту) приблизительно 135 мм, ширину приблизительно 70 мм и толщину приблизительно 1,4 мм.
[0018] В поляризуемом электродном узле 10 по настоящему изобретению также используется коллектор 20 тока. В примерном варианте реализации поляризуемого электродного узла 10, показанного на Фигурах 1 и 4-5, можно видеть, что коллектор тока включает в себя проводящую подложку в форме пластины 25 коллектора, на которую нанесено защитное покрытие 30. Однако следует понимать, что размер и/или форма коллектора 20 тока не ограничивается тем, что показано, а может варьироваться так, как это необходимо, чтобы соответствовать конструкции того конденсатора, в котором он будет установлен. Например, проводящая подложка может иметь и другие формы, такие как цилиндр. Следует также понимать, что, для большей ясности, толщина компонентов коллектора тока на чертежах может быть преувеличена. Например, в конкретном варианте реализации коллектора 20 тока, показанном на Фигурах 1 и 3-5, толщина пластины 25 коллектора фактически составляет всего лишь примерно 0,2 мм, а толщина защитного покрытия фактически составляет всего лишь примерно 7 мкм.
[0019] В поляризуемом электродном узле 10 по настоящему изобретению пластина 25 коллектора находится между парой поляризуемых электродов 15. Пластина 25 коллектора может состоять из целого ряда проводящих металлических и неметаллических материалов. Например, предусматривается, что пластина 25 коллектора может быть изготовлена из таких проводящих материалов, как свинец, тантал, ниобий, серебро, медь, висмут, рутений, плотноупакованные графиты или нитриды и карбиды различных переходных металлов. Однако, ввиду его способности удовлетворять требованиям по различным физическим свойствам и его низкой стоимости, предпочтительно, чтобы пластина 25 коллектора по настоящему изобретению состояла из свинца или соединения свинца. Например, в конкретном варианте реализации коллектора 20 тока, показанном на Фигурах 1 и 3-5, пластина 25 коллектора выполнена из соединения, состоящего по существу из свинца и приблизительно 3 массовых процентов олова. Свинец предпочтителен по сравнению со сталью, так как он более стойкий в кислотном электролите.
[0020] Хотя пластина 25 коллектора на основе свинца является более стойкой в кислотном электролите, чем стальная, она не полностью стойкая к нему. Фактически, с течением времени кислотный электролит может разъесть или другим образом негативно повлиять на пластину коллектора тока на основе свинца, тем самым приводя к сниженным эксплуатационным характеристикам конденсатора. Поэтому пластина 25 коллектора на основе свинца по настоящему изобретению предпочтительно снабжена защитным покрытием 30. Предпочтительно, защитное покрытие 30 заключает в оболочку, по меньшей мере, ту часть пластины 25 коллектора, которая будет подвергаться воздействию электролита того конденсатора, в который она будет установлена. Например, в примерном варианте реализации электродного узла 10 по настоящему изобретению защитное покрытие 30 наносится на область, которая по существу соответствует той области пластины 25 коллектора, которая будет соприкасаться с каждым поляризуемым электродом 15. Как видно на Фигурах 4-5, именно эта область поляризуемого электродного узла 10 находится в существенном контакте с электролитом проиллюстрированного на них примерного ДЭС-конденсатора.
[0021] Защитное покрытие 30, нанесенное на пластину 25 коллектора, может иметь различные составы. Предпочтительно, защитное покрытие 30 состоит из проводящего композита, который устойчив в кислотном электролите, таком как серно-кислотный электролит. Проводящий композит может быть получен из материала полимерной основы и проводящей добавки. Неограничительные примеры приемлемых материалов полимерной основы включают: битум, смолу, каменноугольный пек, галогенезированные полимеры, полимеры на основе полиуретана и кремнийорганические соединения. Неограничительные примеры приемлемых проводящих добавок включают: углеродную сажу, графит и углеродное волокно. Предпочтительно, проводящая добавка составляла приблизительно 30-90 массовых процентов защитного покрытия 30. Проводящая добавка может составлять больше или меньше, чем 30-90 массовых процентов защитного покрытия 30, но обычно это связано с нежелательными последствиями. Например, было установлено, что при наличии менее 30 массовых процентов проводящей добавки проводимость защитного покрытия 30 может стать неудовлетворительной. Подобным образом было установлено, что при содержании более 90 массовых процентов проводящей добавки уровень защиты, обеспечиваемый защитным покрытием 30, может ухудшаться. В альтернативном варианте реализации коллектора тока по настоящему изобретению защитное покрытие может быть приготовлено путем смешивания мономера и олигомера (содержащего пластификаторы и отвердители) с проводящей добавкой. В данном варианте реализации полимерная основа может быть образована непосредственно на поверхности пластины коллектора путем полимеризации мономера и олигомера.
[0022] Защитное покрытие 30 может быть приготовлено и нанесено рядом известных способов. Например, первоначальное приготовление может включать в себя смешивание материала полимерной основы с проводящей добавкой и последующее создание раствора путем введения этой смеси в растворитель. Нанесение защитного покрытия 30 на пластину 25 коллектора может быть выполнено традиционными средствами. Например, защитное покрытие 30 может быть нанесено на пластину 25 коллектора кистью, валиком, окунанием, трафаретной печатью, распылением или другими сходными способами нанесения. В случае, если растворитель был введен в материал защитного покрытия 30 перед нанесением, то растворитель предпочтительно удаляют из него путем сушки после того, как было нанесено защитное покрытие. Кроме того, может использоваться процесс термической обработки с целью улучшения адгезии между защитным покрытием 30 и пластиной 25 коллектора и/или защитных характеристик защитного покрытия. Изготовленный таким образом коллектор 20 тока является дешевым и высокоустойчивым к коррозии при воздействии кислотного электролита. Кроме того, защитное покрытие 30 по настоящему изобретению более надежно, чем другие известные способы защиты коллектора тока, такие как, например, приклеивание защитной фольги к пластине коллектора. Ниже приводятся несколько неограничивающих примеров приемлемых составов защитного покрытия.
ПРИМЕР 1
Была приготовлена композитная смесь, содержащая приблизительно 30 массовых процентов битумного полимера и приблизительно 70 массовых процентов проводящей добавки – углеродной сажи. Этот композит был приготовлен в присутствии гептанового растворителя, чтобы упростить нанесение на пластину коллектора. После этого композит был нанесен на пластину коллектора и впоследствии высушен при температуре приблизительно 60°С, чтобы удалить растворитель. Затем покрытая композитом пластина коллектора была термически обработана при температуре примерно 120-140°С.
ПРИМЕР 2
Была приготовлена композитная смесь, содержащая приблизительно 30 массовых процентов полимера на основе гудрона и приблизительно 70 массовых процентов проводящей добавки – углеродной сажи. Этот композит был приготовлен в присутствии гептанового растворителя, чтобы упростить нанесение на пластину коллектора. После этого композит был нанесен на пластину коллектора и впоследствии высушен при температуре приблизительно 60°С, чтобы удалить растворитель. Затем покрытая композитом пластина коллектора была термически обработана при температуре примерно 120-140°С.
ПРИМЕР 3
Была приготовлена композитная смесь, содержащая приблизительно 25 массовых процентов хлорированного полимера холодного отверждения и приблизительно 75 массовых процентов проводящей добавки – мелкодисперсного графита. Подходящий хлорированный полимер холодного отверждения можно приобрести под товарным знаком Ремохлор. Композит был нанесен на пластину коллектора, а затем покрытая композитом пластина коллектора была термически обработана при температуре примерно 60°С.
ПРИМЕР 4
Была приготовлена композитная смесь, содержащая приблизительно 25 массовых процентов % кремнийорганического полимера и приблизительно 75 массовых процентов проводящей добавки – мелкодисперсного волокнистого материала. Подходящий кремнийорганический полимер можно приобрести под товарным знаком KP-303B в компании BASF®. Приемлемый волокнистый материал может быть получен из ископаемого угля путем графитизации. Композит был нанесен на пластину коллектора, а затем покрытая композитом пластина коллектора была термически обработана при температуре примерно 120°С-130°С.
ПРИМЕР 5
Была приготовлена композитная смесь, содержащая приблизительно 25 массовых процентов полимера на основе полиуретанового лака и приблизительно 75 массовых процентов проводящей добавки – мелкодисперсного волокнистого материала. Подходящий полимер на основе полиуретанового лака можно приобрести под товарным знаком CRAMOLIN® URETHANE-Clear в компании ITW Chemische Produkte GmbH в Германии. Приемлемый волокнистый материал может быть получен из ископаемого угля путем графитизации. Композит был нанесен на пластину коллектора, а затем покрытая композитом пластина коллектора была термически обработана при температуре примерно 90°С.
[0023] После того как путем нанесения достаточного количества защитного покрытия 30 на пластину 25 коллектора был изготовлен коллектор 20 тока, к нему можно было прикрепить поляризуемые электроды 15. Поляризуемые электроды 15 по настоящему изобретению могут быть прикреплены к покрытой защитным покрытием 30 пластине 25 коллектора рядом способов, включая, в целях иллюстрации, а не ограничения соединение склеиванием и/или припрессовкой/формовкой. Комбинация коллектора 20 тока и поляризуемых электродов 15 образует примерный поляризуемый электродный узел 10, показанный на Фигурах 1 и 4-5. Хотя в примерном варианте реализации поляризуемого электродного узла 10 по Фигурам 1 и 4-5 он показан имеющим поляризуемый электрод 15 на противоположных сторонах пластины 25 коллектора, также является возможным, в зависимости от конструкции конденсатора, в котором будет установлен этот поляризуемый электродный узел, поместить поляризуемый электрод только с одной стороны пластины коллектора.
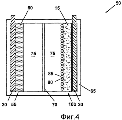
[0024] Поляризуемый электродный узел 10 предназначен для использования в электрохимическом конденсаторе. В качестве простейшего примера, такой электрохимический конденсатор может иметь только два электрода, разделенных электролитом и, возможно, сепаратором. Хотя является возможным построить такой конденсатор, используя два поляризуемых электродных узла 10, предпочтительно, чтобы конденсатор по настоящему изобретению имел как поляризуемый электродный узел, так и неполяризуемый электродный узел. Такую компоновку можно увидеть при специальном обращении к Фигуре 4. Фигура 4 иллюстрирует примерный и упрощенный вариант реализации ДЭС-конденсатора 50 по настоящему изобретению. Как видно, поляризуемый электродный узел 10b и неполяризуемый электродный узел 55 находятся на по существу противоположных концах герметичного корпуса 65. Поляризуемый электродный узел 10b включает в себя описанный ранее коллектор 20 тока по настоящему изобретению, к которому прикреплен один единственный поляризуемый электрод 15. Неполяризуемый электродный узел 55 включает в себя описанный ранее коллектор 20 тока по настоящему изобретению, к которому прикреплен один единственный неполяризуемый электрод 60. И хотя для изготовления неполяризуемого электрода по настоящему изобретению может использоваться ряд других материалов, неполяризуемый электрод 60 в примерном варианте реализации, показанном на Фигуре 4, сформирован из смеси диоксида свинца и сульфата свинца. Неполяризуемый электрод может быть сформирован и прикреплен к своему коллектору 20 тока любым из множества известных методов. Поляризуемый и неполяризуемый электроды 15, 60 могут быть симметричной или асимметричной конструкции. А именно, поляризуемый и неполяризуемый электроды 15, 60 могут иметь сходные или несходные абсолютные емкости. Когда в ДЭС-конденсаторе по настоящему изобретению используется асимметричная конструкция, абсолютная емкость электрода с большей емкостью предпочтительно, по меньшей мере, в 3 раза больше, а более предпочтительно – в приблизительно 10 раз больше абсолютной емкости электрода с меньшей емкостью.
[0025] Как можно видеть на Фигуре 4, коллекторам 20 тока поляризуемого и неполяризуемого электродных узлов 10b, 55 обеспечена возможность выступать сквозь корпус 65 для обеспечения соответствующих электрических соединений. На поверхности раздела между коллекторами 20 тока и корпусом 65 может иметься уплотнение (не показано). Внутри корпуса 65 может находиться сепаратор 70, разделяющий пустое пространство между электродными узлами 10b, 55. Сепаратор 70 может быть выполнен из различных материалов. Например, сепаратор 70 может быть выполнен из одного из множества материалов, обычно используемых при производстве сепараторов свинцово-кислотных аккумуляторных батарей. Независимо от того, какой конкретный материал выбран для создания сепаратора 70, он должен обеспечивать высокий уровень переноса кислорода от положительного электрода к отрицательному электроду (т.е. от неполяризуемого электрода к поляризуемому электроду в варианте реализации по Фигуре 4), а также позволять реализовать эффективный кислородный цикл во время заряда конденсатора. В примерном варианте реализации по Фигуре 4 сепаратор 70 изготовлен из ионопроницаемого стеклянного материала. Остающееся пустое пространство внутри корпуса 65 по существу заполнено электролитом 75. В зависимости от состава электродов 15, 60, в таком конденсаторе можно соответствующим образом использовать ряд различных электролитов. В примерном варианте реализации ДЭС-конденсатора 50, приводимом на Фигуре 4, в качестве электролита 75 используется водный раствор серной кислоты.
[0026] При работе на ДЭС-конденсатор 50 подается напряжение. При подаче напряжения на границе раздела неполяризуемого электрода 60 и электролита 75 будут происходить реакции окисления/восстановления. Эти реакции окисления/восстановления являются результатом фарадеевского псевдоемкостного поведения неполяризуемого электрода 60 и отвечают за перенос заряда на неполяризуемом электроде. Во время подачи напряжения поляризуемый электрод 15 будет запасать электрическую энергию посредством электрохимического механизма двойного слоя (нефарадеевский процесс). В этом процессе на границе раздела электрод/электролит со стороны электрода 15 будет формироваться слой электронов 80, в то время как со стороны электролита на границе раздела электрод/электролит будет формироваться слой положительных ионов 85. Напряжение на этой границе раздела увеличивается с аккумулированием заряда и в итоге отдается при разряде конденсатора.
[0027] Многоэлементный ДЭС-конденсатор 100 по настоящему изобретению показан на Фигуре 5. В многоэлементном ДЭС-конденсаторе 100 используется семь поляризуемых электродных узлов 10, показанных на Фигуре 1. В многоэлементном ДЭС-конденсаторе 100 также используется семь неполяризуемых электродных узлов 110. Семь поляризуемых электродных узлов 10 и семь неполяризуемых электродных узлов 110 расположены внутри корпуса 125 на некотором расстоянии в чередующемся порядке друг относительно друга. В отличие от ДЭС-конденсатора 50 по Фигуре 4, в поляризуемых и неполяризуемых электродных узлах 10, 110 ДЭС-конденсатора 100 по Фигуре 5 используется коллектор 20 тока, который проложен между двумя электродами 15, 115. Каждый из неполяризуемых электродных узлов 110 также показан по существу заключенным внутри стеклянного сепаратора 120. Водный серно-кислотный электролит 130 по существу заполняет пустое пространство внутри корпуса 125 и между электродными узлами 10, 110. ДЭС-конденсатор 100 по настоящему изобретению работает похожим на ДЭС-конденсатор по Фигуре 4 образом. Однако из-за увеличенного количества использованных электродных узлов 10, 110 общая электрическая емкость ДЭС-конденсатора 100 увеличена.
[0028] Конструкция поляризуемого электрода/электродного узла позволяет изготовить ДЭС-конденсатор с улучшенной способностью к накоплению энергии. Например, изготовленные экспериментальные ДЭС-конденсаторы с использованием поляризуемого электродного узла и коллектора тока на основе свинца, как описано выше, продемонстрировали рабочее напряжение вплоть до примерно 2,2 вольта. Кроме этого эти электроды продемонстрировали удельную емкость в диапазоне приблизительно 900-1000 Ф/г, когда помещаются в серно-кислотный электролит. Следовательно, ДЭС-конденсаторы, изготовленные в соответствии с настоящим изобретением, могут обладать удельными энергиями примерно 18-20 Вт·ч/кг или приблизительно 60 Вт·ч/л.
[0029] Хотя выше подробно описаны некоторые варианты реализации настоящего изобретения, не следует считать, что объем изобретения ограничен настоящим раскрытием, и возможны изменения без отступления от объема изобретения, изложенного в следующей формуле изобретения.
Формула изобретения
1. Электрод для использования в электрохимическом конденсаторе, состоящий, по существу, из: смеси активного материала и связующего, причем упомянутый активный материал содержит активированный уголь, полученный в результате карбонизации и последующей активации фурановой смолы и/или фуранового полимера, а упомянутое связующее содержит между примерно 0,5 и примерно 5,0 мас.% фторсодержащего полимера; и коллектор тока, имеющий подложку, выполненную из электропроводящего материала, причем, по меньшей мере, часть упомянутой подложки заключена внутри кислотоустойчивого защитного покрытия, состоящего, по существу, из композита, имеющего материал полимерной основы и проводящую добавку.
2. Электрод по п.1, причем упомянутый электрод является поляризуемым.
3. Электрод по п.1, в котором упомянутое связующее добавлено в упомянутый активированный уголь в виде фторопластовой эмульсии.
4. Электрод по п.1, в котором удельная емкость упомянутого электрода составляет между примерно 900 и примерно 1000 Ф/г в сернокислотном электролите.
5. Электродный узел для использования в электрохимическом конденсаторе, включающий в себя: по меньшей мере один электрод, состоящий, по существу, из композитной смеси, имеющей активный материал, включающий в себя активированный уголь, полученный в результате карбонизации и последующей активации фурановой смолы и/или фуранового полимера и фторсодержащего полимерного связующего; и коллектор тока, причем упомянутый коллектор тока также включает в себя: подложку, выполненную из электропроводящего материала; и защитное покрытие, заключающее внутри себя, по меньшей мере, ту часть упомянутой подложки, которая подвергается воздействию электролита, когда упомянутый коллектор тока установлен в упомянутый электрохимический конденсатор, причем упомянутое защитное покрытие состоит, по существу, из композита, имеющего материал полимерной основы и проводящую добавку; при этом упомянутый по меньшей мере один электрод прикреплен к упомянутой подложке после того, как упомянутая подложка была покрыта упомянутым защитным покрытием; и при этом упомянутое защитное покрытие устойчиво к воздействию электролита на основе кислоты.
6. Электродный узел по п.5, в котором упомянутый по меньшей мере один электрод является поляризуемым.
7. Электродный узел по п.5, в котором упомянутая проводящая подложка упомянутого коллектора тока содержит свинец или соединение свинца.
8. Электродный узел по п.7, в котором упомянутая проводящая подложка упомянутого коллектора тока содержит смесь свинца и олова.
9. Электродный узел по п.5, в котором упомянутый материал полимерной основы упомянутого защитного покрытия выбран из группы, состоящей из битума, смолы, каменноугольного пека, галогенезированных полимеров, полимеров на основе полиуритана и кремнийорганических полимеров.
10. Электродный узел по п.5, в котором упомянутая проводящая добавка упомянутого защитного покрытия выбрана из группы, состоящей из углеродной сажи, графита и углеродного волокна.
11. Электродный узел по п.5, также включающий в себя добавку органического растворителя в упомянутом композитном защитном покрытии.
12. Электродный узел по п.5, в котором упомянутое защитное покрытие нанесено на упомянутую подложку методом, выбранным из группы, состоящей из нанесения кистью, валиком, окунанием, трафаретной печатью и распылением.
13. Электродный узел по п.5, в котором упомянутое защитное покрытие включает в себя смесь мономера и олигомера, которая содержит пластификаторы и затвердители, при этом после нанесения упомянутого защитного покрытия упомянутая полимерная основа образована непосредственно на поверхности упомянутой подложки путем полимеризации упомянутого мономера и упомянутого олигомера.
14. Электродный узел по п.5, в котором защитные и адгезивные свойства упомянутого защитного покрытия улучшены путем воздействия повышенных температур в заранее заданном диапазоне.
15. Электродный узел по п.5, в котором упомянутый по меньшей мере один электрод прикреплен к упомянутой покрытой защитным покрытием подложке посредством клея.
16. Электродный узел по п.5, в котором упомянутый по меньшей мере один электрод прикреплен к упомянутой покрытой защитным покрытием подложке путем припрессовки.
17. Электродный узел по п.5, в котором упомянутый по меньшей мере один электрод прикреплен к упомянутой покрытой защитным покрытием подложке посредством как клея, так и припрессовки.
18. Электродный узел по п.5, в котором упомянутый по меньшей мере один электрод напрессован на упомянутую покрытую защитным покрытием подложку во время формирования упомянутого по меньшей мере одного электрода.
19. Электродный узел по п.5, в котором упомянутое защитное покрытие устойчиво к воздействию серной кислоты.
20. Электрохимический конденсатор с двойным электрическим слоем, включающий в себя: по меньшей мере один поляризуемый электродный узел, причем упомянутый поляризуемый электродный узел также включает в себя: a) по меньшей мере один поляризуемый электрод, содержащий композитную смесь, имеющую активный материал, состоящий, по существу, из активированного угля, полученного в результате карбонизации и последующей активации фурановой смолы и/или фуранового полимера и фторсодержащего полимерного связующего; и b) коллектор тока, причем упомянутый коллектор тока также включает в себя: подложку, выполненную из электропроводящего материала; и защитное покрытие, заключающее внутри себя, по меньшей мере, ту часть упомянутой подложки, которая подвергается воздействию электролита, когда упомянутый коллектор тока установлен в упомянутый электрохимический конденсатор, причем упомянутое защитное покрытие состоит, по существу, из композита, имеющего материал полимерной основы и проводящую добавку, которая устойчива к воздействию электролита на основе кислоты; по меньшей мере один неполяризуемый электродный узел, причем упомянутый неполяризуемый электродный узел также включает в себя: по меньшей мере один неполяризуемый электрод, состоящий, по существу, из композитной смеси диоксида металла и сульфата металла; и коллектор тока, причем упомянутый коллектор тока также включает в себя: подложку, выполненную из электропроводящего материала; и защитное покрытие, заключающее внутри себя, по меньшей мере, ту часть упомянутой подложки, которая подвергается воздействию электролита, когда упомянутый коллектор тока установлен в упомянутый электрохимический конденсатор, причем упомянутое защитное покрытие состоит, по существу, из композита, имеющего материал полимерной основы и проводящую добавку, которая устойчива к воздействию электролита на основе кислоты; корпус для размещения в нем как упомянутого по меньшей мере одного поляризуемого электродного узла, так и упомянутого по меньшей мере одного неполяризуемого электродного узла; по меньшей мере один сепаратор внутри упомянутого корпуса для отделения упомянутого по меньшей мере одного поляризуемого электродного узла от упомянутого по меньшей мере одного неполяризуемого электродного узла и электролит на основе кислоты, находящийся внутри упомянутого корпуса и между упомянутым по меньшей мере одним поляризуемым электродным узлом и упомянутым по меньшей мере одним неполяризуемым электродным узлом; при этом хранение заряда реализуется на упомянутом по меньшей мере одном поляризуемом электродном узле посредством нефарадеевского электрохимического механизма двойного слоя, который происходит на границе раздела упомянутого поляризуемого электрода и упомянутого электролита; и при этом упомянутое хранение заряда реализуется на упомянутом по меньшей мере одном неполяризуемом электродном узле посредством реакций окисления/восстановления, которые происходят на границе раздела упомянутого неполяризуемого электрода и упомянутого электролита.
21. Электрохимический конденсатор с двойным слоем по п.20, в котором упомянутая проводящая подложка упомянутого коллектора тока включает в себя свинец или соединение свинца.
22. Электрохимический конденсатор с двойным слоем по п.21, в котором упомянутая проводящая подложка упомянутого коллектора тока включает в себя смесь свинца и олова.
23. Электрохимический конденсатор с двойным слоем по п.20, в котором упомянутый по меньшей мере один неполяризуемый электрод состоит, по существу, из смеси диоксида свинца и сульфата свинца.
24. Электрохимический конденсатор с двойным слоем по п.20, в котором упомянутый корпус является герметичным.
25. Электрохимический конденсатор с двойным слоем по п.20, в котором упомянутый сепаратор окружает, по меньшей мере, часть каждого из упомянутых неполяризуемых электродных узлов.
26. Электрохимический конденсатор с двойным слоем по п.20, в котором упомянутый сепаратор является стеклянным материалом.
27. Электрохимический конденсатор с двойным слоем по п.26, в котором упомянутый стеклянный материал является ионопроницаемым.
28. Электрохимический конденсатор с двойным слоем по п.20, в котором упомянутый поляризуемый и упомянутый неполяризуемый электроды являются асимметричными в отношении абсолютной емкости.
29. Электрохимический конденсатор с двойным слоем по п.28, в котором электрод с большей емкостью имеет абсолютную емкость, которая, по меньшей мере, в три раза, а более предпочтительно приблизительно в десять раз больше абсолютной емкости электрода с меньшей емкостью.
30. Электрохимический конденсатор с двойным слоем по п.20, в котором упомянутый электролит на основе кислоты является сернокислотным.
31. Электрохимический конденсатор с двойным слоем по п.20, в котором упомянутый поляризуемый и упомянутый неполяризуемый электроды расположены на, по существу, одинаковом расстоянии и в чередующемся порядке относительно друг друга.
32. Электрохимический конденсатор с двойным электрическим слоем, включающий в себя: множество поляризуемых электродных узлов, причем каждый из упомянутых поляризуемых электродных узлов включает в себя: a) по меньшей мере один электрод, состоящий, по существу, из композитной смеси, имеющей активный материал, содержащий активированный уголь, полученный в результате карбонизации и последующей активации фурановой смолы и/или фуранового полимера и фторсодержащего полимерного связующего; и b) коллектор тока, причем упомянутый коллектор тока также включает в себя: подложку, выполненную из электропроводящего материала; и защитное покрытие, заключающее внутри себя, по меньшей мере, ту часть упомянутой подложки, которая подвергается воздействию электролита, когда упомянутый коллектор тока установлен в упомянутый электрохимический конденсатор, причем упомянутое защитное покрытие состоит, по существу, из композита, имеющего материал полимерной основы и проводящую добавку, которая устойчива к воздействию электролита на основе кислоты; корпус для размещения в нем всего упомянутого множества поляризуемых электродных узлов; по меньшей мере один сепаратор внутри упомянутого корпуса для разделения упомянутого множества поляризуемых электродных узлов; и электролит на основе кислоты, находящийся внутри упомянутого корпуса и между упомянутым множеством поляризуемых электродных узлов; при этом хранение заряда реализуется на каждом из упомянутого множества поляризуемых электродных узлов посредством нефарадеевского электрохимического механизма двойного слоя, который происходит на границе раздела упомянутого поляризуемого электрода и упомянутого электролита.
РИСУНКИ
|
|