|
|
(21), (22) Заявка: 2008146147/28, 21.11.2008
(24) Дата начала отсчета срока действия патента:
21.11.2008
(46) Опубликовано: 10.02.2010
(56) Список документов, цитированных в отчете о поиске:
SU 1427070 А1, 30.09.1988. SU 365316 A1, 08.01.1973. SU 498242 А2, 05.01.1976. SU 1629226 А1, 23.02.1991. SU 1682602 А1, 07.10.1991. SU 1686189 А1, 23.10.1991. SU 1786266 А1, 07.01.1993. GB 1326425 A, 15.08.1973.
Адрес для переписки:
199106, Санкт-Петербург, В.О., 21 линия, 2, СПГГИ(ТУ), патентный отдел
|
(72) Автор(ы):
Тарасов Юрий Дмитриевич (RU)
(73) Патентообладатель(и):
Государственное образовательное учреждение высшего профессионального образования “Санкт-Петербургский государственный горный институт имени Г.В. Плеханова (технический университет)” (RU)
|
(54) СТЕНД ДЛЯ ИССЛЕДОВАНИЯ ПАРАМЕТРОВ ЦЕПНОГО ЗАТВОРА ДЛЯ РУДОСПУСКА
(57) Реферат:
Изобретение относится к стендам для проведения экспериментальных исследований в лабораторных условиях. Устройство состоит из отрезка закрепленной на раме вертикально ориентированной трубы, на нижнем срезе которой закреплена кольцевая направляющая с уголковым профилем в поперечном сечении с вертикальной и горизонтальной полками. На горизонтальной полке размещено верхнее кольцо с возможностью его поворота в горизонтальной плоскости относительно этой направляющей. Кольцо снабжено закрепленными по его периметру с одинаковым шагом сварными круглозвенными цепями, нижние концы которых закреплены на другом, нижнем кольце с возможностью его поворота в горизонтальной плоскости и смещения в вертикальной плоскости. На верхнем кольце по его периметру установлены чередующиеся между собой катки с возможностью их вращения на горизонтальных и вертикальных осях и с возможностью взаимодействия катков соответственно с горизонтальной и вертикальной полками кольцевой направляющей. Крепление нижних концов круглозвенных цепей обеспечивается за счет их фиксации на нижнем кольце с помощью закрепленных на его внутренней поверхности радиально ориентированных штырей с возможностью их размещения внутри звеньев круглозвенных цепей. Длина выступающей части штырей равна ширине звеньев круглозвенных цепей. Концентрично по отношению к нижнему кольцу размещено дополнительное внутреннее кольцо с возможностью размещения между ним и нижним кольцом круглозвенных цепей. В отверстиях дополнительного внутреннего кольца размещены две пары диаметрально расположенных под прямым углом друг к другу штырей увеличенной длины с винтовой нарезкой на их концах и нажимной гайкой с возможностью ее упора во внутреннее кольцо. Внутреннее кольцо выполнено из упругого материала и сделано разрезным с возможностью его съема со штырей с винтовой нарезкой после свинчивания с них нажимных гаек. Длина круглозвенных цепей выбирается такой, чтобы вдоль них можно было смещать в вверх и вниз и фиксировать в нужном положении нижнее кольцо, задавая расстояния между верхним и нижним кольцами. На нижнем кольце по его периметру с одинаковым шагом на вертикальных осях установлены катки с возможностью их взаимодействия с внутренней цилиндрической поверхностью кожуха, закрепленного на раме, и диаметрально расположенные два дополнительных катка на съемных горизонтальных осях с возможностью их взаимодействия с вертикально ориентированными направляющими двутаврового профиля в поперечном сечении. Направляющие шарнирно подвешены к раме своими верхним концами с возможностью их поворота в плоскости, проходящей через оси дополнительных катков, в стороны от нижнего кольца и фиксации этих направляющих в повернутом положении относительно рамы. На верхнем и нижнем кольцах закреплены ободы с возможностью размещения в их желобах отрезков гибких элементов и с охватом ободов гибкими элементами на угле, близком к 360 градусам. При этом один конец каждого гибкого элемента закреплен на ободе, а второй снабжен динамометром и кинематически связан с приводом. Верхнее кольцо снабжено стопорным приспособлением с возможностью фиксации верхнего кольца относительно кольцевой направляющей. Цилиндрический кожух выполнен с вертикальным щелевым вырезом с возможностью размещения в нем сбегающей с нижнего кольца ветви гибкого элемента. Во внутренней полости отрезка трубы размещена с зазором в горизонтальной плоскости круглая плита с возможностью размещения на ней сменных грузов и взаимодействия с находящейся во внутренней полости отрезка трубы пробы руды. Плита с помощью гибкого элемента, длина которого равна высоте отрезка трубы, кинематически связана с рамой при размещении точки крепления гибкого элемента к раме по оси симметрии отрезка трубы. Под нижним кольцом на раме установлен контейнер с размещенной в его верхней части шиберной заслонкой с возможностью приема и размещения в контейнере пробы руды. Технический результат заключается в возможности в лабораторных условиях определять силовые и кинематические характеристики цепного затвора для рудоспуска для условий выпуска крупнокусковой руды из рудоспуска при различных вариантах размещения поворотного кольца – верхнем и нижнем. 5 ил.
Изобретение относится к стендам для проведения экспериментальных исследований в лабораторных условиях, а именно к стендам для исследования параметров цепного затвора для рудоспуска.
Техническим результатом изобретения является определение в лабораторных условиях силовых и кинематических характеристик цепного затвора для рудоспуска для условий выпуска крупнокусковой руды из рудоспуска.
Стенд для исследования параметров цепного затвора для рудоспуска характеризуется тем, что он состоит из отрезка закрепленной на раме вертикально ориентированной трубы, на нижнем срезе которой закреплена кольцевая направляющая с уголковым профилем в поперечном сечении с вертикальной и горизонтальной полками, и кольца, размещенного с возможностью его поворота в горизонтальной плоскости относительно этой направляющей и снабженного закрепленными по его периметру с одинаковым шагом сварными круглозвенными цепями, нижние концы которых закреплены на другом кольце с возможностью его поворота в горизонтальной плоскости и смещения в вертикальной плоскости, при этом на верхнем кольце по его периметру установлены чередующиеся между собой катки с возможностью их вращения на горизонтальных и вертикальных осях и с возможностью взаимодействия катков соответственно с горизонтальной и вертикальной полками кольцевой направляющей, а на нижнем кольце по его периметру с одинаковым шагом на вертикальных осях установлены катки с возможностью их взаимодействия с внутренней цилиндрической поверхностью кожуха, закрепленного на раме, и диаметрально расположенные два дополнительных катка на съемных горизонтальных осях с возможностью их взаимодействия с вертикально ориентированными направляющими двутаврового профиля в поперечном сечении, шарнирно подвешенными к раме своими верхним концами с возможностью их поворота в плоскости, проходящей через оси дополнительных катков, в стороны от нижнего кольца и фиксации этих направляющих в повернутом положении относительно рамы, на верхнем и нижнем кольцах закреплены ободы с возможностью размещения в их желобах отрезков гибких элементов и с охватом ободов гибкими элементами на угле, близком к 360 градусам, при этом один конец каждого гибкого элемента закреплен на ободе, а второй снабжен динамометром и кинематически связан с приводом, верхнее кольцо снабжено стопорным приспособлением с возможностью фиксации верхнего кольца относительно кольцевой направляющей, цилиндрический кожух выполнен с вертикальным щелевым вырезом с возможностью размещения в нем сбегающей с нижнего кольца ветви гибкого элемента, крепление нижних концов круглозвенных цепей обеспечивается за счет их фиксации на нижнем кольце с помощью закрепленных на его внутренней поверхности радиально ориентированных штырей с возможностью их размещения внутри звеньев круглозвенных цепей, причем длина выступающей части штырей равна ширине звеньев круглозвенных цепей, а концентрично по отношению к нижнему кольцу размещено дополнительное внутреннее кольцо с возможностью размещения между ним и нижним кольцом круглозвенных цепей, при этом в отверстиях дополнительного внутреннего кольца размещены две пары диаметрально расположенных под прямым углом друг к другу штырей увеличенной длины с винтовой нарезкой на их концах и нажимной гайкой с возможностью ее упора во внутреннее кольцо, которое выполнено из упругого материала и сделано разрезным с возможностью его съема со штырей с винтовой нарезкой после свинчивания с них нажимных гаек, а длина круглозвенных цепей выбирается такой, чтобы вдоль них можно было смещать вверх и вниз и фиксировать в нужном положении нижнее кольцо, задавая расстояния между верхним и нижним кольцами, во внутренней полости отрезка трубы размещена с зазором в горизонтальной плоскости круглая плита с возможностью размещения на ней сменных грузов и взаимодействия с находящейся во внутренней полости отрезка трубы пробы руды, при этом плита с помощью гибкого элемента, длина которого равна высоте отрезка трубы, кинематически связана с рамой при размещении точки крепления гибкого элемента к раме по оси симметрии отрезка трубы, под нижним кольцом на раме установлен контейнер с размещенной в его верхней части шиберной заслонкой с возможностью приема и размещения в контейнере пробы руды.
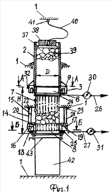
Стенд представлен на фиг.1 – вид сбоку, при размещении нижнего кольца на концах круглозвенных цепей, на фиг.2 – разрез А-А по фиг.1, на фиг.3 – разрез Б-Б по фиг.1, на фиг.4 – узел установки дополнительного внутреннего кольца (вид сверху), на фиг.5 – вид В-В по фиг.4.
Стенд для исследования параметров цепного затвора для рудоспуска состоит из отрезка закрепленной на раме 1 вертикально ориентированной трубы 2. На нижнем срезе трубы 2 закреплена кольцевая направляющая 3 с уголковым профилем в поперечном сечении с вертикальной 4 и горизонтальной 5 полками. На горизонтальной полке 5 кольцевой направляющей 3 размещено верхнее кольцо 6 с возможностью его поворота в горизонтальной плоскости относительно направляющей 3. Кольцо 6 снабжено закрепленными по его периметру с одинаковым шагом сварными круглозвенными цепями 7. Нижние концы круглозвенных цепей 7 закреплены на другом, нижнем кольце 8 с возможностью его поворота в горизонтальной плоскости и смещения в вертикальной плоскости.
На верхнем кольце 6 по его периметру установлены чередующиеся между собой катки 9 и 10 с возможностью их вращения на горизонтальных 11 и вертикальных 12 осях и с возможностью взаимодействия катков 9 и 10 соответственно с горизонтальной 5 и вертикальной 4 полками кольцевой направляющей 3. На нижнем кольце 8 по его периметру с одинаковым шагом на вертикальных осях 13 установлены катки 14 с возможностью их взаимодействия с внутренней цилиндрической поверхностью кожуха 15, закрепленного на раме 1. На нижнем кольце 8 также установлены диаметрально расположенные два дополнительных катка 16 и 17 на съемных горизонтальных осях 18 и 19 с возможностью взаимодействия дополнительных катков 16 и 17 с вертикально ориентированными направляющими 20 и 21 двутаврового профиля в поперечном сечении, которые шарнирно 22 и 23 подвешены к раме 1 своими верхним концами с возможностью их поворота в плоскости, проходящей через оси 18 и 19 дополнительных катков 16 и 17, в стороны от нижнего кольца 8 и фиксации направляющих 20 и 21 в повернутом положении относительно рамы 1. На верхнем 6 и нижнем 8 кольцах закреплены ободы 24 и 25 с возможностью размещения в их желобах отрезков гибких элементов 26 и 27 и с возможностью охвата ободов 24 и 25 гибкими элементами 26 и 27 на угле, близком к 360 градусам. При этом один конец 28 и 29 каждого гибкого элемента 26 и 27 закреплен на ободе 24 и 25, а второй снабжен динамометром 30 и 31 и кинематически связан с приводом (не показан). Привод может быть как механический, так и ручной. Верхнее кольцо 6 снабжено стопорным приспособлением 32 с возможностью фиксации верхнего кольца 6 относительно кольцевой направляющей 3. Цилиндрический кожух 15 выполнен с вертикальным щелевым вырезом 33 с возможностью размещения в нем сбегающей с нижнего кольца 8 ветви гибкого элемента 27.
Крепление нижних концов круглозвенных цепей 7 обеспечивается за счет их фиксации на нижнем кольце 8 с помощью закрепленных на его внутренней поверхности радиально ориентированных штырей 34 с возможностью их размещения внутри звеньев круглозвенных цепей 7. Длина выступающей части штырей 34 равна ширине звеньев круглозвенных цепей 7. Концентрично по отношению к нижнему кольцу 8 размещено дополнительное внутреннее кольцо 35 с возможностью размещения между ним и нижним кольцом 8 круглозвенных цепей 7. При этом в отверстиях дополнительного внутреннего кольца 35 размещены две пары диаметрально расположенных под прямым углом друг к другу штырей 34 увеличенной длины с винтовой нарезкой на их концах и нажимной гайкой 36 с возможностью ее упора во внутреннее кольцо 35. Внутреннее кольцо 35 выполнено из упругого материала и сделано разрезным с возможностью его съема со штырей 34 с винтовой нарезкой после свинчивания с них нажимных гаек 36. Длина круглозвенных цепей 7 выбирается такой, чтобы вдоль них можно было смещать вверх и вниз и фиксировать в нужном положении нижнее кольцо 8, задавая расстояния между верхним 6 и нижним 8 кольцами.
Во внутренней полости отрезка трубы 2 размещена с зазором в горизонтальной плоскости круглая плита 37 с возможностью размещения на ней сменных грузов 38 и взаимодействия с находящейся во внутренней полости отрезка трубы 2 пробы руды 39, при этом плита 37 с помощью гибкого элемента 40, длина которого равна высоте отрезка трубы 2, кинематически связана с рамой 1 при размещении точки 41 крепления гибкого элемента 40 к раме 1 по оси симметрии отрезка трубы 2. Под нижним кольцом 8 на раме 1 установлен контейнер 42 с размещенной в его верхней части шиберной заслонкой 43 с возможностью приема и размещения в контейнере 42 пробы руды 39.
Стопорное приспособление 32 верхнего кольца 6 выполнено в виде установленного на кольцевой направляющей 3 винта 44 с возможностью его взаимодействия с отверстием 45 в верхнем кольце 6.
Проектирование и выбор параметров стенда производятся на основе теории подобия с учетом параметров проектируемого или эксплуатируемого рудоспуска – диаметра выпускного отверстия, условий его размещения на горном предприятии, а также гранулометрического состава и физико-механических свойств руды, находящейся в рудоспуске.
Работа на стенде производится следующим образом. Исследования осуществляются для двух вариантов выполнения привода цепного затвора – при верхнем и нижнем размещениях приводного кольца. Кроме того, исследования проводят при различных расстояниях между верхним 6 и нижним 8 кольцами, т.е при различных рабочих длинах круглозвенных цепей 7. Для этого с четырех штырей 34 свинчивают нажимные гайки 36, а дополнительное внутреннее кольцо 35 снимают с четырех удлиненных штырей 34, соответствующим образом деформируя внутренне кольцо 35. после этого нижнее кольцо 8 и внутреннее кольцо 35 передвигают в вертикальной плоскости вверх или вниз вдоль круглозвенных цепей 7 и фиксируют кольца 8 и 35 на круглозвенных цепях 7 в новом положении.
При исследованиях параметров цепного затвора с верхним размещением поворотного кольца 6 с обода 25 нижнего кольца 8 снимают гибкий элемент 27 с закрепленным на нем динамометром 31. Направляющие 20 и 21 фиксируют в вертикальном положении. Вращением винта 44 стопорного приспособления 32 расстопоривают верхнее кольцо 6, выводя винт 44 из отверстия 45 в верхнем кольце 6. Шиберной заслонкой 43 перекрывают контейнер 42. В отрезке трубы 2 и во внутреннем пространстве между круглозвенными цепями 7 размещают пробу руды 39, на которую сверху устанавливают плиту 37, а на нее – сменные грузы 38, имитирующие (в соответствующем масштабе) давление руды на затвор реального рудоспуска. В исходном положении давление пробы руды 39 воспринимается шиберной заслонкой 43. Далее, постепенно открывая шиберную заслонку 43, с обеспечением разгрузки пробы руды 39 в контейнер 42, с помощью механического привода или вручную с помощью гибкого элемента 26 поворачивают верхнее кольцо 6, последовательно фиксируя одновременно показания динамометра 30, величину угла поворота верхнего кольца 6, высоту подъема нижнего кольца 8, и показания датчиков 34, фиксирующих нагрузки на круглозвенные цепи 7, измеренные как натяжения с помощью устройств 35 или как измеренные с помощью устройств 36 давления верхних звеньев круглозвенных цепей 7 на верхнее кольцо 6. Операцию проводят, постепенно закручивая круглозвенные цепи 7, до полного перекрытия потока руды 39 из выходного отверстия отрезка трубы 2.
При исследованиях параметров цепного затвора с нижним размещением поворотного кольца 8 с помощью винта 44 стопорного приспособления 32 верхнее кольцо 6 фиксируют относительно кольцевой направляющей 3 с помощью стопорного приспособления 32. Направляющие 20 и 21 поворачивают относительно шарниров 22 и 23 в стороны от нижнего кольца 8 и фиксируют в этом положении. Далее выполняют операции, аналогичные тем, которые описаны выше. После чего постепенно открывая шиберную заслонку 43, с обеспечением разгрузки пробы руды 39 в контейнер 42, с помощью механического привода или вручную с помощью гибкого элемента 27 поворачивают нижнее кольцо 8, последовательно фиксируя одновременно показания динамометра 31, величину угла поворота нижнего кольца 8, высоту подъема нижнего кольца 8. Операцию проводят, постепенно закручивая круглозвенные цепи 7, до полного перекрытия потока руды 39 из выходного отверстия отрезка трубы 2, имитирующей рудоспуск.
По показаниям динамометров 30 или 31 определяют натяжения в гибких элементах 26 или 27 и потребную мощность приводов вращения колец 6 или 8. По углу закручивания цепей 7 определяют канатоемкость приводов вращения верхнего 6 или нижнего 8 колец. По высоте подъема нижнего кольца 8 при оптимальном его положении относительно верхнего кольца 6 (при анализе показателей экспериментальных исследований при различных положениях нижнего кольца 8 по длине круглозвенных цепей 7) определяют габаритные размеры цепного затвора при его проектировании для реальных условий при приемлемых технических показателях.
Отличительные признаки изобретения позволяют в лабораторных условиях определять силовые и кинематические характеристики цепного затвора для рудоспуска для условий выпуска крупнокусковой руды из рудоспуска при различных вариантах размещения поворотного кольца, связанного с приводом, – верхним и нижним.
Формула изобретения
Стенд для исследования параметров цепного затвора для рудоспуска характеризующийся тем, что он состоит из отрезка закрепленной на раме вертикально ориентированной трубы, на нижнем срезе которой закреплена кольцевая направляющая с уголковым профилем в поперечном сечении с вертикальной и горизонтальной полками, и кольца, размещенного с возможностью его поворота в горизонтальной плоскости относительно этой направляющей и снабженного закрепленными по его периметру с одинаковым шагом сварными круглозвенными цепями, нижние концы которых закреплены на другом кольце с возможностью его поворота в горизонтальной плоскости и смещения в вертикальной плоскости, при этом на верхнем кольце по его периметру установлены чередующиеся между собой катки с возможностью их вращения на горизонтальных и вертикальных осях и с возможностью взаимодействия катков соответственно с горизонтальной и вертикальной полками кольцевой направляющей, а на нижнем кольце по его периметру с одинаковым шагом на вертикальных осях установлены катки с возможностью их взаимодействия с внутренней цилиндрической поверхностью кожуха, закрепленного на раме, и диаметрально расположенные два дополнительных катка на съемных горизонтальных осях с возможностью их взаимодействия с вертикально ориентированными направляющими двутаврового профиля в поперечном сечении, шарнирно подвешенными к раме своими верхними концами с возможностью их поворота в плоскости, проходящей через оси дополнительных катков, в стороны от нижнего кольца и фиксации этих направляющих в повернутом положении относительно рамы, на верхнем и нижнем кольцах закреплены ободы с возможностью размещения в их желобах отрезков гибких элементов и с охватом ободов гибкими элементами на угле, близком 360°, при этом один конец каждого гибкого элемента закреплен на ободе, а второй снабжен динамометром и кинематически связан с приводом, верхнее кольцо снабжено стопорным приспособлением с возможностью фиксации верхнего кольца относительно кольцевой направляющей, цилиндрический кожух выполнен с вертикальным щелевым вырезом с возможностью размещения в нем сбегающей с нижнего кольца ветви гибкого элемента, крепление нижних концов круглозвенных цепей обеспечивается за счет их фиксации на нижнем кольце с помощью закрепленных на его внутренней поверхности радиально ориентированных штырей с возможностью их размещения внутри звеньев круглозвенных цепей, причем длина выступающей части штырей равна ширине звеньев круглозвенных цепей, а концентрично по отношению к нижнему кольцу размещено дополнительное внутреннее кольцо с возможностью размещения между ним и нижним кольцом круглозвенных цепей, при этом в отверстиях дополнительного внутреннего кольца размещены две пары диаметрально расположенных под прямым углом друг к другу штырей увеличенной длины с винтовой нарезкой на их концах и нажимной гайкой с возможностью ее упора во внутреннее кольцо, которое выполнено из упругого материала и сделано разрезным с возможностью его съема со штырей с винтовой нарезкой после свинчивания с них нажимных гаек, а длина круглозвенных цепей выбирается такой, чтобы вдоль них можно было смещать вверх и вниз и фиксировать в нужном положении нижнее кольцо, задавая расстояния между верхним и нижним кольцами, во внутренней полости отрезка трубы размещена с зазором в горизонтальной плоскости круглая плита с возможностью размещения на ней сменных грузов и взаимодействия с находящейся во внутренней полости отрезка трубы пробы руды, при этом плита с помощью гибкого элемента, длина которого равна высоте отрезка трубы, кинематически связана с рамой при размещении точки крепления гибкого элемента к раме по оси симметрии отрезка трубы, под нижним кольцом на раме установлен контейнер с размещенной в его верхней части шиберной заслонкой с возможностью приема и размещения в контейнере пробы руды.
РИСУНКИ
|
|