|
|
(21), (22) Заявка: 2006144805/09, 17.05.2005
(24) Дата начала отсчета срока действия патента:
17.05.2005
(30) Конвенционный приоритет:
18.05.2004 DE 102004024620.3
(43) Дата публикации заявки: 10.08.2008
(46) Опубликовано: 10.02.2010
(56) Список документов, цитированных в отчете о поиске:
US 2002043560 A1, 18.04.2002. RU 2160928 C2, 20.12.2000. RU 2168209 C2, 27.01.2001. EP 1220166 A, 03.07.2002. WO 9500932 A1, 05.11.1995.
(85) Дата перевода заявки PCT на национальную фазу:
18.12.2006
(86) Заявка PCT:
EP 2005/005352 20050517
(87) Публикация PCT:
WO 2005/114596 20051201
Адрес для переписки:
101000, Москва, М.Златоустинский пер., 10, кв.15, “ЕВРОМАРКПАТ”, пат.пов. И.А.Веселицкой, рег. 11
|
(72) Автор(ы):
ХОЛЛЬ Норберт (DE), РАПФ Вольфганг (DE), РАЙНИШ Хельмут Карл (DE), ШТАЙН Дитер (DE)
(73) Патентообладатель(и):
ГИЗЕКЕ УНД ДЕВРИЕНТ ГМБХ (DE)
|
(54) СПОСОБ И УСТРОЙСТВО ДЛЯ ПРОВЕРКИ БАНКНОТ
(57) Реферат:
Группа изобретений относится к средствам проверки банкнот. Техническим результатом является повышение достоверности контроля проверяемых банкнот. В устройстве и способе получают измеренные значения одного или нескольких параметров проверяемой банкноты и путем анализа этих значений на нескольких стадиях проверки проводят классификацию банкноты, причем банкноту классифицируют, в частности, по меньшей мере по категориям поддельных, сомнительных и подлинных банкнот, либо пригодных для приема или для последующей выдачи, а по меньшей мере на одной стадии проверки, необходимой для принятия решения о том, соответствует ли проверяемая банкнота заданной классификационной категории, создают комбинацию нескольких измеренных значений, и полученный комбинированный параметр анализируют, например, сравнивая его значение с относящимся к нему интервалом допустимых значений. 2 н. и 20 з.п. ф-лы, 2 ил., 1 табл.
Настоящее изобретение относится к способу и устройству для проверки банкнот.
Из заявки ЕР 0706698 А1 известен, например, автомат, в котором проверяются подлинность введенных в него банкнот и их пригодность для последующей выдачи. Для обеспечения как можно более уверенного приема подлинных банкнот и исключения последующей выдачи подделок на первой стадии проверки введенную банкноту рассматривают как подлинную и принимают только тогда, когда все измеренные значения одного или нескольких измеряемых параметров, таких, например, как размер, спектральные или магнитные свойства банкноты, находятся в соответствующих первых интервалах допустимых значений, т.е. в допустимых пределах. Все остальные банкноты сразу выводятся из автомата для приема банкнот. Затем содержащиеся в автомате и принятые им банкноты проходят вторую стадию проверки, на которой проверяется, находятся ли значения всех измеренных параметров также в соответствующих вторых интервалах допустимых значений, более узких по сравнению с соответствующими вышеупомянутыми первыми интервалами. Банкноты, успешно прошедшие как первую, так и вторую стадии проверки, а значит являющиеся подлинными с еще большей степенью вероятности, классифицируются как пригодные для последующей выдачи и складываются в автомате отдельно от других банкнот.
Недостаток этой системы состоит в том, что оптимальный результат классификации банкнот удается получить не во всех случаях.
Исходя из вышеизложенного, в основу настоящего изобретения была положена задача разработать устройство и способ проверки банкнот, которые эффективным образом обеспечивали бы проверку банкнот, прежде всего в банкоматах.
Указанная задача решается совокупностью существенных признаков независимых пунктов формулы изобретения. Предпочтительные варианты осуществления изобретения приведены в зависимых пунктах формулы.
Поскольку, таким образом, банкноты классифицируются по нескольким категориям, а для принятия решения о том, отвечает ли проверенная банкнота соответствующей категории из заданных классификационных категорий, создают, предпочтительно только на некоторых стадиях проверки, комбинацию нескольких измеренных значений одного или нескольких параметров банкноты, которую учитывают при анализе, например, путем ее сравнения с соответствующим интервалом допустимых значений, изобретение позволяет выполнять в банкоматах эффективную и более качественную проверку банкнот и меньшими затратами на адаптацию интервалов допустимых значений.
Это решение имеет особое преимущество в том случае, если банкноты классифицируют по меньшей мере по категориям “поддельная”, “сомнительная” (предположительно поддельная) и “подлинная” и/или по меньшей мере по категориям “пригодная для приема” и “пригодная для последующей выдачи”, поскольку во многих странах это является дополнительным условием применения банкнот в платежных автоматах для приема наличных денег и/или платежных автоматах с замкнутым оборотом наличных денег, которые могут использоваться плательщиком при совершении платежной операции путем введения в автомат наличных денег, которые зачисляются на соответствующий счет плательщика, а в случае автомата с замкнутым оборотом наличных денег – при необходимости также могут выдаваться другому клиенту при совершении последующей операции.
Хотя изобретение может предусматривать возможность классификации всех банкнот, введенных при совершении платежа и находящихся в банкомате, как “принятых”, в особенно предпочтительном варианте осуществления изобретения также может быть предусмотрено отнесение к категории “принятых” только тех из находящихся в банкомате банкнот, которые одновременно классифицируются как “пригодные в качестве платежного средства” и, следовательно, зачисляются (при необходимости временно) на счет плательщика.
Так, на одной стадии проверки, выполняемой, например, для принятия решения о том, подлежит ли банкнота классификации как поддельная, при анализе можно учесть комбинированный параметр, полученный на основе измеренных значений от нескольких сенсорных модулей банкомата, тогда как на другой стадии проверки, выполняемой, например, для принятия решения о том, подлежит ли банкнота классификации как сомнительная или подлинная, по меньшей мере некоторые или все комбинируемые измеренные значения обрабатывают или анализируют по отдельности. В этом случае сравнение отдельных измеренных значений с относящимися к ним интервалами допустимых значений, например, при проверке банкноты на соответствие категории “подлинная” позволяет в данном случае обрабатывать банкноты с более высокой точностью, чем это требуется, например, в случае проверки по категории “поддельная”, при которой достаточно точный результат дает сравнение лишь с комбинированным параметром, т.е. величиной, полученной объединением, или связыванием, нескольких измеряемых величин.
При проверке банкнот сначала выполняют предпочтительно стадии проверки, необходимые для принятия решения о том, подлежит ли банкнота классификации как поддельная, и только тогда, когда при этом установлено, что банкнота не подлежит классификации как поддельная, выполняют другие стадии проверки, необходимые для различения подлинных и сомнительных банкнот.
Следовательно, такой порядок действий не предусматривает выполнение сразу всех возможных стадий проверки, пока не будет принято решение, к какой из нескольких классификационных категорий следует причислить проверяемую банкноту. Тогда и только тогда, когда проведена проверка, исключающая отнесение банкноты к категории поддельных, выполняют последующие стадии проверки, позволяющие различить подлинные и сомнительные банкноты.
Преимущество этого решения, предусматривающего проверку на соответствие категории “поддельная” перед проверкой по категориям “сомнительная-подлинная”, состоит в том, что в результате сокращается число вычислительных операций, поскольку классификация банкноты как подлинной или сомнительной сопряжена с большей вычислительной нагрузкой. При этом в предпочтительном варианте перед проверкой по категориям “сомнительная-подлинная” дополнительно можно выполнить еще и другие стадии проверки, по результатам проведения которых проверяемый документ может быть отнесен к категории “нераспознанная банкнота”.
Как уже указано выше, предлагаемое в изобретении решение позволяет особенно эффективным путем обеспечивать соответствие условиям, выдвигаемым в определенных странах при сертификации платежных автоматов и банкоматов с замкнутым оборотом наличных денег, так называемых автоматов с замкнутым оборотом наличных денег, в которых определенные банкноты, введенные в автомат при ранее совершенных сделках, могут выдаваться тем же автоматом при последующих сделках. Подобные автоматы с замкнутым оборотом наличных денег уже давно известны и некоторые из них описаны, например, в патентах US 6290070 или US 5173590.
Например, в отношении зоны обращения евро действует Инструкция Европейского центрального банка от 24 мая 2002 г., согласно которой принимаемую в процессе проведения платежной операции банкноту необходимо отнести к одной из четырех категорий: “не банкнота” (категория 1), “поддельная банкнота” (категория 2), “сомнительная банкнота” (категория 3) и “подлинная банкнота” (категория 4), причем банкноты, классифицированные, например, как “поддельные”, не выдаются, а остаются в автомате без зачисления денег на счет плательщика. Подлинные банкноты в хорошем состоянии, так называемые годные банкноты (категория 4а), могут вновь выдаваться автоматом при совершении последующей платежной операции, в том числе другому плательщику, а подлинные банкноты в плохом состоянии, так называемые негодные, или ветхие, банкноты (категория 4b), повторной выдаче не подлежат. Все указанные выше требования, предъявляемые к вводимым в банкомат банкнотам при их классификации в банкомате, представлены в приведенной ниже таблице.
Катего- рия |
1 (не банкнота) |
2 (поддельная) |
3 (сомнительная) |
4(подлинная) |
| состояние |
– |
– |
– |
4а (подлинная, негодная) |
4b (подлинная, годная) |
| прием |
нет |
да |
да |
да |
да |
зачисле- ние на счет |
нет |
нет |
да |
да |
да |
| выдача |
нет |
нет |
нет |
нет |
да |
При этом различение поддельных, сомнительных и подлинных банкнот определяет достоверность, с которой банкноты были классифицированы как подлинные. Вероятность подлинности банкноты, которая классифицирована как поддельная (см. категорию 2 в таблице), ниже вероятности подлинности банкноты, которая классифицирована как сомнительная (см. категорию 3 в таблице), а вероятность подлинности банкноты, которая классифицирована как сомнительная, ниже вероятности подлинности той банкноты, которая классифицирована как подлинная (см. категорию 4 в таблице). В предпочтительном варианте категории устанавливаются таким образом, что к категории 4 относятся не только все подлинные банкноты, но и максимально возможное большинство загрязненных банкнот.
В отличие от банкноты, распознанной и категоризированной как “поддельная”, поскольку у нее распознаны, например, печатное изображение и формат, а показатели иных (магнитных, электрических, оптических) защитных свойств не находятся в допустимых пределах, проверяемый документ относят к категории “не банкнота” (см. категорию 1 в таблице), например, в том случае, когда этот проверенный документ не представляется возможным принять за одну из возможных банкнот, поскольку, например, проверке подвергалась не та валюта, выявлено не то печатное изображение или не тот формат, или банкноты невозможно распознать из-за “слипания” нескольких наложенных друг на друга банкнот.
Кроме того, можно осуществлять предпочтительно методы проверки, описанные, например, в заявке DE 10029051 А1. Так, например, можно предусмотреть по меньшей мере два разных класса подлинности соответственно с одним или несколькими критериями подлинности, при этом отдельные классы подлинности отличаются друг от друга по меньшей мере по одному критерию подлинности. Для проверки подлинности выбирают один класс из разных классов подлинности и документ проверяют по критериям подлинности на соответствие выбранному классу подлинности. При этом документу ставится в соответствие выбранный класс подлинности, когда документ соответствует критериям подлинности этого класса. Под критериями подлинности следует понимать, например, пороговые значения или интервалы показателей, используемых при проверке защитных признаков. В качестве защитных признаков можно использовать, например, оптические, магнитные, электрические или физические признаки, такие, например, как оптическое отражение, пропускание или испускание, магнитная проницаемость, электропроводность, диэлектрическая проницаемость, толщина и формат документа, а также водяные знаки.
Таким образом, при проверке подлинности документов разные критерии подлинности группируются по нескольким классам подлинности, при этом в зависимости от класса подлинности при ее проверке предъявляются требования, различные по жесткости, поскольку к каждому классу подлинности в целом относятся различные по количеству и/или по жесткости критерии подлинности. При выборе, например, класса подлинности с более жесткими или высокими предъявляемыми при ее проверке требованиями, например, с исключительно высокими пороговыми значениями, характеризующими оптическое отражение или пропускание, можно с высокой степенью вероятности подтвердить подлинность документов, соответствующих критериям подлинности этого выбранного класса подлинности. Документы, не соответствующие критериям подлинности выбранного класса подлинности, можно проверять на соответствие другим выбранным классам подлинности с менее жесткими или пониженными предъявляемыми к ней требованиями, например с пониженными пороговыми значениями, благодаря чему подлинность банкнот можно подтвердить соответственно с меньшей степенью вероятности. В целом при этом происходит отнесение признаков подлинности, т.е. измеренных значений характеристик защитных признаков проверяемых документов, к различным классам подлинности. Благодаря этой дифференциации результата(-ов) проверки подлинности можно выявить те документы, которые классифицированы с более высокой степенью вероятности как подлинные в отличие от результатов проверки подлинности известными из уровня техники методами, благодаря чему в целом повышается надежность определения подлинности документов. Одновременно остальные документы можно также проверять на соответствие обычным, в целом “менее жестким” критериям подлинности, благодаря чему доля подлинных документов, классифицированных как не являющиеся таковыми, остается на низком уровне.
В частном варианте осуществления предлагаемого в изобретении способа предусматривается определять состояние и/или номинал документа и затем выбирать класс или категорию подлинности в зависимости от состояния и/или номинала документа. Под номиналом следует понимать достоинство или вид валюты проверяемого документа. Состояние документа обычно определено соответствующими признаками, такими, например, как степень загрязнения, изношенность, наличие повреждений, таких, например, как разрывы, отверстия или недостатки печатного изображения, а также наличие чужеродных объектов, таких, например, как липкая лента. Так, например, класс подлинности можно выбирать при проверке подлинности документа в зависимости от степени загрязнения документа, при этом при проверке чистых и неповрежденных документов можно использовать существенно более жесткие или строгие критерии подлинности, например более высокие пороговые значения по сравнению со значительно загрязненными или поврежденными документами. Таким путем заметно повышается надежность выявления подделок среди чистых или незначительно загрязненных документов. В целом при этой проверке, выполняемой с учетом состояния документов, документы, находящиеся в очень хорошем состоянии, можно с высокой надежностью классифицировать как подлинные или поддельные. Поскольку при этом более строгую проверку выполняют лишь в отношении документов, находящихся в очень хорошем состоянии, одновременно доля подлинных документов, классифицированных как не являющиеся подлинными, остается низкой.
Следующий аспект настоящего изобретения представляет собой реализацию идеи, изложенной в заявке DE 10029051 А1 и подразумевающей получение части используемых для проверки подлинности ее критериев с использованием поддельных документов. Таким путем проверку подлинности с использованием заданных ее критериев расширяют за счет дополнительной проверки подлинности с использованием дополнительных критериев подлинности, определяемых с использованием поддельных документов. При этом дополнительные критерии подлинности обычно определяют путем осуществления отдельного способа, например, в специально предусмотренных для этого устройствах, согласно которому поддельные документы исследуют, в частности, на предмет их характерных отличий от подлинных документов. На основе обнаруженных отличий вырабатывают дополнительные критерии подлинности, которые далее используются при осуществлении основного способа проверки подлинности документов. При этом документы подвергают дальнейшей проверке с использованием жестких критериев подлинности и при обнаружении соответствия этим критериям подлинности классифицируют как подлинные. Кроме того, подделки можно выявлять в том случае, когда проверенные документы не соответствуют определенным на известных подделках дополнительным критериям подлинности, представляющим собой предпочтительно характерные отличия между обнаруженной подделкой и подлинными документами. Таким путем обеспечивается повышенная надежность при выявлении подделок, в частности, с учетом характеристик известных и попавших в обращение подделок.
При этом необходимо особо отметить, что варианты, раскрытые в зависимых пунктах формулы изобретения, а также отдельные признаки, представленные в описании осуществления изобретения, могут использоваться независимо от объектов изобретения, охарактеризованных в независимых пунктах формулы.
Другие преимущества и предпочтительные варианты осуществления настоящего изобретения представлены ниже в описании и на прилагаемых чертежах, на которых, в частности, показано:
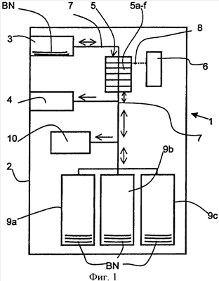
на фиг.1 – схематичный вид автомата с замкнутым оборотом наличных денег, выполненного по первому варианту осуществления настоящего изобретения, и
на фиг.2 – блок-схема, иллюстрирующая осуществление настоящего изобретения.
На фиг.1 схематично показан пример выполнения предлагаемого в изобретении комбинированного автомата 1 для приема и выдачи денег, который также называют автоматом 1 с замкнутым оборотом наличных денег.
В корпус 2 автомата 1 с замкнутым оборотом наличных денег известным образом встроен доступный снаружи загрузочный карман 3, в который при совершении платежной операции можно поместить стопку вводимых для платежа банкнот BN. Банкноты BN, помещенные в загрузочный карман 3, поштучно отделяются от исходной стопы и транспортировочной системой 7 транспортируются через сенсорный блок 5, в котором проверяются подлинность и состояние банкнот BN. При этом анализ или оценку полученных датчиками результатов измерений осуществляет блок 6 обработки, соединенный линией 8 передачи данных с сенсорным блоком 5 на основе ЭВМ, который может входить в состав сенсорного блока 5. В зависимости от результатов, полученных блоком 6 обработки, подается управляющий сигнал на имеющиеся в транспортировочной системе 7 стрелки, направляющие проверенную банкноту BN либо в доступный извне приемный узел или лоток 4 для банкнот, которые не удается идентифицировать, в одну из нескольких кассет 9а-9с для классифицированных как подлинные банкнот BN, либо в один из при необходимости нескольких приемников-накопителей 10 для поддельных или сомнительных банкнот. Кассеты 9а-9с и приемники-накопители 10 недоступны извне. Проверенные банкноты раскладываются в кассеты 9а-9с раздельно по номиналам дополнительно к уже помещенным в них банкнотам BN.
При совершении платежной операции с выплатой денежных средств выдаваемые банкноты BN, находящиеся в кассетах 9а-9с, поштучно отделяются от стопки и транспортируются транспортировочной системой 7 в приемный узел или лоток 4. На фиг.1 показаны обозначенные стрелками возможные пути транспортировки банкнот BN.
Таким образом, в автомате 1 с замкнутым оборотом наличных денег банкноты, введенные в него клиентом при совершении платежной операции с уплатой денежных средств, могут остаться в автомате, а соответствующая им сумма может быть зачислена на счет клиента. Кроме того, банкноты, принятые при проведении предыдущих платежных операций тем же самым автоматом 1 с замкнутым оборотом наличных денег, могут быть выданы при проведении последующих операций с выплатой денежных средств, в том числе другому клиенту, при этом соответствующая сумма списывается с его счета.
Автомат 1 с замкнутым оборотом наличных денег отличается, в частности, наличием у него сенсорного блока 5 с соответствующим блоком 6 обработки. В состав сенсорного блока 5 входят несколько сенсорных модулей 5a-5f, предназначенных для измерения показателей различных физических и/или химических свойств вводимой банкноты BN. Ниже лишь для примера представлен ряд не ограничивающих объем изобретения сенсорных модулей 5a-5f: сенсорный модуль 5а восприятия изображения, сенсорный модуль 5b для измерения магнитных свойств, сенсорный модуль 5 с для измерения электропроводности, сенсорный модуль 5d для измерения УФ-излучения и сенсорный модуль 5е для измерения ИК-излучения, предназначенных для определения формата, распознавания печатного изображения, определения магнитных свойств, электропроводности, для проверки на отсутствие в бумаге отбеливателей, определения степени загрязнения и иных характеристик состояния (наличие отверстий, разрывов, загнутых уголков и т.д.) проверенных банкнот.
Еще одна независимая идея настоящего изобретения заключается в том, что автомат 1 с замкнутым оборотом наличных денег измеряет также характеристики люминесцентного свечения, наиболее предпочтительно и флуоресцентного, и фосфоресцентного свечения внедренных в бумагу или введенных в печатную краску предназначенных для защиты от подделки веществ, применение которых описано, например, в ЕР 1223208 А1 или ЕР 1241021 А2. При этом в дополнительном модуле 5f сенсорного блока 5 измеряют предпочтительно значения интенсивности и/или определяют значения интенсивности и отношения интенсивности эмиссионных полос или линий и/или их времени нарастания и/или затухания.
В предпочтительном варианте, представленном ниже в качестве примера и не ограничивающем объем изобретения, количество, подлинность и/или номинал проверяют не только в отношении принятых банкнот, но и повторно в отношении банкнот, выдаваемых при проведении платежной операции с выплатой денежных средств. Эту проверку можно выполнять с использованием как собственно предназначенного для нее или отдельного сенсорного блока или с использованием общего сенсорного блока 5, в качестве примера показанного на фиг.1, согласно которому через сенсорный блок 5 проходят как принимаемые, так и выдаваемые банкноты, транспортируемые далее в лоток 3, одновременно используемый также для выклада в него извлекаемых вручную банкнот и имеющий конструкцию, описанную, например, в заявке DE 10210689 А1.
В сенсорном модуле 5f можно измерять люминесцентное свечение банкнот BN как вводимых при совершении текущей платежной операции с уплатой денежных средств, так и выдаваемых при проведении текущей операции с выплатой денежных средств. Однако в предпочтительном варианте люминесцентное свечение измеряется только в отношении банкнот BN, принимаемых при совершении текущей платежной операции с уплатой денежных средств, а не банкнот BN, выдаваемых при совершении текущей платежной операции с выплатой денежных средств, по меньшей мере часть которых была принята при проведении предыдущих платежных операций, благодаря чему можно ускорить обработку сигналов от датчиков сенсорного блока 5.
Полученные сенсорными модулями 5a-5f измеренные значения параметров в количестве n от М1 до Mn передаются в блок 6 обработки. При этом результаты измерений, выполненных отдельными сенсорными модулями 5a-5f, могут иметь разрешение во времени и/или в пространстве.
Далее переданные измеренные значения M1-Mn одной из проверяемых банкнот BN анализируются блоком 6 обработки на нескольких стадиях проверки, чтобы сделать вывод относительно подлинности и состояния банкноты BN. При этом введенные для уплаты банкноты BN классифицируются по указанным в таблице категориям. Сказанное означает, что введенная для уплаты банкнота BN классифицируется по одной из категорий 1 (не распознана), 2 (поддельная), 3 (сомнительная) или 4 (подлинная), при этом банкноты BN, классифицированные как подлинные, подразделяются также в зависимости от их состояния на категории 4а (годная) или 4b (негодная), т.е. классифицируются по признаку пригодности для последующей выдачи.
Банкноты, которые не удается идентифицировать или распознать, например, из-за наложения слипания банкнот с их наложением одна на другую, немедленно вновь выкладываются в приемный узел или лоток 4 для возврата плательщику; банкноты, отнесенные к категориям “поддельная” и “сомнительная”, транспортируются отдельно друг от друга в соответствующие приемники-накопители 10, а подлинные банкноты отдельно раскладываются по номиналу и по состоянию в кассеты 9а-9с, в результате чего банкноты, отнесенные к категории 4а как находящиеся в хорошем состоянии, могут быть вновь выданы другим плательщикам при проведении последующих платежных операций с выплатой денежных средств.
Следует отметить, что при классификации банкнот можно также различать банкноты в хорошем состоянии, которые можно вновь выдавать, например, вручную через кассу, и банкноты в очень хорошем состоянии, так называемые банкоматные банкноты, которые могут вновь выдаваться автоматом также без повышенной опасности возникновения заторов банкнот.
На фиг.2 в упрощенном виде показана блок-схема, наглядно представляющая процесс классификации введенной при уплате банкноты BN, представляющий собой последовательную проверку наличия признаков для отнесения банкноты к отдельным категориям. Итак, сначала выполняют, например, одну или несколько обозначенных позицией S1 стадий проверки, на которых принимается решение, является ли вообще проверенный документ банкнотой BN. Для этого обрабатываются, например, значения, измеренные сенсорным модулем восприятия изображения, для проверки формата и/или печатного изображения, и/или номинала банкноты. Кроме того, можно также провести проверку, например, на предмет наличия слипшихся банкнот для обнаружения транспортируемых наложенных одна на другую банкнот. Эту проверку на предмет наличия слипшихся банкнот можно выполнять, например, также путем анализа измеренных значений, характеризующих оптические, а также магнитные свойства банкноты. Если значения измеренных значений или параметров, полученных на их основе, т.е. выведенных из них, не попадают в заданные интервалы допустимых значений, поскольку, например, банкнота имеет не тот формат, или не представляется возможным однозначно определить номинал банкноты, то банкноту классифицируют по категории 1 и после прохождения через сенсорный блок 5 вновь выкладывают в приемный узел или лоток 4.
Чтобы сделать вывод о том, находится ли измеренное значение или иной параметр по смыслу настоящего изобретения в пределах заданного интервала допустимых значений, его сравнивают, например, с верхним и/или нижним пороговым значением.
Только в том случае, если на стадии S1 проверки установлено, что проверяемая банкнота BN не относится к категории 1, выполняют одну или несколько следующих стадий S2 проверки, имеющей целью определить, относится ли банкнота BN к категории 2, т.е. является ли она поддельной банкнотой. Такими банкнотами могут быть, например, банкноты, у которых, например, определенные свойства или характеристики, такие как качество печатного изображения и формат, хотя и соответствуют предъявляемым требованиям, т.е. характеристики, которые можно надежно воспроизвести обычными методами цветной печати, однако другие свойства, подтверждающие подлинность банкнот, такие, например, как измеряемые оптические свойства, в частности показатели инфракрасного или ультрафиолетового излучения, магнитные или электрические свойства либо полученные на их основе параметры, находятся вне заданных широких интервалов допустимых значений.
Только в том случае, если на стадии S2 проверки установлено, что проверяемая банкнота BN не относится и к категории 2 и, следовательно, является “пригодной для приема”, т.е. допускаются ее прием и использование в качестве платежного средства, выполняют одну или несколько следующих стадий S3 проверки, имеющей целью определить, относится ли банкнота BN к категории 3, т.е. является ли она сомнительной банкнотой, у которой, например, указанные выше или иные измеренные значения, относящиеся к оптическим свойствам, в частности показателям инфракрасного или ультрафиолетового излучения, магнитным или электрическим свойствам, или указанные выше или иные полученные на их основе параметры находятся вне соответствующих, например более узких, интервалов допустимых значений. При этом к данной категории 3 могут быть отнесены наряду с качественными подделками также и такие подлинные банкноты как таковые, у которых по меньшей мере некоторые из измеренных значений находятся, например из-за сильного загрязнения, вне интервалов допустимых значений, обычных для незагрязненных банкнот или банкнот со средним уровнем загрязненности.
Наконец, все оставшиеся банкноты, которые нельзя классифицировать ни по одной из категорий 1-3 и поэтому относятся к категории 4, проверяют с целью определить их состояние и, следовательно, пригодность для последующей выдачи из автомата 1. Для этого на одной или нескольких стадиях S4, например, проверяют, находятся ли степень загрязнения банкноты BN и/или количество, распределение или размеры отверстий, разрывов, загнутых углов и т.п. в заданных интервалах допустимых значений. Если да, то банкнота BN классифицируется как пригодная для последующей выдачи, т.е. относится к категории 4а, укладывается в одну из предназначенных для соответствующего номинала кассет 9а-9с и может быть вновь выдана при проведении последующих платежных операций. В противном случае банкнота классифицируется как непригодная для последующей выдачи, т.е. относится к категории 4b, отдельно хранится в автомате 1 и при проведении последующих платежных операций больше не выдается им.
Еще одна идея заключается в том, что на разных стадиях проверки для классификации банкноты проверяют ее различные свойства. В этом смысле на обеих стадиях проверки предпочтительно не проверяется никакое измеренное значение или никакие свойства банкноты. Так, например, обработку значений, полученных при измерении магнитных свойств или инфракрасного излучения, выполняют лишь на стадии S3 проверки банкноты для различения сомнительных и подлинных банкнот BN.
Кроме того, при проверке банкноты BN можно предусмотреть возможность сравнения каждого из измеренных значений, относящихся к одному свойству банкноты, только с одним относящимся к нему интервалом допустимых значений для принятия решения о том, является ли результат оценки измеренного значения положительным или отрицательным. Для стадии проверки, например, на предмет определения пригодности банкноты для приема или в данном случае, например, для стадии S2 проверки требуется, например, чтобы количество положительных результатов проверки измеренных значений было меньшим, чем для следующей стадии проверки, например для стадии S3 проверки, необходимой для различения банкнот по принадлежности к категориям подлинности 3 или 4. При допущении десяти различных измеренных значений необходимо получить в общей сложности, например, только четыре положительных результата проверки измеренных значений, чтобы автомат классифицировал банкноту как пригодную для приема, т.е. относящуюся к категории 3 или 4, в то время как для классификации банкноты как подлинной, т.е. для отнесения ее к категории 4, необходимо получить по меньшей мере шесть положительных результатов проверки измеренных значений.
Аналогичным образом, например, для стадии проверки пригодности банкноты для приема может требоваться, чтобы количество отрицательных результатов проверки измеренных значений было больше, чем для следующей стадии проверки. При допущении десяти различных измеренных значений может быть получено в общей сложности, например, семь отрицательных результатов проверки измеренных значений, чтобы автомат 1 классифицировал банкноту как однозначно поддельную, т.е. относящуюся к категории 2, в то время как для классификации банкноты как сомнительной, т.е. для отнесения ее к категории 3, необходимо получить от четырех до шести отрицательных результатов проверки измеренных значений, а для классификации банкноты как однозначно подлинной, т.е. для отнесения ее к категории 4, не должно быть ни одного отрицательного результата проверки измеренных значений.
При этом предпочтительно учитывать измеренные значения, которые относятся к различным измеряемым свойствам и которые, в частности, получены разными сенсорными модулями 5a-5f.
При осуществлении этого способа можно также использовать различающееся взвешивание, например, соответственно присвоению отдельным результатам проверки измеренных значений разных весовых коэффициентов, что позволяет отличать при обработке более важные результаты измерений от менее важных. Тогда для вывода о возможности последующей выдачи банкноты или отнесении ее при выполнении стадии S2 к категории 2 требуется, например, опять же больший общий балл согласно сумме баллов всех положительных и/или отрицательных результатов проверки измеренных значений, чем для вывода о пригодности банкноты для приема или, при выполнении стадии S3 проверки, для отнесения банкноты к категории 3.
Необходимо отметить, что согласно этому или же другим вариантам вместо измеренных значений параметров при обработке всегда можно использовать также параметры или величины, полученные на их основе, т.е. выведенные из них.
Кроме того, в соответствии с предыдущим вариантом к различным категориям важности измеренные значения или полученные на их основе величины можно относить, например, соответственно измерению определенного физического свойства банкноты. Так, например, измеренные значения, характеризующие легко подделываемые свойства, например оптические свойства, воспринимаемые в видимой области спектра, или же электрические свойства, относятся к категории менее важных по сравнению, например, с измеренными значениями, характеризующими оптические свойства, воспринимаемые за пределам видимой области, или магнитные свойства, которые сложнее воспроизвести при изготовлении подделки. При этом различную степень важности можно также присваивать, например, значениям, измеряемым отдельными сенсорными модулями 5a-5f. Тогда для стадии проверки, такой, например, как определение пригодности банкноты для приема или при выполнении стадии S2 проверки на предмет отнесения банкноты к категории 2, вполне достаточным оказывается результат, например, лишь положительного измерения менее важного свойства, а для определения возможности последующей выдачи банкноты или при выполнении стадии S3 проверки на предмет отнесения банкноты к категории 3 необходимо также получить безусловно положительный результат проверки по меньшей мере одного важного свойства.
Вместо сравнения отдельных измеренных значений с заданными интервалами допустимых значений по отдельности, в соответствии с другой идеей настоящего изобретения, при анализе результатов измерений создают комбинацию нескольких измеренных значений и этот комбинированный параметр при обработке результатов измерения, полученных по меньшей мере на одной стадии проверки, сравнивают с собственным интервалом допустимых значений. Комбинация нескольких измеренных значений может представлять собой, например, многопараметрическую математическую функцию, выдающую, например, минимум и/или максимум, и/или среднее значение, и/или отношение, и/или линейную комбинацию комбинируемых измеренных значений. Тогда на одной из нескольких стадий проверки из нескольких измеренных значений создают, например, с использованием нечеткой логики комбинированный параметр и сравнивают его значение с относящимся к нему интервалом допустимых значений. При этом такой комбинированный параметр представляет собой предпочтительно производную величину, которая зависит от измеренных значений, характеризующих различные физические или химические свойства или полученных различными сенсорными модулями 5a-5f, например от значений магнитных свойств и оптических свойств проверенной банкноты.
В предпочтительном варианте осуществления изобретения комбинированный параметр, связывающий несколько таких различных измеряемых параметров, используют на стадии S2 проверки для различения поддельных и сомнительных банкнот, тогда как на другой стадии S3 проверки, т.е. на стадии различения сомнительных и подлинных банкнот BN, отдельные не связанные в комбинацию измеренные значения или полученные на их основе параметры сравнивают с относящимися к ним интервалами допустимых значений снова по отдельности.
Преимущество этого решения состоит в том, что оно обеспечивает лучшую в качественном отношении проверку, поскольку проверку на пригодность банкноты для приема или проверку на принадлежность к категории 2, связанную с менее жесткими требованиями относительно однозначного определения подлинности банкнот, можно выполнять более простым путем по сравнению с проверкой, выполняемой с более высокой надежностью для определения фактической подлинности и/или пригодности банкноты для последующей выдачи, т.е. с проверкой на принадлежность банкноты соответственно к категории 3 и 4.
В соответствии со следующим вариантом, реализующим еще одну идею, положенную в основу настоящего изобретения, на одной из стадий проверяется корреляция нескольких измеренных значений, для чего, например, определяют соотношение нескольких измеренных значений. Если при этом обрабатываются измеренные значения одного и того же свойства банкноты и/или параметра, измеряемого одним и тем же сенсорным модулем 5a-5f, то, например, при измерении магнитных свойств в различных местах поверхности банкноты эта обработка может состоять в сравнении неабсолютных значений, характеризующих магнитные свойства в различных местах площади банкноты, с соответствующим интервалом допустимых значений, а только в выполняемой по меньшей мере на одной из стадий проверке того, что соотношение значений магнитных характеристик, измеренных в различных местах, находится в заданном интервале допустимых значений, характерном для подлинных банкнот.
Кроме того, дополнительно к этому решению или взамен него можно предусмотреть на одной стадии проверки нормирование измеренного значения с использованием по меньшей мере некоторого другого измеренного значения, полученного предпочтительно при измерении другого свойства банкноты и/или от другого сенсорного модуля 5a-5f. Так, например, измеренное значение оптического свойства, например, вне видимой области спектра или измеренное значение магнитного свойства, в наибольшей степени определяющие подлинность банкноты, можно нормировать с использованием некоторого другого измеренного значения, характеризующего состояние банкноты. В этом смысле значения, полученные на одной из стадий проверки, например, сенсорным модулем измерения магнитных свойств можно нормировать в зависимости от интенсивности печатного изображения на поверхности банкноты, что позволяет также учесть, например, состояние банкноты, которое может приводить, например, для выцветших банкнот к уменьшению измеренных значений магнитных свойств.
Кроме того, можно предусмотреть на определенной стадии, например на стадии S2, проверку лишь простого наличия у банкноты определенного свойства или характеристики, а на следующей стадии проверки, связанной с более высокими или жесткими требованиями, предъявляемыми к точности проверки подлинности, например на стадии S3, определяется точность локализации или структуры свойства или характеристики банкноты. При этом, например, выполняется проверка на соответствие распределения магнитных веществ в эмиссионной бумаге ожидаемому распределению.
В этом смысле различные типы проверки на двух стадиях могут заключаться, например, также и в том, что при выполнении первой стадии проверки определяют, имеет ли банкнота заданное пространственное кодирование, например, магнитной, оптической или электрической характеристики или свойства. Сказанное означает, что, например, проводится проверка с целью определить, имеет ли место заданное пространственное распределение в бумаге магнитных веществ, имеется ли оптический штрих-код с заданной структурой или имеет ли защитная нить заданное магнитное или электрическое кодирование, которые должны иметь подлинные банкноты. На второй стадии проверки отдельные измеренные значения кодированной характеристики или свойства сравнивают с относящимися к ним индивидуальным и предпочтительно различным интервалам допустимых значений, чтобы сделать выводы о том, обладает ли банкнота кодированием с правильной характеристикой интенсивности, например, при жестко заданных разностях отдельных измеренных значений кодирования в различных местах банкноты.
Кроме того, на одной из стадий проверки можно выполнять, например, измерение с разрешением в пространстве, а на другой стадии – измерение без разрешения в пространстве. При получении измеренных значений магнитных свойств в различных местах поверхности банкноты, например, с помощью сенсорного модуля 5b измерения магнитных свойств можно определять, например, с целью проверки пригодности банкноты для приема или отнесения к категории 2 принятых банкнот только среднее значение различных измеренных значений магнитных свойств, представляющее собой меру усредненной магнитной характеристики банкноты BN, и только на второй стадии, на которой банкноты проверяются, например, на предмет различения подлинных и сомнительных банкнот или определения пригодности банкнот для последующей выдачи, можно сравнивать отдельные измеренные значения магнитных свойств с относящимися к ним индивидуальными интервалами допустимых значений, чтобы сделать вывод о магнитных свойствах банкноты в различных местах, например в зоне защитной нити, серийного номера или печатного изображения.
Поскольку при обработке принимаются во внимание также параметры, характеризующие состояние банкнот, такие, например, как измеренные значения, характеризующие загнутые углы, отверстия и/или разрывы, равным образом можно проверять, например, на одной стадии проверки лишь суммарное измеренное значение как меру общей площади всех измеренных загнутых углов, отверстий и/или разрывов, а на другой, предпочтительно последующей, стадии проверки можно проверять значение площади самого большого загнутого угла, отверстия, отверстия или разрыва и сравнивать его с заданными интервалами допустимых значений.
Необходимо отметить, что предлагаемое в изобретении устройство можно также использовать в автомате для приема наличных денег без функции последующей выдачи принятых банкнот. Если необходимо выполнить проверку на пригодность банкноты для последующей выдачи, то в этом случае можно также выполнять соответствующие стадии проверки и после этого раздельно выложить для последующей обработки банкноты, классифицированные как пригодные и непригодные для последующей выдачи, даже если их выдача самим автоматом не предусмотрена.
Формула изобретения
1. Способ проверки банкнот (BN) в устройстве (1) для проверки банкнот, при осуществлении которого получают измеренные значения (M1-Mn) одного или нескольких параметров проверяемой банкноты (BN) и проводят классификацию банкноты путем анализа этих значений на нескольких стадиях (S1-S4) проверки, причем банкноту классифицируют по нескольким категориям, по меньшей мере на одной стадии (S2) проверки, необходимой для принятия решения о том, соответствует ли проверенная банкнота (BN) заданной классификационной категории, создают комбинацию нескольких измеренных значений и полученный комбинированный параметр анализируют, например, сравнивая его значение с относящимся к нему интервалом допустимых значений, отличающийся тем, что каждое из нескольких измеренных значений сравнивают с относящимся к нему интервалом допустимых значений, причем результат проверки отдельного измеренного значения оценивают как положительный, если соответствующее измеренное значение находится в пределах относящегося к нему интервала допустимых значений, и для первой стадии проверки, необходимой для принятия решения о том, соответствует ли проверяемая банкнота (BN) заданной классификационной категории, необходимо иное соотношение положительных и/или отрицательных результатов проверки измеренных значений, например меньшее количество положительных или отрицательных результатов проверки измеренных значений, чем для второй стадии проверки, необходимой для принятия решения о том, соответствует ли проверяемая банкнота (BN) другой заданной классификационной категории.
2. Способ по п.1, отличающийся тем, что классификацию банкнот выполняют по меньшей мере по классификационным категориям “поддельные”, “сомнительные” и “подлинные” и/или по классификационным категориям “пригодные для приема” и “пригодные для последующей выдачи”.
3. Способ по п.2, отличающийся тем, что и банкноты (BN), классифицируемые как поддельные, и банкноты (BN), классифицируемые как сомнительные, удерживают в устройстве (1) для проверки банкнот и больше не выдают.
4. Способ по п.2, отличающийся тем, что среди банкнот, классифицированных как подлинные, различают не пригодные и пригодные для последующей выдачи.
5. Способ по п.2, отличающийся тем, что сначала выполняют стадии (S1, S2) проверки, необходимые для принятия решения о том, подлежит ли банкнота классификации как поддельная, и только тогда, когда при этом принято решение, что банкнота (BN) не подлежит классификации как поддельная, выполняют последующие стадии (S3) проверки, необходимые для различения подлинных и сомнительных банкнот.
6. Способ по п.2, отличающийся тем, что для различения поддельных и сомнительных банкнот и/или сомнительных и подлинных банкнот одно или несколько измеренных значений на разных стадиях проверки сравнивают с интервалами допустимых значений, имеющими разную ширину.
7. Способ по п.6, отличающийся тем, что каждое измеренное значение при его анализе сравнивают только с одним присвоенным ему интервалом допустимых значений.
8. Способ по п.2, отличающийся тем, что для классификации проверяемой банкноты (BN) как пригодной для последующей выдачи помимо классификации проверяемой банкноты как подлинной выполняют дополнительные стадии (S4) проверки.
9. Способ по одному из пп.1-8, отличающийся тем, что комбинация нескольких измеренных значений представляет собой многопараметрическую математическую функцию, выдающую, например, минимум, и/или максимум, и/или среднее значение, и/или отношение, и/или линейную комбинацию комбинируемых измеренных значений.
10. Способ по одному из пп.1-8, отличающийся тем, что комбинируемые измеренные значения получают в разных местах проверяемой банкноты (BN).
11. Способ по одному из пп.1-8, отличающийся тем, что на двух разных, первой и второй, стадиях (S2, S3) проверки, необходимых для принятия решения о том, соответствует ли проверяемая банкнота соответственно первой и второй заданным классификационным категориям, создают разные комбинации нескольких измеренных значений, прежде всего измеренных значений, получаемых разными сенсорными модулями (5a-5f), и учитывают их при принятии соответствующего решения.
12. Способ по п.1, отличающийся тем, что при проверке соотношения положительных и/или отрицательных результатов проверки измеренных значений различные результаты проверки измеренных значений по-разному взвешивают.
13. Способ по одному из пп.1-8, отличающийся тем, что на одной из стадий проверки решение о том, что проверенная банкнота (BN) соответствует заданной классификационной категории, принимают только в том случае, когда проверка одного или нескольких заданных определенных измеренных значений параметра(-ов) банкноты (BN) дает положительный или отрицательный результат.
14. Способ по одному из пп.2-8, отличающийся тем, что на одной или нескольких стадиях (S2) проверки принимают решение о классификации банкноты как пригодной для приема, а на одной или нескольких других, прежде всего последующих, стадиях (S4) проверки принимают решение о классификации банкноты как пригодной для последующей выдачи.
15. Способ по п.1, отличающийся тем, что на одной или нескольких стадиях (S2) проверки принимают решение о классификации банкноты как поддельной, а на одной или нескольких других, прежде всего последующих, стадиях (S3) проверки принимают решение о классификации банкноты как сомнительной, и/или на одной или нескольких стадиях (S3) проверки принимают решение о классификации банкноты как сомнительной, а на одной или нескольких других, прежде всего последующих, стадиях (S4) проверки принимают решение о классификации банкноты как пригодной для последующей выдачи.
16. Способ по одному из пп.1-8, отличающийся тем, что измеренные значения (M1-Mn) получают различными сенсорными модулями (5a-5f) устройства (1) для проверки банкнот и/или измеренные значения характеризуют разные свойства проверяемой банкноты (BN),
17. Способ по одному из пп.1-8, отличающийся тем, что на другой стадии (S3) проверки, необходимой для принятия решения о том, соответствует ли проверенная банкнота другой заданной классификационной категории, по меньшей мере некоторые или все комбинируемые измеренные значения анализируют по отдельности, например, сравнивая измеренные значения и/или значения полученных на их основе параметров, не скомбинированные с другими измеренными значениями, с относящимся к ним интервалом допустимых значений.
18. Способ по одному из пп.1-8, отличающийся тем, что несколько измеренных значений характеризуют различные свойства банкноты (BN) и/или одно и то же свойство банкноты (BN) в различных ее местах и/или несколько измеренных значений получают различными сенсорными модулями (5a-5f).
19. Способ по одному из пп.1-8, отличающийся тем, что при выполнении стадий (S3) проверки, необходимых для принятия решения о том, соответствует ли проверенная банкнота заданной классификационной категории, выполняют измерение с разрешением в пространстве, а на другой стадии (S2) проверки, необходимой для принятия решения о том, соответствует ли проверяемая банкнота другой заданной классификационной категории, выполняют измерение без разрешения в пространстве и его результат учитывают при принятии соответствующего решения.
20. Способ по одному из пп.1-8, отличающийся тем, что проверку выполняют в банкомате с функцией ввода банкнот и классификацию проводят в отношении введенных банкнот.
21. Устройство (1) для проверки банкнот (BN) способом, охарактеризованным в одном из пп.1-20, содержащее сенсорный блок (5) для получения измеренных значений (M1-Mn) одного или нескольких параметров проверяемой банкноты (BN) и блок (6) обработки, предназначенный для анализа измеренных значений с целью классификации банкнот (BN), и представляющее собой банкомат (1) с замкнутым оборотом наличных денег, причем сенсорный блок (5) имеет сенсорный модуль (5f) для измерения люминесцентного свечения защитных веществ, введенных в бумагу или печатную краску банкноты (BN).
22. Устройство по п.21, отличающееся тем, что сенсорный блок (5) проверяет как вводимые, так и выдаваемые банкноты (BN), и/или сенсорный модуль (5f) измеряет люминесцентное свечение защитных веществ, введенных в бумагу или печатную краску банкноты (BN), только у вводимых, но не выдаваемых банкнот.
РИСУНКИ
|
|