|
|
(21), (22) Заявка: 2007144103/09, 28.04.2005
(24) Дата начала отсчета срока действия патента:
28.04.2005
(43) Дата публикации заявки: 10.06.2009
(46) Опубликовано: 10.02.2010
(56) Список документов, цитированных в отчете о поиске:
WO 2004/084125 A1, 30.09.2004. WO 03/049023 A1, 12.06.2003. RU 2126598 C1, 20.02.1999. JP 10187907 А, 21.07.1998. WO 02/23464 A1, 21.03.2002.
(85) Дата перевода заявки PCT на национальную фазу:
28.11.2007
(86) Заявка PCT:
JP 2005/008210 20050428
(87) Публикация PCT:
WO 2006/117869 20061109
Адрес для переписки:
129090, Москва, ул.Б.Спасская, 25, стр.3, ООО “Юридическая фирма Городисский и Партнеры”, пат.пов. А.В.Мицу, рег. 364
|
(72) Автор(ы):
ЙОСИДА Кендзи (JP)
(73) Патентообладатель(и):
ЙОСИДА Кендзи (JP)
|
(54) СПОСОБ ВВОДА/ВЫВОДА ИНФОРМАЦИИ С ИСПОЛЬЗОВАНИЕМ ОБРАЗА С ТОЧЕЧНЫМИ ЭЛЕМЕНТАМИ
(57) Реферат:
Изобретение относится к области ввода/вывода информации. Техническим результатом является возможность быстрого предоставления информации из образа с точечными элементами. Предоставлен способ ввода/вывода информации, содержащий этапы, на которых: определяют как блок прямоугольную область квадрата или прямоугольника поверхности среды, такой как печатное средство; предоставляют виртуальную точку координатной сетки через предварительно определенный интервал на линии координатной сетки наряду с тем, что прямая линия в вертикальном направлении и в горизонтальном направлении, формирующая рамку блока, определяется как стандартная линия сетки; располагают точечный элемент точки координатной сетки на точке виртуальной координатной сетки; соединяют точки виртуальной координатной сетки друг с другом и определяют прямую линию, параллельную линии координатной сетки, как линию сетки; определяют точку пересечения между линиями сетки как точку виртуальной сетки; генерируют образ с точечными элементами, получаемый путем расположения одного или более информационных точечных элементов соответственно на некотором расстоянии и в некотором направлении от точки виртуальной сетки; считывают такой образ с точечными элементами как информацию изображения посредством оптического средства считывания; задают цифровые значения образу с точечными элементами; и считывают и выводят информацию, которая соответствует определенной цифровым образом информации из запоминающего средства. 2 н.п. и 6 з.п. ф-лы, 14 ил.
Область техники
Настоящее изобретение относится к способу ввода/вывода информации с использованием образов с точечными элементами для выполнения ввода/вывода различной информации или программ путем оптического считывания информации образа с точечными элементами, который сформирован на печатном средстве или т.п.
Уровень техники
Известен способ вывода информации, по которому сначала считывается штриховой код, напечатанный на печатном средстве или тому подобном, и, далее, выводится информация, такая как голос. Например, существует способ для предварительного сохранения информации, которая соответствует ключевой информации, введенной в запоминающее средство, для восстановления информации из ключа, считанного посредством считывателя штрихового кода, и для последующего вывода информации или т.п. В добавление также был предложен способ для генерации образа с точечными элементами, получаемого путем размещения мелких точечных элементов по предварительно определенному правилу так, чтобы выводить большой объем информации или программ для снятия и оцифровки образа с точечными элементами, напечатанного на печатном средстве или тому подобном в форме данных изображения, посредством камеры, и для последующего вывода голосовой информации.
Однако обычный способ для вывода голоса или тому подобного посредством штрихового кода влечет за собой проблему, заключающуюся в том, что штриховой код, напечатанный на печатном средстве или тому подобном, непривлекателен с эстетической точки зрения. В добавление вышеупомянутый обычный способ влечет за собой проблему, заключающуюся в том, что штриховой код имеет большие размеры и занимает часть бумаги, и, таким образом, если штриховой код имеет такие большие размеры, то представляется невозможным, с точки зрения компоновки, четко разместить несколько штриховых кодов по форме части абзаца или предложения или символа или объекта, который имеет визуальную значимость в изображениях фотографий, рисунков или графики.
Образ с точечными элементами считывается как данные изображения посредством камеры и, далее, данные изображения оцифровываются в 256 градациях серого. Для облегчения распознавания точечных элементов вариация градации дифференцируется, и после этого увеличивается резкость по краям точечного элемента. Далее, данные по 256 градациям преобразовываются в двоичную форму – в белый или черный. Посредством этого преобразования в двоичную форму, когда точечный элемент распечатывается на бумаге и возникает ошибка печати точечного элемента, причиной этой ошибки является смещение печати или размывание и смещение при предоставлении пикселя. Обычно посредством контроля по четкости выполняется контроль ошибок печати. Однако этот контроль ошибок имеет недостаток, заключающийся в том, что контроль ошибок выполняется относительно блока данных, полученных из множества точечных элементов, а не относительно самого точечного элемента, что делает невозможным определить, с каким точечным элементом произошла ошибка печати, а также еще один недостаток, заключающийся в том, что диапазон снятия изображения камеры должен быть широким.
Кроме того, вышеупомянутый контроль ошибок привел к проблеме, заключающейся в искажениях снятых образов с точечными элементами, что происходит из-за дисторсии объектива или искажений, происходящих вследствие снятия изображения в кривом положении, растяжении или сжатии бумаги, скручивании поверхности среды или печати при таких условиях, и из-за этого возникает необходимость в сложных способах для коррекции этого искажения.
Настоящее изобретения разрабатывалось для решения таких проблем. Иначе говоря, целью настоящего изобретения является предоставление способа ввода/вывода информации с использованием образов с точечными элементами, который предоставляет возможность передавать информацию или различные функции в зависимости от точечных элементов образа, отображенного на печатном средстве или тому подобном, и посредством этого с помощью образа с точечными элементами определять большой объем данных, и который во время определения информации из этого образа с точечными элементами обеспечивает направленность распознавания и быстрое определение информации, и который предоставляет возможность выполнения контроля ошибок по состоянию расположения точечных элементов, и который, сверх того, предоставляет возможность повышать защиту.
Сущность изобретения
Пункт 1 формулы настоящего изобретения предусматривает способ ввода/вывода информации с использованием образов с точечными элементами, который содержит этапы, на которых: определяют как блок прямоугольную область квадрата или прямоугольника на поверхности среды, такой как печатное средство;
предоставляют точку виртуальной координатной сетки через предварительно определенные интервалы на линии координатной сетки наряду с тем, что прямая линия в вертикальном направлении и в горизонтальном направлении, формирующая рамку блока, определяется как линия стандартной сетки;
располагают точечный элемент точки координатной сетки на точке виртуальной координатной сетки;
соединяют точки виртуальной координатной сетки друг с другом и определяют прямую линию, параллельную линии координатной сетки, как линию сетки;
определяют точку пересечения между линиями сетки как точку виртуальной сетки;
генерируют образ с точечными элементами, получаемый путем размещения одного или множества информационных точечных элементов соответственно на некотором расстоянии и в некотором направлении вокруг точки виртуальной сетки;
считывают такой образ с точечными элементами как информацию изображения посредством оптического средства считывания;
задают цифровые значения образу с точечными элементами; и
считывают и выводят информацию, которая соответствует определенной цифровым образом информации из запоминающего средства.
Согласно пункту 1 формулы изобретения информационные точечные элементы могут быть расположены по сетке (точке первой виртуальной сетки), сформированной в большом количестве в блоках, так что в блоках может храниться больше информации.
В добавление использованная здесь точка виртуальной координатной сетки, удаленная в предварительно определенном направлении, обозначает предварительно определенный интервал в вертикальном или горизонтальном направлении; однако этот интервал может быть другим в зависимости от вертикального направления и горизонтального направления.
В пункте 2 формулы настоящего изобретения раскрыт способ ввода/вывода информации с использованием образов с точечными элементами по п.1, в котором, предполагая наличие линии косой сетки, соединяющей точки виртуальной координатной сетки в косом направлении, точка пересечения между линиями косой сетки также определяется как точка виртуальной сетки (точка второй виртуальной сетки); и один или множество точечных элементов, каждый из которых удален на некоторое расстояние в некотором направлении, располагаются вокруг этой точки виртуальной сетки.
Согласно пункту 2 формулы изобретения информационные точечные элементы могут быть расположены около точки виртуальной сетки, которая является точкой пересечения линий сетки в косом направлении, так что в блоках может храниться еще больше информации.
В пункте 3 формулы изобретения раскрыт способ ввода/вывода информации с использованием образов с точечными элементами по п.1 или 2, в котором образ с точечными элементами предоставляет значимость информации согласно тому, расположены ли точечные элементы вокруг точки виртуальной сетки или нет.
Согласно пункту 3 формулы изобретения путем заданной генерации и расположения свободной от точечных элементов области может быть выражена внешняя рамка маски, определяющая область на печатной поверхности. В добавление путем расположения точечных элементов на всех точках виртуальной сетки в предварительно определенной области размещенные точечные элементы могут быть распознаны как обычная фоновая информация.
Первый алгоритм для определения информации согласно тому, существует ли точечный элемент на точке виртуальной сетки или нет, и второй алгоритм, связанный с информационным точечным элементом, который существует на позиции, сдвинутой от точки виртуальной сетки, могут быть объединены друг с другом, и соответственно будет возможно разместить больше информации.
В пункте 4 формулы настоящего изобретения раскрыт способ ввода/вывода информации с использованием образов с точечными элементами по любому из пунктов 1-3 формулы изобретения, в котором ключевой точечный элемент, определяющий ориентацию блока, располагается в позиции, смещенной от, по меньшей мере, одной точки виртуальной координатной сетки на линии координатной сетки, формирующей блок.
Таким образом, ориентация блока может быть определена путем размещения ключевого точечного элемента. Путем использования ключевого точечного элемента может быть детектировано отклонение в предварительно определенном направлении относительно оси, считанной оптическим средством считывания, так что считанный образ с точечными элементами может быть скорректирован или может быть предоставлена значимость, зависящая от угла отклонения.
В добавление в случае, когда размещается такой ключевой элемент, эта часть (точечный элемент точки координатной сетки на линии виртуальной координатной сети) не существует, поскольку она замещается ключевым точечным элементом.
В пункте 5 формулы настоящего изобретения раскрыт способ ввода/вывода информации с использованием образа с точечными элементами по любому из пунктов 1-3, в котором относительно информационного точечного элемента с предварительно определенной позиции, который определен как ключевой точечный элемент в блоке, информационный точечный элемент, размещенный в соответствующей прямоугольной области, которая существует в позиции, в которой прямоугольная область, к которой принадлежит упомянутый ключевой точечный элемент, повернута на 90 градусов вокруг центра блока, информация определяется направлением или расстоянием, которое исключает направление, необходимое для определения ключевого точечного элемента.
В случае, когда информационный точечный элемент, отличный от центра блока, определяется как ключевой точечный элемент, существует возможность, что информационный точечный элемент, который существует в соответствующей позиции, когда центр блока поворачивается как ось вращения на 90 градусов, не может быть отличен от ключевого точечного элемента, если информационный точечный элемент считывается посредством оптического средства считывания. Согласно пункту 5, однако, в соответствующей прямоугольной области, отличной от ключевого точечного элемента, порядок внедрения информационного точечного элемента изменяется от обычного и благодаря этому представляется возможность отличать ключевой точечный элемент от информационного точечного элемента.
Например, будет достаточным, если ключевой точечный элемент размещается как вектор только в вертикальном и горизонтальном направлениях от точки виртуальной сетки, и, если информация определяется в косом направлении, в еще одной прямоугольной области, которая существует в позиции, повернутой на 90 градусов.
В добавление относительно ключевого точечного элемента, несмотря на то, что длина вектора задается как предварительно определенная длина, информация может быть определена посредством вектора другой длины в другой прямоугольной области, которая существует в позиции, повернутой на 90 градусов.
Таким образом, способ определения информационного точечного элемента задается заблаговременно, так чтобы была возможность отличить его от способа определения ключевого точечного элемента относительно области, в которой может быть размещен этот ключевой элемент, посредством чего информационный точечный элемент может быть расположен относительно соответствующей области, отличной от ключевого точечного элемента, и образ с точечными элементами может быть достигнут без излишних затрат.
В случае, когда ключевой точечный элемент размещается у центра блока относительно другого информационного точечного элемента, безусловно, информация может быть определена в зависимости от того, какое направление должно быть определено из вертикального, горизонтального и косого.
В пункте 6 формулы настоящего изобретения раскрыт способ ввода/вывода информации с использованием образов с точечными элементами по любому из пунктов 1-5, в котором в информационном точечном элементе блока в зависимости от позиции информационного точечного элемента в блоке расстояние и направление от точки виртуальной сетки произвольным образом ограничиваются информационным точечным элементом, и информация определяется.
Согласно пункту 6 формулы настоящего изобретения информация может быть определена наряду с тем, что расстояние и направление от точки виртуальной сетки ограничиваются произвольным образом. Следовательно, способ определения информации посредством информационного точечного элемента, например, может быть изменен в зависимости от отрасли промышленности, в которой используется образ с точечными элементами (в зависимости от изготовителя, области обслуживания или компании, которая использует этот образ с точечными элементами).
Таким образом, образы с точечными элементами настоящего изобретения могут использоваться различным образом путем ограничения использования, так что может быть обеспечена взаимная защита. Иначе говоря, может быть предоставлена ограниченная определенная информация, которая может быть считана соответствующим ей оптическим средством считывания.
Краткое описание чертежей
Фиг.1 – иллюстрация, показывающая один пример образа с точечными элементами;
Фиг.2 – увеличенный вид, иллюстрирующий пример информационных точечных элементов в образе с точечными элементами;
Фиг.3(а), 3(b) и 3(c) – иллюстрации, показывающие, как размещаются ключевые точечные элементы и информационные точечные элементы;
Фиг.4 – пример информационных точечных элементов и битового представления определенных в них данных;
Фиг.5(а)-5(f) – иллюстрации примера информационных точечных элементов и определенных в них битовых представлений, причем Фиг.5(а) иллюстрирует случай, когда размещаются два точечных элемента; Фиг.5(b) иллюстрирует случай, когда размещаются четыре точечных элемента; каждая из Фиг.5(с)-5(е) иллюстрирует случай, когда размещаются пять точечных элементов; и Фиг.5(f) иллюстрирует случай, когда размещаются семь информационных точечных элементов.
Фиг.6(а)-6(d) представляют собой виды, иллюстрирующие пример конфигурации блока, причем Фиг.6(а) иллюстрирует пример конфигурации 2×3=6 прямоугольных областей; Фиг.6(b) иллюстрирует пример конфигурации 3×3=9 прямоугольных областей; Фиг.6(с) иллюстрирует пример конфигурации 4×3=12 прямоугольных областей; и Фиг.6(d) иллюстрирует пример конфигурации 5×5=25 прямоугольных областей соответственно.
Fig.7 – иллюстрация способа для назначения “0” и “1” самым младшим битам и для контроля ошибок информационного точечного элемента;
Фиг.8 – иллюстрация, показывающая связь между истинной величиной К, таблицей R защиты и информационным точечным элементом I для целей иллюстрации защиты информационного точечного элемента;
Фиг.9(а)-9(d) иллюстрируют фиктивные точечные элементы и нулевые точечные элементы, причем Фиг.9(а)-1 представляет собой иллюстративный вид фиктивных точечных элементов; Фиг.9(a)-2 представляет собой иллюстративный вид нулевых точечных элементов; Фиг.9(b) и 9(с) иллюстрируют один пример печатного средства; Фиг.9(d)-1 представляет собой пример расположения образов с точечными элементами, которые задают границу между двумя масками посредством нулевых точечных элементов; и Фиг.9(d)-2 представляет собой иллюстративный вид, показывающий пример расположения образов с точечными элементами, которые задают границу между нулевым точечным элементом и фоном посредством нулевых точечных элементов.
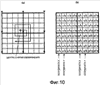
Фиг.10(а) – иллюстрация, показывающая последовательность ввода информационных точечных элементов; Фиг.10(b) – иллюстрация, показывающая способ считывания образов с точечными элементами и вычисления значений координат X и Y;
Фиг.11 – вид, показывающий связь в расположении между линией координатной сетки, формирующей внешнюю рамку блока, и точечным элементом координатной сетки;
Фиг.12 – вид, показывающий связь в расположении между линией сетки, линией косой сетки, точкой виртуальной сетки и информационным точечным элементом;
Фиг.13 – вид для разъяснения способа извлечения информационного точечного элемента 3 вокруг точки виртуальной сетки;
Фиг.14 – вид для разъяснения связи в расположении между ориентацией блока и ключевым точечным элементом.
Предпочтительный вариант осуществления изобретения
Ниже со ссылкой на прилагаемые чертежи подробно описаны предпочтительные варианты осуществления настоящего изобретения.
Фиг.1 представляет собой иллюстративный вид, показывающий один пример образа с точечными элементами согласно настоящему изобретению; Фиг.2 представляет собой увеличенный вид, показывающий один пример информационных точечных элементов образа и битовое представление определенных в них данных; и Фиг.3(а)-3(с) представляют собой иллюстративные виды, показывающие, как размещаются ключевые точечные элементы и информационные точечные элементы.
Согласно настоящему изобретению способ ввода/вывода информации с использованием образов с точечными элементами содержит: распознавание образа 1 с точечными элементами; и средство для вывода информации и программ из этого образа 1 с точечными элементами.
Иначе говоря, образ 1 с точечными элементами снимается как данные изображения посредством камеры; сначала извлекается точечный элемент 4 точки координатной сетки и далее определяется, что извлеченный таким образом точечный элемент находится на позиции точки 6 виртуальной координатной сетки; и прямая линия, соединяющая эти точки 6 виртуальной координатной сетки, определяется как линия 7 координатной сетки. В случае, когда точечные элементы 4 точки координатной сетки не размещены на позиции точек 6 виртуальной сетки, на которых должны быть точечные элементы, извлекаются точечные элементы по периферии этих точек 6 виртуальной сетки, и каждый извлеченный точечный элемент определяется как ключевой точечный элемент 2 (прямоугольные части в четырех углах блока). Далее, устанавливаются вертикальные и горизонтальные линии 8а, 8b сетки, соединяющие точки 6 виртуальной координатной сетки, и тогда точки пересечения между линиями 8a и 8b сетки определяются как точки 11 виртуальной сетки (точки первой виртуальной сетки). Далее извлекаются точечные элементы на периферии этой точки 11 виртуальной сетки и далее извлекается информационный точечный элемент 3, определенный в зависимости от расстояния и направления от точки виртуальной сетки.
В добавление, предполагая, что линия 8c косой сетки соединяет точки 6 виртуальной координатной сетки друг с другом в косом направлении, точка пересечения этих линий 8с косой сетки также определяется как точка 12 виртуальной сетки (точка второй виртуальной сетки). Тогда также извлекаются точечные элементы на периферии этой точки 12 виртуальной сетки и далее извлекается информационный точечный элемент 3, определенный в зависимости от расстояния и направления от точки 12 виртуальной сетки.
Следующее, определяется ориентация блока в зависимости от направления от точки 6 виртуальной координатной сетки или точки 11 виртуальной сетки ключевого точечного элемента 2. Например, в случае, когда ключевой точечный элемент 2 был смещен относительно точки виртуальной сетки в направлении +y, информационный точечный элемент 3 в блоке может быть распознан наряду с тем, что вертикальное направление определяется как прямое направление.
Кроме того, если ключевой точечный элемент 2 смещен от точки 6 виртуальной координатной сетки или точки 11 виртуальной сетки в направлении -y, то может быть распознан информационный точечный элемент 3 в блоке наряду с тем, что направление, в котором блок был повернут на 180 градусов вокруг центра блока, определяется как прямое направление.
Если ключевой точечный элемент 2 смещен от точки 6 виртуальной координатной сетки или точки 11 виртуальной сетки в направлении -x, то в блоке может быть распознан информационный точечный элемент наряду с тем, что направление, в котором блок был повернут на 90 градусов по часовой стрелке вокруг центра блока, определяется как прямое направление.
А если ключевой точечный элемент 2 смещен от точки 6 виртуальной координатной сетки или точки 11 виртуальной сетки в направлении +x, то в блоке может быть распознан информационный точечный элемент 3 наряду с тем, что направление, в котором блок был повернут на 90 градусов против часовой стрелки вокруг центра блока, определяется как прямое направление.
Если изображения образов с точечными элементами, считанные посредством оптического считывателя, накапливаются в буфере кадров, то центральное процессорное устройство (ЦПУ) средства оптического считывателя анализирует точечные элементы в буфере кадров и далее декодирует числовые величины, определенные информационным точечным элементом 3, в зависимости от расстояния и направления расположения информационных точечных элементов 3 от точек 11, 12 виртуальной сетки. Как координаты xy или коды, эти числовые величины подвергаются перекрестной проверке с информацией, хранимой в средстве оптического считывателя или памяти персонального компьютера; и голос, изображения, мобильные изображения, программы или тому подобное, соответствующие координатам xy или кодам, считываются и далее выводятся из средства вывода голоса/изображения или тому подобного.
При генерации образа 1 с точечными элементами настоящего изобретения согласно алгоритму для генерации кода точечного элемента, для того чтобы распознать информацию, такую как голос, мелкие точечные элементы, то есть ключевой точечный элемент 2, информационный точечный элемент 3 и точечный элемент 4 точки координатной сетки располагаются по предварительно определенному правилу.
Как показано на Фиг.1, прямоугольная область, такая как квадрат или прямоугольник, с поверхности средства, такого как печатное средство, определяется как блок 1. В добавление наряду с тем, что каждая прямая линия в вертикальном и горизонтальном направлениях, формирующая рамку блока 1, определяется как линия 7 координатной сетки (линии, обозначенные толстыми линиями на Фиг.1), точки 6 виртуальной координатной сетки предоставляются через предварительно определенные промежутки на линии 7 координатной сетки, и точечные элементы 4 точки координатной сетки размещаются на точках 6 виртуальной координатной сетки. Следующее, прямые линии, соединяющие точки 6 виртуальной координатной сетки друг с другом и расположенные параллельно линии 7 координатной сетки, определяются как линии 8а, 8b сетки, и точка пересечения между линиями 8a и 8b сетки определяется как точка 11 виртуальной сетки (точка первой виртуальной сетки).
В добавление устанавливается линия 8c косой сетки, соединяющая точки 6 виртуальной координатной сетки друг с другом в косом направлении, и точка пересечения этих линий 8с косой сетки определяется как точка 12 виртуальной сетки (точка второй виртуальной сетки).
Для генерации образа с точечными элементами информационные точечные элементы 3 размещаются на некотором расстоянии в некотором направлении вокруг точки установленной таким образом сетки.
Когда этот образ 1 с точечными элементами считывается как данные изображения посредством камеры, дисторсия линзы камеры или искажения, возникающие во время снятия изображения в кривом положении, из-за растяжения или сжатия бумаги, скручивания поверхности среды или печати при таких условиях может быть скорректирована посредством точечных элементов 4 точки координатной сетки. В частности, получается корректирующая функция (XnYn)=f(X’nY’n) для преобразования четырех искаженных точек виртуальной сетки в исходный квадрат, информационные точечные элементы корректируются посредством той же функции и получается вектор корректного информационного элемента 3.
Если точечные элементы точки координатной сетки размещаются в образе 1 с точечными элементами, то данные изображения, полученные путем снятия этого образа 1 с точечными элементами посредством камеры, корректируют искажения, вызванные камерой, так что, когда данные изображения на образе 1 с точечными элементами снимаются посредством камеры обычного типа с установленным на ней объективом, имеющим высокий коэффициент дисторсии, данные изображения могут быть распознаны с достаточной точностью. В добавление, даже если камера наклонена относительно поверхности образа 1 с точечными элементами, то образ 1 с точечными элементами может быть с точностью распознан.
Как показано на Фиг.1, ключевой точечный элемент 2 служит в качестве точечного элемента, размещенного в зависимости от расстояния и направления вокруг одной точки 11 виртуальной сетки, которая находится, по существу, в центральной позиции точек виртуальной сетки, расположенных в прямоугольной форме. Этот ключевой точечный элемент 2 служит как представительская точка образа 1 с точечными элементами для одного блока, представляющего группу информационных точечных элементов.
Например, эти точечные элементы размещаются в позициях, которые смещены на 0,2 мм вверх от точки виртуальной сетки в центре блока образа 1 с точечными элементами.
Следовательно, в том случае, когда информационный точечный элемент 3 определяется значениями координат X, Y от точки виртуальной сетки, позиция, удаленная на 0,2 мм вниз от ключевого точечного элемента 2, определяется как точка виртуальной сетки (координатная точка). Однако эта числовая величина 0,2 мм может варьировать без ограничений в зависимости от размера образов 1 с точечными элементами.
Информационный точечный элемент 3 служит в качестве точечного элемента для распознавания различной информации. В случае с Фиг.1 информационные точечные элементы 3 размещаются по их периферии наряду с тем, что ключевой точечный элемент определяется как представительская точка, и они размещаются в конечных точках, выраженных посредством вектора, наряду с тем, что центр, окруженный четырьмя точками 11 виртуальной сетки (точками первой виртуальной сетки), определяется как точка виртуальной сетки (точка второй виртуальной сетки), и, далее, определенная точка сетки определяется как начальная точка. Например, этот информационный точечный элемент 3 окружен точками 11, 12 виртуальной сетки. Как показано на Фиг.2, точечные элементы, удаленные на 0,2 мм от виртуальной точки, размещаются в восьми направлениях, поворачиваясь по часовой стрелке на 45 градусов, для предоставления направления и длины, которые выражаются посредством вектора, и тогда выражаются три бита.
Ссылаясь на фигуру, в образе 1 с точечными элементами одного блока может быть выражено 3 бита×16=48 битов.
Несмотря на то что в иллюстративном варианте осуществления изобретения размещение точечных элементов предоставляется в восьми направлениях, чтобы выразить три бита, размещение точечных элементов может быть предоставлено в 16 направлениях, чтобы выразить 4 бита, и, несомненно, размещение точечных элементов может быть изменено различным образом.
Желательно, чтобы диаметр ключевого точечного элемента 2, информационного точечного элемента или точечного элемента 4 точки координатной сетки был порядка 0,1 мм из соображений внешнего вида, точности печати относительно бумаги, разрешающей способности камеры и оптимальной оцифровки.
В добавление, из соображений предотвращения некорректного распознавания различных точечных элементов 2, 3, 4, желательно, чтобы интервалы точечных элементов 4 точки координатной сетки были порядка 1 мм в вертикальном и горизонтальном направлениях. Желательно, чтобы искажение ключевого точечного элемента 2 было порядка 20% интервалов сетки.
Желательно, чтобы промежутки между этим информационным элементом 3 и точкой 11, 12 виртуальной сетки были порядка 15-20% от расстояния между точками 11 и 12 виртуальной сетки, прилежащими к ней. Причина этого изложена ниже. Если расстояние между информационным точечным элементом и точкой 11, 12 виртуальной сетки больше этого интервала, то точечные элементы с легкостью визуально распознаются как большой блок, и образ 1 с точечными элементами будет непривлекателен с эстетической точки зрения. С другой стороны, если расстояние между информационным точечным элементом 2 и точкой 11, 12 виртуальной сетки меньше указанного интервала, то становится сложным определить, что целевой точечный элемент является информационным точечным элементом 3, имеющим некоторую направленность вектора, вокруг какой-либо из точек 11, 12 виртуальной сетки, прилегающих к нему.
Фиг.3 иллюстрирует последовательность считывания информационных точечных элементов 3 в блоке, причем числа в кружках обозначают область размещения информационных точечных элементов, расположенных около точек 11, 12 виртуальной сетки соответственно.
Например, в случае с Фиг.3(а), с (1) по (25) располагаются по часовой стрелке относительно друг друга вокруг (1) центра блока (который обозначен цифрой “1” в кружке). Тогда, если интервал сетки равен, например, 1 мм, то 3 бита×16=48 битов выражаются посредством квадрата 4 мм×4 мм.
На Фиг.3(b) после того, как информационные точечные элементы с (1) по (4) размещаются последовательно в вертикальном направлении, начиная с прямоугольной области в левом верхнем блоке, информационные точечные элементы с (5) по (7) размещаются в точках пересечения между линиями сетки в вертикальном и горизонтальном направлениях.
На Фиг.3(с) после того, как информационные точечные элементы с (1) по (16) размещаются последовательно в вертикальном направлении, начиная с прямоугольной области в левом верхнем блоке, информационные точечные элементы с (17) по (25) попеременно размещаются в точках пересечения между линиями сетки в вертикальном и горизонтальном направлениях.
Фиг.4 представляет собой пример информационного точечного элемента 3 и битового представления определенных в них данных, и он также иллюстрирует еще один аспект настоящего изобретения.
В добавление, если с использованием двух типов точечных элементов, то есть длинного точечного элемента (верхний ряд с Фиг.4) и короткого точечного элемента (нижний ряд с Фиг.4) (относительно расстояния от точек 11, 12 виртуальной сетки, окруженных точечным элементом 4 точки координатной сетки до информационного точечного элемента 3), определяются восемь векторных направлений, то может быть выражено четыре бита. Тогда желательно, чтобы длинный точечный элемент был на расстоянии порядка 25-30% от расстояния между прилежащими к нему точками 11 и 12 виртуальной сетки, а короткий точечный элемент – на расстоянии порядка 15-20%. Однако желательно, чтобы центральный интервал длинного точечного элемента и короткого точечного элемента был больше диаметра каждого из этих элементов.
Желательно, чтобы информационный точечный элемент, окруженный четырьмя точками 11, 12 виртуальной сетки, представлял собой один точечный элемент из соображений внешнего вида. Однако в случае, когда предпринимается попытка увеличить количество информации, между тем пренебрегая внешним видом, может быть предоставлено большое количество информации путем назначения одного бита и далее выражения информационных точечных элементов 3 во множестве. Например, в концентрических восьмимерных векторах информация для 2 может быть выражена посредством информационного точечного элемента 3, и 2128 получается посредством 16 информационных точечных элементов в одном блоке.
Фиг.5(а)-5(f) представляют собой иллюстрации примеров информационных точечных элементов 3 и битовых представлений определенных в них данных, причем Фиг.5(а) иллюстрирует случай, когда размещаются два точечных элемента; Фиг.5(b) иллюстрирует случай, когда размещаются четыре точечных элемента; каждая из Фиг.5(с)-5(е) иллюстрирует случай, когда размещаются пять точечных элементов; и Фиг.5(f) иллюстрирует случай, когда размещаются семь точечных элементов.
Фиг.6(а)-6(d) представляют собой иллюстрации модификаций образов с точечными элементами, причем Фиг.6(а) иллюстрирует случай, когда в блоке размещаются восемь информационных точечных элементов; Фиг.6(b) иллюстрирует случай, когда размещаются 18 информационных точечных элементов; Фиг.6(с) иллюстрирует случай, когда размещаются 13 информационных точечных элементов; и Фиг.6(d) иллюстрирует случай, когда в одном блоке размещаются 41 информационных точечных элементов.
Каждый из образов 1 с точечными элементами, показанных на Фиг.1 и 3 и описанных выше, также иллюстрирует пример, в котором в одном блоке размещаются 25 информационных точечных элементов 3. Однако эти информационные точечные элементы 3 могут меняться различным образом без ограничений. Например, в зависимости от большого или малого количества требуемой информации или разрешающей способности камеры в одном блоке может быть размещено восемь информационных точечных элементов 3 (Фиг.6(а)); в одном блоке может быть размещено 13 информационных точечных элементов (Фиг.6(b)); в одном блоке может быть размещено 18 информационных точечных элементов (Фиг.6(с)); или в одном блоке может быть размещено 41 информационных точечных элементов (Фиг.6(d)).
Фиг.7 представляет собой иллюстрацию способа для назначения “0” и “1” самым младшим битам и для контроля ошибок информационного точечного элемента.
Кроме того, один информационный точечный элемент 3 размещается равномерно, и “0” и “1” попеременно назначаются младшим значащим битам, так что они используются для контроля ошибок, посредством чего предоставляя возможность выполнять контроль ошибок этого информационного точечного элемента 3. В этой системе контроля ошибок информационные точечные элементы генерируются попеременно в вертикальном направлении, горизонтальном направлении и в направлении под углом 45 градусов, посредством чего обеспечивается возможность устранить регулярность образа с точечными элементами. Иначе говоря, информационные точечные элементы, полученные путем попеременного назначения “0” и “1” младшим значащим битам, всегда позиционируются в вертикальном, горизонтальном или направлении под углом 45 градусов вокруг точек 11, 12 виртуальной сетки. Следовательно, когда информационные точечные элементы 3 позиционируются в направлении, которое отлично от горизонтального направления или направления под углом 45 градусов, эти точки определяются как отображенные в своих соответствующих позициях. Таким образом, наличие ошибки, введенной при смещении информационных точечных элементов 3 во вращательном направлении вокруг точек 11, 12 виртуальной сетки, может быть надежным образом проверено.
Когда информационные точечные элементы 3 определяются как восемь направлений (с разделением по 45 градусов) и как длинные/короткие точечные элементы (см. Фиг.4), если младший значащий один бит из четырех битов равен “0” или “1”, в случае, когда упомянутый один бит смещается на позицию одного из смежных трех точечных элементов (концентрическая окружность ± две точки на позициях вращения на 45 градусов + какой-либо один из длинных и коротких точечных элементов), то это может быть обработано как ошибка, и может быть выполнен 100% контроль ошибок.
Фиг.8 представляет иллюстративный вид, показывающий, как располагаются информационные точечные элементы с I1 по I16, чтобы разъяснить защиту информационных точечных элементов.
Например, для того чтобы блокировать визуальное считывание данных на образе 1 с точечными элементами, относительно In информационного точечного элемента 3 выполняется вычисление, выраженное функцией f(Kn); In=Kn+Rn выражается посредством образа 1 с точечными элементами; вводится образ In с точечными элементами; и впоследствии получается Kn=In-Rn.
Альтернативно, для того чтобы блокировать визуальное считывание данных на образе 1 с точечными элементами, множество информационных точечных элементов размещаются в одной колонке с ключевым точечным элементом 2, который является представительской точкой, и одна такая последовательность размещается во множестве последовательностей, и тогда разность в данных между двумя расположенными рядом друг с другом последовательностями обрабатывается как данные на информационном точечном элементе 2, посредством чего каждый информационный точечный элемент 3 может быть размещен так, чтобы устранялась регулярность информационных точечных элементов.
Таким образом, защита может быть улучшена, чтобы блокировать визуальное считывание образа 1 с точечными элементами, напечатанными на поверхности среды. В добавление, когда образ 1 с точечными элементами распечатывается на поверхности средства, информационные точечные элементы 3 размещаются в произвольном порядке, образ удаляется, и образ с точечными элементами может быть сделан средним.
Фиг.9(а)-9(d) иллюстрируют фиктивные точечные элементы, причем Фиг.9(а) представляет собой иллюстративный вид фиктивных точечных элементов; Фиг.9(b) иллюстрирует один пример печатного средства; Фиг.9(с) иллюстрирует область в печатном средстве; и Фиг.9(d) представляет собой иллюстративный вид, показывающий пример компоновки образов с точечными элементами, которые задают границу маски посредством фиктивных точечных элементов.
Точечный элемент размещается в центральной позиции (точки второй виртуальной сетки) четырех точек 11 виртуальной сетки (точках первой виртуальной сетки), и этот точечный элемент определяется как фиктивный точечный элемент 5, в котором не содержится информации (Фиг.9(а)). Этот фиктивный точечный элемент 5 может использоваться для числовых данных или областей, в которых были определены значения координат X, Y, и для границы между областями, числовых данных или области, в которой не определены значения координат X, Y.
Например, как показано на Фиг.9(а), на печатном средстве напечатано три типа образов, таких как медведь, бегемот и солнце, и области, соответствующие этим трем образам, размещаются как маска 1, маска 2 и маска 3, как показано на Фиг.9(с). Как показано на Фиг.9(d), фиктивный точечный элемент 5 размещается у границы маски 1 и маски 2.
В случае, когда фиктивный точечный элемент 5 используется для границы, нет необходимости определять все блоки соответствующих позиций как фиктивные точечные элементы 5, и чтобы обозначить границу, будет достаточно, если минимальный точечный элемент определяется как фиктивный точечный элемент.
В добавление фиктивный точечный элемент размещается в области, отличной от масок, и может быть предоставлена область, в которой не определено никакой информации.
Когда образ 1 с точечными элементами снимается как данные изображения посредством камеры, значения координат X, Y вычисляются в позициях ключевого точечного элемента 2, который является представительской точкой информации, и, далее, значения координат компенсируются посредством приращений значений координат X, Y в смежных представительских точках и расстояния между центром снятия изображения и ключевым точечным элементом 2, на котором вычисляются значения координат X, Y.
Альтернативно, когда блок образов 1 с точечными элементами снимается как данные изображения посредством камеры, информационные точечные элементы последовательно считываются с информационных точечных элементов, которые присутствуют на периферии центра снятия изображения камеры в области, в которой в блоках определены идентичные данные, или в области, в которой определены значения координат X, Y, и тогда считываются информационные точечные элементы 3, эквивалентные одному блоку, посредством чего образ 1 с точечными элементами считывается в минимальной области от центра снятия изображения камеры, и тогда вычисляются данные у позиции центра снятия изображения.
Фиг.10(а) иллюстрирует последовательность информационных точечных элементов, эквивалентных одному блоку в минимальной области от центра снятия изображения камеры. 4×4 столбцов=16 информационных точечных элементов вводятся по часовой стрелке.
Фиг.10(b) представляет собой иллюстративный вид, показывающий способ считывания образа с точечными элементами и вычисления значений координат X, Y.
Как проиллюстрировано, значения координат X, Y, которые необходимо получить, определяются как значения координат X, Y блока с центром снятия изображения камеры. Относительно значений координат X, Y, если приращение определяется как +1 в направлении X (направление направо) и в направлении Y (направление вверх) по блоку, возникает необходимость компенсации информационных точечных элементов, введенных из другого блока. Объектом для компенсации выбираются K8 K7 K6 K5 (i16 i15 i14 i13 i12 i11 i10 i9), указывающие значение координаты X, и K4 K3 K2 K1 (i8 i7 i6 i5 i4 i3 i2 i1), указывающие значение координаты Y. Другие значения с K16 по K9 (с i32 по i17) координат становятся идентичными в любом блоке, и необходимость в компенсации отсутствует. Эти вычисления выполняются посредством формулы 1. Даже если число увеличивает посредством вычисления в [ ], предполагается, что столбцы битов, предшествующих [ ], не подвергаются отрицательному воздействию. Если бит контроля ошибок исключается из информационного точечного элемента I, то бит задается как K.
<Формула 1>
(1) в случае, когда 11I11 является начальной точкой (центром снятия изображения камеры)
координата X=11K8 11K7 11K6 21K5
координата Y=12K4 12K3 12K2 [22K1+1]
(2) в случае, когда 11I15 является начальной точкой (центром снятия изображения камеры)
координата X=12K8 12K7 12K6 22K5-1
координата Y=12K4 12K3 12K2 [22K1+1]
(3) в случае, когда 12I3 является начальной точкой (центром снятия изображения камеры)
координата X=12K8 12K7 12K6 22K5
координата Y=12K4 12K3 12K2 [22K1+1]
(4) в случае, когда 11I7 является начальной точкой (центром снятия изображения камеры)
координата X=12K8 12K7 12K6 22K5
координата Y=12K4 12K3 12K2 [22K1+1]
(5) в случае, когда 11I12 является начальной точкой (центром снятия изображения камеры)
координата X=11K8 11K7 21K6 21K5
координата Y=12K4 12K3 [22K2 22K1+1]
(6) в случае, когда 11I16 является начальной точкой (центром снятия изображения камеры)
координата X=12K8 12K7 22K6 22K5-1
координата Y=12K4 12K3 [22K2 22K1+1]
(7) в случае, когда 12I4 является начальной точкой (центром снятия изображения камеры)
координата X=12K8 12K7 22K6 22K5
координата Y=12K4 12K3 [22K2 22K1+1]
(8) в случае, когда 12I8 является начальной точкой (центром снятия изображения камеры)
координата X=12K8 12K7 22K6 22K5
координата Y=12K4 12K3 [22K2 22K1+1]
(9) в случае, когда 21I9 является начальной точкой (центром снятия изображения камеры)
координата X=11K8 21K7 21K6 21K5
координата Y=12K4 12K3 [22K2 22K1+1]-1
(10) в случае, когда 21I13 является начальной точкой (центром снятия изображения камеры)
координата X=12K8 22K7 22K6 21K5-1
координата Y=12K4 12K3 [22K2 22K1+1]-1
(11) в случае, когда 22I1 является начальной точкой (центром снятия изображения камеры)
координата X=12K8 22K7 22K6 22K5
координата Y=12K4 12K3 [22K2 22K1+1]-1
(12) в случае, когда 22I5 является начальной точкой (центром снятия изображения камеры)
координата X=12K8 22K7 22K6 22K5
координата Y=12K4 12K3 [22K2 22K1+1]-1
(13) в случае, когда 21I10 является начальной точкой (центром снятия изображения камеры)
координата X=21K8 21K7 21K6 21K5
координата Y=22K4 22K3 22K2 22K1
(14) в случае, когда 21I14 является начальной точкой (центром снятия изображения камеры)
координата X=22K8 22K7 22K6 22K5
координата Y=22K4 22K3 22K2 22K1
(15) в случае, когда 22I2 является начальной точкой (центром снятия изображения камеры)
координата X=22K8 22K7 22K6 22K5
координата Y=22K4 22K3 22K2 22K1
(16) в случае, когда 22I6 является начальной точкой (центром снятия изображения камеры)
координата X=22K8 22K7 22K6 22K5
координата Y=22K4 22K3 22K2 22K1
Когда образ 1 с точечными элементами снимается как данные изображения посредством камеры, если с информационным точечным элементом 3 происходит ошибка, то считывается ближайший информационный точечный элемент 3, эквивалентный информационному точечному элементу 3, и тогда ошибка исправляется, посредством чего образ 1 с точечными элементами может быть считан в минимальной области вокруг центра снятия изображения камеры.
Используя вышеописанный способ для снятия информации, может быть реализован планшет или кодирующий преобразователь, который использует координаты XY и интерфейс ввода. Например, относительно планшета или кодирующего преобразователя, прозрачный лист, на котором был распечатан образ 1 с точечными элементами, накладывается на цель; изображение снимается посредством камеры; и вводятся значения координат XY образа 1 с точечными элементами.
Далее, со ссылкой на Фиг.11-14 приведено более подробное описание касательно случая, когда ключевые точечные элементы 2 были размещены в позициях, отличных от показанных на Фиг.1 позиций, и способа выполнения поиска информационных точечных элементов 3 и ключевых точечных элементов в таком случае.
Когда элемент снятия изображения, какой как CCD или CMOS, служащий как оптическое средство снятия изображения, снимает отражения света, излучаемого на поверхность средства, данные снятия изображения (данные изображения) развертываются в буфере кадров. Далее, центральное процессорное устройство (ЦПУ) оптического средства снятия изображения начинает поиск в данных изображения, распределенных по буферу кадров, посредством поисковой программы, считанной из памяти.
Тогда точечные элементы 4 точки координатной сетки, формирующие внешнюю рамку блока, линейно размещаются через предварительно определенные промежутки, так что центральное процессорное устройство (ЦПУ) определяет, получается ли, по существу, прямая линия путем соединения этих линейно размещенных точечных элементов друг с другом (см. Фиг.11).
Далее, определяется, размещены ли точечные элементы, присутствующие на линии 78 координатной сетки, на предварительно определенном расстоянии. Тогда, если расстояние между точечными элементами равно другому расстоянию, то определяется, что такие точечные элементы являются точечными элементами 4 точки координатной сетки. В том случае, когда точечные элементы размещены иным образом, определяется, что эти точечные элементы являются ключевыми точечными элементами 2 (Фиг.14).
Далее, точечные элементы 4 точки координатной сетки в вертикальном и горизонтальном направлениях (точки 6 виртуальной координатной сетки) соединяются друг с другом посредством прямых линий (линий 8a, 8b сетки), и точка пересечения между ними определяется как точка 11 виртуальной сетки (точка первой виртуальной сетки). Далее, точки 6 виртуальной координатной сетки соединяются друг с другом в косом направлении, определяется линия 8с косой сетки, и точка пересечения между этими линиями 8с косой сетки также определяется как точка 12 виртуальной сетки (точка второй виртуальной сетки).
Далее, наряду с тем, что какая-то одна точка из двух вышеописанных типов точек 11, 12 виртуальной сетки определяется как начальная точка, выполняется поиск информационных точечных элементов по спирали (см. Фиг.13).
Далее, относительно четырех частей (четырех точек виртуальной сетки, присутствующих в позициях, на которых промежутки от центра блока в вертикальном и горизонтальном направлениях равны друг другу, Фиг.14), в которых ключевые точечные элементы 2 могут быть размещены в блоке, на основании ориентации и расстояния соответствующего информационного точечного элемента от точек виртуальной сетки определяется, какой из точечных элементов является ключевым точечным элементом 2. Таким образом, информация, обработанная информационными точечными элементами 3, определяется путем идентификации ориентации.
Как показано на Фиг.14, в случае, когда информационный точечный элемент 3, который не является центром блока, определяется как ключевой точечный элемент (в случае с Фиг.14 позиция, смещенная в направлении вверх на одну точку виртуальной сетки от центра блока, определяется как позиция расположения ключевого точечного элемента 2), существует возможность того, что информационный точечный элемент 3, который существует в соответствующей позиции, когда центр блока поворачивается как ось вращения на 90 градусов, не сможет быть отличен от ключевого точечного элемента 2, если информационный точечный элемент считывается оптическим средством считывания. Однако способ внедрения информационного точечного элемента 3 в соответствующую прямоугольную область, отличную от ключевого точечного элемента 2, изменяется, посредством чего ключевой точечный элемент 2 и информационный точечный элемент 3 могут быть отличены друг от друга.
Например, как показано на Фиг.14, будет достаточным, если ключевой точечный элемент 2 размещается как вектор только в вертикальном и горизонтальном направлениях от точки 6 виртуальной координатной сетки, и, если информация определяется в косом направлении, в другой прямоугольной области, которая существует в позиции, повернутой на 90 градусов.
В добавление, относительно ключевого точечного элемента 2, несмотря на то что длина вектора задается как предварительно определенная длина, информация может быть определена посредством вектора, отличающегося от другого вектора в другой прямоугольной области, которая существует в позиции, повернутой на 90 градусов.
В случае, когда ключевой точечный элемент 2 был размещен в центре блока относительно другого информационного точечного элемента 3 информация может быть определена в любом направлении из вертикального, горизонтального и косого.
Как описано выше, образ 1 с точечными элементами согласно настоящему изобретению распечатывается на печатном средстве, таком как книжка с картинками или текст, и тогда данные изображения снимаются посредством камеры. В данных изображения выполняется поиск позиций информационных точечных элементов. Из информации о позициях декодируются коды или координаты XY. Голоса, неподвижные изображения, фильмы, символы, программы и тому подобное, соответствующие кодам или координатам XY, выводятся из составных элементов, таких как устройство жидкокристаллического дисплея, громкоговоритель и терминал вывода голоса/изображения, входящий в состав оборудования, такого как персональный компьютер, устройство вывода информации, персональный цифровой ассистент (PDA) или портативный сотовый телефон.
Относительно информационного точечного элемента 3 данного блока информация может быть определена в зависимости от позиции, которая существует в блоке информационного точечного элемента 3, наряду с тем, что расстояние и направление от точек 11, 12 виртуальной сетки ограничиваются информационным точечным элементом 3 произвольным образом.
В частности, может быть определена спецификация, так чтобы расстояние и направление от точек 11, 12 виртуальной сетки изменялись в зависимости от отрасли, в которой используется образ с точечными элементами (в зависимости от изготовителя, области обслуживания или компании, которая использует этот образ с точечными элементами).
Таким образом, образ с точечными элементами согласно настоящему изобретению может быть использован в дифференцированном порядке согласно ограничениям, что предоставляет возможность обеспечения защиты от утечки, такой как утечка информации или утечки кодовой системы между различными отраслями промышленности или между компаниями. Иначе говоря, может быть предоставлена ограниченная определенная информация, которая может быть считана только соответствующим ей оптическим средством считывания.
Настоящее изобретение не ограничено вышеописанными вариантами осуществления. Настоящее изобретение не ограничено вышеописанными вариантами осуществления при условии, что путем предоставления различных функций в точечные элементы 2, 3, 4 образа 1 с точечными элементами в образе 1 с точечными элементами определяется большое количество данных, выводится предварительно определенная информация или программы, и тогда предоставляется возможность различных применений путем распознавания направления и быстрого предоставления информации. Безусловно, в рамках сущности настоящего изобретения могут быть выполнены различные модификации.
Например, точечные элементы (информационные точечные элементы 3 или ключевые точечные элементы 2), которые размещаются вокруг точки пересечения (точки 11 виртуальной сетки) линий 8a, 8b сетки в вертикальном и горизонтальном направлениях, могут быть смещены с точки 11 виртуальной сетки на точку пересечения. В добавление, точечные элементы у точки пересечения линии 8с косой сетки схожим образом могут быть размещены на линии 8с косой сетки. Таким образом, точечные элементы всегда размещаются на линиях 8a, 8b, 8с сетки, посредством чего алгоритм программы считывания для выполнения поиска линий 8a, 8b, 8с сетки может быть упрощен, и эффективность считывания может быть значительно улучшена.
Промышленная применимость
Как было описано выше, согласно способу ввода/вывода информации с использованием образов с точечными элементами настоящего изобретения образ с точечными элементами снимается как данные изображения посредством камеры, сначала распознается точка координатной сетки и выделяется ключевой точечный элемент, направленность распознается посредством ключевого точечного элемента, так что направление может использоваться как параметр. Далее, путем извлечения информационного точечного элемента, размещенного на периферии этого ключевого точечного элемента, информация и программы могут быть быстро выведены.
В добавление, точечный элемент точки координатной сетки размещается в образе с точечными элементами так, что когда этот образ с точечными элементами снимается как данные изображения посредством камеры, в образе с точечными элементами, снятом как данные изображения, могут быть скорректированы искажения, которые происходят из-за дисторсии объектива или искажения, возникающие во время снятия изображения в кривом положении, из-за растяжения или сжатия бумаги, скручивания поверхности среды, или печати при таких условиях.
Сверх того, может быть выполнен контроль ошибок, относящихся к состоянию расположения точечного элемента, и защита может быть дополнительно улучшена.
Формула изобретения
1. Способ ввода/вывода информации с использованием образов с точечными элементами, содержащий этапы, на которых: определяют как блок прямоугольную область квадрата или прямоугольника на поверхности среды, такой как печатное средство; предоставляют точку виртуальной координатной сетки через предварительно определенные интервалы на линии координатной сетки, наряду с тем, что каждая из прямых линий в вертикальном направлении и в горизонтальном направлении, формирующих рамку блока, определяется как линия координатной сетки; размещают точечный элемент точки координатной сетки на точке виртуальной координатной сетки; соединяют точки виртуальной координатной сетки друг с другом и определяют прямую линию, параллельную линии координатной сетки, как линию сетки; определяют точку пересечения между линиями сетки как точку виртуальной сетки; генерируют образ с точечными элементами путем расположения одного или множества информационных точечных элементов вокруг точки виртуальной сетки, каждый из которых размещается на расстоянии и в направлении относительно указанной точки виртуальной сетки; считывают упомянутый образ с точечными элементами как информацию изображения посредством оптического средства считывания; преобразуют образ с точечными элементами в цифровую величину; и считывают и выводят информацию, которая соответствует цифровой информации из запоминающего средства.
2. Способ ввода/вывода информации с использованием образов с точечными элементами, содержащий этапы, на которых: определяют как блок прямоугольную область квадрата или прямоугольника на поверхности среды, такой как печатное средство; предоставляют точку виртуальной координатной сетки через предварительно определенные интервалы на линии координатной сетки, наряду с тем, что каждая из прямых линий в вертикальном направлении и в горизонтальном направлении, формирующих рамку блока, определяется как линия координатной сетки; размещают точечный элемент точки координатной сетки на точке виртуальной координатной сетки; соединяют точки виртуальной координатной сетки друг с другом и определяют прямую линию, параллельную линии координатной сетки, как линию сетки; определяют точку пересечения между линиями сетки как точку виртуальной сетки; генерируют образ с точечными элементами путем расположения одного или более информационных точечных элементов вокруг точки виртуальной сетки, каждый из которых размещается на расстоянии и в направлении относительно указанной точки виртуальной сетки; считывают упомянутый образ с точечными элементами как информацию изображения посредством оптического средства считывания; преобразуют образ с точечными элементами в цифровую величину; и считывают и выводят информацию, которая соответствует цифровой информации из запоминающего средства, при этом в указанном блоке предполагая наличие линии косой сетки, соединяющей точки виртуальной координатной сетки также в косом направлении, точка пересечения между линиями сетки также определяется как точка виртуальной сетки (точка второй виртуальной сетки); и один или множество точечных элементов располагаются вокруг точки виртуальной сетки, каждый из которых расположен на расстоянии и в направлении относительно этой точки виртуальной сетки.
3. Способ ввода/вывода информации с использованием образов с точечными элементами по п.1 или 2, в котором ключевой точечный элемент, определяющий направление блока, располагается в позиции, смещенной от, по меньшей мере, одной точки виртуальной координатной сетки на линии координатной сетки, формирующей блок.
4. Способ ввода/вывода информации с использованием образов с точечными элементами по п.3, в котором образ с точечными элементами предоставляет значимость информации согласно тому, расположены ли точечные элементы вокруг точки виртуальной сетки или нет.
5. Способ ввода/вывода информации с использованием образов с точечными элементами по п.3, в котором информация информационного точечного элемента в блоке определяется путем произвольного ограничения позиции информационного точечного элемента в блоке, причем ограничение выполняется по расстоянию и направлению от точки виртуальной сетки для каждого информационного точечного элемента.
6. Способ ввода/вывода информации с использованием образов с точечными элементами по п.1 или 2, в котором информационный точечный элемент на предварительно определенной позиции определяется как ключевой точечный элемент в блоке, и информация информационного точечного элемента, размещенного в соответствующей прямоугольной области, которая получается путем вращения прямоугольной области на 90° вокруг центра блока, определяется направлением или расстоянием, которое исключает направление, требуемое для определения ключевого точечного элемента.
7. Способ ввода/вывода информации с использованием образов с точечными элементами по п.6, в котором образ с точечными элементами предоставляет значимость информации согласно тому, расположены ли точечные элементы вокруг точки виртуальной сетки или нет.
8. Способ ввода/вывода информации с использованием образов с точечными элементами по п.6, в котором информация информационного точечного элемента в блоке определяется путем произвольного ограничения позиции информационного точечного элемента в блоке, причем ограничение выполняется по расстоянию и направлению от точки виртуальной сетки для каждого информационного точечного элемента.
РИСУНКИ
|
|