|
|
(21), (22) Заявка: 2008133086/28, 11.08.2008
(24) Дата начала отсчета срока действия патента:
11.08.2008
(46) Опубликовано: 10.02.2010
(56) Список документов, цитированных в отчете о поиске:
RU 43636 U1, 27.01.2005. RU 2216031 C2, 27.06.2003. WO 00/39651 A1, 06.07.2000. БАШТА T.M. Гидропривод и гидропневмоавтоматика. – M.: Машиностроение, 1972, с.112-114, рис.79б.
Адрес для переписки:
423250, Республика Татарстан, Лениногорский р-он, село Дурасово, ул.Садовая, 13, В.В.Балахонцеву
|
(72) Автор(ы):
Балахонцев Вячеслав Васильевич (RU), Каримов Альберт Фатхелович (RU), Тухватуллин Рустам Рафаилович (RU), Максимов Денис Александрович (RU)
(73) Патентообладатель(и):
Общество с ограниченной ответственностью Научно-производственное предприятие “Новые технологии” ООО НПП “Новые технологии” (RU)
|
(54) РЕГУЛЯТОР РАСХОДА ЖИДКОСТИ ВЫСОКОГО ДАВЛЕНИЯ
(57) Реферат:
Изобретение может быть использовано в нефтегазодобывающей промышленности для выдержки заданных технологий режимов заводнения пластов, а также для оперативного изменения расхода нагнетаемой в пласт жидкости в зависимости от изменения приемистости пласта и его нефтеотдачи. Регулятор расхода содержит корпус в виде двух стаканов 1 и 2, обращенных друг к другу донными частями, скрепленными между собой фиксирующим стержнем 5. Один из стаканов, со стороны входа жидкости, выполнен ступенчатым с толстостенным днищем с отверстиями 6 и 7, концентричными относительно фиксирующего стержня. В отверстиях с возможностью осевого перемещения установлены упорные гнезда 8 и 9 с размещенными в них штуцерами 16 и 17 с дроссельными калиброванными отверстиями от 2 до 20 мм в зависимости от диапазона регулирования расхода. Упорные гнезда закреплены к делительным патрубкам 12 и 13, сообщенным с выходными отверстиями в днище второго стакана. К патрубкам 12 и 13 с помощью накидных гаек также закреплены запорные шаровые клапаны/краны 18 и 19. Изобретение повышает точность регулирования в агрессивно-абразивных средах за счет возможности оперативной замены изношенных штуцеров, простое по конструкции и технологичное в изготовлении. 1 з.п. ф-лы, 3 ил.
Изобретение относится к области приборостроения и может быть использовано в нефтегазодобывающей промышленности в системе поддержания пластового давления (ППД) для выдержки заданных технологий режимов заводнения пластов, а также для оперативного изменения расхода нагнетаемой жидкости в пласт в зависимости от изменения приемистости пласта и его нефтеотдачи.
Известен регулятор расхода жидкости (РРЖ) /заявка 2001111739/06, МПК G05D 7/01, дата публикации 2003.11.10/, содержащий корпус с входным и выходным патрубками и подвижный подпружиненный регулирующий орган, делящий внутреннюю полость корпуса на три части, сообщенные между собой посредством последовательно установленных двух дросселей (задающего значение расхода и автоматически регулируемого).
Известен регулятор перепада давления /заявка 2000126818/09, МПК G05D 7/01, дата публикации 2003.11.10/, содержащий корпус с входным и выходным отверстиями, крышку, диафрагму, пружину нагружения с опорным элементом, шток с запорным элементом, полости выходного давления и противодавления.
Вышеуказанные известные устройства имеют следующие общие недостатки, не позволяющие достичь требуемого технического результата.
В данных аналогах применяется множество гидравлических и подвижных механических элементов (пружин, диафрагм, уравнительных клапанов и т.п.), которые резко снижают точность регулирования и повышают вероятность выхода из строя и делают невозможным их применение в агрессивно-абразивных средах. Также известные устройства для регулирования расхода оказывают мгновенное действие на гидросистему, не различая установившийся гидравлический режим от гидравлических колебаний. Все они используют подпружиненный привод(а) для запорного элемента, что ограничивает применение данных устройств вне их рабочих (допустимых) диапазонов работы по давлению и исключает четкую фиксацию запорного элемента.
Известен также регулятор расхода жидкости высокого давления (см. патент 43636, МПК, опубл. в БИ 3, 27.01.2005 г.), содержащий корпус в виде патрубка с фланцами на концах, закрываемых крышками путем закрепления их болтами к фланцам, так называемая штуцерная камера, и делительные патрубки, снабженные запорными клапанами, упорные гнезда, в стенке корпуса (штуцерной камеры), для размещения в них штуцеров с дроссельными калиброванными отверстиями от 2 до 20 мм.
Известный регулятор по своей технической сущности более близок к предлагаемому и может быть принят в качестве прототипа.
К недостаткам известного регулятора можно отнести следующее. Он нетехнологичен в изготовлении и неудобен в эксплуатации. Так, например, он сложный по конструкции и трудоемок в изготовлении, требует много работ по газорезке и электросварочных работ. Кроме того, при нагнетании в пласт скважины через регулятор агрессивных и абразивосодержащих жидкостей отверстия штуцеров с течением времени изнашиваются, что отрицательно сказывается на точности соблюдения технологического режима. При этом оперативная замена изношенных штуцеров не предусмотрена.
Технической задачей заявляемого изобретения является устранение вышеперечисленных недостатков прототипа.
Регулятор расхода жидкости высокого давления, содержащий корпус с установленными в его отверстиях упорными гнездами для размещения штуцеров с дроссельными калиброванными отверстиями от 2 до 20 мм и делительные патрубки, снабженные запорными клапанами.
Новым является то, что корпус выполнен в виде двух стаканов, обращенных друг к другу донными частями, скрепленными между собой в центральной части фиксирующим стержнем; один из стаканов, со стороны входа жидкости, выполнен ступенчатым и с толстостенным днищем с отверстиями, выполненными концентрично относительно фиксирующего стержня, при этом упорные гнезда в упомянутых выше отверстиях установлены с возможностью осевого перемещения и неподвижно закреплены к делительным патрубкам, сообщенным с выходными отверстиями, выполненными в днище второго стакана, причем запорные клапаны закреплены к делительным патрубкам с помощью быстроразъемного соединения с использованием накидных гаек.
При этом в качестве запорного клапана использован шаровой клапан или клапан электромагнитного действия, или шаровой кран.
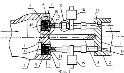
Представленные чертежи поясняют суть заявляемого регулятора, где на фиг.1 изображен общий вид регулятора расхода жидкости высокого давления, где видны корпус, выполненный в виде двух стаканов, фиксирующий стержень этих стаканов и делительные патрубки, снабженные запорными клапанами (кранами), в собранном виде, в частичном разрезе.
На фиг.2 – то же, что на фиг.1, вид А, где видны частично изображенный ступенчатый стакан с входным каналом в его днище, делительные патрубки, а также упорное гнездо для штуцера, установленное с возможностью осевого перемещения, и сам штуцер и уплотнительные кольца, в разрезе.
На фиг.3 – вид Б по фиг.1, где изображено быстроразъемное соединение запорного клапана (крана) с делительным патрубком с помощью накидной гайки, в разрезе.
Предлагаемый регулятор расхода жидкости содержит корпус, выполненный в виде двух стаканов 1 и 2 (см. фиг.1), обращенных донными частями 3 и 4 соответственно друг к другу, и скрепленными между собой фиксирующим стержнем 5 в центральной части. Один из стаканов 1 (см. фиг.2), со стороны входа жидкости (вход жидкости показан стрелкой), выполнен ступенчатым и с толстостенным днищем 3 с множеством отверстий 6 и 7 (см. фиг.1), выполненных концентрично относительно фиксирующего стержня 5. В упомянутых отверстиях 6 и 7 с возможностью осевого перемещения установлены упорные гнезда 8 и 9 с отверстиями 10 и 11, закрепленные неподвижно к делительным патрубкам 12 и 13, сообщенными с выходными отверстиями 14 и 15, выполненными в днище второго стакана 2. Внутри упорных гнезд 8 и 9 установлены штуцера 16 и 17 с возможностью съема с дроссельными калиброванными отверстиями от 2 до 20 мм (может быть и более) и в количестве 4 или 6 шт. в зависимости от необходимости регулирования расхода жидкости в широком диапазоне. Делительный патрубки 12 и 13 снабжены запорными клапанами 18 и 19, закрепленными к ним с помощью быстроразъемного соединения с использованием накидной гайки 20 (см. фиг.3). Герметичность втулок 21, упорных гнезд 8 и 9 и штуцеров 16 и 17 обеспечивают уплотнительные кольца 22, 23 и 24, выполненные из упругого и эластичного материала, например из резины. В качестве износостойкого материала для изготовления штуцеров применяют металлокерамические или керамические материалы. Штуцера 16 и 17 защищены от загрязнений фильтром 25.
Установка упорных гнезд с возможностью осевого перемещения, а также закрепление запорных клапанов к делительным патрубкам быстроразъемным соединением позволяют оперативно заменять штуцера в случае износа их выше допустимого значения.
Регулятор расхода жидкости работает следующим образом.
После предварительной проверки надежности соединений регулятора его доставляют к месту монтажа, например, его могут устанавливать в блоке напорной гребенки по ТУ 366/00/-00220239-97, на водоводах к арматуре нагнетательных скважин в нефтедобывающих промыслах, а также в других отраслях промышленности, требующих ручного или программного регулирования расхода жидких и газообразных сред высокого давления. После монтажа регулятора в гидросистему высокого давления с помощью муфтового соединения или электросваркой открывают все запорные клапана 18 и 19 делительных патрубков 12 и 13 вручную или автоматически согласно заданной программе, тем самым обеспечивают быстрое заполнение нагнетательной линии (водовода) жидкостью. Затем согласно технологической карты режимов, составленных с учетом изменения нефтеотдачи пласта, выбором вариантов суммарного проходного сечения дроссельных отверстий штуцеров 16 и 17 путем открытия одних и закрытия других запорных клапанов 18 и 19 делительных патрубков 12 и 13 добиваются требуемого расхода жидкости. При этом число возможных комбинаций суммарного сечения дросселей составляет несколько десятков и может быть сотни в зависимости от количества штуцеров, следовательно, и от количества запорных клапанов. Комбинация суммарного сечения дросселей, соответствующего определенному расходу жидкости, составляется заранее и находится у обслуживающего оператора или диспетчера.
Дроссельные отверстия штуцеров при содержании в транспортируемой жидкости механических частиц подвергаются износу. Для замены изношенного штуцера сначала закрывают задвижку напорного трубопровода (задвижка напорного трубопровода на фиг. не изображена), после чего, отвинчивая накидные гайки 20, отсоединяют запорный клапан и далее из ступенчатого стакана 1 извлекают упорные гнезда 8 или 9 с размещенными там штуцерами 16 и 17, соединенные с частью делительных патрубков. Затем из упорных гнезд извлекают изношенные штуцера и вставляют взамен новые штуцера.
Технико-экономическое преимущество изобретения заключается в следующем.
В сравнении с прототипом заявляемый регулятор значительно проще по конструкции, компактен, не требует для его изготовления много работ по газорезке и сварочных работ, своевременно и оперативно заменять изношенные штуцера, что положительно скажется на работе нагнетательных скважин в оптимальном режиме, следовательно, положительно скажется и на нефтеотдаче пластов. К дате подачи заявки подготовлены рабочие чертежи для его изготовления.
Формула изобретения
1. Регулятор расхода жидкости высокого давления, содержащий корпус, с установленными в его отверстиях упорными гнездами для размещения штуцеров с дроссельными калиброванными отверстиями от 2 до 20 мм и делительные патрубки, снабженные запорными клапанами, отличающийся тем, что его корпус выполнен в виде двух стаканов, обращенных друг к другу донными частями, скрепленными между собой в центральной части фиксирующим стержнем; один из стаканов, со стороны входа жидкости, выполнен ступенчатым и с толстостенным днищем с отверстиями, выполненными концентрично относительно фиксирующего стержня, при этом упорные гнезда в упомянутых выше отверстиях установлены с возможностью осевого перемещения и неподвижно закреплены к делительным патрубкам, сообщенным с выходными отверстиями, выполненными в днище второго стакана, причем запорные клапаны закреплены к делительным патрубкам с помощью быстроразъемного соединения с использованием накидных гаек.
2. Регулятор по п.1, отличающийся тем, что в качестве запорного клапана использован шаровой клапан или клапан электромагнитного действия или шаровой кран.
РИСУНКИ
|
|