|
(21), (22) Заявка: 2006141363/09, 23.03.2005
(24) Дата начала отсчета срока действия патента:
23.03.2005
(30) Конвенционный приоритет:
23.04.2004 DE 102004020393.8
(43) Дата публикации заявки: 10.06.2008
(46) Опубликовано: 10.02.2010
(56) Список документов, цитированных в отчете о поиске:
US 2003/0171827 A1, 11.09.2003. US 6532370 B1, 11.03.2003. RU 2159019 С2, 10.11.2000. RU 2216463 C1, 20.11.2003.
(85) Дата перевода заявки PCT на национальную фазу:
23.11.2006
(86) Заявка PCT:
EP 2005/051347 20050323
(87) Публикация PCT:
WO 2005/103851 20051103
Адрес для переписки:
103735, Москва, ул.Ильинка, 5/2, ООО “Союзпатент”, пат.пов. С.В.Истомину
|
(72) Автор(ы):
ЗЕЙЛЕР Христиан (DE), ГРИХ Райнхард (DE), ШПРИНГМАНН Торстен (DE)
(73) Патентообладатель(и):
ЭНДРЕСС+ХАУЗЕР ПРОЦЕСС СОЛЮШНС АГ (CH)
|
(54) РАДИОМОДУЛЬ ДЛЯ ПОЛЕВЫХ ПРИБОРОВ АВТОМАТИЗИРОВАННОЙ ТЕХНИКИ
(57) Реферат:
Данная группа изобретений относится к автоматизированной технике, в частности к радиомодулю, применяемому для полевых приборов автоматизации. Технический результат заключается расширении функциональных возможностей полевого прибора за счет использования радиомодуля, который также осуществляет энергообеспечение полевого прибора. Он достигается тем, что радиомодуль выполнен с возможностью разъемного соединения с сенсорной электронной схемой полевого прибора через традиционный, предусмотренный в полевом приборе интерфейс или традиционный цифровой коммутирующий выход, при этом радиомодуль содержит микроконтроллер для функционального управления, радиоблок для обмена данными с вышестоящим блоком, блок энергообеспечения ограниченной емкости и блок управления энергообеспечением, обмен данными между полевым прибором и вышестоящим блоком происходит с помощью радиомодуля, обеспечение полевого прибора энергией происходит исключительно посредством радиомодуля, а блок управления энергообеспечением выполнен с возможностью регулирования энергообеспечения отдельных компонентов радиомодуля и полевого прибора таким образом, что общее энергопотребление полевого прибора и радиомодуля является минимальным. 2 н. и 17 з.п. ф-лы, 3 ил.
Область техники, к которой относится изобретение
Изобретение касается радиомодуля для полевых приборов автоматизированной техники.
Уровень техники
Полевые приборы часто используются в автоматизированной технике для того, чтобы регистрировать измеренные величины, к примеру давление, температуру или протекание процесса в составляющих. Как правило, измеренные величины передаются далее на вышестоящие узлы, к примеру на управляющие устройства или системы управления, где они могут быть обработаны или отображены.
Наряду с передачей данных от полевого прибора к радиоприемнику необходима также передача данных к полевым приборам, к примеру, для установления данных конфигурации и параметрических данных. Через соответствующим образом выбираемые параметры (единица измерения, предельное значение и т.д.) полевые приборы, таким образом, могут быть подобраны для решения специфических измерительных задач.
Передача данных между полевыми приборами и вышестоящими узлами осуществляется чаще всего через полевые шинные системы (Hart, высокоскоростную шину или основную полевую шину) с соответствующими кабельными соединениями.
Если энергообеспечение полевого прибора осуществляется через полевую шину, то необходимо использовать питающие шины или двухпроводные приборы. Если наряду с полевой шиной необходима дополнительная соединительная линия для энергоснабжения и, следовательно, необходимо использовать четырехпроводные приборы.
С некоторого времени известны также беспроводные электрические сети, так называемые радиосети, для сенсорных датчиков. Такого рода электрическая радиосеть более детально представлена в патентном описании US-6208247.
У сенсорных датчиков данной электрической радиосети возможна, однако, только одна передача данных в одном направлении, а именно от сенсорного датчика к вышестоящим узлам. То есть на последующие узлы могут передаваться только чистые измеренные величины. Это исключает возможность конфигурировать или параметрировать полевые приборы при помощи системы управления. Электрические радиосети особенно пригодны при таком промышленном использовании, при котором нежелательно кабельное соединение или оно возможно, но с большими затратами.
Электрические радиосети для сенсорных датчиков более подробно описаны в стандарте IEEE 802.15.4. Промышленный консорциум ZigBee Alliance разрабатывает в настоящее время предназначенные для применения контуры, стандарты электрических цепей и стандарты безопасности для различных областей применения этой новой технологии.
Заново разработать сенсорные датчики (полевые приборы) для электрических радиосетей очень накладно и дорого.
Сущность изобретения
Задачей изобретения является создание радиомодуля для полевых приборов, простого и не требующего больших затрат, и который позволяет использование традиционных полевых приборов в электрических радиосетях.
Эта задача решается с помощью признаков, представленных в пункте 1 формулы изобретения.
Предпочтительные варианты осуществления изобретения приведены в зависимых пунктах формулы изобретения.
Главная идея изобретения состоит в том, чтобы расширить традиционный полевой прибор посредством радиомодуля, который обеспечивает, с одной стороны, данными с вышестоящим узлом, а, с другой стороны, также способствует энергоснабжению полевого прибора. К тому же радиомодуль наряду с радиоблоком имеет микроконтроллер, который через интерфейс полевого прибора и линию связи данных соединяется с полевым прибором. Для энергообеспечения полевого прибора радиомодуль имеет блок энергообеспечения, который через соответствующее соединение снабжает полевой прибор электрическим напряжением.
С помощью такого радиомодуля может быть, в принципе, легко расширен любой традиционный полевой прибор с целью использования его в электрической радиосети. Наряду с передачей измеренных величин на принимающий блок возможна также передача параметрических значений на полевой прибор с помощью радиомодуля. Так как полевой прибор снабжается энергией исключительно посредством радиомодуля, то оснащенный радиомодулем полевой прибор может быть, в принципе, помещен в различные места. Для осуществления энергоснабжения в распоряжении находятся различные альтернативные варианты: батареи, солнечные элементы или топливные элементы. Допустимы, однако, и установки с проводной системой энергообеспечения.
В частности, так как емкость накопителя батарей ограничена, желательно, чтобы полевой прибор и радиомодуль совместно потребляли как можно меньше энергии.
Поэтому в радиомодуле предусмотрен блок управления энергоподачей.
Далее в радиомодуле предусмотрены системные часы (real time clock RTC).
В качестве способов радиопередачи особо используются FHSS-способ или DSSS-способ (способы радиопередачи данных по IEEE 802.11). Особые преимущества дает UWB-способ.
Все эти способы радиопередачи ориентированы на малое потребление энергии.
Обмен данными отдельных полевых приборов между собой осуществляется, предпочтительным образом, в соответствии с сотовой технологией (ячеечной технике).
Краткое описание чертежей
Далее изобретение более подробно разъясняется на основании чертежей:
фиг.1 – первая электрическая радиосеть с несколькими полевыми приборами;
фиг.2 – вторая электрическая радиосеть с несколькими полевыми приборами;
фиг.3 – полевой прибор с радиомодулем в виде блок-схемы.
Подробное описание изобретения
На фиг.1 представлена первая электрическая радиосеть с несколькими полевыми приборами F1, F2, F3, F4 Соответствующие радиосвязи FV полевых приборов друг с другом или с межсетевым интерфейсом G обозначены пунктирной линией. Касательно межсетевого интерфейса G речь может идти о блоке передачи на дальние расстояния, к примеру, о продукте «Fieldgate» фирмы Endree + Hauser, который посредством радио соединяется с отдельными полевыми приборами. При помощи блока передачи на дальние расстояния G, в принципе, возможна всеобщая коммуникация по всему миру, к примеру, через Интернет, GSM или стационарную телефонную сеть, с вышестоящим узлом. Так измеренные величины отдельных полевых приборов могут передаваться по всему миру в любое место и на месте анализироваться.
У представленных полевых приборов речь может идти, к примеру, о приборах измерения уровня наполнения, которые используются в таре складского хранения для сырой нефти и зернового сырья. Уровни наполнения данной тары складского хранения могут, таким образом, находиться под наблюдением и контролироваться издалека.
Как можно заключить из фиг.1, полевые приборы связаны друг с другом посредством различных участков радиосвязи. Это означает, что при выходе из строя определенной радиосвязи FV, обмен данными может поддерживаться через другие участки радиосвязи. В случае, если помехи (к примеру, металлический резервуар) не позволяют осуществить прямую связь со следующим полевым прибором, обмен данными может происходить посредством другой радиосвязи.
Фиг.2 демонстрирует вторую электрическую радиосеть с несколькими полевыми приборами F1, F2, F3 и межсетевым интерфейсом G. Дальность действия электрической радиосвязи увеличивается благодаря тому, что отдельные полевые приборы F2, F3 служат в качестве промежуточных станций. Каждый из полевых приборов посредством двух или одного отрезка радиосвязи FV связан со своими последующими соседями. Полевые приборы F2 или F3 берут на себя в данном случае функцию ретранслятора. Таким образом, может быть увеличена дальность действия электрической радиосети даже при малых передающих мощностях отдельных передатчиков (полевых приборов).
В качестве технологий радиопередачи для радиосвязи у полевых приборов подходят широкополосные технологии, такие как, к примеру, широкополосная передача со скачкообразным изменением частоты (FHSS) или передача широкополосных сигналов по методу прямой последовательности (DSSS). В качестве альтернативного способа возможна ультраширокополосная технология UWB. Данный способ радиопередачи требует очень незначительных мощностей передатчика, что является большим преимуществом полевых приборов, так как их потребляемая мощность, как правило, ограничена.
Соответствующее аппаратное обеспечение приемника, а также передатчика на основании того факта, что такого рода система уже применяется в других технологических областях, является экономически легко применимым. Дорогостоящие разработки для этого не требуются.
При способе UWB передатчик отправляет очень короткие посылаемые импульсы, которые покрывают очень большую зону в несколько ГГц частотного спектра. Информация передается в этих очень коротких экстремально широкополосных импульсах. Искажения или поглощения отдельных частотных областей не оказывают решающего влияния на качество передачи, так как и при меньших помехах на приемнике определяются все еще достаточно большие частотные зоны без помех. Как уже упоминалось, данная технология позволяет использовать очень недорогие передающие и принимающие блоки, так как не требуется аппаратного обеспечения для ограничения зоны приема и передачи по установленным узким частотным зонам.
Благодаря незначительной мощности передатчика возможна эксплуатация соответствующей сети и без радиолицензии. При остальных способах передачи, как правило, необходима соответствующая радиолицензия на право работы с радиоволнами для используемого диапазона частот.
Следующим преимуществом, которое предоставляет данный вид радиопередачи, является определение местоположения с точностью до сантиметра отдельно взятого полевого прибора по принципу измерения времени распространения сигнала, как это частично применяется при измерении радаром.
Тем самым полевые приборы в установках могут быть очень точно локализованы. Это, к примеру, имеет значение тогда, когда планы установки неточны и должны быть найдены определенные полевые приборы.
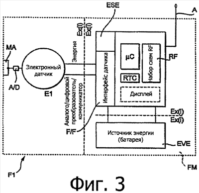
Фиг.3 демонстрирует полевой прибор с радиомодулем в виде блок-схемы, в качестве примера полевого прибора F1 в соответствии с Фиг.1. Радиомодуль FM может быть также соединен с полевым прибором F1 и разъемным образом. Радиомодуль FM имеет микроконтроллер µС, радиоблок RF, состоящий из RF-набора микросхем, блок энергообеспечения EVE и антенну А. Радиомодуль FM посредством интерфейса полевого прибора FIF соединен с сенсорной электронной схемой Е1 собственно полевого прибора F1. В представленном случае предусмотрены две соединительные линии для соединения с сенсорной электронной схемой Е1 полевого прибора F1. Через эти две линии осуществляется как обмен данными, так и энергообеспечение полевого прибора. Собственно из полевого прибора, наглядности ради, представлены только лишь сенсорная электронная схема Е1, приемник измерений МА и аналого-цифровой преобразователь A/D.
Далее радиомодуль FM содержит в себе блок управления энергоподачей ESE.
Касательно блока энергоснабжения EVS речь может идти о батарее или топливных элементах. Как видно из фигуры, Ех-батарея предусмотрена между блоком энергоснабжения EVS и собственно радиомодулем 2. Эта Ех-батарея способствует тому, что блок энергообеспечения EVS также и во взрывоопасных зонах может быть просто заменен.
Между полевым прибором F1 и радиомодулем FM предусмотрена также такого рода Ех-батарея. Таким образом, радиомодуль FM, когда он исполнен как отдельный узел, может быть также и во взрывоопасных зонах соединен с полевым прибором.
Радиомодуль FM может быть в альтернативном варианте также в виде блока жестко интегрирован в корпусе полевого прибора F1. Но он может также, как упомянуто выше, быть выполнен в виде отдельного блока, который разъемным образом соединен с полевым прибором F1.
Такая модульная конструкция имеет значительное преимущество в том, что и уже существующие полевые приборы легко могут быть переоборудованы на такого рода радиотехнологии. Это относится, в частности, к полевым приборам с типичным интерфейсом полевого прибора (к примеру, 4-20 мА, HART, высокоскоростная шина или основная полевая шина). Все же возможно также эксплуатировать полевые приборы с цифровыми соединительными выходами, такими как, например, концевой выключатель с радиомодулем.
В частности, полевые приборы, которые работают на стандарте HART, ввиду незначительных скоростей передачи особенно хорошо подходят для использования в электрических радиосетях. Интерфейс FIF полевого прибора в представленном примере согласован с HART-протоколом. Информация по измеренным величинам и статусная информация могут быть, таким образом, легко переданы в виде HART-протокола с сенсорной электронной схемы Е1 на радиомодуль FM. Данные конфигурации могут также быть переданы с вышестоящего блока по радио через радиомодуль на сенсорную электронную схему Е1 в полевом приборе F1. При этом должны, однако, соблюдаться определенные требования по хронометрированию.
Посредством радиомодуля FM протоколы прозрачно ретранслируются дальше.
Радиомодуль FM без функциональности полевого прибора может быть введен в работу как простой ретранслятор. Такого рода радиомодуль служит тогда только лишь для передачи данных между отдельными полевыми приборами.
Так как обычные блоки энергоснабжения (батареи, топливные элементы) имеют конечный срок службы, а полевые приборы в процессе эксплуатации постоянно потребляют энергию необходимо эффективное управление энергоподачей.
Это управление энергоподачей производится блоком управления энергоподачи ESS.
Только когда функции полевого прибора F1 или радиомодуля FM востребованы, соответствующий блок переводится в полную эксплуатационную готовность.
Радиомодуль FM может эксплуатироваться в трех различных режимах, которые отличаются потреблением энергии. Отдельные режимы могут осуществляться одновременно или комбинироваться друг с другом.
Опросный режим:
Полевой прибор F1 находится обычно в спящем режиме (Sleep-Modus). Когда радиомодулем FM принимаются данные для полевого прибора F1, на полевой прибор FM передается соответствующий сигнал, который прерывает состояние Sleep-Modus и способствует обмену данными между радиомодулем и полевым прибором F1. Каждый радиомодуль FM во время определенных временных интервалов прислушивается к данным, предназначенным для подключенного полевого прибора F1.
Запланированный режим передачи:
Полевой прибор F1 и радиомодуль FM активируются только к определенному времени. Во время этого «активного» временного интервала могут регистрироваться измеренные величины и передаваться данные. В остальное время они оба находятся в спящем режиме и потребляют, таким образом, очень мало энергии. Для этого в радиомодуле FM необходимо наличие часов реального времени RTC, которые подают базовое время для регулировки реле времени. В активное время могут передаваться измеренные величины и статусная информация, относящиеся к полевому прибору, радиомодулю или блоку энергообеспечения.
Также периодические сигналы, которые информируют о том, что функциональный блок работает безукоризненно, могут быть переданы во время активного временного интервала. Для этого в радиомодуле реализуется функция тактового импульса.
Режим событий:
В этом режиме данные с полевого прибора F1 промежуточно сохраняются в радиомодуле FM и в определенные временные интервалы отсылаются на вышестоящий блок.
Если появляются некие статусные сообщения, то радиомодуль активируется и данные передаются.
Аналогичная ситуация происходит при превышении предельных значений или при изменениях измеренных величин.
Режим записи:
Радиомодуль FM дополнительно обладает способностью записывать измеренные данные также сверх желаемого временного интервала и по следующему требованию передавать их совместно. Благодаря этому имеется возможность передавать ход процесса измерения величин, без необходимости передачи каждой отдельной измеренной величины.
Как уже упоминалось, при передаче данных через различные передающие сети должна быть учтена временная характеристика передачи данных.
При прозрачной передаче протоколов могут возникнуть проблемы хронометрирования. Много протоколов обмена через шину, таких как, к примеру, HART-протокол, требуют соблюдения определенных условий хронометрирования. Эти условия часто не могут быть соблюдены при передаче данных через радиосети с относительно низкими нормами передачи данных, так временной интервал между двумя пакетами одного сообщения не должен превышать определенного значения.
Данные в полевых шинных системах упаковываются в специальные рамки (блоки данных), прежде чем они будут переданы. Конструкция и длина этих рамок зависят от соответствующей полевой шинной системы. Для функциональной передачи рамки должны быть разорваны и на соответствующем приемнике снова собраны определенным образом. Только когда все участвующие в электрической радиосети радиомодули понимают соответствующие протоколы, данные просто и без ошибок могут передаваться между вышестоящим узлом и полевыми приборами.
Радиомодули F и блоки передачи на дальние расстояния G могут быть также рассчитаны для различных протоколов. Протоколы могут быть на основании своих определенных характеристик автоматически распознаны.
Каждый радиомодуль в электрической радиосети имеет определенный радиоадрес, через который он может быть опознан. В полевых шинных системах участники также идентифицируются через определенные шинные адреса Unique Identifier (уникальный идентификатор). Блок передачи на дальние расстояния G должен предоставлять соответствующим шинным адресам относящиеся к ним радиоадреса. Только таким образом данные с блока передачи на дальние расстояния G могут быть переданы на соответствующий полевой прибор.
Имеются протоколы, которые предусмотрены специально для соединений «пункт за пунктом». При такого рода использовании применяются мультиплексоры (умножители), к примеру, HART-мультиплексор для того, чтобы иметь возможность воздействовать на несколько полевых приборов с использованием проводной системы.
Аналогичным образом в системах, которые основаны на соединениях «пункт за пунктом», применяется радиомультиплексор, который принимает задание традиционного мультиплексора и передает данные далее на соответствующие полевые приборы.
Формула изобретения
1. Радиомодуль для последующего переоборудования традиционного, оснащенного сенсорной электронной схемой (Е1) полевого прибора (F1) автоматизированной техники на радиотехнологию, причем радиомодуль (FM) выполнен с возможностью разъемного соединения с сенсорной электронной схемой (Е1) полевого прибора (F1) через традиционный, предусмотренный в полевом приборе (F1) интерфейс (FIF) или традиционный цифровой коммутирующий выход, радиомодуль (FM) содержит микроконтроллер (µC) для функционального управления, радиоблок (RF) для обмена данными с вышестоящим блоком (G), блок (EVE) энергообеспечения ограниченной емкости и блок (ESE) управления энергообеспечением, обмен данными между полевым прибором (F1) и вышестоящим блоком (G) происходит с помощью радиомодуля (FM), обеспечение полевого прибора (F1) энергией происходит исключительно посредством радиомодуля (FM), а блок (ESE) управления энергообеспечением выполнен с возможностью регулирования энергообеспечения отдельных компонентов радиомодуля (FM) и полевого прибора (F1) таким образом, что общее энергопотребление полевого прибора (F1) и радиомодуля (FM) является минимальным.
2. Радиомодуль по п.1, отличающийся тем, что он выполнен с возможностью прозрачной передачи протоколов связи.
3. Радиомодуль по п.1, отличающийся тем, что между ним и блоком (EVE) энергообеспечения предусмотрена взрывозащита, благодаря которой блок (EVE) энергообеспечения может быть заменен даже во взрывоопасных областях.
4. Радиомодуль по п.1 или 3, отличающийся тем, что между ним и полевым прибором предусмотрена взрывозащита, так что когда радиомодуль выполнен как отдельный узел, он может быть также во взрывоопасных зонах соединен с полевым прибором.
5. Радиомодуль по п.1, отличающийся тем, что передача энергии к полевому прибору F1 и обмен данными с полевым прибором F1 осуществляется через совместное соединение.
6. Радиомодуль по п.1, отличающийся тем, что передача энергии к полевому прибору и обмен данными с полевым прибором осуществляется через отдельное соединение.
7. Радиомодуль по п.1, отличающийся тем, что радиомодуль FM имеет часовой блок реального времени RTC.
8. Радиомодуль по п.1, отличающийся тем, что радиоблок RF в качестве технологии передачи использует метод широкополосная передача со скачкообразным изменением частоты (FHSS) или передача широкополосных сигналов по методу прямой последовательности (DSSS).
9. Радиомодуль по п.1, отличающийся тем, что в качестве технологии передачи использует метод Ultra Wide Band (UWB).
10. Радиомодуль по п.1, отличающийся тем, что радиоблок FE работает в соответствии со стандартом IEEE 802.15.4.
11. Радиомодуль по п.1, отличающийся тем, что интерфейс между радиомодулем FM и полевым прибором F1 рассчитан с внутренней самозащитой.
12. Радиомодуль по п.1, отличающийся тем, что интерфейс между радиоблоком RF и блоком энергообеспечения EVS выполнен с внутренней самозащитой.
13. Радиомодуль по п.1, отличающийся тем, что статусные и конфигурируемые предельные значения полевого прибора F1 контролируются его стандартным интерфейсом и сообщаются самостоятельно.
14. Радиомодуль по п.1, отличающийся тем, что измеренные величины через определенный промежуток времени записываются и по запросу или самостоятельно передаются совместно в виде ряда измерений.
15. Радиомодуль по п.1, отличающийся тем, что радиомодуль обеспечивает прозрачную передачу протокола шины через используемый радиопротокол (туннельный эффект) и при этом, в частности, также учитывает требования по хронометрированию передаваемого протокола шины.
16. Радиомодуль по п.15, отличающийся тем, что выполнен с возможностью автоматического распознавания протокола полевой шины и настройки соответствующим образом на коммуникацию со специфическими требованиями распознанного протокола полевой шины.
17. Радиомодуль по п.1, отличающийся тем, что дополнительно к беспроводной коммуникации на базе простого протокола полевой шины используется интерфейс Интернет-протокола (к примеру, TCP/IP), что обеспечивает поддержку Интернет-приложений таких как, к примеру, Web server, пересылку файлов или передачу E-mail.
18. Радиомодуль по п.1, отличающийся тем, что он служит в качестве ретранслятора для удлинения радиуса действия радиосети.
19. Способ для передачи данных для полевых приборов, отличающийся тем, что несколько полевых приборов содержат радиомодуль по одному из предыдущих пунктов и обмен данными между отдельными полевыми приборами осуществляется в соответствии с сотовой технологией (ячеечной технике).
РИСУНКИ
|