|
|
(21), (22) Заявка: 2007132273/28, 28.08.2007
(24) Дата начала отсчета срока действия патента:
28.08.2007
(43) Дата публикации заявки: 10.03.2009
(46) Опубликовано: 10.02.2010
(56) Список документов, цитированных в отчете о поиске:
RU 2302016 С1, 27.06.2007. RU 2289150 С1, 10.12.2006. RU 37841 U1, 10.05.2004. DE 3311044 А1, 27.09.1984. FR 2542452 А1, 14.09.1984.
Адрес для переписки:
171506, Тверская обл., г. Кимры, ул. Ленина, 111, НПФ “Центргазгеофизика”
|
(72) Автор(ы):
Апанин Александр Яковлевич (RU), Микин Михаил Леонидович (RU), Халатов Артем Иванович (RU)
(73) Патентообладатель(и):
Общество с ограниченной ответственностью ООО “Газпром геофизика” ОАО “Газпром” (RU)
|
(54) СПОСОБ ВОЗБУЖДЕНИЯ СЕЙСМИЧЕСКИХ КОЛЕБАНИЙ И УСТРОЙСТВО ДЛЯ ЕГО ОСУЩЕСТВЛЕНИЯ
(57) Реферат:
Изобретение относится к сейсмической разведке полезных ископаемых с невзрывными источниками и может применяться при проведении сейсморазведочных работ на суше, в море и в условиях транзитных зон. Способ возбуждения сейсмических колебаний основан на использовании сил отталкивания, возникающих в электродинамическом преобразователе энергии. Устройство, реализующее заявленный способ, содержит конденсаторный накопитель энергии, электродинамический преобразователь энергии, основание, являющееся опорной плитой и передающее в исследуемую среду импульсы сил отталкивания, возникающие в электродинамическом преобразователе энергии при подаче основного импульса тока, направляющие стойки, электродинамический пригруз и электродинамический амортизатор. Изобретение позволяет увеличить импульсное давление на грунт по сравнению с аналогичными известными устройствами такого же веса. Кроме того, благодаря упрощению конструкции может быть повышена надежность. 2 н.п. ф-лы, 1 ил.
Изобретение относится к сейсмической разведке полезных ископаемых с невзрывными источниками и может применяться при проведении сейсморазведочных работ на суше, в море и в условиях транзитных зон.
Известен способ возбуждения сейсмических волн и устройство для его осуществления (патент РФ 2302016 С1, приоритет 21.10.2005, МПК G01V 1/02),
Способ основан на передаче силового воздействия на исследуемую среду в точке контакта излучающего устройства с исследуемой средой в виде импульсов давления, создаваемых с помощью электродинамического преобразователя энергии, представляющего собой N пар соленоидов, жестко установленных на двух плоских основаниях, импульсы электродинамического взаимодействия которых передаются в форме импульса давления на исследуемую среду одним из оснований, жестко соединенным с корпусом, являющимся излучающим устройством.
Устройство для возбуждения сейсмических волн содержит излучающее тело с электродинамической системой преобразования электрической энергии в механическую, включающей N пар соленоидов, жестко установленных на подвижном и неподвижном плоских основаниях, разделенных зазором.
Возбуждение сейсмических волн происходит за счет электродинамического преобразования электрической энергии в виде мощных импульсов тока, подаваемых на соленоиды, в механическую энергию, реализуемую в виде импульсов силы.
Перемещение основания, жестко связанного с корпусом под действием электродинамических сил взаимодействия соленоидов, обеспечивают тем, что создают сопротивление перемещению другому основанию установкой между основаниями силовых демпферных распорных элементов.
Эти способ и устройство для его осуществления энергетически не экономичны, так как для работы устройства необходим зазор между электродинамическими элементами, вызывающий потери энергии при взаимодействии электромагнитов в момент поступления импульса тока.
Демпфирующие пружины также вызывают дополнительные потери энергии силового импульса на возбуждение паразитных колебаний в пружинах.
Удары подвижного основания об опоры пружин в процессе гашения его паразитных колебаний искажают сейсмограмму и затрудняют расшифровку сейсмических материалов.
Наиболее близким аналогом является источник сейсмических волн (патент РФ 2028646, С1 приоритет 29.05.1991, МПК G01V 1/02), содержащий излучающую плиту, импульсную обмотку, пригруз с магнитной системой, выполненной в виде магнитопровода с обмоткой возбуждения постоянного тока с кольцевым зазором между его полюсами, и импульсную обмотку. Импульсная обмотка закреплена на полюсах магнитопровода со стороны немагнитного зазора. В зазоре между полюсами помещена с возможностью перемещения в осевом направлении вдоль зазора гильза из электропроводящего материала с низким значением удельного электрического сопротивления, нижний торец которой прикреплен к излучающей плите. Импульсная обмотка размещена в пазах на поверхности полюсов, выполненных из пластин электротехнической стали, шихтованных в радиальном направлении. Центральная часть составной гильзы выполнена из прочного магнитного материала. Верхний торец гильзы выступает за пределы полюсов.
Недостатком этого источника является сложность конструкции, нетехнологичность в изготовлении, низкая ремонтопригодность и необходимость использования тяжелого пригруза, что ограничивает возможность его использования в морской сейсморазведке и в условиях транзитных зон.
Сущность предлагаемого способа возбуждения сейсмических колебаний заключается в использовании для возбуждения колебаний в грунте сил отталкивания, возникающих в электродинамическом преобразователе энергии, состоящем из двух электродинамических элементов, представляющих из себя соленоид и проводящий диск, выполненный из материала с низким удельным электрическим сопротивлением, имеющих магнитную связь и жестко закрепленных на двух плоских параллельных плитах. Энергия в виде мощного импульса тока подается на соленоид и в электродинамическом преобразователе происходит ее преобразование в импульс силы отталкивания. Импульс силы передается в грунт через основание излучателя, жестко связанное с одним из электродинамических элементов, возбуждая в нем упругие колебания.
Рабочим органом заявляемого устройства является установленный в корпусе излучателя электродинамический преобразователь энергии, состоящий из двух электродинамических элементов в виде соленоида и диска, выполненного из материала с низким удельным электрическим сопротивлением, причем один из элементов жестко закреплен на основании излучателя, а другой имеет возможность свободного перемещения в вертикальном направлении относительно первого.
При прохождении импульса тока через соленоид в его сердечнике создается переменное магнитное поле, которое пронизывает второй электродинамический элемент, конструктивно выполненный в виде закрепленного на непроводящей плите проводящего диска или кольца. Под действием переменного магнитного потока, пронизывающего этот элемент, в нем возникает электрический ток, создающий магнитное поле противоположной направленности относительно поля обмотки, в результате чего между электродинамическими элементами возникают силы отталкивания. В результате сил отталкивания верхний электродинамический элемент с пригрузом перемещается вверх по направляющим стойкам, а реакция нижнего электродинамического элемента преобразуется в импульс силы, который через основание излучателя передается в грунт, возбуждая в нем упругие колебания.
При прекращении действия электрического импульса магнитные и электрические поля исчезают и подвижный электродинамический элемент под действием сил гравитации возвращается в исходное положения.
Для частичного гашения паразитной кинетической энергии подвижного элемента электродинамического преобразователя и предотвращения паразитного удара, искажающего сейсмограмму, в конструкции излучателя предусматриваются электродинамический пригруз и электродинамический амортизатор, работающие на тех же принципах, что и электродинамический преобразователь энергии.
Устройство для возбуждения сейсмических колебаний содержит накопитель энергии, излучающую плиту (основание), пригруз, демпфирующий элемент и электродинамическую систему, состоящую из одной или нескольких групп электродинамических элементов в виде соленоидов и замкнутых проводящих элементов, выполненных в виде дисков, причем один из электродинамических элементов жестко соединен с излучающей плитой, а оставшиеся электродинамические элементы с пригрузом имеют возможность свободно перемещаться в вертикальном направлении по направляющим стойкам, закрепленным на основании, и сгруппированы таким образом, что при поступлении в систему импульса разрядного тока обеспечивается их попарное взаимодействие друг с другом.
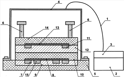
На чертеже представлена конструктивная схема устройства.
Устройство содержит электродинамический излучатель энергии, соединительный кабель 1 и накопитель энергии, состоящий из блока силовых конденсаторов 2 и устройства управления 3.
Электродинамический излучатель энергии содержит герметичный цилиндрический корпус 4, закрепленный на основании излучателя (опорной плите) 5, в котором размещены электродинамический преобразователь энергии, электродинамический пригруз, электродинамический амортизатор и направляющие стойки 6.
Электродинамический преобразователь энергии состоит из двух расположенных непосредственно один над другим электродинамических элементов, один из которых представляет собой плоский соленоид 7, закрепленный в пазу стальной плиты 9, жестко связанной с основанием 5, причем плита 9 выполнена в виде концентратора магнитного поля, а другой представляет собой проводящий диск из материала с низким значением удельного электрического сопротивления 8, закрепленный на плите из прочного непроводящего материала (например, капролона) 10 с возможностью свободного перемещения в вертикальном направлении на стойках 6. Направляющие стойки 6 и корпус 4 жестко крепятся к основанию 5.
Для частичного гашения паразитной кинетической энергии перемещающихся вверх элементов излучателя используется электродинамический пригруз. Электродинамический пригруз представляет из себя систему из двух электродинамических элементов, имеющих магнитную связь, один из которых представляет из себя плоский соленоид 11, закрепленный в пазу стальной плиты 12, а другой представляет из себя диск из материала с низким значением удельного электрического сопротивления 13, закрепленный на плите из прочного непроводящего материала 14. Элементы электродинамического пригруза располагаются над элементами электродинамического преобразователя энергии с возможностью свободного перемещения в вертикальном направлении на стойках 6.
Электродинамический амортизатор представляет из себя плоский соленоид 15, установленный в пазу стальной плиты 9, имеющий магнитную связь с диском 8, закрепленным на плите, выполненной из непроводящего материала (например, капролона) 10.
Параметры элементов электродинамического амортизатора рассчитываются таким образом, чтобы обеспечить мягкое опускание на опорную плиту подвижных элементов излучателя при их движении вниз.
Импульс тока, подаваемый на соленоид электромагнитного амортизатора, должен быть задержан относительно основного импульса тока на время, за которое кинетическая энергия подвижных элементов излучателя превращается в потенциальную энергию падающего груза.
Возбуждение сейсмических колебаний происходит следующим образом: энергия, запасенная в конденсаторном накопителе в виде мощного импульса тока, подается на соленоиды электродинамического преобразователя энергии и электродинамического пригруза, в которых происходит ее преобразование в действующий по оси излучателя импульс силы, вызывающий отталкивание электродинамических элементов друг от друга. При этом реакция нижнего элемента электродинамического преобразователя энергии передается в грунт через основание излучателя в виде импульса силы, возбуждая в среде упругие колебания. Этот процесс протекает в течение короткого времени действия электрического импульса, что позволяет получить большое усилие импульсного давления (толчок).
Аналогичный процесс происходит в электродинамических элементах пригруза, что увеличивает импульс силы, передающийся в грунт, и уменьшает обратную паразитную реакцию верхнего элемента электродинамического преобразователя энергии.
Верхний элемент электродинамического преобразователя энергии и элементы электродинамического пригруза под действием вектора сил электродинамического отталкивания, направленного вверх, поднимаются вверх по стойкам, закрепленным на основании, до момента, пока кинетическая энергия, полученная ими в результате импульса силы, не уравновесится потенциальной энергией поднятых над поверхностью земли грузов, после чего под действием собственного веса начинают падать вниз. В момент начала падения подвижных элементов излучателя подается импульс тока на соленоид электродинамического амортизатора, в результате чего подвижные элементы излучателя плавно опускаются на опорную плиту.
Технический результат выражается в существенном увеличении импульсного давления на грунт по сравнению с электродинамическими излучателями аналогичного веса, эффективном гашении паразитных колебаний, упрощении конструкции излучателя и повышении надежности.
Описанное выше устройство позволяет создать достаточно легкий и эффективный излучатель и использовать его для проведения сейсморазведочных работ на суше, на море и в условиях транзитных зон.
Источники информации
1. Патент РФ 2302016 С1, приоритет 21.10.2005, МПК G01V 1/02.
2. Патент РФ 2028646 С1, приоритет 29.05.1991, МПК G01V 1/02.
Формула изобретения
1. Способ возбуждения сейсмических колебаний, согласно которому для возбуждения колебаний исследуемой среды используют импульсы сил отталкивания, возникающих в электродинамическом преобразователе энергии, состоящем из двух электродинамических элементов, представляющих из себя соленоид и проводящий диск, выполненный из материала с низким удельным электрическим сопротивлением, имеющих магнитную связь и жестко закрепленных на двух плоских параллельных плитах, одна из которых жестко связана с основанием, являющимся опорной плитой и передающим в исследуемую среду упомянутые импульсы сил отталкивания при подаче на упомянутый соленоид основного импульса тока от конденсаторного накопителя энергии, причем осуществляют частичное гашение паразитной кинетической энергии подвижного элемента электродинамического преобразователя энергии электродинамическим пригрузом, использующим импульсы сил отталкивания, возникающих в электродинамическом пригрузе, состоящем из двух электродинамических элементов, представляющих из себя соленоид и проводящий диск, выполненный из материала с низким удельным электрическим сопротивлением, имеющих магнитную связь и жестко закрепленных на двух плоских параллельных плитах, расположенных над элементами электродинамического преобразователя, при подаче на упомянутый соленоид пригруза основного импульса тока от конденсаторного накопителя энергии, при этом паразитную реакцию подвижных элементов электродинамического преобразователя энергии и электродинамического пригруза гасят электродинамическим амортизатором, действующим по принципу магнитной подушки и представляющим из себя соленоид, расположенный на нижнем элементе электродинамического преобразователя энергии и взаимодействующий с проводящим диском, установленным на верхнем элементе электродинамического преобразователя энергии, в момент подачи на соленоид импульса тока, задержанного на некоторое время относительно основного импульса тока.
2. Устройство для возбуждения сейсмических колебаний, содержащее конденсаторный накопитель энергии, электродинамический преобразователь энергии, основание, являющееся опорной плитой и передающее в исследуемую среду импульсы сил отталкивания, возникающие в электродинамическом преобразователе энергии при подаче основного импульса тока, направляющие стойки, электродинамический пригруз, и электродинамический амортизатор, причем электродинамический преобразователь энергии и электродинамический пригруз аналогичны по конструкции и состоят из сгруппированных попарно и расположенных один над другим электродинамических элементов, один из которых представляет собой плоский соленоид, жестко закрепленный в пазу стальной плиты, выполненной в виде концентратора магнитного поля, а другой представляет из себя проводящий диск из материала с низким значением удельного электрического сопротивления, закрепленный на непроводящей плите, установленной с возможностью ее свободного перемещения в вертикальном направлении на направляющих стойках, при этом стальная плита, в пазу которой жестко закреплен плоский соленоид электродинамического преобразователя энергии, жестко связана с основанием, к которому крепятся корпус и направляющие стойки, а другой элемент электродинамического преобразователя энергии и элементы электродинамического пригруза установлены над соленоидом электродинамического преобразователя энергии с возможностью частичного гашения паразитной кинетической энергии перемещающихся вверх элементов за счет сил отталкивания, возникающих между элементами электродинамического пригруза в момент поступления разрядного тока на соленоиды, при этом электродинамический амортизатор выполнен с возможностью гашения паразитной реакции подвижных элементов при их движении вниз под действием собственного веса, и представляет из себя соленоид, расположенный на нижнем элементе электродинамического преобразователя энергии и взаимодействующий с проводящим диском, установленным на верхнем элементе электродинамического преобразователя энергии, в момент подачи на соленоид импульса тока, задержанного на некоторое время относительно основного импульса тока.
РИСУНКИ
|
|