|
|
(21), (22) Заявка: 2008129234/28, 16.07.2008
(24) Дата начала отсчета срока действия патента:
16.07.2008
(46) Опубликовано: 10.02.2010
(56) Список документов, цитированных в отчете о поиске:
RU 2281521 C1, 08.10.2006. US 2005231217 A1, 20.10.2005. KR 20010067185 A, 12.07.2001. RU 2275645 C2, 27.04.2006.
Адрес для переписки:
428015, г.Чебоксары, а/я 40, пат. пов. РФ Н.Б. Шалуновой
|
(72) Автор(ы):
Алимов Юрий Николаевич (RU), Галкин Игорь Александрович (RU), Шаварин Николай Иванович (RU)
(73) Патентообладатель(и):
Общество с ограниченной ответственностью научно-производственное предприятие “ЭКРА” (RU)
|
(54) СПОСОБ ОПРЕДЕЛЕНИЯ СОПРОТИВЛЕНИЙ ИЗОЛЯЦИИ ПРИСОЕДИНЕНИЙ В СЕТИ ПОСТОЯННОГО ТОКА С ИЗОЛИРОВАННОЙ НЕЙТРАЛЬЮ, УСТРОЙСТВО ДЛЯ ЕГО ОСУЩЕСТВЛЕНИЯ И ДИФФЕРЕНЦИАЛЬНЫЙ ДАТЧИК ДЛЯ ЭТОГО УСТРОЙСТВА
(57) Реферат:
Изобретение относится к способам измерения и контроля сопротивления изоляции изолированных от земли (корпуса) силовых электрических сетей постоянного тока. В сети постоянного тока с изолированной нейтралью измеряют напряжения между «землей» и полюсами источника постоянного тока, а также измеряют токи, протекающие по присоединениям сети после подключения к одному из полюсов одного, а затем другого из резистивных элементов присоединения. При этом одновременно выравнивают напряжение на полюсах. По полученным значениям напряжений и токов вычисляют сопротивление изоляции. Для заявленного устройства предназначен дифференциальный датчик тока. При подаче напряжения в измерительную обмотку в магнитопроводе датчика появляется постоянная составляющая магнитного поля, что вызывает смещение петли гистерезиса относительно нуля. Сигнал напряжения с измерительной обмотки усиливается и подается на вход аналого-цифрового преобразователя. Изобретение позволяет повысить точность определения не только полного сопротивления изоляции, но и каждого полюса в отдельности. 3 н.п. ф-лы, 6 ил.
Изобретение относится к электротехнике и может быть использовано при создании устройств контроля и измерения сопротивления изоляции сетей постоянного оперативного тока.
Известен способ измерения полного сопротивления изоляции сети постоянного тока, который осуществляется путем измерения напряжений между каждым из полюсов и «землей» вольтметром с конечным сопротивлением (см., например, Цапенко Е.Ф. Контроль изоляции в сетях до 1000 В. М. – Л.: Энергия, с.53-55). Этим способом не могут быть измерены сопротивления изоляций отдельных присоединений.
Известен способ контроля сопротивлений изоляции, который основан на подключении между полюсами источника тока двух последовательно соединенных резисторов и подключении между общей точкой их и «землей» реле контроля напряжения (Электротехнический справочник. В 4 т. Т.3. Производство, передача и распределение электрической энергии. – 8-е изд., исп. и доп. – М.: Изд. МЭИ, 2002. – 964 с., стр.609, рис.47.37). Недостатком такого способа является контроль лишь всей схемы системы оперативного тока, а не отдельного фидера.
Известен способ, при котором на сеть накладывают контрольное переменное напряжение заданной частоты, отличное от частоты сети (патент RU 2275645, МПК8 G01R 27/18). Отличительной особенностью способа является подключение к контролируемому присоединению калибровочного резистивно-емкостного импеданса. По результатам двух измерений токов утечки при подсоединенном и не подсоединенном импедансе определяют сопротивление изоляции контролируемого присоединения. Недостатком данного способа является наличие значительной величины импульсного переменного тока в сети постоянного тока, который создает помехи устройствам релейной защиты и автоматики. Кроме этого точность в определении величины сопротивления изоляции сети постоянного тока значительно зависит от величины электрической емкости присоединений относительно «земли», которая может достигать больших значений.
Наиболее близким к изобретению является способ измерения сопротивлений изоляции, основанный на измерении напряжений между «землей» и полюсами до и после подключения к одному из полюсов резистивного элемента, а также на измерении токов, протекающих по присоединениям сети до и после подключения резистивного элемента (патент RU 2281521, MПK8 G01R 27/18). В качестве резистивного элемента используют электрически управляемый резистивный элемент. При этом подключают его к тому полюсу, полярность которого совпадает со знаком суммы напряжений на полюсах до подключения резистивного элемента, после чего поддерживают постоянное значение тока через этот резистивный элемент и вычисляют значение сопротивлений изоляции сети, исходя из значений приращений полусуммы напряжений на полюсах и величин приращений токов присоединений, вызванных подключением электрически управляемого резистивного элемента к одному из полюсов сети. Недостатком способа является отсутствие стабильности напряжений на полюсах при ухудшении изоляции, что может привести к ложному срабатыванию релейной защиты автоматики. При этом при подключении к полюсу резистивного элемента возникают большие значения перенапряжений на полюсах источника, возникающие вследствие отсутствия стабильности напряжений на шинах источника относительно «земли», которые зависят от соотношения величины сопротивления резистивного элемента и сопротивлений изоляции. Кроме того, известный способ недостаточно точен и информативен ввиду малых значений приращений дифференциальных токов присоединений. При этом невозможно определить сопротивления изоляции каждого из полюсов присоединений, исходя лишь из значений приращений токов и напряжений (вследствие отсутствия значений измеряемых величин токов по каждому из присоединений при подключении резистивного элемента – как к положительному, так и к отрицательному полюсам источника постоянного тока).
Известно устройство контроля изоляции сети постоянного тока, которое содержит мостовую схему с измерительным прибором (вольтметром), включенным в диагональ схемы, дифференциальные датчики постоянного тока для измерения токов по каждому присоединению, содержащие кольцевой разъемный магнитопровод, на котором имеется по одному витку «плюсового» и «минусового» проводов присоединения, и обмотка, подключенная к измерительной схеме. Кроме того, устройство содержит измерительную схему, узел сравнения измеренного тока утечки с безопасной величиной, реагирующий на изменение тока утечки в сторону увеличения от заданной безопасной величины, интерфейс, прибор (миллиамперметр) для измерения суммы дифференциальных токов (токов утечки) по всей схеме постоянного тока, который установлен в диагонали мостовой схемы, содержащий узел сравнения измеренного тока утечки с безопасной величиной, реагирующий на изменение тока утечки в сторону увеличения от заданной безопасной величины, интерфейс (патент RU 2284537, МПК G01R 31/08). Недостатком устройства является невозможность контроля изоляции присоединения при одновременном ухудшении изоляции положительного и отрицательного полюса присоединения. Кроме этого использование в диагонали мостовой схемы вольтметра, прибора с большим входным сопротивлением, не предотвращает изменение напряжения на шинах при ухудшении изоляции, что, в свою очередь, может привести к ложному срабатыванию устройства релейной защиты. В дифференциальных датчиках этого устройства используется мультиметр, что удорожает конструкцию устройства, при этом невозможно автоматизировано управлять процессом измерения и калибровки дифференциального датчика.
Известен датчик дифференциального тока, содержащий магнитопровод, на котором намотана измерительная обмотка, причем первый вывод обмотки подключен к выходу компаратора, а второй вывод – к первому входу компаратора. Кроме того, датчик содержит первый резистор, подсоединенный одним концом к измерительной обмотке, а другим – к нулевому выводу источника питания компаратора, делитель напряжения, состоящий из второго резистора и третьего резистора, подключенный одним концом к выходу компаратора, а другим концом – к нулевому выводу источника питания компаратора, причем общая точка второго и третьего резистора подсоединена ко второму входу компаратора, фильтр низких частот, вход которого подсоединен ко второму выводу измерительной обмотки, усилитель, вход которого подсоединен к выходу фильтра (см. Гальперин М.В. Электронная техника: учебник. – 2-е изд., исп.и доп. – М.: ИД «Форум»: ИНФА-М, 2007. С.352.) Недостатком его является недостаточная надежность работы, низкая точность, невозможность автоматизировано управлять процессом измерения и калибровки дифференциального датчика.
Заявляемое изобретение решает задачу создания способа и устройств для его осуществления, позволяющих устранить недостатки известного способа и устройств.
Техническим результатом является расширение функциональных возможностей, точности и информативности результатов измерений путем повышения стабильности напряжений на полюсах при ухудшении сопротивления изоляции, уменьшение величины перенапряжений, вызванных работой устройства измерения сопротивлений изоляции.
Этот технический результат достигается тем, что при определении сопротивлений изоляции сети постоянного тока с изолированной нейтралью, при котором измеряют напряжения между «землей» и полюсами источника постоянного тока, а также токи, протекающие по присоединениям сети до и после подключения к одному из полюсов резистивного элемента, в соответствии с изобретением измеряют также токи, протекающие по присоединениям сети после подключения второго резистивного элемента к другому полюсу сети, причем производят выравнивание напряжения на полюсах путем включения параллельно полюсам источника постоянного тока двух последовательно соединенных одинаковых резисторов, общая точка которых через третий резистор соединена с «землей», одновременно измеряют ток, протекающий по присоединению, включающему токопровод к третьему резистору и токопроводы от полюсов источника к резистивным элементам, определяют значения сопротивлений изоляции каждого из полюсов присоединений, а затем сети в целом из выражений:
  
 

где R – полное сопротивление изоляции всей сети,
Ri – полное сопротивление изоляции i-фидера,
U1+ – напряжение на положительном полюсе при подключении к нему резистивного элемента,
U2- – напряжение на отрицательном полюсе при подключении к нему резистивного элемента,
Е – ЭДС аккумуляторной батареи,
dIi+ – ток i-гo присоединения, вызванного подключением к положительному полюсу резистивного элемента,
dIi- – ток i-гo присоединения, вызванного подключением к отрицательному полюсу резистивного элемента,
Ri+ – сопротивление изоляции положительного полюса i-гo присоединения,
Ri- – сопротивление изоляции отрицательного полюса i-гo присоединения,
R– – сопротивление изоляции отрицательного полюса всей сети,
R+ – сопротивление изоляции положительного полюса всей сети,
dI0+ – ток присоединения, протекающий через третий резистор и резистивный элемент, при подключении к положительному полюсу резистивного элемента,
dI0-–+ – ток присоединений, протекающий через третий резистор, при подключении к отрицательному полюсу другого резистивного элемента
Для реализации заявленного способа предназначено устройство контроля изоляции сети постоянного тока с изолированной нейтралью, содержащее мостовую схему, образованную резисторами и сопротивлениями изоляций, одна из диагоналей которой подключена к полюсам сети постоянного тока, дифференциальные датчики постоянного тока для измерения токов по каждому присоединению, содержащие кольцевой магнитопровод, включающий по одному витку «плюсового» и «минусового» проводов присоединения, а также измерительную обмотку, подключенную к измерительной схеме, соединенную с интерфейсом, причем согласно изобретению в другую диагональ мостовой схемы включен дополнительный резистор, а мостовая схема выполнена с возможностью выравнивания напряжения на полюсах источника постоянного тока, при этом устройство содержит два содержащих по два последовательно соединенных резистора делителя напряжения, включенные между «землей» и положительным и отрицательным полюсами источника сети постоянного тока с помощью управляемых ключей, кроме того, устройство дополнительно содержит дифференциальный датчик постоянного тока для измерения тока, протекающего через дополнительный резистор и делители напряжения, причем интерфейсы подсоединены к первому входу блока обработки информации, один выход которого подсоединен к отсчетному устройству, а два других – к управляющим входам ключей, ко второму входу блока обработки информации подсоединен выход аналого-цифрового преобразователя, входы которого подсоединены к общим точкам соединения резисторов каждого из делителей напряжения.
Дифференциальный датчик заявляемого устройства контроля изоляции сети постоянного тока с изолированной нейтралью для выполнения заявленного способа измерения сопротивлений изоляции сети постоянного тока с изолированной нейтралью содержит магнитопровод, на котором имеется по одному витку «плюсового» и «минусового» проводов присоединения, измерительную обмотку, первый вывод которой подключен к выходу компаратора, а второй вывод подключен к первому входу компаратора, первый резистор, подсоединенный одним концом к измерительной обмотке, а другим – к нулевому выводу источника питания компаратора, делитель напряжения, состоящий из второго резистора и третьего резистора, подключенный одним концом к выходу компаратора, а другим концом – к нулевому выводу источника питания компаратора, причем общая точка второго и третьего резистора подсоединена ко второму входу компаратора, фильтр низких частот, вход которого подсоединен ко второму выводу измерительной обмотки, усилитель, вход которого подсоединен к выходу фильтра, согласно изобретению магнитопровод содержит дополнительную обмотку, подключенную к источнику калибровочного тока через управляемый ключ, управляющий вход которого подсоединен к выходу блока обработки информации датчика, причем вход этого блока подсоединен к выходу аналого-цифрового преобразователя, вход которого подсоединен к выходу усилителя, а выход блока обработки информации подсоединен ко входу интерфейсного устройства.
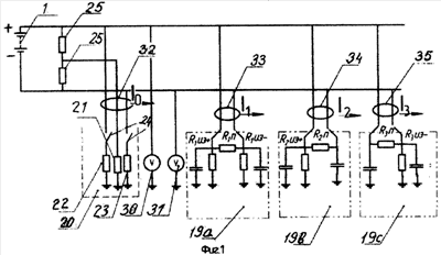
Сущность способа поясняется схемами (фиг.1, 2) и зависимостями (фиг.3, 4). На фиг.1 изображены источник питания сети постоянного тока 1 с изолированной нейтралью, нагрузки присоединений 19а, 19b, 19с с емкостями и активными сопротивлениями их изоляций. Рассмотрим случай, когда как и в прототипе, присоединение 19b обладает хорошей изоляцией относительно полюса «-», присоединение 19с обладает хорошей изоляцией относительно полюса «+», присоединение 19а обладает поврежденной изоляцией относительно полюса «+» и «-». Последнее в наибольшей степени соответствует решению задачи заявляемого изобретения. Кроме этого на схеме показаны резистивные элементы 22 и 23, подключенные через ключи 24 к полюсам + и соответственно устройства измерения напряжения 30 и 31 (вольтметры), устройства 33, 34, 35 для измерения токов (дифференциальные датчики), протекающих по присоединения 19а, 19b, 19с, резисторы 25, соединенные последовательно и подключенные параллельно полюсам источника 1, резистор 21, подключенный между общей точкой резисторов 25 и «землей», и устройство 32 для измерения тока (дифференциальный датчик), протекающего по присоединению 20. При этом резисторы 25, 21 образуют соединения «звезда».
Способ осуществляют следующим образом. Измеряют напряжения U1+ и U2- между «землей» и полюсами источника постоянного тока с помощью вольтметров 30 и 31. Последовательно измеряют с помощью дифференциальных датчиков 32, 33, 34, 35 токи, протекающие по присоединениям сети после подключения к одному из полюсов одного, а затем другого из резистивных элементов присоединения 20 (например, сначала 22, затем 23). Одновременно выравнивают напряжение на полюсах путем включения параллельно полюсам источника постоянного тока двух последовательно соединенных одинаковых резисторов 25, общая точка которых через третий резистор 21 присоединения 20 соединена с «землей», значения сопротивлений изоляции каждого из полюсов присоединений и сети в целом определяют из выражений
  
  
где R – полное сопротивление изоляции всей сети,
Ri – полное сопротивление изоляции i-фидера,
U1+ – напряжение на положительном полюсе при подключении к нему резистивного элемента,
U2- – напряжение на отрицательном полюсе при подключении к нему резистивного элемента,
Е – ЭДС аккумуляторной батареи,
dIi+ – ток i-гo присоединения, вызванного подключением к положительному полюсу резистивного элемента,
dIi- – ток i-гo присоединения, вызванного подключением к отрицательному полюсу резистивного элемента,
Ri+ – сопротивление изоляции положительного полюса i-гo присоединения,
Ri- – сопротивление изоляции отрицательного полюса i-гo присоединения,
R– – сопротивление изоляции отрицательного полюса всей сети,
R+ – сопротивление изоляции положительного полюса всей сети,
dI0+ – ток присоединения, протекающий через третий резистор и резистивный элемент, при подключении к положительному полюсу резистивного элемента,
dI0-–+ – ток присоединений, протекающий через третий резистор, при подключении к отрицательному полюсу другого резистивного элемента.
Процесс стабилизации напряжения на полюса относительно земли поясняется схемой фиг.2, представляющей собой схему замещения сети постоянного тока, установившемся режиме, изображенной на фиг.1, где R1из- и R2из- – сопротивления изоляции первого и второго присоединения относительно шины «-» соответственно,
R1из+ и R3из+ – сопротивления изоляции первого и третьего присоединения относительно шины «+» соответственно, Rd+ и Rd- – сопротивления резистивных элементов, подключаемых с помощью ключей к шинам + и -, Rm+ и Rm- – эквивалентные сопротивления между каждым из полюсов источника тока и «землей», то есть сопротивления «звезды» между каждым из полюсов источника тока и «землей».
Rm-=Rm+=R11+2R13=R12+2R13,
где R11, R12 и R13 – сопротивления резисторов 11, 12 и 13 соответственно.
До замыкания ключей К1 и К2 напряжение на шине «+» источника относительно «земли»

Напряжение смещения нейтрали

Как видно из выражения (2) напряжение смещения нейтрали тем меньше, чем меньше величина Rm+3из+1из+ и Rm-2из-1из-.
После замыкания одного из ключей 24 напряжение на шине «+» источника относительно «земли»

Напряжение смещения нейтрали

После замыкания другого ключа 24 напряжение на шине «+» источника относительно «земли»

Напряжение смещения нейтрали

Как видно из выражений (3, 4, 5, 6) напряжение смещения нейтрали зависит не только от соотношений сопротивлений изоляции и резисторов Rd, а также от величины Rm и тем меньше, чем меньше соотношения Rm/Rd.
Таким образом, при ухудшении сопротивлений изоляции полюсов относительно земли производят выравнивание напряжения на полюсах, добиваясь уменьшения смещения нейтрали. Для этого включают в схему параллельно полюсам постоянного тока два последовательно соединенных одинаковых резисторов, общая точка которых через третий резистор соединена с «землей». Учитывая выражения (3, 4, 5, 6) резисторы 25 выбирают с сопротивлением во много раз меньшее, чем сопротивление изоляции, например, резисторы 25 с сопротивлением 1 кОм каждое, а резистор 21 с сопротивлением 3,9 кОм.
При этом уменьшают напряжение смещения нейтрали путем введения резисторов 25, 21 не только до, но и после подсоединения резисторов Rd к шинам источника относительно «земли», что уменьшает вероятность ложного срабатывания защит в сети постоянного тока.
После замыкания ключа одного из ключей 24. Токи, протекающие по изоляции проводов, соединяющих шины «+» и «-» источника соответственно и нагрузку первого присоединения
I1+=U1+G1из+,
I1-=U1-G1из-,
где U1+, U1- – напряжение на шинах «+» и «-» относительно «земли» соответственно, G1из+, G1из- – проводимость изоляции первого присоединения относительно шины «+» и шины «-» соответственно.
Дифференциальный ток первого присоединения после замыкания ключа К1

где G1из – полная проводимость изоляции первого присоединения,
G1из=G1из++G1из-
После замыкания ключа другого ключа.
Токи, протекающие по изоляции проводов, соединяющих шины «+» и «-» источника и нагрузку первого присоединения
I1+=U2+G1из+,
I1-=U2-G1из-,
где U2+, U2- – напряжение на шине «+» и «-» относительно «земли» соответственно. Дифференциальный ток первого присоединения после замыкания ключа К2

Исходя из выражений (7, 8) получим выражение для полного (эквивалентного) сопротивления изоляции первого присоединения и отдельно сопротивления изоляции положительного и отрицательного проводов относительно «земли»
R1из=1/G1из=(U1++U2--Е)/(dI1+-dI1-),

R1из+=1/G1из+=E/(U2-·G1из+dI1 1),
следовательно,
Ri+=E/(U2-/Ri+dIi-);
Ri-=E/(U1+/Ri--dIi).
Как видно из выражений, для определения отдельно сопротивлений изоляции положительного и отрицательного проводов относительно «земли» необходимо знать не только приращения токов, протекающих по присоединениям, но и сами значения токов для двух случаев присоединения резистивных элементов к полюсам источника. В общем случае для n-присоединений полное сопротивление изоляции всей сети

Так как «земля», которая является общим выводом всей изоляции, выполняет функцию диагонали моста, образованного сопротивлениями изоляции и резисторами 25 справедливо выражение


Поэтому, измеряя дифференциальный ток датчиком 33, определяют сопротивление изоляции всей схемы из выражения
R=(U1++U2--Е)/(I0--I0+).
На фиг.3-4 представлены зависимости дифференциальных токов, протекающих по присоединениям от величины сопротивления изоляции, полученные расчетным путем по вышеприведенным формулам при R11=R12=1 кОм, R13=3,9 кОм, R5=R6=30 кОм, E=220. На фиг.3-4 кривые 1 и 2 – дифференциальный ток при замыкании каждого из ключей 24, а кривая 3 – дифференциальный ток, измеряемый в способе-прототипе до подключения резистивного элемента, причем на фиг.3 представлен случай для случая симметричного ухудшения изоляций Rиз+=Rиз-, а на фиг.4 представлен случай несимметричного ухудшения изоляций Rиз+=1 МОм, Rиз-. Как видно из чертежей, при симметричном ухудшении изоляции дифференциальные токи при различном замыкании ключей 24 имеют одинаковые значения, но различные знаки. При несимметричном характере ухудшения изоляции дифференциальные токи имеют значения одного порядка и одного знака при различном замыкании ключей. При этом величина их разности в два раза больше, чем при каком-либо одном замыкании ключа одного из ключей 24. Таким образом, точность расчета сопротивлений изоляции по приращениям дифференциальных токов при заявляемом способе измерения изоляции выше.
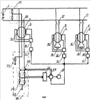
Для осуществления заявленного способа предназначено устройство контроля изоляции сети постоянного тока с изолированной нейтралью (фиг.5), содержащее мостовую схему, образованную резисторами 25 и сопротивлениями изоляций, одна из диагоналей мостовой схемы подключена к полюсам сети постоянного тока 1, дифференциальные датчики постоянного тока для измерения токов по каждому присоединению 19а, 19b, 19с, содержащие кольцевой магнитопровод 2, включающий по одному витку «плюсового» и «минусового» проводов присоединения 2, а также измерительную обмотку 3, подключенную к измерительной схеме 18, соединенную с интерфейсом 11. В другую диагональ мостовой схемы включен дополнительный резистор 21, а мостовая схема выполнена с возможностью выравнивания напряжения на полюсах источника постоянного тока, при этом устройство содержит два содержащих по два последовательно соединенных резистора 22, 23 – делителя напряжения, включенные между «землей» и положительным, и отрицательным полюсами источника сети постоянного тока с помощью управляемых ключей 24. Резистор 21 и делители 22, 23 как бы образуют присоединение 20. На присоединении 20 установлен дифференциальный датчик постоянного тока, содержащий кольцевой магнитопровод 2, включающий по одному витку «плюсового» и «минусового» проводов присоединения и один провод 29 к резистору 21, а также измерительные обмотки 12, 3, подключенные к измерительной схеме 18. Интерфейсы 11 подсоединены к первому входу блока обработки информации 26, один выход которого подсоединен к отсчетному устройству 27, а два других – к управляющим входам ключей 24, ко второму входу блока обработки информации 26 подсоединен выход аналого-цифрового преобразователя 28, входы которого подсоединены к общим точкам соединения резисторов каждого из делителей напряжения.
Устройство работает следующим образом. Блок обработки информации 26 дает команду на замыкание одного из ключей 24, например, подсоединенного к полюсу «+». При этом делитель напряжения 23 подключается между полюсом «+» и «землей», что приводит к уменьшению напряжения на полюсе. В токопроводах 17 и 29 появляются дифференциальные токи, значения которых, а также значение напряжения на шине «+» через измерительную схему 18 и интерфейсы 11 передаются в блок обработки информации 26. Блок обработки информации 26 дает команду на замыкание следующего ключа, например, подсоединенного к шине «-». Производят новое измерение напряжения на шине «-» дифференциальных токов в токопроводах 17 и 29. Блок обработки информации на основе выражений (9, 10) производит расчет сопротивлений изоляции и передает полученные значения отсчетному устройству 27. Присоединенные резисторы 25 и 3 имеют значения сопротивления значительно меньшее (например, 1 кОм и 3,9 кОм), чем сопротивления изоляции, которые составляют десятки и сотни кОм. Поэтому при старении изоляции (уменьшении величины ее сопротивления) резисторы удерживают напряжение на полюсах источника 1, которое не меняется значительно и не приводит к ложной работе защит. Такая работа устройства позволяет повысить точность определения сопротивлений изоляции присоединений за счет большего значения приращения дифференциальных токов (чем при работе одного ключа), определить отдельно значения полного (эквивалентного), положительного и отрицательного сопротивления изоляции каждого присоединения, полного положительного и отрицательного сопротивления изоляции сети на основе данных дифференциального датчика постоянного тока на присоединении и напряжения на полюсах. Таким образом, можно измерить не только полное сопротивление, но и каждого полюса. При этом величина напряжения смещения нейтрали, вызванная ухудшением сопротивления изоляции уменьшена, что уменьшает вероятность ложного срабатывания релейной защиты и автоматики.
Как показали испытания устройства для щитов постоянного тока 220 В, оно позволяет контролировать изоляцию присоединений в диапазоне 10 500 кОм с погрешностью 10%.
Для заявленного устройства контроля изоляции сети постоянного тока с изолированной нейтралью предназначена конструкция заявляемого дифференциального датчика (рис.6) заявляемого устройства контроля изоляции сети постоянного тока с изолированной нейтралью для выполнения заявленного способа измерения сопротивлений изоляции сети постоянного тока с изолированной нейтралью. Датчик содержит магнитопровод 2, на котором имеется по одному витку «плюсового» и «минусового» проводов присоединения. Он содержит также измерительную обмотку 3, первый вывод которой подключен к выходу компаратора 6, а второй вывод подключен к первому входу компаратора 6, первый резистор 5, подсоединенный одним концом к измерительной обмотке 3, а другим – к нулевому выводу источника питания компаратора, делитель напряжения 4, состоящий из второго и третьего резистора, подключенный одним концом к выходу компаратора 6, а другим концом – к нулевому выводу источника питания компаратора 6. Резисторы 15, 16 делителя напряжения 4, а также измерительная обмотка 3 и первый резистор 5, представляющие собой второй делитель напряжения образуют мостовую схему, являющуюся частью измерительной схемы. Причем общая точка второго 15 и третьего 16 резисторов подсоединена ко второму входу компаратора 6, вход фильтра низких частот 7 подсоединен ко второму выводу измерительной обмотки 3, а вход усилителя 8 подсоединен к выходу фильтра. При этом датчик содержит дополнительную обмотку 12, подключенную к источнику калибровочного тока 13 через управляемый ключ 14, управляющий вход которого подсоединен к выходу блока обработки информации 10 датчика, причем вход этого блока подсоединен к выходу аналого-цифрового преобразователя 9, вход которого подсоединен к выходу усилителя 8, а выход блока обработки информации подсоединен ко входу интерфейсного устройства 11.
Работа датчика происходит следующим образом. При подаче напряжения (источник питания датчика условно не показан) в измерительной обмотке 3 протекает переменный по направлению и величине ток, вызванный двухполярным напряжением на выходе компаратора 6. При протекании дифференциального тока в магнитопроводе датчика появляется постоянная составляющая магнитного поля, что вызывает смещение петли гистерезиса относительно нуля. При этом меняется скважность импульсов на выходе компаратора 6, а также появляется постоянная составляющая тока в измерительной обмотке 3. Сигнал напряжения с резистора 5, пропорциональный току в измерительной обмотке 3, подается на вход фильтра 7 низкой частоты, в котором подавляются все высшие гармоники, затем сигнал усиливается в усилителе 8 и подается на вход аналого-цифрового преобразователя 9. Из блока обработки и управления 10 информация передается на вход интерфейсного устройства 11.
При подаче команды на проверку работы датчика с головного блока устройства обработки информации для осуществления способа (фиг.5), блок обработки информации и управления датчика замыкает ключ 14, через дополнительную обмотку протекает ток, который определяется по приращению сигнала с выхода усилителя, что дает возможность сделать вывод о работоспособности датчика.
Испытания датчика, изготовленного в соответствии с вышеописанной конструкцией, показали, что он позволяет измерять дифференциальные постоянные токи 0 1 мА с погрешностью до 5% и имеющий интерфейсное устройство RS-485.
Формула изобретения
1. Способ определения сопротивлений изоляции сети постоянного тока с изолированной нейтралью, при котором измеряют напряжения между «землей» и полюсами источника постоянного тока, а также токи, протекающие по присоединениям сети до и после подключения к одному из полюсов резистивного элемента, в соответствии с изобретением, измеряют также токи, протекающие по присоединениям сети после подключения второго резистивного элемента к другому полюсу сети, причем производят выравнивание напряжения на полюсах путем включения параллельно полюсам источника постоянного тока двух последовательно соединенных одинаковых резисторов, общая точка которых через третий резистор соединена с «землей», одновременно измеряют ток, протекающий по присоединению, включающему токопровод к третьему резистору и токопроводы от полюсов источника к резистивным элементам, определяют значения сопротивлений изоляции каждого из полюсов присоединений, а затем сети в целом из выражений:
  
 
 где R – полное сопротивление изоляции всей сети; Ri – полное сопротивление изоляции i-фидера; U1+ – напряжение на положительном полюсе при подключении к нему резистивного элемента; U2- – напряжение на отрицательном полюсе при подключении к нему резистивного элемента; Е – ЭДС аккумуляторной батареи; dIi+ – ток i-гo присоединения, вызванного подключением к положительному полюсу резистивного элемента; dIi- – ток i-гo присоединения, вызванного подключением к отрицательному полюсу резистивного элемента; Ri+ – сопротивление изоляции положительного полюса i-гo присоединения; Ri- – сопротивление изоляции отрицательного полюса i-гo присоединения; dI0+– ток присоединения, протекающий через третий резистор и резистивный элемент, при подключении к положительному полюсу резистивного элемента; dI0- – ток присоединений, протекающий через третий резистор, при подключении к отрицательному полюсу другого резистивного элемента.
2. Устройство контроля изоляции сети постоянного тока с изолированной нейтралью для осуществления способа по п.1, содержащее мостовую схему, образованную резисторами и сопротивлениями изоляций, одна из диагоналей которой подключена к полюсам сети постоянного тока, дифференциальные датчики постоянного тока для измерения токов по каждому присоединению, содержащие кольцевой магнитопровод, включающий по одному витку «плюсового» и «минусового» проводов присоединения, а также измерительную обмотку, подключенную к измерительной схеме, соединенную с интерфейсом, причем, отличающееся тем, что в другую диагональ мостовой схемы включен дополнительный резистор, а мостовая схема выполнена с возможностью выравнивания напряжения на полюсах источника постоянного тока, при этом устройство содержит два содержащих по два последовательно соединенных резистора делителя напряжения, включенные между «землей» и положительным и отрицательным полюсами источника сети постоянного тока с помощью управляемых ключей, кроме того, устройство дополнительно содержит дифференциальный датчик постоянного тока для измерения тока протекающего через дополнительный резистор и делители напряжения, причем интерфейсы подсоединены к первому входу блока обработки информации, один выход которого подсоединен к отсчетному устройству, а два других к управляющим входам ключей, ко второму входу блока обработки информации подсоединен выход аналого-цифрового преобразователя, входы которого подсоединены к общим точкам соединения резисторов каждого из делителей напряжения.
3. Дифференциальный датчик для устройства контроля изоляции сети постоянного тока с изолированной нейтралью для осуществления способа по п.1 содержит магнитопровод, включающий по одному витку «плюсового» и «минусового» проводов присоединения, измерительную обмотку, первый вывод которой подключен к выходу компаратора, а второй вывод подключен к первому входу компаратора, первый резистор, подсоединенный одним концом к измерительной обмотке, а другим к нулевому выводу источника питания компаратора, делитель напряжения, состоящий из второго и третьего резистора, подключенный одним концом к выходу компаратора, а другим концом к нулевому выводу источника питания компаратора, причем общая точка второго и третьего резистора подсоединена ко второму входу компаратора, фильтр низких частот, вход которого подсоединен ко второму выводу измерительной обмотки, усилитель, вход которого подсоединен к выходу фильтра согласно изобретению, магнитопровод содержит дополнительную обмотку, подключенную к источнику калибровочного тока через управляемый ключ, управляющий вход которого подсоединен к выходу блока обработки информации датчика, причем вход этого блока подсоединен к выходу аналого-цифрового преобразователя, вход которого подсоединен к выходу усилителя, а выход блока обработки информации подсоединен ко входу интерфейсного устройства.
РИСУНКИ
|
|