|
|
(21), (22) Заявка: 2008133442/11, 14.08.2008
(24) Дата начала отсчета срока действия патента:
14.08.2008
(46) Опубликовано: 10.02.2010
(56) Список документов, цитированных в отчете о поиске:
RU 2309078 С2, 27.10.2007. SU 905692 A1, 17.02.1982. US 5088040 A, 11.02.1992. JP 60163714 A, 26.08.1985.
Адрес для переписки:
460018, г.Оренбург, пр-кт Победы, 13, ГОУ ОГУ, патентный отдел
|
(72) Автор(ы):
Рассоха Владимир Иванович (RU), Бондаренко Елена Викторовна (RU), Исайчев Владимир Тимофеевич (RU)
(73) Патентообладатель(и):
Государственное образовательное учреждение высшего профессионального образования “Оренбургский государственный университет” (RU)
|
(54) УСТРОЙСТВО ДЛЯ АВТОМАТИЧЕСКОГО РЕГУЛИРОВАНИЯ СХОЖДЕНИЯ УПРАВЛЯЕМЫХ КОЛЕС АВТОМОБИЛЯ В ПРОЦЕССЕ ДВИЖЕНИЯ
(57) Реферат:
Изобретение относится к транспортным средствам. Устройство для автоматического регулирования схождения управляемых колес автомобиля в процессе движения содержит датчики боковых реакций дороги, реверсивный механизм изменения рабочей длины поперечной рулевой тяги, систему управления указанным механизмом, соосный увеличитель хода золотника распределительного устройства, регулировочную тягу и поводок. Датчики боковых реакций дороги выполнены в виде наружных и внутренних упругих герметичных круглых баллонов. Баллоны установлены на осях управляемых колес и герметично соединены между собой и с соответствующей полостью управляющего цилиндра. Золотник распределительного устройства включает двуплечий рычаг, установленный на неподвижной оси. Короткое плечо двуплечего рычага соединено со штоком поршня управляющего цилиндра, а длинное плечо двуплечего рычага шарнирно соединено с регулировочной тягой. Тяга шарнирно соединена с золотником распределительного устройства. Достигается повышение точности и надежности автоматического регулирования схождения управляемых колес автомобиля в процессе движения. 1 ил.
Предлагаемое устройство относится к транспортным средствам и может быть применено для обеспечения автоматического регулирования схождения управляемых колес автомобиля в процессе движения.
Известно устройство для автоматического регулирования схождения управляемых колес транспортного средства в движении, содержащее датчики боковых сил, действующих на управляемые колеса, реле, подвижные контакты которых связаны с соответствующими датчиками боковых сил, реверсивный механизм изменения рабочей длины поперечной рулевой тяги и систему управления указанным механизмом, связанные с неподвижными контактами реле (А.с. СССР 905692, 15.02.1982, Бюл. 6).
Недостатком данного устройства является низкая надежность, вызванная наличием реле с подвижными и неподвижными контактами, которые могут срабатывать при колебаниях управляемых колес.
Наиболее близким к предлагаемому устройству является устройство для автоматического регулирования схождения управляемых колес в процессе движения, содержащее реверсивный механизм изменения рабочей длины поперечной рулевой тяги и систему управления указанным механизмом, связанную с датчиками боковой реакции дороги, действующей на управляемые колеса, в качестве которых используют наружные и внутренние упругие герметичные элементы в виде круглых баллонов, установленных на осях управляемых колес и герметично попарно соединенных между собой и с соответствующей полостью управляющего цилиндра (Патент РФ 2309078, 27.10.2007, Бюл. 30).
Устройство хорошо работает при значительном отклонении схождения управляемых колес, однако его недостатком являются низкая чувствительность, точность и надежность, т.к. при малом отклонении схождения управляемых колес, являющимся преимущественным в процессе движения, и, следовательно, малом перемещении поршня управляющего цилиндра ход золотника недостаточен для соединения соответствующей полости гидроцилиндра с насосом и практически не устраняет отклонения в схождении, что приводит к сохранению повышенного износа шин и расхода топлива.
Техническим результатом предлагаемого устройства для автоматического регулирования схождения управляемых колес автомобиля в процессе движения является повышение чувствительности, точности и надежности даже при малом перемещении поршня управляющего цилиндра.
Указанный технический результат достигается тем, что устройство для автоматического регулирования схождения управляемых колес автомобиля в процессе движения, содержащее установленные на осях управляемых колес наружные и внутренние упругие герметичные элементы в виде круглых баллонов, являющиеся датчиками боковых реакций дороги, действующих на управляемые колеса, которые герметично попарно соединены между собой и с соответствующей полостью управляющего цилиндра, реверсивный механизм (гидроцилиндр) изменения рабочей длины поперечной рулевой тяги и систему управления указанным механизмом, включающую управляющий цилиндр, распределительное устройство и гидронасос, связанную с датчиками боковой реакции дороги, снабжено соосным увеличителем хода золотника распределительного устройства (управляющий цилиндр и распределительное устройство расположены соосно), включающим двуплечий рычаг, установленный на неподвижной оси, регулировочную тягу и поводок, жестко закрепленный на золотнике, причем короткое плечо двуплечего рычага соединено со штоком поршня управляющего цилиндра, а длинное шарнирно соединено с регулировочной тягой, которая, в свою очередь, шарнирно соединена с золотником распределительного устройства.
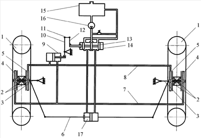
Устройство для автоматического регулирования схождения управляемых колес автомобиля в процессе движения показано на чертеже, на котором изображена общая схема предлагаемого устройства.
Предлагаемое устройство включает в себя управляемые колеса 1, установленные через подшипники и втулки 2 на осях 3, на которых также установлены упругие герметичные наружные 4 и внутренние 5 датчики боковой реакции дороги. Оси 3 через боковые рычаги соединены поперечной рулевой тягой 6 переменной длины. Наружные 4 и внутренние 5 датчики боковой реакции дороги выполнены в виде круглых баллонов, имеющих одинаковые объемы, находятся под одинаковым давлением рабочей среды и соединены трубопроводами 7 и 8 между собой и с соответствующими полостями управляющего цилиндра 9. Шток поршня управляющего цилиндра через двуплечий рычаг 10, регулировочную тягу 11 и поводок 12 жестко связан с золотником 13 распределительного устройства 14 потока рабочей жидкости. Устройство также содержит емкость 15, насос 16 и реверсивный механизм изменения рабочей длины поперечной рулевой тяги (гидроцилиндр) 17.
Датчики боковой реакции дороги 4 и 5, трубопроводы 7 и 8, управляющий цилиндр 9, увеличитель хода и распределительное устройство 14 потока рабочей жидкости образуют систему управления реверсивным механизмом изменения рабочей длины поперечной рулевой тяги 17.
Устройство работает следующим образом.
При прямолинейном движении автотранспортного средства и правильном схождении управляемых колес боковые реакции дороги на эти колеса отсутствуют, а давления рабочей среды в датчиках боковой реакции дороги 4 и 5 равны между собой, поэтому поршень управляющего цилиндра 9 находится в среднем положении и золотник 13 распределительного устройства 14 находится в центральном (нейтральном) положении, обеспечивая заданную длину поперечной рулевой тяги 6.
При отклонении схождения в положительную или отрицательную стороны управляемые колеса 1 за счет боковых реакций дороги через подшипники и втулки 2 будут воздействовать на внутренние 5 или наружные 4 датчики боковой реакции дороги и изменять давление в системе управления реверсивным механизмом изменения рабочей длины поперечной рулевой тяги 17. При этом возникающее повышенное давление в трубопроводах 7 или 8 сместит поршень управляющего цилиндра 9 в соответствующую сторону, и вместе с ним через двуплечий рычаг 10, регулировочную тягу 11 и поводок 12 переместится золотник 13 распределительного устройства 14 влево или вправо. Так обеспечится подача рабочей жидкости от насоса 16 в соответствующую полость гидроцилиндра 17 реверсивного механизма изменения рабочей длины поперечной рулевой тяги 6, обеспечивая требуемое схождение колес.
Таким образом, предлагаемое устройство для автоматического регулирования схождения управляемых колес автомобиля в процессе движения позволяет обеспечить правильное схождение управляемых колес при различных режимах движения (разгоне, накате, торможении) даже при малом перемещении поршня управляющего цилиндра, что повышает чувствительность, точность и надежность и способствует снижению сопротивления движению, износа шин и расхода топлива.
Формула изобретения
Устройство для автоматического регулирования схождения управляемых колес автомобиля в процессе движения, содержащее датчики боковых реакций дороги, действующих на управляемые колеса, в виде наружных и внутренних упругих герметичных круглых баллонов, установленных на осях управляемых колес и герметично соединенных между собой и с соответствующей полостью управляющего цилиндра, реверсивный механизм изменения рабочей длины поперечной рулевой тяги и систему управления указанным механизмом, связанную с датчиками боковой реакции дороги, отличающееся тем, что оно снабжено соосным увеличителем хода золотника распределительного устройства, включающим двуплечий рычаг, установленный на неподвижной оси, регулировочную тягу и поводок, жестко закрепленный на золотнике, причем короткое плечо двуплечего рычага соединено со штоком поршня управляющего цилиндра, а длинное шарнирно соединено с регулировочной тягой, которая, в свою очередь, шарнирно соединена с золотником распределительного устройства.
РИСУНКИ
|
|