|
(21), (22) Заявка: 2008107344/28, 25.07.2006
(24) Дата начала отсчета срока действия патента:
25.07.2006
(30) Конвенционный приоритет:
27.07.2005 DE 102005035045.3
(43) Дата публикации заявки: 10.09.2009
(46) Опубликовано: 10.02.2010
(56) Список документов, цитированных в отчете о поиске:
GB 1288177 А, 06.09.1972. ЕР 1125748 A1, 22.08.2001. US 5437184 A, 01.08.1995. US 5682184 A, 28.10.1997. FR 2765331 A1, 31.12.1998.
(85) Дата перевода заявки PCT на национальную фазу:
27.02.2008
(86) Заявка PCT:
EP 2006/007306 20060725
(87) Публикация PCT:
WO 2007/012455 20070201
Адрес для переписки:
103735, Москва, ул. Ильинка, 5/2, ООО “Союзпатент”, пат.пов. И.М.Захаровой
|
(72) Автор(ы):
ТОБЕ Бернхард (DE)
(73) Патентообладатель(и):
БРИТА ГМБХ (DE)
|
(54) ИЗМЕРИТЕЛЬНОЕ УСТРОЙСТВО И УСТРОЙСТВО ИЗМЕРЕНИЯ ПРОВОДИМОСТИ ДЛЯ ОПРЕДЕЛЕНИЯ КОЛИЧЕСТВА ПРОТЕКАЮЩЕЙ ЭЛЕКТРИЧЕСКИ ПРОВОДЯЩЕЙ ЖИДКОСТИ, ИЗМЕРИТЕЛЬНЫЙ ЭЛЕМЕНТ И СПОСОБ
(57) Реферат:
Изобретение относится к измерительному устройству для определения количества d(V(z)) электрически проводящей жидкости с проводимостью LF с помощью емкости при изменяющихся в вертикальном направлении (z-направлении) уровнях заполнения. Сущность: предусмотрено устройство для измерения проводимости, которое среди прочего имеет, по меньшей мере, два простирающихся в z-направлении электрода. Параметры емкости и/или устройства измерения проводимости определены таким образом, что она/они может (могут) быть описана (описаны) с помощью, по меньшей мере, одной параметрической функции, fpi(V(z)), зависящей от V(z). По меньшей мере, одна из этих параметрических функций должна иметь экспоненциальную зависимость от V(z). Описывается также измерительный элемент, а также способ для определения общего количества протекающей жидкости d(V). Технический результат: упрощение конструкции устройства и способа измерения проводимости электропроводящей жидкости.
5 н. и 37 з.п. ф-лы, 14 ил.
Изобретение относится к измерительному устройству определения количества dV(z) электрически проводящей жидкости с проводимостью LF, протекающей через емкость при изменяющихся в вертикальном направлении (z-направление) уровнях заполнения с емкостью, имеющей донную часть и приемное и сливное отверстия, и с устройством для измерения проводимости, включающим следующие компоненты: источник напряжения, устройство обработки результатов и, по меньшей мере, один измерительный элемент, который расположен в емкости и присоединен к устройству обработки результатов и который имеет, по меньшей мере, два проходящих в z-направлении электрода, расположенных перпендикулярно к z-направлению на расстоянии друг от друга, причем Zmax обозначает расстояние от нижнего первого конца (31) электрода (z=0) до верхнего второго конца (32) электрода.
Изобретение также относится к устройству измерения проводимости согласно ограничительной части пункта 5 формулы изобретения, измерительному элементу для измерения величины, зависящей от уровня заполнения электрически проводящей жидкости с, по меньшей мере, одним проходящим вдоль электродом, а также к способу определения общего количества протекающей жидкости dV согласно ограничительной части пункта 40 формулы изобретения.
Измерение уровня заполнения проводится везде, где необходимо определить объемы жидкости, соответственно, изменения объемов жидкости. Измерение уровня заполнения проводится обычно с помощью электродов, которые частично погружаются в жидкость. С помощью соответствующей измерительной системы измеряется сопротивление или электрическая проводимость жидкости, которая наряду с прочим пропорциональна уровню заполнения соответственно объему жидкости.
При этом используется физическая зависимость LF= 0·ZK·V, где LF – электрическая проводимость, 0 – удельная проводимость жидкости, V – объем жидкости и ZK – так называемая постоянная ячейки, которая рассчитывается из отношения расстояния между электродами к смоченной поверхности электродов.
Так как удельная проводимость 0 влияет на повышение кривой полученных измерений (измеренная величина в зависимости от объема заполнения), перед проведением измерений уровня заполнения первоначально нужно провести тарировочные измерения этой соответствующей удельной проводимости. Этот предварительный процесс требует дополнительных затрат, которых по возможности следует избегать.
Из DE 197 26 044 известен прибор, указывающий уровень жидкости, в частности для сосудов с растениями, который включает продолговатый стержень с, по меньшей мере, двумя изолированными друг от друга электродами и электронную схему, которая соединена с электродами с помощью идущих в стержне проводов и соединена с источником постоянного напряжения. Прибор показывает уровень жидкости. Этот прибор для показания уровня должен иметь несколько электродов, которые располагаются на различных уровнях. Каждый электрод соединен собственным проводником с электронной схемой. Это требует соответственно высоких затрат при монтаже.
В DE 40 42 257 описаны способ и устройство для определения уровня заполнения и уровня нахождения электрически проводящих жидкостей. При этом, например, применяется цепь сопротивлений, которая вертикально погружается в жидкость. Из измерений сопротивления общей системы может быть определено, какое сопротивление имеется над зеркалом жидкости, что одновременно означает, на какой глубине находится зеркало жидкости, так как металлические поверхности установлены вдоль уровня на небольшом и постоянном расстоянии. И в этом случае система требует затрат и передает только дискретные величины уровня заполнения.
Из DE 30 18 718 известно устройство для измерения уровня заполнения с помощью электродов, которое равным образом имеет отдельные электроды для измерения уровня заполнения, которые бесступенчато с возможностью смещения расположены на носителе в продольном направлении носителя.
Из JP 08050047 А известна система электродов с несколькими электродами, с помощью которой измеряется сопротивление жидкости при определении уровня заполнения.
Из JP 2004077439 А известен измерительный электрод для измерения уровня жидкости, который имеет коническую форму или форму полушария. Нижний участок электрода имеет меньший диаметр, а верхний конец электрода имеет больший диаметр.
Измерения уровня заполнения проводятся также, в частности, в фильтрах для воды, причем измерения уровня заполнения используются для определения степени отработки фильтровального материала в фильтровальном патроне. Такой индикатор степени отработки известен, например, из ЕР 1 484 097 А1. Этот индикатор степени отработки базируется на измерениях сопротивления жидкости двумя электродами, которые расположены в емкости для воды один над другим или находятся в подводном канале. Это устройство имеет тот недостаток, что при изменении качества воды необходимо проводить тарировочные измерения.
Из WO 01/74719 также известен индикатор степени отработки, в котором используются несколько электродов, погружаемых в жидкость. На устройстве для фильтрования воды расположен блок обработки результатов определения объема, пропущенного за определенный промежуток времени, соединенный с индикаторным блоком, который представляет так называемый индикатор степени отработки фильтровального материала. Такие устройства для фильтрования воды заполняются сырой водой через заливочную воронку, вода через фильтровальный патрон стекает вниз и собирается в нижней полости в виде отфильтрованной воды. При изменяющихся подаче и отводе сырой воды в период срока службы фильтровального патрона многократно происходит изменение уровня заполнения, так что по этим изменениям уровня заполнения можно сделать заключение о количестве жидкости, прошедшем через фильтровальный патрон. На основе количества жидкости с помощью индикатора степени отработки фильтровального материала делается вывод о времени замены фильтровального средства.
Задача изобретения состоит в создании такого измерительного устройства, которое является простым по конструкции и делает ненужными тарировочные измерения в части удельной проводимости жидкости. Задачей изобретения является также предложение простого по конструкции и удобного в обращении измерительного элемента, устройства для измерения проводимости и способа измерения.
Эта задача решается с помощью измерительного устройства, в котором устройство измерения проводимости во временных интервалах ti-ti-1 при i=1 n предоставляет измеренные величины Мti(V)=M(V(z))~LF·fM(V(z)), причем параметры, по меньшей мере, емкости (5) и/или устройства измерения проводимости выбраны таким образом, что она/они может (могут) быть описана (описаны) с помощью, по меньшей мере, одной параметрической функции pi(V(z)) при i=1 m, зависящей от V(z), так что действительно:
fM(V(z))~f( pi(V(z) при i=1 m))~bM V(z)
причем bм число 0 и 1, при этом устройство для обработки результатов выполнено, по меньшей мере, для образования показателей измеренных величин и для логарифмирования показателей.
Z-направление выбирается перпендикулярно зеркалу жидкости в емкости для жидкости. Показатель может иметь положительный или отрицательный знак.
Задача также решается с помощью устройства для измерения проводимости, которое отличается тем, что устройство для измерения проводимости во временные интервалы ti-ti-1 при i=1 n предоставляет измеренные величины Мti(V)=M(V(z))~LF·fM(V(z)), причем параметры устройства для измерения проводимости выбраны таким образом, что оно может быть описано с помощью, по меньшей мере, одной параметрической функции pi(V(z)) при I=1 m, зависящей от V(z), так что действительно:
fM(V(z))~f( pi,(V(z) при I=1 m))~bM v(z),
причем bм число 0 и 1, а устройство для обработки результатов выполнено, по меньшей мере, для образования показателей измеренных величин и для логарифмирования показателей.
Изобретение основано на том, что при определении количества электрически проводящей жидкости, протекающей через емкость, не известной является величина проводимости жидкости, при этом не определяется и абсолютная величина уровня зеркала жидкости, когда, благодаря конструктивному исполнению измерительного устройства, существует экспоненциальная связь между измеряемой величиной Mti (V(z)) и объемом жидкости V(z) в емкости.
Оказалось, что для этого имеются различные конструктивные решения, которые могут быть представлены в общей форме с помощью параметрических функций.
Под параметрической функцией pi, (I описывает текущий индекс, т.е. p1, p2 и т.д.) понимается конструктивный параметр, который имеет функциональную зависимость от V(z) и, следовательно, от z. Например, таким параметром PI, соответственно, в зависимости от z являются: форма емкости, форма электродов, расстояние между электродами и свойства материала, из которого изготовлены электроды. Расстояние между электродами может быть представлено в виде пространственного расстояния между обоими электродами или релевантным расстоянием для электрических силовых линий. В последнем случае оба электрода могут быть расположены непосредственно рядом друг с другом, если между электродами находится препятствие, которое изменяет длину пути электрических силовых линий.
В соответствии с особым вариантом осуществления между обоими электродами расположен, по меньшей мере, один элемент, который изменяет длину пути электрических силовых линий, образующихся между обоими электродами. В качестве такого элемента может использоваться составная часть несущего элемента, на котором расположены оба электрода или дополнительный элемент, который расположен на несущем элементе. При этом предпочтительно, если элемент имеет такую форму, что длина пути силовых линий изменяется по экспоненте при увеличении величины z.
Преимущественно элемент имеет форму, при которой длина пути силовых линий уменьшается при увеличении величины z.
В соответствии с предпочтительным вариантом осуществления изобретения элемент представляет собой пластину, передний край которой имеет изогнутую форму.
Оба электрода могут быть расположены на несущем элементе рядом друг с другом, причем пластина расположена между обоими электродами.
В соответствии с другим вариантом осуществления изобретения электроды расположены на противолежащих сторонах несущего элемента и сбоку рядом с каждым электродом расположена такая пластина, которая изменяет длину пути силовых линий между электродами.
Предпочтительным образом пластину располагают перпендикулярно несущему элементу. Ориентирование этой пластины, образующей препятствие, определяется исполнением несущего элемента и расположением электродов на несущем элементе. Отсюда является предпочтительным при противоположном расположении электродов на несущем элементе располагать пластины параллельно несущему элементу.
Если, как это имеет место в уровне техники, все параметры PI имеют линейную связь, например, емкость представлена цилиндром, расстояние между электродами выбрано постоянным, поверхность электродов постоянна и материал электродов по всей длине выбран единым, то для определения количества протекающей жидкости необходимо знать как величину проводимости жидкости, так и абсолютную величину уровня заполнения.
Оказалось, что, по меньшей мере, одна параметрическая функция pi должна иметь экспоненциальную зависимость, чтобы стать независимым как от знания проводимости жидкости, так и от знания абсолютной величины уровня заполнения.
В общем виде зависимость, например, для четырех параметрических функций может быть представлена матрицей, причем термином “любая” может быть обозначена любая функциональная зависимость, причем, разумеется, исключена, в частности логарифмическая функция, которая при известных обстоятельствах могла бы взаимно уничтожить экспоненциальную зависимость другой параметрической функции.
Также более чем одна параметрическая функция pi могут иметь экспоненциальную или частично экспоненциальную зависимость. При этом следует обратить внимание, что для M(V(z)) в зависимости от V(z) и, следовательно, от z устанавливается экспоненциальная связь.
Преимущество экспоненциальной зависимости заключается в том, что при росте объема заполнения на определенную величину измеряемая величина Mti(V(z))~bM V(z) изменяется на одинаковый сомножитель с тем последствием, что при определении изменения соответствующая величина проводимости жидкости, а также оба уровня зеркала жидкости, между которыми имеет место изменение объема, не играют никакой роли.
Поэтому в соответствии с особым вариантом осуществления изобретения предусмотрено, что, по меньшей мере, для одной параметрической функции имеет место: pi(V(Z))~bpi V(z).
Величина основания bрi, должна выбираться таким образом, что незначительное изменение объема жидкости будет отражаться в существенном изменении измеряемой величины. Выбор величины основания bрi, зависит также от того, в какой единице измеряется z. Все данные относятся к z, измеренной в см, даже если это далее не будет упоминаться специально. Соответственно этому площади выражаются в см, а объемы в см3.
Предпочтительно внедрять bрi в диапазоне от 0pi 5, преимущественно, от 1pi 1,5 при bpi 1.
В соответствии с предпочтительным вариантом осуществления изобретения параметром PI является поверхность А, по меньшей мере, одного электрода. A(V(z)) является проводящей поверхностью электрода, смоченной жидкостью, которая изменяется при увеличивающемся или уменьшающемся объеме в соответствии с ее конструктивным исполнением. Для поверхности А действительно
A(V(z))= pi(V(z))~bAiV(z).
В этом случае остальные параметрические функции, как например, параметрическая функция, которая описывает форму емкости, могут иметь линейную зависимость. В этом отношении, например, емкость для жидкости может иметь форму цилиндра, куба или прямоугольного параллелепипеда.
В соответствии с другим вариантом осуществления изобретения параметром PI является форма емкости F, определяющая объем заполнения, для которой действительно: F(V(z))= pi(V(z))~bF V(z).
Функция F(V(z)) сокращается предпочтительным образом до функции поперечного сечения Q(z), причем 
К примеру, в емкости для жидкости с очень небольшой площадью поперечного сечения незначительные изменения объема приводят к существенному изменению в уровнях заполнения, так что bF может выбираться небольшим, например в области, меньшей 2,5.
В емкостях с большой площадью поперечного сечения соотношения обратные. Чтобы при сравниваемом изменении объема получить соответствующую точность, следует выбирать bF больше, например больше 2,5.
Если функция F(V(z)) представлена экспоненциальной зависимостью, то, например, поверхность электродов может иметь линейную зависимость от z, т.е. электроды, например, по всему своему прохождению в z-направлении могут иметь постоянную ширину.
В соответствии с другим вариантом осуществления изобретения параметр PI это расстояние D между электродами, причем для расстояния D имеет место: D(V(z))= pi(V(z))~bD -V(z).
В этом случае параметрические функции относительно формы емкости F(V(z)), определяющей объем заполнения и/или поверхности электрода A(V(z)) и/или других параметрических функций, могут иметь, например, линейную зависимость.
Экспоненциальную зависимость может также иметь и материал электродов, заключающуюся в том, что свойства материала, например, проводимость материала электрода изменяется от z по экспоненте.
Предпочтительным образом измерительный элемент имеет несущую пластину, причем оба электрода расположены на противолежащих сторонах несущей пластины. Электроды при изготовлении измерительного элемента уже устанавливаются по месту, благодаря чему упрощается установка измерительного элемента в емкости для жидкости. Юстировка обоих электродов для получения заранее заданной величины измерительной ячейки отпадает.
Предпочтительным образом измерительный элемент таким образом, расположен в емкости для жидкости, что широкий второй конец электрода находится вверху. За счет этого при увеличении объема заполнения реализуется возрастающая кривая измерений.
В соответствии с особым вариантом осуществления изобретения измерительный элемент может быть интегрирован в стенку емкости для жидкости. В этом случае предпочтительно располагать оба электрода на расстоянии в стенке емкости для жидкости, или устанавливать эти электроды друг против друга.
В соответствии с особым вариантом осуществления изобретения емкость для жидкости является приемной воронкой фильтровального устройства для воды. При подобных приемных воронках жидкость, как правило, заливается сверху. Сливное отверстие находится в донной части приемной воронки, где расположен также фильтровальный элемент, например, фильтровальный патрон. Определение количества протекающей жидкости согласно особому применению измерительного устройства может использоваться для определения момента, когда необходимо заменить фильтровальный патрон, и применяться в этом отношении в качестве измерительного устройства, учитывающего объемную нагрузку на фильтровальный патрон.
Устройство обработки результатов может быть присоединено к индикаторному устройству. Это индикаторное устройство при применении измерительного устройства в качестве устройства для измерения объемной нагрузки на фильтровальный патрон может представлять собой индикаторное устройство, которое будет указывать пользователю необходимость замены фильтровального патрона.
Предпочтительным образом источник напряжения, блок обработки результатов и, по меньшей мере, один измерительный блок объединены в один конструктивный блок. В соответствии с другим вариантом осуществления изобретения в конструктивный блок может быть интегрировано также индикаторное устройство. При внешнем источнике напряжения преимущественным образом в один конструктивный блок объединены блок обработки и, по меньшей мере, один измерительный элемент. Такие формы осуществления изобретения обеспечивают простое обращение и быструю замену устройства, так как устройство должно устанавливаться в виде блока в емкости, в которой будут проводиться измерения количества протекающей жидкости.
Измерительный элемент, предложенный в соответствии с изобретением, для определения измеряемой величины электрически проводящей жидкости, зависящей от уровня заполнения, предусматривает, по меньшей мере, один вытянутый в длину электрод, что поверхность электрода А при увеличивающемся расстоянии z от первого конца электрода ко второму концу электрода возрастает по экспоненте. В этом случае имеет место: A(V(z))~bAi V(z), причем при B(z) ширина электрода в зависимости от z. Отсюда следует, что и для B(z) имеет место экспоненциальная зависимость A(V(z))~A(z) B(z)~bA2 z. Для bA2 преимущественным образом задано 0A2 5 и bA2 1, причем предпочтительной областью для bA2 является область между 1 и 1,5 (1A2 1,5). Это действительно для случая, когда z измеряется в см. При других единицах для z основание bA2 должно выбираться соответственным образом.
Предпочтительно, когда электроды непрерывно расширяются. В соответствии с другим вариантом осуществления ширина электродов может изменяться ступенчато, причем завертывающий конец ступени имеет описываемую экспонентой связь. Такое исполнение приводит к соответствующим скачкам кривой измерения, которая может получаться на блоке обработки результатов, присоединенном к измерительному элементу, при определении абсолютных уровней заполнения.
Ширина B1 нa первом конце электрода составляет предпочтительно от 0,1 до 20 мм. Ширина В2 на втором конце электрода лежит преимущественно в диапазоне от 5 до 30 мм.
На первом конце электрода расположен перпендикулярно к оси электрода имеющий форму балки участок электрода. Такое имеющее форму балки расширение служит для того, чтобы получить в свое распоряжение определенную начальную измеряемую величину.
На одном из двух концов электрода предусмотрен контактный элемент. При этом контактный элемент предпочтительным образом устанавливается на верхнем конце электрода, который выступает из жидкости.
Электроды могут состоять из металла, металлического сплава, электрически проводящего синтетического материала или прочего электрически проводящего материала.
Чтобы облегчить обращение с электродами, по меньшей мере, один электрод расположен на несущем элементе.
Измерительный элемент может быть интегрирован в стенке емкости для жидкости. В этом случае стенка емкости для жидкости является несущим элементом.
Когда несущий элемент представляет собой отдельную деталь, для него предпочтительна форма пластины, на противолежащих сторонах которой может быть расположено соответственно по электроду. Электрическое поле между обоими электродами огибает несущий элемент.
Преимущественным образом оба электрода выполнены идентично.
Несущая пластина имеет предпочтительно поперечное сечение в виде двойного Т, что дает преимущество в устойчивости и, следовательно, препятствует повреждению электродов при механических нагрузках на измерительный элемент.
Несущая пластина имеет рядом с первым концом электрода две опоры, которые служат для того, чтобы обеспечить определенное расстояние до донной части емкости для жидкости. Благодаря этому образуется первичное электрическое поле, которое распространяется под измерительным элементом. При низких уровнях жидкости в емкости первичное поле все еще находится полностью внутри столба жидкости.
Предпочтительно, если и электроды и несущая пластина состоят из синтетического материала. При этом для электродов выбирается электрически проводящий синтетический материал, а для пластины – синтетический материал, который не проводит электрический ток. Измерительный элемент, таким образом, может быть изготовлен в виде двухкомпонентной литой детали, полученной способом литья под давлением.
Способ для определения общего количества электрически проводящей жидкости с проводимостью LF, протекающий через емкость при изменяющихся в вертикальном направлении (z-направление) уровнях заполнения, с помощью емкости и устройства измерения проводимости отличается следующими этапами осуществления способа:
– определение параметров, по меньшей мере, емкости и/или устройства для измерения проводимости так, чтобы она/они могла (могли) быть описана (описаны) с помощью, по меньшей мере, одной параметрической функции pi(V(z)), зависящей от V(z), при I=1 m,
– согласование, по меньшей мере, одной параметрической функции pi(V(z)) таким образом, что предоставленные устройством для измерения проводимости измеренные величины были действительны в виде: M(V(z))~LF·fM(V(z))~f( pi(V(z))~bM V(z),
– проведение измерений для определения основания bM,
– определение измеренных величин Мti(V(z)) во временных интервалах ti-ti-1 при i=1 n,
– образование показателей Mti+1/Мti и логарифмирование показателей для определения dVI и
– суммирование n-величин dVI для определения общего количества протекающей жидкости dV.
Измерение для определения основания bM для соответствующей системы, как правило, проводится один раз с заданным заранее количеством жидкости, а именно, прежде чем будет начато определение измеряемых величин. Величина основания bM, таким образом, определяется один раз, и потом с его помощью ведется расчет измеряемых величин. Величина bM используется при логарифмировании показателей при определении dVI.
Предпочтительным образом во время работы устройства, в которое встроено измерительное устройство, измеряемые величины Mti определяются во временных интервалах от 1 до 100 с. Какие временные промежутки являются целесообразными, определяются, среди прочего, частотой пользования и скоростью протекания жидкости в соответствующем устройстве. Если при данном устройстве речь идет о фильтровальном устройстве для воды, то это зависит в значительной мере от того, как много фильтрованной воды необходимо пользователю. В качестве предпочтительных интервалов предусмотрены интервалы от 1 до 20 с, в частности, от 2 до 10 с.
Показательные варианты осуществления изобретения ниже более подробно поясняются с помощью чертежей, где показывают:
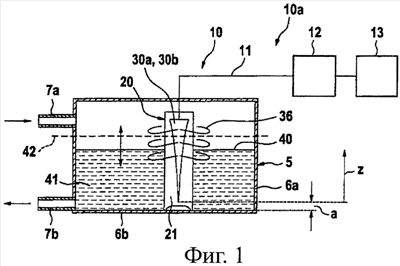
Фигура 1. Схематическое изображение измерительного устройства в соответствии с первым вариантом осуществления.
Фигура 2. Вид сверху измерительного элемента в соответствии с первым вариантом осуществления.
Фигура 3. Горизонтальный разрез по измерительному элементу, показанному на фигуре 2, по линии III-III.
Фигура 4. Вертикальный разрез по измерительному элементу, показанному на фигуре 2, по линии IV-IV.
Фигуры 5а, b. Вид сверху измерительного элемента в соответствии с другим вторым вариантом осуществления.
Фигура 6. Емкость для жидкости с интегрированным электродом.
Фигура 7. Схематическое изображение измерительного устройства в соответствии со вторым вариантом осуществления.
Фигура 8. Вертикальный разрез фильтровального устройства для воды с измерительным устройством.
Фигура 9. Схематическое изображение принципа измерения.
Фигура 10. Диаграмма, на которой измеряемая величина представлена в зависимости от объема для трех жидкостей с различной проводимостью.
Фигуры 11а, b. Два вида сбоку измерительного элемента в соответствии с другим вариантом осуществления.
Фигуры 12а-с. Два вида сбоку и вид сверху измерительного элемента в соответствии с другим вариантом осуществления.
Фигура 13. Вид сбоку измерительного элемента в соответствии с другим вариантом осуществления и
Фигура 14. Устройство для измерения проводимости в виде интегрального конструктивного блока.
На фигуре 1 схематично изображено измерительное устройство 10 в соответствии с первым вариантом осуществления. Измерительное устройство включает устройство 10а измерения проводимости, имеющее измерительный элемент 20, который расположен внутри емкости 5 для жидкости. Емкость 5 для жидкости имеет стенку 6а по периметру и донную часть 6b, причем в верхней зоне стенки 6а по периметру расположено приемное отверстие 7а для жидкости, а в нижней зоне расположено сливное отверстие 7b. Как поступающее, так и отводимое количество жидкости изменяется во времени, так что зеркало 40 жидкости в емкости 5 также постоянно изменяется (см. двойную стрелку). Для измерения количества жидкости, протекающей через емкость 5, предусмотрено измерительное устройство 10.
Измерительный элемент 20 измерительного устройства 10 имеет несущую пластину 21, на передней и задней сторонах которой расположены соответственно электроды 30а, 30b. При установке несущей пластины 21 с электродами 30а, 30b следует обращать внимание на то, что при полном заполнении емкости ни электроды полностью, ни электрическое подключение вообще не должны погружаться в жидкость. Максимально допустимое зеркало жидкости обозначено позицией 42. На фигуре 1 можно видеть только электрод 30а, установленный на передней стороне. Не изображенный электрод 30b, расположенный на задней стороне измерительного элемента, выполнен идентично. В данном случае речь идет при этом об электродах 30а, 30b, ширина которых увеличивается снизу вверх, причем ширина электродов от нижнего или первого конца электрода подчиняется экспоненциальной функции в зависимости от расстояния z. Функциональная связь между A(V(z)) и z первоначально задана с помощью A(V(z))~bA1 V(z), что находит свое отражение в экспоненциальном расширении электродов, а именно: A(V(z))~bA2 z или ширина B(z)~bA2 z. Ось – z изображена в правой части фигуры 1, причем нулевая точка оси – z лежит на нижнем конце 31 электродов 30а, 30b. Расстояние нижнего конца электродов 30а, 30b до донной части 6 обозначено через а. Объем жидкости в этой зоне при оценке учитывается с помощью фиксированной величины.
Оба электрода 30а, 30b соединены с помощью соединительного провода 11 с устройством 12 для обработки результатов, которое присоединено к индикаторному блоку 13. Все компоненты устройства для измерения проводимости целесообразным образом объединены в один конструктивный блок, эти компоненты расположены в одном корпусе, как это, например, изображено на фигуре 14. Таким образом, емкость может быть оборудована простым способом. Устройство 10а для измерения проводимости устанавливается в емкости, что облегчает монтаж.
С помощью измерительного устройства 10 осуществляются измерения проводимости жидкости 41, причем измерения и оценка могут проводиться непрерывно или дискретно. Электрические силовые линии между обоими электродами 30а и 30b обозначены позицией 36.
На фигуре в увеличенном виде представлен вид сверху измерительного элемента 20. Измерительный элемент 20 состоит из несущей пластины 21 и двух измерительных электродов 30а, b. Несущая пластина 21 сама состоит из центральной пластины 24 и расположенных по краям двух Т-образных полок 25а, b, как это можно видеть на фигуре 3. Благодаря этому несущая пластина в поперечном сечении имеет форму двойного Т. На нижнем конце центральная пластина 24 имеет выемку 23, причем Т-образные полки продолжаются вниз и образуют опоры 22а, b.
На обеих сторонах центральной пластины 24 расположены идентичные электроды 30а, b, которые симметрично расширяются к верхнему концу. Каждый электрод 30а, b имеет узкий первый конец 31 и широкий второй конец 32 электрода, причем первый конец 31 электрода расположен внизу и второй конец 32 электрода обозначает область максимально допустимого зеркала жидкости 42. При этом на фигуре 2 показано положение установки в емкости 5 для жидкости на фигуре 1.
Ширина В электрода 30а увеличивается непрерывно от первого конца 31 электрода ко второму концу 32 электрода при увеличении расстояния z. Zmax обозначает расстояние от нижнего первого конца 31 электрода до верхнего конца 32 электрода. Для ширины В действительно условие: B(z) пропорционально bA2 z.
На первом конце 31 электрода электрод 30а имеет расширение 35 в виде балки, перпендикулярное к его продольной оси. Это имеющее вид балки расширение 35 служит для того, чтобы определить значение начальной измеряемой величины. Это относится также к электроду 30b.
Ко второму концу 32 электрода присоединяется контактный элемент 33, на котором установлена контактная таблетка 34, например из силикона с графитом. Контактный элемент 33 соответствует размеру контактной таблетки 34 и выходит по бокам за электрод наружу. Контактная таблетка 34 служит в качестве присоединительного элемента для соединительного провода 11, который проходит к устройству 12 обработки результатов, как это изображено на фигуре 1.
На фигуре 3 показан разрез по линии III-III измерительного элемента 20, представленного на фигуре 2. Можно видеть, что по обеим сторонам центральной пластины 24 расположены электроды 30а, b.
На фигуре 4 показан вертикальный разрез по линии IV-IV измерительного элемента, представленного на фигуре 2. Несущая пластина 21 состоит из не проводящего синтетического материала, в то время как электроды 30а, b изготовлены из проводящего электрический ток синтетического материала. Это возможно благодаря тому, что измерительный элемент 20 изготовлен в виде двухкомпонентной литой детали, полученной способом литья под давлением.
На фигуре 5а представлен другой вариант осуществления измерительного элемента 20, который отличается от варианта осуществления согласно фигуре 2 тем, что электроды 30а, 30b (30b на задней стороне, поэтому его не видно) выполнены асимметричными и имеют прямые и экспоненциальные, т.е. изогнутые, ограничительные линии.
На фигуре 5b можно видеть другую модификацию, которая имеет ступенчатый электрод 30а. Завернутый конец 37 отдельной ступени 38 соответствует правой ограничительной линии электрода 30а на фигуре 5а и имеет равным образом вид экспоненциальной кривой.
На фигуре 6 представлен другой вариант осуществления измерительного устройства 10, который отличается от варианта осуществления на фигуре 1 тем, что электроды 30а, 30b расположены напротив друг друга в стенке 6а емкости 5 для жидкости и что приемное отверстие для жидкости 7а расположено не в окружающей стенке, а в крышке. Стенка периметра 6а в этом варианте осуществления берет на себя функцию несущей пластины 21 согласно прежде описанным вариантам осуществления. Максимально допустимое зеркало 42 жидкости выбрано таким образом, что контактный элемент 33 электрода с присоединениями не погружается в жидкость.
На фигуре 7 представлен другой вариант осуществления измерительного устройства 10. В то время как согласно варианту осуществления на фигуре 1 емкость 5 для жидкости, имеет прямоугольную форму, так что функция F(V(z)) подчиняется прямым, емкость 5 для жидкости согласно фигуре 7 сужается вверх. Боковая стенка 6а изогнута по экспоненте, так что функция F(z), которая описывает поперечное сечение емкости 5 для жидкости является экспоненциальной функцией. То есть имеет место F(V(z))~F(z)~bF -z. В этом случае измерительный элемент 20 с электродами 30а, 30b может быть выполнен так, что электроды в z-направлении имеют постоянную ширину.
На фигуре 8 в вертикальном разрезе представлено фильтровальное устройство 1 для воды, которое имеет кувшин 2 с ручкой 3 и крышку 4, а также находящуюся в кувшине 2 приемную воронку 5а. В сливном отверстии 7b приемной воронки 5а расположен фильтровальный патрон 50. Сырая вода 8 после снятия крышки 4 или через заливочное отверстие 7а в крышке 4 заливается в приемную воронку 5а и, проходя там через фильтровальный патрон 50, поступает в кувшин 2, в котором собирается отфильтрованная вода 9.
В приемной воронке 5а расположено устройство 10а для измерения проводимости, которое имеет измерительный элемент 20, соединенный с помощью электрического провода 11 с устройством 12 обработки результатов. Устройство 12 обработки результатов содержит блок обеспечения энергией. На устройстве 12 обработки результатов установлено индикаторное устройство 13, которое расположено в крышке 4 и которое видно снаружи. Устройство 10а для измерения проводимости может быть выполнено также в виде конструктивного блока, как это представлено на фигуре 14. Этот конструктивный блок может устанавливаться в крышке или в емкости.
Когда поступает сырая вода 8, происходит повышение зеркала 40 жидкости. Во время фильтрации зеркало 40 жидкости опускается.
По различным уровням заполнения можно сделать вывод об объеме жидкости, которая прошла через фильтровальный патрон 50. Этот объем является мерой для определения необходимости замены фильтровального патрона 50.
Изменения зеркала 40 жидкости регистрируются измерительным элементом 20. С помощью устройства 12 обработки результатов по измеренным величинам производится расчет соответствующих объемов с учетом размеров приемной воронки 5а. Если превышается величина объема, заданная для данного фильтровального патрона 50, то это доводится с помощью индикаторного устройства 13 до пользователя. При этом варианте осуществления измерительное устройство 10 используется в качестве устройства для измерения объемной нагрузки на фильтровальный патрон 50.
На фигуре 9 представлено принципиальное изображение расположения электродов 30а, b, dV обозначает изменение объема жидкости при изменении зеркала 40 жидкости. С помощью этого измерительного устройства 10 были проведены измерения для трех жидкостей с различной проводимостью. Результат представлен на диаграмме на фигуре 10.
Измеряемые величины Мti определяются в заданных временных интервалах t=ti-ti-1. Имеем:
M(V(z))=K(LF)· M(V(z))=K(LF)·bM V(z) и, таким образом, для двух следующих друг за другом измеряемых величин получим
M1(V)=K(LF)·bM V1; M2(LF)=K(LF)·BM V2
Для отношения обеих измеряемых величин действительно:

где
M1 – величина, измеренная при V1, т.е. в момент времени t1,
M2 – величина, измеренная при V2, т.е. в момент времени t2,
V1 – абсолютный объем перед изменением объема,
V2 = абсолютный объем после изменения объема,
dV=V1-V2 (разность объемов),
K – коэффициент пропорциональности, который, среди прочего, зависит от LF. Другими влияющими на коэффициент K величинами являются постоянная ячейки, постоянная объема, коэффициент пропорциональности измерительного усилителя,
bM – число основания экспоненциальной функции, определяется исходя из геометрии измерительной ячейки для проводимости и размеров емкости (изменение объема/изменение измеряемой величины).
Путем логарифмирования получается зависимость

Из формулы можно видеть, что коэффициент К сокращается. Основание bM должно определяться для соответствующей системы измерения с помощью однократного тарирования и входить в качестве постоянного числа основания в измерения.
Для примера, представленного на фигуре 10, для измеряемых величин получаются значения для M2=10 и M1=20 (основание bM=2,5937), что дает при следующих расчетах (данные объема в литрах, z в см)
A) низкая проводимость: K=1,8182; M1=20; V1=2,516; M2=10; V2=1,789; dV=0,727
B) средняя проводимость: K=3,6363; M1=20; V1=1,789; M2=10; V2=1,061; dV=0,727
C) высокая проводимость: K=7,7272; M1=20; V1=1,061; M2=10; V2=0,334; dV=0,727
Таким образом, независимо от K и проводимости LF жидкости измеряется всегда одно и то же изменение объема.
Для измерений разностного объема очень хорошо подходит экспоненциальный принцип измерения. Преимущество заключается в том, что такие показатели, как, например, абсолютная проводимость жидкости, не оказывают влияние на определение измеряемых величин и что необходимо только два измерения для разностного объема.
На фигурах 11а и 11b представлено два вида сбоку одного измерительного элемента 20 в соответствии с другим вариантом осуществления. Оба электрода 30а, 30b, которым придана форма полосок, имеющие постоянную ширину, расположены рядом друг с другом на несущей пластине 21. Между обоими электродами 30а, 30b расположено заграждение в форме пластины 26, которая состоит из не проводящего электрический ток материала и которая с возрастанием z уменьшает длину пути электрических силовых линий 36. С помощью заграждения достигается тот же эффект, что и при соответственно изменяющемся расстоянии между противолежащими электродами. Пластина 26 имеет уменьшающуюся снизу вверх ширину Ba(z) с таким последствием, что длина пути силовых линий 36 между обоими электродами 30а, 30b уменьшается снизу вверх.
Хотя оба электрода пространственно расположены рядом на несущей пластине 21, для длины пути электрических силовых линий с помощью пластины создается экспоненциально уменьшающееся снизу вверх расстояние D между обоими электродами 30а, 30b.
Функциональная связь между расстоянием Ва и V(z) задается
что в итоге ведет к изогнутому по экспоненте переднему краю27 пластины 26.
На фигурах 12а-с представлена модификация варианта осуществления, причем на фигуре 12b показан разрез по линии А-А на фигуре 12а. Оба электрода 30а, 30b расположены на противолежащих сторонах несущей пластины 21. Чтобы сократить длину пути для силовых линий 36 при увеличении z, по обеим сторонам электродов 30а, 30b расположены пластины 26а, b, с и d. Функциональная связь между существенным для силовых линий расстоянием между обоими электродами 30а, 30b аналогична функциональной связи, которая описывается в связи с фигурами 11a и 11b.
На фигуре 13 представлен другой вариант осуществления изобретения, при котором оба электрода 30а, b расположены на противолежащих сторонах несущей пластины 21. Обе пластины 26а, b, которые сокращают длину пути электрических силовых волн с увеличением z, расположены в конце несущего элемента 21 и могут быть составной частью несущей пластины 21.
На фигуре 14 показан вариант осуществления измерительного элемента согласно фигуре 11а с интегрированным устройством 12 обработки результатов и индикаторным устройством 13, которое также включает источник тока. Конструктивный блок устанавливается в емкость и там крепится.
Перечень позиций
1 Устройство для фильтрования воды
2 Кувшин
3 Ручка
4 Крышка
5 Емкость для жидкости
5 Приемная воронка
6 Стенка по периметру
6a Донная часть
7а Приемное отверстие
7b Сливное отверстие
8 Сырая вода
9 Фильтрованная вода
10 Измерительное устройство
10а Устройство для измерения проводимости
11 Электрический соединительный провод
12 Устройство обработки результатов
13 Индикаторное устройство
20 Измерительный элемент
21 Несущая пластина
22а,b Опора
23 Выемка
24 Центральная пластина
25а,b Т-полка
26 Пластина
26a,b,c,d Пластина
27 Передний край
30а,b Измерительный электрод
31 Первый конец электрода
32 Второй конец электрода
33 Контактный элемент
34 Контактная таблетка
35 Имеющее форму балки расширение
36 Электрические силовые линии
37 Завернутый конец
38 Ступень
40 Зеркало жидкости
41 Жидкость
42 Максимальное зеркало жидкости
Формула изобретения
1. Измерительное устройство (10) для определения количества dV(z) протекающей через емкость (5) электрически проводящей жидкости с проводимостью LF при изменяющихся в вертикальном направлении (z-направление) уровнях заполнения с емкостью (5), имеющей донную часть (6b) и приемное и сливное отверстия (7а, b), и с устройством (10а) для измерения проводимости, включающее следующие компоненты: источник напряжения, устройство (12) обработки результатов и, по меньшей мере, один измерительный элемент (20), который расположен в емкости (5) и присоединен к устройству (12) обработки результатов и который имеет, по меньшей мере, два проходящих в z-направлении электрода (30а, b), расположенные на расстоянии друг от друга перпендикулярно z-направлению, причем Zmax обозначает расстояние от нижнего первого конца (31) электрода (z=0) до верхнего второго конца электрода (32), отличающееся тем, что устройство (10а) для измерения проводимости во временном интервале ti-ti-1 при i=1 n предоставляет измеренные величины Mti(V)=M(V(z))~LF·fM(V(z)), что параметры, по меньшей мере, емкости (5) и/или устройства (10а) для измерения проводимости выбраны таким образом, что она/они может (могут) быть описана (описаны) с помощью, по меньшей мере, одной параметрической функции pi(V(z)) при i=1 m, зависящей от V(z), так что действительно: fM(V(z))~f( pi(V(z) при i=1 m))~bM v(z), причем bм число 0 и 1, и что устройство (12) обработки результатов выполнено, по меньшей мере, для образования показателей измеренных величин и для логарифмирования показателей.
2. Измерительное устройство по п.1, отличающееся тем, что параметр Pi представляет форму F емкости, которая определяет объем заполнения, и что для формы емкости действительно: F(V(z))= pi(V(z)~bF V(z).
3. Измерительное устройство по п.1, отличающееся тем, что измерительный элемент (20) интегрирован в стенке (6а) емкости (5) для жидкости.
4. Измерительное устройство по п.1, отличающееся тем, что емкость (5) для жидкости является приемной воронкой (5а) фильтровального устройства (1) для воды.
5. Устройство для измерения проводимости для определения количества dV(z) протекающей электрически проводящей жидкости при уровнях заполнения, изменяющихся в вертикальном направлении (z-направление) с источником напряжения, устройством (12) для обработки результатов и, по меньшей мере, одним измерительным элементом (20), подсоединенным к устройству (12) для обработки результатов, имеющим по меньшей мере два электрода (30а, b), проходящих в z-направлении, которые расположены на расстоянии друг от друга перпендикулярно z-направлению, причем Zmax соответствует расстоянию от нижнего первого конца (31) электрода (z=0) до верхнего второго конца (32) электрода, отличающееся тем, что устройство (10а) для измерения проводимости во временных интервалах ti-ti-1 при i=1 n предоставляет измеренные величины Mti(V)=M(V(z))~LF·fM(V(z)), что параметры устройства (10а) для измерения проводимости выбраны таким образом, что оно может быть описано с помощью, по меньшей мере, одной параметрической функции pi(V(z)) при i=1 m, зависящей от V(z), так что действительно: fM(V(z))~f( pi(V(z) при i=1 m))~bM V(z) причем bм число 0 и 1, и что устройство (12) обработки результатов выполнено, по меньшей мере, для образования показателей измеренных величин и для логарифмирования показателей.
6. Устройство по любому из пп.1-5, отличающееся тем, что по меньшей мере для одной параметрической функции действительно:
pi(V(z))~bpi V(z) преимущественно при 0рi 5 и bpi 1 и z в см.
7. Устройство по п.6, отличающееся тем, что, по меньшей мере, один параметр PI выбран таким образом, что рi(V(z))~bpi V(z) преимущественно при 1рi 1,5 и z в см.
8. Устройство по любому из пп.1,5, отличающееся тем, что параметр PI представляет поверхность А, по меньшей мере, одного электрода (30а, b) и что для поверхности А действительно: A(V(z))= pi(V(z))~bA1 V(z).
9. Устройство по любому из пп.1,5, отличающееся тем, что параметр PI представляет расстояние D между электродами (30а, b) и что для расстояния D действительно: D(V(z))= pi(V(z))~bD -V(z).
10. Устройство по любому из пп.1, 5, отличающееся тем, что измерительный элемент (20) имеет несущий элемент (21) и что оба электрода (30а, b) расположены на противолежащих сторонах несущего элемента (21).
11. Устройство по любому из пп.1, 5, отличающееся тем, что измерительный элемент(20) таким образом расположен в емкости (5) для жидкости, что широкий второй конец (32) электрода находится вверху.
12. Устройство по любому из пп.1,5, отличающееся тем, что устройство (12) обработки результатов присоединено к индикаторному устройству (13).
13. Устройство по любому из пп.1,5, отличающееся тем, что, по меньшей мере, источник напряжения, устройство (12) обработки результатов и, по меньшей мере, один измерительный элемент (20) интегрированы в один конструктивный блок.
14. Устройство по п.13, отличающееся тем, что в конструктивный блок интегрировано индикаторное устройство (13).
15. Устройство по любому из пп.1, 5, отличающееся тем, что между обоими электродами (30а, 30b) расположен, по меньшей мере, один элемент, выполненный с возможностью изменять длину пути электрических силовых линий (36), образующихся между обоими электродами (30а, 30b).
16. Устройство по п.15, отличающееся тем, что элемент имеет такую форму, что длина пути электрических силовых линий (36) экспоненциально уменьшается с увеличением величины z.
17. Устройство по п 16, отличающееся тем, что элемент является пластиной (26, 26a-d), чей свободный передний край (27) имеет изогнутую форму.
18. Устройство по п.15, отличающееся тем, что оба электрода (30а, 30b) расположены на несущем элементе (21) рядом друг с другом, а пластина (26, 26a-d) расположена между обоими электродами (30а, b).
19. Устройство по п.15, отличающееся тем, что оба электрода (30а, b) расположены на противолежащих сторонах на несущем элементе (21), при этом рядом с каждым электродом (30а, b) расположена соответственно пластина (26, 26a-d).
20. Устройство по п.18 или 19, отличающееся тем, что пластина (26, 26a-d) расположена перпендикулярно к несущему элементу (21).
21. Применение устройства (10) по любому из пп.1-5 в качестве устройства для измерения объемной нагрузки на фильтровальный патрон (50).
22. Применение по п.21, отличающееся тем, что измерительное устройство (10) имеет индикаторное устройство (13), выполненное с возможностью показывать момент необходимости замены фильтровального патрона (50).
23. Измерительный элемент для определения измерительной величины электрически проводящей жидкости, зависящей от уровня заполнения, с, по меньшей мере, одним проходящим вдоль электродом (30а, b), отличающийся тем, что поверхность А электрода (30а, b) экспоненциально увеличивается с увеличением расстояния z от первого конца (31) электрода до второго конца (32) электрода.
24. Измерительный элемент по п.23, отличающийся тем, что для поверхности А электрода (30а, b) действительно: А(V(z))~bA2 z при 0A2 5 и bA2 1 и z в см.
25. Измерительный элемент по п.23 или 24, отличающийся тем, что для поверхности А электрода (30а, b) действительно: А(V(z))~bA2 z при 1A2 z 1,5 и z в см.
26. Измерительный элемент по п.23, отличающийся тем, что ширина В электрода (30а, b) изменяется ступенями (38).
27. Измерительный элемент по п.23, отличающийся тем, что ширина В1 первого конца (31) электрода составляет от 0,1 до 20 мм.
28. Измерительный элемент по п 23, отличающийся тем, что ширина В2 второго конца (32) электрода составляет от 5 до 30 мм.
29. Измерительный элемент по п.23, отличающийся тем, что на первом конце (31) электрода предусмотрено имеющее форму балки расширение (35), проходящее перпендикулярно оси электрода.
30. Измерительный элемент по п.23, отличающийся тем, что к одному концу (31, 32) электрода присоединен контактный элемент (33).
31. Измерительный элемент по п.23, отличающийся тем, что электроды (30а, b) состоят из металла, металлического сплава, электрически проводящего синтетического материала или другого проводящего материала.
32. Измерительный элемент по п.23, отличающийся тем, что, по меньшей мере, один электрод (30а, b) расположен на несущем элементе (21).
33. Измерительный элемент по п.32, отличающийся тем, что несущий элемент является стенкой (6а) емкости (5) для жидкости.
34. Измерительный элемент по п.32, отличающийся тем, что несущий элемент является несущей пластиной (21), на обеих противолежащих сторонах которой соответственно расположен электрод (30а, b).
35. Измерительный элемент по любому из пп.32-34, отличающийся тем, что оба электрода (30а, b) идентичны.
36. Измерительный элемент по п.34, отличающийся тем, что несущая пластина (21) имеет поперечное сечение в форме двойного Т.
37. Измерительный элемент по п.36, отличающийся тем, что несущая пластина (21) рядом с первым концом (31) электрода имеет две опоры (22а, b).
38. Измерительный элемент по п.23, отличающийся тем, что электроды (30а, b) состоят из электрически проводящего синтетического материала и несущая пластина (21) состоит из непроводящего синтетического материала.
39. Измерительный элемент по п.23, отличающийся тем, он представлен двухкомпонентной литой деталью, полученной способом литья под давлением.
40. Способ определения общего количества dV электрически проводящей жидкости с проводимостью LF, протекающей через емкость при изменяющихся в вертикальном направлении (z-направление) уровнях заполнения с помощью емкости и устройства для измерения проводимости отличается наличием следующих этапов: определение параметров, по меньшей мере, емкости и/или устройства для измерения проводимости, что она/они может (могут) быть описана (описаны) с помощью, по меньшей мере, одной параметрической функции pi(V(z)) при i=1 m, зависящей от V(z), согласование, по меньшей мере, одной параметрической функции рi (V(z)) таким образом, что предоставленные устройством для измерения проводимости измеренные величины действительны в виде M(V(z))~LF·fM(V(z))~f( pi,(V(z))~bм V(z) проведение измерений для определения основания bм, определение измерительных величин Mti(V(z)) во временных интервалах ti-ti-1 при i=1 n. образование показателей Mti+1/Mti и логарифмирование показателей для определения dVI. суммирование n-величин dVI для определения общего количества жидкости dV.
41. Способ по п.40, отличающийся тем, что измеренные величины Мti определяют во временном интервале от 1 до 100 с.
42. Способ по п.40 или 41, отличающийся тем, что измеренные величины Мti определяют во временных интервалах от 1 до 20 с, преимущественно от 2 до 10 с.
РИСУНКИ
|