|
|
(21), (22) Заявка: 2008150058/28, 17.12.2008
(24) Дата начала отсчета срока действия патента:
17.12.2008
(46) Опубликовано: 10.02.2010
(56) Список документов, цитированных в отчете о поиске:
RU 18445 U1, 20.06.2001. RU 27214 U1, 10.01.2003. RU 59086 U1, 10.12.2006. Счетчики горячей воды (СГВ) производства ООО ПКФ «БЕТАР» при ОАО ЧЧЗ «ВОСТОК». г.Чистополь (паспорт ПДЕК.407223.002 ПС). US 5493917 А, 27.02.1996. RU 2164046 C2, 10.03.2001. EP 1965175 A2, 03.09.2008.
Адрес для переписки:
423810, Республика Татарстан, г. Набережные Челны, пр. Мира, 68/19, ГОУ ВПО Камская государственная инженерно-экономическая академия, ОНТИ
|
(72) Автор(ы):
Ахметшин Роберт Султанович (RU), Фатыхов Камиль Закирович (RU)
(73) Патентообладатель(и):
Государственное образовательное учреждение высшего профессионального образования “Камская государственная инженерно-экономическая академия” (RU)
|
(54) КВАРТИРНЫЙ ТЕПЛОСЧЕТЧИК
(57) Реферат:
Изобретение относится к области измерительной техники, в частности к квартирным счетчикам горячей воды. На валу квартирного теплосчетчика или его торце размещается насадка из термостекла, имеющая низкий коэффициент объемного (линейного) расширения от температуры, и размещают ее внутри неподвижного кольца, закрепленного к корпусу счетчика, которое изготавливают из медного (платинового) сплава, обладающего значительным коэффициентом объемного (линейного) расширения от температуры. При снижении температуры горячей воды ниже допустимого нормой кольцо сужается и тормозит вращение вала за счет трения с насадкой. Тем самым показания счетчика корректируются в соответствии с температурой горячей воды. При снижении температуры за пределы рабочей температурной зоны кольцо сужается, чем пропорционально замедляет движение вала за счет трения с насадкой. Технический результат – приведение показателей счетчика к температуре горячей воды. 2 ил.
Изобретение относится к области измерительной техники, в частности к квартирным счетчикам горячей воды.
Известен квартирный счетчик горячий воды [1]. Недостаток его заключается в том, что не корректируются показания счетчика при понижении температуры горячей воды ниже нормы.
Изобретение направлено на приведение показателей счетчика к температуре горячей воды.
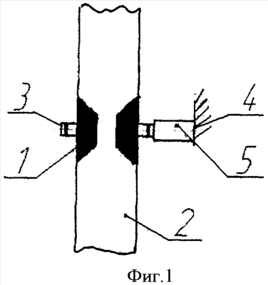
На фиг.1 и 2 показаны: 1 – насадка, 2 – вал из термостекла, 3 – неподвижное кольцо, 4 – закрепитель к корпусу, 5 – монтажная вставка из термостекла.
Цель достигается тем, что на валу 2 счетчика или его торце размещается насадка из термостекла 1, имеющая низкий коэффициент объемного (линейного) расширения от температуры, и размещают ее внутри неподвижного кольца 3, закрепленного к корпусу счетчика 4, которое изготавливают из медного (платинового) сплава, обладающего значительным коэффициентом объемного (линейного) расширения от температуры.
Счетчик работает следующим образом: при снижении температуры горячей воды ниже допустимого нормой кольцо 3 сужается и тормозит вращение вала 2 за счет трения с насадкой 1. Тем самым показания счетчика корректируются в соответствии с температурой горячей воды.
При снижении температуры за пределы рабочей температурной зоны кольцо сужается, чем пропорционально замедляет движение вала за счет трения с насадкой.
Источники информации
1. Квартирный счетчик горячей воды марки СКВ-15 на температуру до 90°С и производительностью 1,5 м/час Чистопольского завода.
Формула изобретения
Квартирный счетчик горячей воды, имеющий движитель от протока горячей воды, вал с диском и с цифрами показаний объема протока горячей воды, отличающийся тем, что на валу счетчика или на его торце дополнительно размещается насадка из термостекла, имеющего незначительный коэффициент объемного (линейного) расширения от температуры, причем насадка располагается внутри неподвижного кольца медного (платинового) сплава, имеющего значительный коэффициент объема (линейного) расширения от температуры.
РИСУНКИ
|
|