|
|
(21), (22) Заявка: 2008123090/11, 10.06.2008
(24) Дата начала отсчета срока действия патента:
10.06.2008
(46) Опубликовано: 10.02.2010
(56) Список документов, цитированных в отчете о поиске:
RU 2005140066 А, 10.07.2007. RU 2204792 С1, 20.05.2003. US 4865328 А, 12.09.1989. GB 119239 А, 15.07.1970.
Адрес для переписки:
141070, Московская обл., г. Королев, ул. Пионерская, 4, Федеральное государственное унитарное предприятие “Центральный научно-исследовательский институт машиностроения” (ФГУП ЦНИИмаш), патентно-лицензионный отдел
|
(72) Автор(ы):
Белкин Игорь Александрович (RU), Мулюшкин Игорь Петрович (RU), Пирогова Анна Михайловна (RU)
(73) Патентообладатель(и):
Федеральное государственное унитарное предприятие “Центральный научно-исследовательский институт машиностроения” (ФГУП ЦНИИмаш) (RU)
|
(54) УСТРОЙСТВО ДЛЯ РАЗВЕРТЫВАНИЯ В КОСМИЧЕСКОМ ПРОСТРАНСТВЕ ТЕПЛОВОЙ МИШЕНИ
(57) Реферат:
Изобретение предназначено для установки на наружной поверхности космического аппарата с последующим выведением в космическое пространство надувных тонкопленочных оболочек, служащих для проведения измерений. Устройство содержит кассету с самораскрывающимися створками, тонкопленочные оболочки в сложенном состоянии, газогенераторы, пусковое устройство с пружинным механизмом выталкивания кассеты, подвижный стакан, направляющую втулку, электроразъем со свободной петлей электрокабеля и пирочеку. В кассете между оболочками установлены две перегородки, между которыми по оси симметрии кассеты на ее основании предусмотрено отверстие под направляющую втулку подвижного стакана. Рядом с этим отверстием сделано отверстие под электровилку со свободной петлей электрокабеля. На внутренней поверхности направляющая втулка подвижного стакана имеет шлицы. Подвижный стакан на верхнем торце имеет конические гнезда под размещаемые на нижней поверхности кассеты штифты. На основании пускового устройства по оси симметрии кассеты установлена трубчатая направляющая со шлицами на наружной поверхности на участке движения направляющей втулки. Внутри трубчатой направляющей размещен шток с выталкивающей пружинкой. Шток снизу зафиксирован пирочекой, а вверху имеет гайку, удерживающую створки кассеты в закрытом положении до момента срабатывания пирочеки. Достигается повышение надежности работы и уменьшение габаритов конструкции. 1 ил.
Изобретение предназначено для установки на наружной поверхности космического аппарата с последующим выведением в космическое пространство надувных тонкопленочных оболочек, служащих после их заполнения газом (азотом) мишенью для проведения измерений в ИК-диапазоне. Известно аналогичное по назначению устройство по заявке на изобретение 2005140066/11 (044659) от 22.12.2005 г., которое может быть принято в качестве прототипа. Это устройство содержит кассету с двумя самораскрывающимися створками, находящиеся в кассете две тонкопленочные оболочки в сложенном состоянии, пусковое устройство с двумя направляющими и пружинными механизмами выталкивания кассеты из пускового устройства, пирочеку и электроразъем.
Как показали испытания макетного образца указанного устройства, при наличии двух далеко отстоящих друг от друга направляющих может возникнуть торможение или даже заклинивание кассеты в процессе ее движения по направляющим из-за возможного перекоса в направляющих элементах. Кроме того, размещение направляющих за пределами кассеты приводит, в данном случае, к увеличению габаритов устройства.
Целью предлагаемого устройства является устранение указанных недостатков прототипа, что достигается за счет применения одного (вместо двух, как у прототипа) механизма выталкивания с одной направляющей, размещаемой по оси симметрии кассеты.
Сущность предлагаемого изобретения поясняется чертежом.
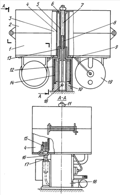
На чертеже изображен общий вид устройства, где обозначено: 1 – кассета, 2 – самораскрывающиеся створки, 3 – тонкопленочные оболочки в сложенном состоянии, 4 – две перегородки между оболочками, 5 – трубчатая направляющая со шлицами на наружной поверхности, 6 – гайка, 7 – шток, 8 – пружинка, выталкивающая шток, 9 – конические гнезда на верхнем торце подвижного стакана (12) под конические штифты на днище кассеты, исключающие относительное поперечное смещение стакана и кассеты, 10 – основание пускового устройства, 11 – гайка, удерживающая створки (2) в закрытом положении, 12 – подвижный стакан механизма выталкивания, 13 – направляющая втулка стакана (12) со шлицами на внутренней поверхности, 14 – пружина выталкивания кассеты, 15 – свободная петля электрокабеля, 16 – электровилка, 17 – электророзетка, 18 – пирочека, 19 – газогенератор для наддува тонкопленочной оболочки после отделения кассеты от носителя.
Работает устройство следующим образом.
Перед установкой кассеты в пусковое устройство вставляется пирочека (18), фиксирующая подвижный стакан (12) с пружиной (14) и шток (7) с пружинкой (8) в исходном положении. Кассету устанавливают на подвижный стакан (12) таким образом, чтобы конические штифты кассеты попали в конические гнезда (9) стакана (12) и электровилка (16) состыковалась с электророзеткой (17). Затем наворачивают на трубчатую направляющую гайку (6), закрывают створки (2) и сверху прижимают самоконтрящейся гайкой (11), для чего на кромках створок предусмотрены соответствующие вырезы под резьбовую часть штока (7).
Для отделения кассеты (1) от носителя подается электроимпульс на пирочеку (18), и после ее выдергивания освобождаются стакан (12) и шток (7), которые под действием своих пружин (14) и (8) начинают движение. При этом характеристики пружин подобраны таким образом, чтобы скорость движения штока (7) была больше скорости движения стакана (12) и чтобы в конце хода штока (7) гайка (11) была приподнята над створками (2) на величину, позволяющую створкам раскрыться. Движение кассеты под действием пружины (14) происходит до момента упора втулки (13) в гайку (6). Дальнейшее движение кассеты происходит по инерции с раскрытыми створками (2). По мере движения кассеты в результате натяжения свободной петли электрокабеля (16) происходит расстыковка электроразъема. За это время воспламеняется пирозамедлитель газогенератора (19), после окончания работы которого воспламеняется основной заряд газогенератора и начинается наддув оболочек (9).
Сравнительный анализ предлагаемого устройства и прототипа показал, что благодаря применению одной оригинальной направляющей, размещаемой по оси симметрии кассеты, практически исключается опасность возникновения торможения кассеты при движении ее в пусковом устройстве, и, кроме того, предлагаемое устройство имеет меньшие габариты.
Формула изобретения
Устройство для развертывании в космическом пространстве тепловой мишени, содержащее кассету с самораскрывающимися створками, тонкопленочные оболочки в сложенном состоянии, газогенераторы, пусковое устройство с пружинным механизмом выталкивания кассеты с подвижным стаканом с направляющей втулкой, электроразъем со свободной петлей электрокабеля и пирочеку, отличающееся тем, что в кассете между оболочками установлены две перегородки, между которыми по оси симметрии кассеты на ее основании предусмотрено отверстие под направляющую втулку подвижного стакана, рядом с этим отверстием сделано отверстие под электровилку со свободной петлей электрокабеля, на внутренней поверхности направляющая втулка подвижного стакана имеет шлицы, подвижный стакан на верхнем торце имеет конические гнезда под размещаемые на нижней поверхности кассеты штифты, на основании пускового устройства по оси симметрии кассеты установлена трубчатая направляющая со шлицами на наружной поверхности на участке движения направляющей втулки, внутри трубчатой направляющей размещен шток с выталкивающей пружинкой, шток снизу зафиксирован пирочекой, а вверху имеет гайку, удерживающую створки кассеты в закрытом положении до момента срабатывания пирочеки.
РИСУНКИ
|
|