|
|
(21), (22) Заявка: 2008147522/06, 01.12.2008
(24) Дата начала отсчета срока действия патента:
01.12.2008
(46) Опубликовано: 10.02.2010
(56) Список документов, цитированных в отчете о поиске:
RU 2031339 C1, 20.03.1995. SU 1086326 A1, 15.04.1984. SU 1239487 A1, 23.06.1986. RU 2172454 C2, 20.08.2001. WO 2005121673 A1, 22.12.2005.
Адрес для переписки:
660049, г.Красноярск, пр. Мира, 90, ФГОУ ВПО Крас ГАУ, патентоведу Т.А. Лобановой
|
(72) Автор(ы):
Невзоров Виктор Николаевич (RU), Чирухин Александр Александрович (RU), Чирухина Нина Михайловна (RU)
(73) Патентообладатель(и):
Федеральное государственное образовательное учреждение высшего профессионального образования Красноярский государственный аграрный университет (RU)
|
(54) АВТОНОМНОЕ УСТРОЙСТВО ДЛЯ СУШКИ ВЫСОКОВЛАЖНОГО РАСТИТЕЛЬНОГО СЫРЬЯ
(57) Реферат:
Изобретение относится к оборудованию для сушки растительного сырья и может применяться в сельскохозяйственном производстве. Устройство содержит топку 1, паровой котел 3, расположенный сверху топки. Паропровод 6, отходящий от верхней части парового котла 3, снабжен клапаном плавной регулировки расхода пара. Паровая турбина 8, центробежный вентилятор 13 и генератор электрической энергии 14 расположены последовательно на одном валу 11. Паровая турбина 8 соединена паропроводом 6 с паровым котлом 3, а центробежный вентилятор 13 соединен воздуховодами с сушильной камерой 16 и топкой 1. На дымовой трубе 21 установлен перепускной клапан 20, проходя через который дымовая труба 21 разветвлена на две трубы 18 и 19, расположенные горизонтально одна над другой в сушильной камере 16. Между трубами 18 и 19 параллельно им установлен сетчатый лоток 17. Генератор электрической энергии 14 снабжен блоком управления 24. Технический результат – повышение качества сушки. 3 з.п. ф-лы, 1 ил.
Изобретение относится к оборудованию для сушки растительного сырья и может применяться в сельскохозяйственном производстве.
Известна установка для сушки высоковлажных термочувствительных материалов, содержащая сушильную камеру, лотки для размещения продукта, устройство подвода и отвода сушильного агента, калориферы и вентиляторы (пат. RU 2031339, МПК F26В 20/01).
Недостатком известной установки является невозможность автономной работы.
Задача изобретения – повышение качества сушки за счет создания автономного устройства для сушки высоковлажного растительного сырья, реализуемого в негерметичной сушильной камере посредством активного вентилирования с собственным энергетическим блоком.
Технический результат достигается тем, что автономное устройство для сушки высоковлажного растительного сырья содержит сушильную камеру, лоток для размещения продукта, трубопроводы для подвода и отвода сушильного агента и вентилятор, притом паровая турбина, центробежный вентилятор и генератор расположены последовательно на одном валу, паровая турбина соединена паропроводом с паровым котлом, а центробежный вентилятор соединен воздуховодами с сушильной камерой и топкой, при этом на дымовой трубе установлен перепускной клапан, проходя через который дымовая труба разветвлена на две трубы, расположенные горизонтально одна над другой в сушильной камере, между которыми параллельно им установлен сетчатый лоток, а генератор снабжен блоком управления. Электронный блок управления снабжен датчиками расхода воздуха и датчиком температуры. Воздуховод, отходящий в сторону топки, снабжен клапаном плавной регулировки расхода воздуха. Паропровод, отходящий от верхней части парового котла, снабжен клапаном плавной регулировки расхода пара.
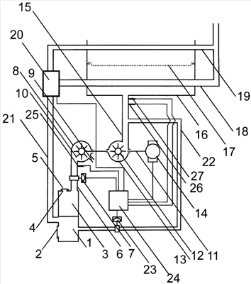
На чертеже изображена схема устройства, общий вид.
Устройство содержит топку 1 с дверцей для загрузки топлива 2, паровой котел 3, расположенный сверху топки 1. Котел 3 в верхней части имеет отверстие 4 для заливки воды с герметично закрывающейся крышкой 5. Паропровод 6, отходящий от верхней части котла 3, снабжен клапаном плавной регулировки расхода пара 7. Паропроводом 6 соединены паровой котел 3, паровая турбина 8, имеющая отверстие 9 для выпуска отработанного пара, и рабочее колесо 10 паровой турбины 8, которое закреплено на одном валу 11 с рабочим колесом 12 центробежного вентилятора 13 и генератора электрической энергии 14. Следовательно, паровая турбина 8, центробежный вентилятор 13 и генератор 14 расположены последовательно на одном валу 11. Центробежный вентилятор 13 соединен воздуховодом 15 с сушильной камерой 16 и через воздуховод 22 с топкой 1. Паровая турбина 8 соединена паропроводом 6 с паровым котлом 3. На дымовой трубе 21 топки 1 установлен перепускной клапан 20, проходя через который дымовая труба разветвляется на 2 трубы 18 и 19, расположенные горизонтально одна над другой в сушильной камере 16. Между дымовыми трубами 18 и 19 расположен параллельно им сетчатый лоток 17 для размещения высоковлажного растительного сырья. Воздуховод 22, отходящий в сторону топки 1, снабжен клапаном плавной регулировки расхода воздуха 23.
Устройство также снабжено электронным блоком управления 24, имеющим датчики расхода воздуха 25 и 26 и датчик температуры 27.
Устройство работает следующим образом.
В топке 1 разжигаются дрова. Паровой котел 3 заполняется водой. Когда вода в котле 3 нагревается, часть ее в виде пара поступает по паропроводу 6, через клапан плавной регулировки расхода 7, в паровую турбину 8, где передает свою кинетическую энергию рабочему колесу 10 паровой турбины 8 и выходит в окружающую среду через отверстие для выпуска отработанного пара 9. Вращаясь, рабочее колесо 10 через вал 11 передает крутящий момент на рабочее колесо 12 центробежного вентилятора 13 и генератор электрической энергии 14. Центробежный вентилятор 13 через воздуховод 15 подает воздух в сушильную камеру 16, где воздух, соприкасаясь с дымовой трубой 18, нагревается и проходит сквозь сетчатый лоток для размещения продукта 17, нагревая продукт и унося с собой выделяющуюся влагу. Кроме того, дымовая труба 19, проходя над лотком с продуктом 17, нагревает его посредством инфракрасного излучения. От центробежного вентилятора 13 отходит воздуховод 22, проходит через клапан плавной регулировки расхода 20 и приходит к топке 1. Электронный блок управления 24 питается от генератора 14 и, получая данные о расходе воздуха от датчиков расхода воздуха 25 и 26 и температуре от датчика температуры 27, вырабатывает управляющие сигналы, поступающие на клапаны 7, 20, 23. Клапан 7 регулирует подачу пара на турбину 8 и, соответственно, скорость ее вращения. Клапан 20 регулирует распределение дыма между дымовыми трубами 18 и 19, следовательно, температуру воздуха, подающегося в сушильную камеру 16. Клапан 23 регулирует подачу воздуха в топку 1, что позволяет поддерживать в топке 1 режим горения топлива.
Конструкция устройства позволяет организовать эффективный подвод и отвод сушильного агента, равномерный прогрев высушиваемого материала, а также реализовать автономный режим работы.
Устройство служит для сушки высоковлажных материалов и может быть использовано в сельскохозяйственном производстве и других отраслях промышленности. Автономность работы устройства позволяет использовать данное устройство непосредственно на месте сбора сырья, значительно снижая расходы на транспортировку сырья.
Формула изобретения
1. Автономное устройство для сушки высоковлажного растительного сырья, содержащее сушильную камеру, лоток для размещения продукта, трубопроводы для подвода и отвода сушильного агента и вентилятор, отличающееся тем, что паровая турбина, центробежный вентилятор и генератор расположены последовательно на одном валу, паровая турбина соединена паропроводом с паровым котлом, а центробежный вентилятор соединен воздуховодами с сушильной камерой и топкой, при этом на дымовой трубе установлен перепускной клапан, проходя через который дымовая труба разветвлена на две трубы, расположенные горизонтально одна над другой в сушильной камере, между которыми параллельно им установлен сетчатый лоток, а генератор снабжен блоком управления.
2. Автономное устройство по п.1, отличающееся тем, что электронный блок управления снабжен датчиками расхода воздуха и датчиком температуры.
3. Автономное устройство по п.1, отличающееся тем, что воздуховод, отходящий в сторону топки, снабжен клапаном плавной регулировки расхода воздуха.
4. Автономное устройство по п.1, отличающееся тем, что паропровод, отходящий от верхней части парового котла, снабжен клапаном плавной регулировки расхода пара.
РИСУНКИ
|
|