Патент на изобретение №2381423

Published by on




РОССИЙСКАЯ ФЕДЕРАЦИЯ



ФЕДЕРАЛЬНАЯ СЛУЖБА
ПО ИНТЕЛЛЕКТУАЛЬНОЙ СОБСТВЕННОСТИ,
ПАТЕНТАМ И ТОВАРНЫМ ЗНАКАМ
(19) RU (11) 2381423 (13) C2
(51) МПК

F24H1/18 (2006.01)

(12) ОПИСАНИЕ ИЗОБРЕТЕНИЯ К ПАТЕНТУ

Статус: по данным на 17.09.2010 – действует

(21), (22) Заявка: 2008102501/06, 03.08.2006

(24) Дата начала отсчета срока действия патента:

03.08.2006

(30) Конвенционный приоритет:

04.08.2005 DE 102005036861.1

(43) Дата публикации заявки: 10.09.2009

(46) Опубликовано: 10.02.2010

(56) Список документов, цитированных в отчете о
поиске:
ЕР 1520783 А1, 06.04.2005. WO 2004085927 A, 07.10.2004. ЕР 0336751 A2, 10.10.1989. FR 2679631 А1, 29.01.1993. KR 100321583 В1, 09.01.2002. RU 2115876 С1, 20.07.1996.

(85) Дата перевода заявки PCT на национальную фазу:

04.03.2008

(86) Заявка PCT:

EP 2006/007701 20060803

(87) Публикация PCT:

WO 2007/017185 20070215

Адрес для переписки:

191186, Санкт-Петербург, а/я 230, “АРС-ПАТЕНТ”, пат.пов. М.В.Хмаре, рег. 771

(72) Автор(ы):

ВИТШКЕ Маттиас (DE),
ЭБИГТ Вольфганг (DE),
МУНДТ Марко (DE),
ДЕТЬЕН Петер (DE)

(73) Патентообладатель(и):

ЭЙРБАС ДОЙЧЛАНД ГМБХ (DE)

(54) УСТРОЙСТВО ДЛЯ ОБЕСПЕЧЕНИЯ ОХЛАЖДЕННОЙ ИЛИ ПОДОГРЕТОЙ ЖИДКОСТИ НА БОРТУ ВОЗДУШНОГО СУДНА

(57) Реферат:

Изобретение предназначено для охлаждения или подогрева жидкости и может быть использовано на борту воздушного судна. Устройство для охлаждения или подогрева жидкости на борту воздушного судна содержит резервуар, снабженный первым и вторым циркуляционными соединениями. Первое циркуляционное соединение сообщается со вторым циркуляционным соединением через циркуляционный трубопровод. Резервуар выполнен с возможностью приема жидкости, подлежащей охлаждению или подогреву, и термически связан с трубопроводом, через который протекает охлаждающая или теплопередающая среда, проходящим, по существу, по спирали вокруг резервуара. Верхняя часть резервуара содержит жидкость с более низкой температурой, чем температура жидкости в нижней части резервуара, жидкость циркулирует в резервуаре от верхней части резервуара к первому циркуляционному соединению и через циркуляционный трубопровод в направлении второго циркуляционного соединения. Изобретение обеспечивает компактность устройства. 2 н. и 7 з.п. ф-лы, 1 ил.

Область техники, к которой относится изобретение

Изобретение относится к устройству для водоснабжения воздушного судна, предназначенному для обеспечения охлаждающей или подогретой жидкости на борту воздушного судна, которое содержит резервуар для приема жидкости, подлежащей охлаждению или подогреву.

Уровень техники

Для обеспечения всех пассажиров, находящихся на борту воздушного судна, охлажденной питьевой водой в зоне пассажирского салона воздушного судна обычно предусматривается несколько устройств питьевого водоснабжения. Каждое из этих устройств содержит резервуар, соединенный с централизованной системой питьевого водоснабжения и предназначенный для промежуточного хранения поступающей питьевой воды от системы питьевого водоснабжения. С целью охлаждения питьевой воды, промежуточно хранящейся в резервуаре, до желаемой температуры раздачи применяется холодильная машина. Питьевую воду в резервуаре можно охладить до желаемой температуры раздачи посредством технологии холодного пара, например, с помощью компрессора или посредством элементов Пельтье (термоэлектрических элементов). Образующаяся при этом теплота отводится в воздух окружающей среды обычно посредством откачивающей системы с тем, чтобы обеспечить достаточный воздухообмен в зоне холодильной машины и резервуара и не допустить перегрева холодильной машины, а также дополнительных компонентов, которые расположены в области холодильной машины. Когда питьевая вода, которая промежуточно хранится в резервуаре, достигнет требуемой температуры, она может выводиться через пункт раздачи, который обычно расположен в непосредственной близости к резервуару.

Известные устройства питьевого водоснабжения имеют недостаток, который заключается в том, что холодильная машина, а также откачивающая система для отведения отходящего тепла, создаваемого холодильной машиной, имеют относительно большой вес и установочный объем. Кроме того, их установка и особенно встраивание в установочное пространство, которое на борту воздушного судна ограничено, может быть очень затруднительным и требовать высоких конструктивных расходов. И наконец, пространственное отделение пункта раздачи от резервуара, содержащего охлажденную питьевую воду, невозможно, так как вода, которая содержится в трубопроводе, предназначенном для соединения пункта раздачи с резервуаром, будет нагреваться из-за высокой температуры окружающей среды. Тогда, по меньшей мере, в начале раздачи вода не будет иметь желаемую температуру охлаждения.

DE 3334103 А1 раскрывает устройство горячего водоснабжения, содержащее водонагреватель, который соединен с трубопроводом холодного водоснабжения. Водонагреватель соединяется с пунктами раздачи через подающий трубопровод. От пунктов раздачи самотечный циркуляционный трубопровод выходит обратно к водонагревателю.

Из DE 9004046 U1 известно устройство для подогрева или охлаждения жидкостей, которое содержит резервуар для подогретой или охлажденной жидкости. Средства подогрева или охлаждения могут быть расположены внутри резервуара либо полностью, либо только их теплообменные компоненты. В качестве альтернативы, в случае резервуара, который применяется в качестве буферного контейнера (причем контейнер последовательно соединяется с трубопроводами контура подогрева или контура охладителя), средства подогрева или охлаждения могут быть предусмотрены снаружи контейнера. Водогрейный котел, описанный в DE 9004046 U1, содержит средства подогрева, которые сформированы в виде теплообменника и расположены во внутренней части резервуара и которые соединяются с контуром горячей воды системы отопления здания.

DE 29720326 U1 описывает конструкцию для подогрева циркуляционной воды в резервуаре питьевой воды, при этом вода, которая содержится в резервуаре, подогревается нагревательным змеевиком, который расположен в резервуаре, или же пластинчатым теплопередающим средством, которое расположено снаружи резервуара.

Из DE 10341523 А1 известен водогрейный котел, который предназначен для использования в воздушном судне и работает как поточный нагреватель.

Ближайшим аналогом предложенного изобретения является техническое решение, описанное в патентном документе ЕР 1520783, относящееся к устройству для обеспечения охлажденной или подогретой жидкости на борту воздушного судна, содержащему резервуар с первым и вторым циркуляционными соединениями.

Раскрытие изобретения

Задача изобретения заключается в создании компактного устройства для обеспечения охлажденной или подогретой жидкости, которое особенно подходит для использования на борту воздушного судна.

Для решения этой задачи резервуар устройства водоснабжения воздушного судна, предназначенного для обеспечения охлаждающей или подогретой жидкости на борту воздушного судна, термически связан с трубопроводом, через который протекает охлаждающая среда или теплопередающая среда. В качестве охлаждающей среды может использоваться, например, газообразная или жидкая холодильная среда, например, такая как гликоль и т.п. Благодаря термическому соединению резервуара с трубопроводом, через который протекает охлаждающая или теплопередающая среда, жидкость, содержащаяся в резервуаре, во время работы устройства для обеспечения охлаждающей или подогретой жидкости может охлаждаться до желаемой температуры вследствие передачи тепла от жидкости охлаждающей среде или же подогреваться до желаемой температуры вследствие передачи тепла от теплопередающей среды жидкости. Следовательно, благодаря устройству для обеспечения охлаждающей или подогретой жидкости использование отдельной холодильной машины для выработки охлажденной питьевой воды на борту воздушного судна больше не требуется. Это позволяет также отказаться от откачивающей системы для отведения отходящего тепла, создаваемого холодильной машиной. Таким образом, устройство по изобретению имеет простую и компактную конструкцию, которая предпочтительна, в частности, для установки в установочное пространство, которое в воздушном судне ограничено.

Резервуар содержит первое и второе циркуляционные соединения, причем первое циркуляционное соединение сообщается со вторым циркуляционным соединением через циркуляционный трубопровод. Верхняя часть резервуара содержит жидкость с более низкой температурой, чем температура жидкости в нижней части резервуара, причем жидкость циркулирует в резервуаре от верхней части резервуара к первому циркуляционному соединению и через циркуляционный трубопровод в направлении второго циркуляционного соединения. Вследствие конструктивной схемы устройства для обеспечения охлаждающей или подогретой жидкости с резервуаром, который термически связан трубопроводом, через который протекает охлаждающая среда или теплопередающая среда, в жидкости, содержащейся в резервуаре, образуется температурный градиент. Вследствие зависимости плотности жидкостей от температуры, этот температурный градиент неизбежно приводит к градиенту плотности жидкости, содержащейся в резервуаре, что вызывает гравитационную циркуляцию содержащейся в резервуаре жидкости от первого циркуляционного соединения через циркуляционный контур в направлении второго циркуляционного соединения. Таким способом жидкость, содержащаяся в резервуаре, может быть доставлена через циркуляционный контур в место, удаленное от резервуара, без использования дополнительных компонентов, таких как насос или подобные устройства. Кроме того, обеспечивается непрерывный поток жидкости в циркуляционном трубопроводе, поэтому никакого ощутимого изменения температуры жидкости в циркуляционном трубопроводе под воздействием влияния окружающей среды происходить не будет.

Трубопровод, через который протекает охлаждающая или теплопередающая среда, проходит вокруг резервуара, по существу, по спирали. Это позволяет создать особо компактную конструкцию устройства для обеспечения охлаждающей или подогретой жидкости, и в то же время обеспечивается особо эффективная теплопередача между жидкостью в резервуаре, которую приходится охлаждать или подогревать, и охлаждающей средой или теплопередающей средой. Резервуар и трубопровод, через который протекает охлаждающая среда или теплопередающая среда, могут быть сконструированы в виде отдельных компонентов. Однако, в качестве альтернативы, можно сконструировать, например, цилиндрический резервуар и трубопровод, через который протекает охлаждающая среда или теплопередающая среда, в виде объединенного компонента.

Предпочтительным является то обстоятельство, что резервуар и трубопровод, через который протекает охлаждающая среда или теплопередающая среда, устройства для обеспечения охлажденной или подогретой жидкости образуют теплообменник. Резервуар и трубопровод, через который протекает охлаждающая среда или теплопередающая среда, могут быть сконструированы в виде отдельных компонентов, но при желании могут быть объединены друг с другом в одно целое так, чтобы они составляли единый компонент. Предпочтительным является то обстоятельство, что резервуар и трубопровод, через который протекает охлаждающая среда или теплопередающая среда, изготовлены из теплопроводящего материала, например, такого как металл. Таким образом, обеспечивается оптимальная теплопередача между подлежащей охлаждению или подогреву жидкостью, которая содержится в резервуаре, и охлаждающей средой или теплопередающей средой.

В особо предпочтительном варианте осуществления устройства для обеспечения охлажденной или подогретой жидкости, теплообменник, сформированный резервуаром и трубопроводом, через который протекает охлаждающая среда или теплопередающая среда, работает по принципу противотока, т.е. охлаждающая среда или теплопередающая среда протекает через соответствующий трубопровод в первом направлении, в то время как подлежащая охлаждению или подогреву жидкость, которая циркулирует в резервуаре и циркуляционном трубопроводе, протекает во втором направлении, противоположном первому направлению потока. Такой теплообменник, работающий по принципу противотока, отличается высокой эффективностью, следовательно, позволяет обеспечить работу устройства по изобретению с особо низким энергопотреблением.

В предпочтительном варианте осуществления устройства для обеспечения охлажденной или подогретой жидкости, в трубопроводе, через который протекает охлаждающая среда или теплопередающая среда, установлен первый клапан-регулятор расхода. Этот клапан-регулятор расхода, который может быть сконструирован, например, в виде электромагнитного клапана под управлением электронного блока, позволяет регулировать расход охлаждающей среды или теплопередающей среды через соответствующий трубопровод, и таким образом, регулировать желаемую температуру подлежащей охлаждению или подогреву жидкости, которая содержится в резервуаре. Например, может быть предусмотрен температурный датчик или несколько температурных датчиков для измерения температуры жидкости, подаваемой в резервуар и/или жидкости в резервуаре. Сигналы, которые выдаются температурным датчиком (датчиками), могут использоваться для управления клапаном-регулятором расхода, установленным в трубопроводе, через который протекает охлаждающая среда или теплопередающая среда, с тем, чтобы регулировать расход охлаждающей или теплопередающей среды, и тем самым температуру жидкости в резервуаре.

Предпочтительным является то обстоятельство, что трубопровод устройства для обеспечения охлажденной или подогретой жидкости, через который протекает охлаждающая среда или теплопередающая среда, образует часть трубопроводной системы, через которую протекает охлаждающая среда или теплопередающая среда. Такая трубопроводная система может соединяться, например, с несколькими устройствами для обеспечения охлажденной или подогретой жидкости на борту воздушного судна. Тогда первая часть трубопроводной системы будет термически связана, например, с резервуаром первого устройства для обеспечения охлажденной или подогретой жидкости. При этом вторая часть трубопроводной системы может проходить от первого устройства для обеспечения охлажденной или подогретой жидкости до второго устройства для обеспечения охлажденной или подогретой жидкости. Третья часть трубопроводной системы может быть, в конечном счете, термически связана с резервуаром второго устройства для обеспечения охлажденной или подогретой жидкости. Преимущество такой системы заключается в том, что для доставки охлаждающей среды или теплопередающей среды через трубопроводную систему, которая соединена с несколькими устройствами для обеспечения охлажденной или подогретой жидкости, требуется только одно средство доставки, которое может быть выполнено в виде насоса.

Предпочтительным является то обстоятельство, что резервуар устройства для обеспечения охлажденной или подогретой жидкости содержит впускной патрубок для подачи принимаемой в резервуаре жидкости. Этот впускной патрубок может соединяться, например, с системой подачи питьевой воды воздушного судна. При желании, для того, чтобы регулировать подачу принимаемой в резервуаре жидкости, в области впускного патрубка резервуара может быть предусмотрен еще один клапан-регулятор расхода.

Расположение впускного патрубка на резервуаре зависит от того, используется ли устройство для обеспечения охлажденной жидкости или подогретой жидкости. Если устройство должно применяться для обеспечения охлажденной жидкости, например, охлажденной питьевой воды на борту воздушного судна, то впускной патрубок предпочтительно располагается на нижнем конце резервуара. В этом случае жидкость, которая имеет более высокую температуру, следовательно, более низкую плотность, подается в нижнюю часть резервуара, в то время как жидкость, охлажденная при контакте с охлаждающей средой, протекающей через соответствующий трубопровод, и имеющая более высокую плотность, будет находиться в верхней части резервуара. Под действием силы тяжести охлажденная жидкость будет опускаться в направлении нижней части резервуара, и, таким образом, обеспечивать циркуляцию жидкости через циркуляционный трубопровод.

И напротив, впускной патрубок резервуара, который применяется для обеспечения подогретой жидкости, предпочтительно располагается в области верхнего конца резервуара. В этом случае холодная жидкость с более высокой плотностью находится в верхней части резервуара, в то время как жидкость, подогретая при контакте с теплопередающей средой, протекающей через соответствующий трубопровод, и имеющая более низкую плотность, будет собираться в нижней части резервуара. Вследствие вызванного силой тяжести опускания охлажденной жидкости в резервуаре, также будет обеспечиваться циркуляция жидкости в циркуляционном трубопроводе.

В предпочтительном варианте осуществления устройства для обеспечения охлажденной или подогретой жидкости, раздаточный трубопровод для вывода жидкости, содержащейся в резервуаре, соединен с циркуляционным трубопроводом, который устанавливает сообщение между первым циркуляционным соединением резервуара и вторым циркуляционным соединением резервуара. Поскольку, как пояснено выше, через циркуляционный трубопровод непрерывно следует поток жидкости, содержащейся в резервуаре, удается надежно предотвратить любое ощутимое изменение температуры жидкости вследствие воздействий окружающей среды. Поэтому раздаточный трубопровод может соединяться с циркуляционным трубопроводом в любом месте, т.е. и на значительном удалении от резервуара, устраняя вероятность того, что жидкость из циркуляционного трубопровода не будет иметь желаемую температуру.

Таким образом, в устройстве для обеспечения охлажденной или подогретой жидкости резервуар и раздаточный трубопровод могут быть расположены на значительном удалении друг от друга. Это позволяет расположить раздаточный трубопровод и выводить жидкость из резервуара устройства для обеспечения охлажденной или подогретой жидкости даже в тех местах, где нет достаточного установочного пространства для резервуара. Следовательно, устройство для обеспечения охлажденной или подогретой жидкости может применяться гибким способом и особенно подходит для использования, связанного с обеспечением питьевой водой пассажиров на борту воздушного судна.

Следует понимать, что с устройством для обеспечения охлажденной или подогретой жидкости при необходимости могут также соединяться и несколько раздаточных трубопроводов для выведения жидкости из резервуара.

Предпочтительным является то обстоятельство, что в раздаточном трубопроводе установлен еще один клапан-регулятор расхода. Посредством этого клапана может регулироваться выведение охлажденной или подогретой жидкости из резервуара устройства для обеспечения охлажденной или подогретой жидкости.

Предпочтительным является то обстоятельство, что устройство для обеспечения охлажденной или подогретой жидкости содержит поплавковый клапан, который установлен в верхней части резервуара. Этот поплавковый клапан служит как для удаления воздуха из резервуара после его наполнения жидкостью, подлежащей охлаждению или подогреву, так и для наполнения резервуара воздухом после слива жидкости, подлежащей охлаждению или подогреву.

Следует понимать, что в устройстве для обеспечения охлажденной или подогретой жидкости резервуар и трубопровод, через который протекает охлаждающая или теплопередающая среда, могут быть заменены постоянным поточным теплообменником, не имеющим аккумулирующей способности.

Краткое описание чертежей

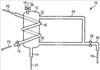
На чертеже показано устройство для обеспечения холодной питьевой воды согласно изобретению.

Осуществление изобретения

Далее со ссылкой на прилагаемый чертеж, иллюстрирующий устройство для обеспечения холодной питьевой водой, которое особенно подходит для использования на борту воздушного судна, будет представлено более подробное объяснение предпочтительного варианта осуществления устройства по изобретению для обеспечения охлажденной или подогретой жидкости.

Чертеж показывает устройство 10 для обеспечения холодной питьевой воды, которое содержит цилиндрический резервуар 12 для приема питьевой воды, подлежащей охлаждению. Резервуар 12 изготавливается из теплопроводного материала, такого как металл, и имеет на своем нижнем конце впускной патрубок 14 для подачи подлежащей охлаждению питьевой воды в резервуар 12. Впускной патрубок 14 резервуара 12 соединяется с системой питьевого водоснабжения (не показана) на борту воздушного судна.

Устройство 10, кроме того, содержит трубопровод 16, который проходит спирально вокруг цилиндрического резервуара 12 и через который протекает охлаждающая среда, например, такая как гликоль. Трубопровод 16, через который протекает охлаждающая среда, образует часть трубопроводной системы (подробно не показана), через которую протекает охлаждающая среда и которая может соединяться с несколькими устройствами 10 для обеспечения охлажденной питьевой воды. Трубопровод 16, через который протекает охлаждающая среда, изготовлен из теплопроводного материала, например, такого как металл. Благодаря этому обеспечивается надлежащая термическая связь резервуара 12 с трубопроводом 16, через который протекает охлаждающая среда.

В трубопроводе 16, через который протекает охлаждающая среда, установлен клапан-регулятор расхода 18. Клапан-регулятор расхода 18 служит для того, чтобы регулировать расход охлаждающей среды в трубопроводе 16, следовательно, и температуру питьевой воды, подлежащей охлаждению и приему в резервуаре 12.

В верхней части резервуара 12 установлен поплавковый клапан 19. Поплавковый клапан 19 используется для того, чтобы обеспечить автоматическое удаление воздуха после заполнения и автоматическое наполнение воздухом после слива резервуара 12.

Резервуар 12 устройства 10 для обеспечения охлажденной питьевой воды, кроме того, содержит первое и второе циркуляционные соединения 20, 22. Первое циркуляционное соединение 20 сообщается со вторым циркуляционным соединением 22 через циркуляционный трубопровод 24.

Циркуляционный трубопровод 24 соединен с раздаточным трубопроводом 26 для вывода питьевой воды, принятой в резервуаре 12. В раздаточном трубопроводе 26 расположен дополнительный клапан-регулятор расхода 28, посредством которого может по желанию регулироваться выведение питьевой воды из резервуара 12.

Далее будет представлено более подробное описание функционирования устройства для обеспечения охлажденной питьевой воды, показанного на чертеже. Как указано на чертеже стрелкой Р1, питьевая вода, подлежащая охлаждению, подается в резервуар 12 через впускной патрубок 14. Охлаждающая среда протекает через трубопровод 16 в направлении, которое указано стрелками Р2, Р3. Для доставки охлаждающей среды через трубопроводную систему и трубопровод 16 используется насос (не показан).

Благодаря термической связи резервуара 12 с трубопроводом 16, через который протекает охлаждающая среда, во время работы устройства 10 для обеспечения охлажденной питьевой воды происходит передача тепла от теплой питьевой воды, поданной в резервуар 12 через впускной патрубок 14, охлаждающей среде, протекающей через трубопровод 16. Вследствие этого уменьшается температура питьевой воды в резервуаре 12, причем в питьевой воде, принятой в резервуаре 12, создается температурный градиент. Другим словами, теплая питьевая вода, поданная через впускной патрубок 14, остается в нижней части резервуара 12, в то время как питьевая вода, которая охладилась за счет теплопередающего контакта с охлаждающей средой, протекающей через трубопровод 16, собирается в верхней части резервуара 12.

Поскольку упомянутый температурный градиент вследствие зависимости плотности жидкостей от температуры неизбежно приводит к градиенту плотности в питьевой воде, принятой в резервуаре 12, под действием силы тяжести имеет место циркуляция питьевой воды от верхней части резервуара 12 к первому циркуляционному соединению 20 и через циркуляционный трубопровод 24 в направлении второго циркуляционного соединения 22. Таким образом, резервуар 12 и трубопровод 16, через который может протекать охлаждающая среда, формируют теплообменник, работающий по принципу противотока.

Циркуляция под действием силы тяжести обеспечивает непрерывный поток питьевой воды через циркуляционный трубопровод 24. За счет этого не допускается заметного нагрева питьевой воды в циркуляционном трубопроводе 24, связанного с воздействием окружающей среды. Питьевая вода, выводимая из циркуляционного трубопровода 24 через раздаточный трубопровод 26 в направлении, показанном на чертеже стрелкой Р4, всегда имеет желаемую температуру охлаждения, несмотря на то, что раздаточный трубопровод 26 может соединяться с циркуляционным трубопроводом 24 на значительном удалении от резервуара 12.

Формула изобретения

1. Устройство (10) для обеспечения охлажденной или подогретой жидкости на борту воздушного судна, содержащее резервуар (12), снабженный первым и вторым циркуляционными соединениями (20, 22), отличающееся тем, что первое циркуляционное соединение (20) сообщается со вторым циркуляционным соединением (22) через циркуляционный трубопровод (24), резервуар (12) выполнен с возможностью приема жидкости, подлежащей охлаждению или подогреву, и термически связан с трубопроводом (16), через который протекает охлаждающая или теплопередающая среда, проходящим, по существу, по спирали вокруг резервуара (12), а верхняя часть резервуара (12) содержит жидкость с более низкой температурой, чем температура жидкости в нижней части резервуара (12), жидкость циркулирует в резервуаре от верхней части резервуара (12) к первому циркуляционному соединению (20) и через циркуляционный трубопровод (24) в направлении второго циркуляционного соединения (22).

2. Устройство по п.1, отличающееся тем, что резервуар (12) и трубопровод (16), через который протекает охлаждающая или теплопередающая среда, образуют теплообменник, работающий по принципу противотока.

3. Устройство по п.1 или 2, отличающееся тем, что в трубопроводе (16), через который протекает охлаждающая или теплопередающая среда, установлен клапан-регулятор расхода (18).

4. Устройство по п.1 или 2, отличающееся тем, что трубопровод (16), через который протекает охлаждающая или теплопередающая среда, образует часть трубопроводной системы, через которую протекает охлаждающая или теплопередающая среда.

5. Устройство по п.1 или 2, отличающееся тем, что резервуар (12) снабжен впускным патрубком (14) для подачи жидкости, принимаемой в резервуаре (12).

6. Устройство по п.1 или 2, отличающееся тем, что циркуляционный трубопровод (24), устанавливающий сообщение между первым циркуляционным соединением (20) резервуара (12) и вторым циркуляционным соединением (22) резервуара (12), соединен с раздаточным трубопроводом (26) для вывода жидкости, содержащейся в резервуаре (12).

7. Устройство по п.6, отличающееся тем, что в раздаточном трубопроводе (26) установлен дополнительный клапан-регулятор расхода (28).

8. Устройство по п.1 или 2, отличающееся тем, что в верхней части резервуара (12) установлен поплавковый клапан (19).

9. Применение устройства по одному из пп.1-8 для обеспечения охлажденной питьевой воды на борту воздушного судна.

РИСУНКИ

Categories: BD_2381000-2381999