|
|
(21), (22) Заявка: 2008128878/06, 14.12.2006
(24) Дата начала отсчета срока действия патента:
14.12.2006
(30) Конвенционный приоритет:
15.12.2005 FI 20055674
(46) Опубликовано: 10.02.2010
(56) Список документов, цитированных в отчете о поиске:
RU 2047044 С1, 27.10.1995. RU 2037091 С1, 09.06.1995. RU 2156918 С2, 27.09.2000. US 3814063 А, 04.06.1974. AT 378250 В, 10.07.1985.
(85) Дата перевода заявки PCT на национальную фазу:
15.07.2008
(86) Заявка PCT:
FI 2006/050555 20061214
(87) Публикация PCT:
WO 2007/068802 20070621
Адрес для переписки:
129090, Москва, ул.Б.Спасская, 25, стр.3, ООО “Юридическая фирма Городисский и Партнеры”, пат.пов. А.В.Мицу, рег. 364
|
(72) Автор(ы):
ЛАНКИНЕН Пентти (FI)
(73) Патентообладатель(и):
ФОСТЕР ВИЛЕР ЭНЕРГИЯ ОЙ (FI)
|
(54) СПОСОБ И УСТРОЙСТВО ДЛЯ ПОДДЕРЖАНИЯ СТЕНОК ЭНЕРГЕТИЧЕСКОГО КОТЛА
(57) Реферат:
Изобретение относится к способу и устройству для поддержания стенок теплоэнергетического котла, который обычно содержит действующую топку. Изобретение в частности относится к поддержанию стенок (12) котла, при этом топку (10) подвешивают на опорной плоскости верхней части стальных конструкций, предназначенных для этого, и поддерживают стенки (12), образованные из вертикальных водяных труб котла, горизонтально, по меньшей мере, посредством опорных стоек (22), расположенных, по существу, перпендикулярно водяным трубам, и вертикальных стоек (24), расположенных снаружи опорных стоек (22), при этом стойки (24) прикреплены к грунту или фундаменту сооружения котла. При этом поддерживают, по меньшей мере, две из стенок (12), расположенных с противоположных сторон топки (10), на вертикальных стойках (24) посредством балок (26), прикрепленных к стенкам (12) параллельно водяным трубам, и посредством средств (28) крепления, расположенных между балками (26) и вертикальными стойками (24), таким образом, что нагрузки, направленные перпендикулярно стенкам (12), передаются посредством вертикальных стоек (24) к внутренним напряжениям, по меньшей мере, одной жесткой плоскости, окружающей котел и прикрепленной к вертикальным стойкам (24). Отличительным признаком устройства для поддержания стенок энергетического котла является то, что одна или несколько жестких плоскостей, окружающих весь котел, прикреплены к стойками (24), и, по меньшей мере, две водотрубные стенки (12) на противоположных сторонах котла опираются на стойки (24). При таком выполнении снижаются нагрузки на поддерживающее устройство, конструкция не вызывает сжатия или закручивания опорных стоек 2 н. и 11 з.п. ф-лы, 3 ил.
Настоящее изобретение относится к способу и устройству для поддержания стенок энергетического котла. Настоящее изобретение относится к теплоэнергетическому котлу, который обычно содержит действующую топку и средства для очистки топочных газов и, в случае котла с циркулирующим псевдоожиженным слоем, также средства для обеспечения циркуляции материала слоя и средства для рециркуляции этого материала обратно в топку. Изобретение, в частности, относится к поддержанию стенок такого котла, имеющих панельную конструкцию.
Обычно энергетические котлы по изобретению снабжены с так называемыми водотрубными стенками, которые состоят из расположенных рядом водяных труб с пластинчатыми ребрами между ними. Назначение воды, циркулирующей в водяных трубах, заключается в рекуперации теплоты, созданной при горении. Однако подобная водотрубная стенка, принимая во внимание ее размеры, имеет сравнительно легкую конструкцию и, по существу, не выдерживает дополнительного напряжения без изгиба. Данное напряжение может возникать, например, из-за колебания давления топочных газов, и, таким образом, стенка должна быть поддержана для поддержания заданной формы. Кроме того, известно, что в том случае, когда водотрубная стенка снабжена дополнительным оборудованием, тепловое расширение в стенках и в целом котле должно быть принято во внимание.
Стенкам панельной конструкции ранее описанного типа обычно придают жесткость посредством использования проходящих в горизонтальном направлении систем опорных стоек или рам, содержащих балки, соединенные друг с другом посредством угловых соединительных узлов так, что обеспечивается сравнительно свободное дифференциальное тепловое расширение между горячими стенками топки и более холодными балками. Количество балочных рам определяется жесткостью стенок топки, на которую также влияет размер и распределение труб в водотрубной стенке. Балки, образующие раму, выполнены с размерами, подобными свободно опертым балкам, в результате чего их размер определяют на основе ширины стенки и вертикального распределения балок.
Опорные конструкции для стенок энергетических котлов в соответствии с уровнем техники раскрыты, например, в описаниях патентов и опубликованных заявках US 3,379,177, 3,814,063, 3,368,535, ЕР В1-0591183, JP-A2-21304505, JP-A2-22257303, JP-A2-20002401, JP-A2-06193809, JP-A2-52113401, JP-A2-08296807 и JP-A2-11241805.
В патенте США 3,379,177 описан энергетический котел и опорная конструкция для его стенок. В публикации раскрыт один известный способ создания энергетического котла. Существенная часть его заключается в том, что вся конструкция котла подвешена на стальных конструкциях, более конкретно, подвешена на опорной плоскости, принадлежащей стальным конструкциям и расположенной над котлом, таким образом, что опорные конструкции стенок котла также будут подвешены на опорной плоскости. Опорные конструкции стенок содержат разнесенные в вертикальном направлении опорные стойки, расположенные перпендикулярно водяным трубам у каждой наружной стенки котла. Крепление опорных стоек обеспечивает некоторое перемещение стенки и опорной стойки друг относительно друга для обеспечения теплового расширения/сжатия стенки в направлении опорной стойки. Опорные стойки, с другой стороны, с возможностью смещения опираются на вертикальные двутавровые балки на их стороне, противоположной стенке котла. Имеются несколько двутавровых балок на ширине каждой стенки, и они подвешены, как уже было упомянуто выше, на стальных конструкциях сооружения котла, то есть подвешены на опорной плоскости. Данные вертикальные двутавровые балки, в свою очередь, опираются на горизонтально расположенную балочную раму, приваренную к указанным двутавровым балкам на стороне, противоположной опорным стойкам, и содержащую жесткие шпренгельные балки, расположенные с каждой стороны котла. Данные шпренгельные балки образуют балочную раму, окружающую котел посредством гибких угловых соединительных узлов, которые, со своей стороны, обеспечивают изменение наружных размеров котла, которые возникают из-за изменений температуры.
В патенте США 3,814,063 также описан энергетический котел подвесной конструкции и, более конкретно, альтернативный способ выполнения опорной конструкции для водотрубной стенки. В данной конструкции водотрубная стенка соединена с двутавровыми балками, которые так же, как котел, прикреплены сверху на опорной плоскости, но удалены на некоторое расстояние от котла посредством стержней, шарнирно присоединенных на обоих концах так, что один конец стержня может перемещаться относительно вертикальной балки. Соединительный стержень присоединен к водотрубной стенке посредством, по существу, квадратной полки, проходящей поперек множества водяных труб. Вертикальные двутавровые балки также прикреплены к горизонтально расположенной шпренгельной конструкции, окружающей весь котел, на сторонах, противоположных соединительным стержням.
В документе JP-A2-21304505 также описан теплоэнергетический котел подвесной конструкции, свисающий от опорной плоскости верхней части, и устройство, посредством которого предотвращаются вибрация и качательные перемещения энергетического котла, например, во время землетрясения. Одновременно описана опорная конструкция для стенок энергетического котла. При рассмотрении уровня техники в указанной публикации раскрыт способ крепления опорных стоек, по существу, горизонтально к стенке энергетического котла таким образом, что их крепление обеспечивает дифференциальное тепловое расширение стенки и опорной стойки. Опорную стойку фактически прикрепляют к стенке посредством определенного монтажного ушка таким образом, что монтажное ушко будет прикреплено к стенке котла. Опорную стойку прикрепляют к монтажному ушку посредством болта, для которого, тем не менее, в опорной стойке выполнено удлиненное отверстие, которое обеспечивает дифференциальное тепловое расширение стенки котла и опорной стойки за счет смещения крепежного болта в продольном направлении в отверстии. Опорные стойки были прикреплены к вертикальным стержням на сторонах, противоположных по отношению к котлу, группами из нескольких опорных стоек таким образом, что одна опорная соединительная балка из каждой группы неподвижно прикреплена к стержню, в то время как обеспечивается смещение остальных опорных стоек в продольном направлении стержня так, как требуется вследствие теплового расширения стенки котла. Стержни, в свою очередь, прикреплены к стальным конструкциям энергетического котла, опирающимся на землю, таким образом, что обеспечивается смещение в вертикальном направлении, другими словами, таким образом, что тепловое расширение стенок котла не вызывает «направления» каких-либо вертикальных сил к указанным стальным конструкциям. Другими словами, как опорные стойки, так и вертикальные стержни, прикрепленные к ним, подвешены посредством котла так, что они свисают от опорной плоскости верхней части стальных конструкций энергетической установки.
Кроме того, общим признаком всех конструкций, раскрытых более подробно выше, а также всех других конструкций, упомянутых в вышеуказанных публикациях, является то, что опорные конструкции для стенок котла подвешены на опорной плоскости верхней части стальных конструкций сооружения котла или вместе с котлом, или посредством специальных отдельных средств подвешивания.
Тем не менее, подобное подвешивание опорных конструкций приводит к некоторым недостаткам. Если подвешивание было выполнено любым из двух вышеописанных способов, вес опорных конструкций, которые состоят, в зависимости от способа подвешивания, по меньшей мере, из опорных стоек, вертикальных балок, присоединенных к опорным стойкам, и возможных шпренгельных конструкций, присоединенных к вертикальным балкам, образует значительную часть полной нагрузки на стальные конструкции. Кроме того, если габариты котлов увеличиваются, очевидно, что вес опорных конструкций увеличивается, по меньшей мере, в той же степени. Тем самым, естественно, стальные конструкции, используемые для подвешивания опорных конструкций котла и его стенок, должны быть увеличены в той же степени при увеличивающихся нагрузках.
Тем не менее, существует возможность минимизации указанных проблем посредством изменения опоры для водотрубных стенок так, чтобы большая часть опоры обеспечивалась непосредственно фундаментами или тому подобным без каких-либо подвесок с креплением сверху по уровню техники. Кроме того, вес опорных конструкций, нагружающих верхний уровень опоры котла, может быть уменьшен посредством модификации опорных конструкций для стенок котла таким образом, что система будет работать с помощью более легких опорных стоек или даже посредством выполнения как можно большей части опорных конструкций так, чтобы они опирались на грунт или фундамент сооружения котла без необходимости подвешивания опорных конструкций на опорной плоскости верхней части котла.
Другая проблема, с которой сталкиваются, заключается в том, что опорные стойки подвергаются значительным напряжениям независимо от способа в соответствии с уровнем техники, посредством которого они соединены со стенками котла. Это обусловлено тем, что опорные стойки используются не только для их фактического назначения, другими словами, для обеспечения опоры для стенок котла, противодействующей нормальной нагрузке, но также для передачи нагрузок, действующих на стенки котла, вперед. В подобных конструкциях опорные стойки в каждый момент времени подвергаются воздействию, по меньшей мере, одной из следующих нагрузок – сжимающей, изгибающей или скручивающей.
Вышеупомянутые недостатки в соответствии с настоящим изобретением устраняются посредством способа поддержания стенок теплоэнергетического котла. В указанном способе топку теплоэнергетического котла подвешивают на опорной плоскости верхней части стальных конструкций, специально предназначенных для этого, и поддерживают стенки, образованные из водяных труб, горизонтально, по меньшей мере, посредством опорных стоек, расположенных, по существу, перпендикулярно водяным трубам, и вертикальных стоек, расположенных снаружи опорных стоек, при этом стойки прикреплены к грунту или фундаменту сооружения котла. Отличительным признаком способа согласно изобретению является то, что поддерживают, по меньшей мере, две из стенок, расположенных с противоположных сторон топки, на вертикальных стойках посредством балок, прикрепленных к стенкам параллельно водяным трубам, и посредством средств крепления, расположенных между балками и вертикальными стойками, таким образом, что нагрузки, направленные перпендикулярно стенкам, передаются посредством вертикальных стоек к внутренним напряжениям, по меньшей мере, одной жесткой плоскости, окружающей котел и прикрепленной к вертикальным стойкам. При этом опорные стойки прикрепляют к наружной поверхности балок и присоединяют к вертикальным стойкам группами по две или более опорных стоек, стенки опираются с возможностью перемещения на группы из двух или более опорных стоек, обеспечивают перемещение, вызванное тепловым расширением котла, между стенками и каждой группой опорных стоек и между вертикальными стойками и каждой группой опорных стоек. Соответственно, для устройства согласно изобретению, предназначенного для поддержания водотрубных стенок топки теплоэнергетического котла, топка подвешена на опорной плоскости верхней части стальных конструкций, специально предназначенных для этого, при этом устройство содержит опорные стойки, расположенные, по существу, перпендикулярно водяным трубам для поддержания стенок. Отличием является то, что оно содержит вертикальные стойки, расположенные снаружи опорных стоек на сторонах котла и прикрепленные к грунту или фундаменту сооружения котла, и, по меньшей мере, одну жесткую плоскость, окружающую котел и прикрепленную к вертикальным стойкам, при этом, по меньшей мере, две из стенок, расположенных на противоположных сторонах котла, поддержаны на вертикальных стойках посредством балок, прикрепленных к стенкам параллельно водяным трубам, и посредством средств крепления, расположенных между балками и вертикальными стойками, таким образом, что нагрузки, направленные перпендикулярно стенкам, передаются посредством вертикальных стоек к внутренним напряжениям, по меньшей мере, одной жесткой плоскости. При этом средства крепления выполнены с возможностью обеспечения перемещения балок и стоек друг относительно друга, обусловленного изменением температуры котла, средства крепления, обеспечивающие перемещение вертикальных балок и стоек друг относительно друга, образованы из пары из штифта и паза, в результате чего направление движения штифта в пазу соответствует направлению теплового движения котла, или образованы роликом или роликами и наклонной плоскостью, при этом направление наклонной плоскости соответствует направлению теплового движения. Опорные стойки прикреплены к стенкам группами по несколько опорных стоек посредством балок и опираются на стойки посредством балок. По меньшей мере, одна жесткая плоскость образована шпренгельной конструкцией, окружающей энергетический котел.
Преимуществом крепления согласно изобретению, естественно, среди прочего, является то, что количество стальных конструкций, необходимых в сооружении котла, существенно уменьшается. Таким образом, создание полной котельной установки будет связано с меньшими затратами, чем в уровне техники, как вследствие меньшего количества конструкционного материала, так и вследствие уменьшенного количества требуемых рабочих часов. Для прояснения данного вопроса можно пояснить, что посредством применения способа и устройства в соответствии с изобретением можно, естественно, в зависимости от размера котла, уменьшить вес требуемых стальных конструкций на величину, составляющую от нескольких десятков до даже нескольких сотен тонн.
Другое преимущество изобретения заключается в том, что конструкция в соответствии с предпочтительным вариантом осуществления изобретения обеспечивает облегчение опорных стоек, поскольку конструкция не вызывает сжатия или закручивания опорной стойки, и, таким образом, отсутствует необходимость выполнения опорной стойки с размерами, позволяющими выдерживать соответствующие нагрузки.
Третье преимущество изобретения, о котором стоит упомянуть, заключается в том, что в конструкции в соответствии с другим предпочтительным вариантом осуществления изобретения можно дополнительно облегчить опорные стойки таким образом, что пространство между котлом и сепаратором может быть выполнено меньшим, чем ранее, без потери какой-либо опоры для стенок.
Способ и устройство для поддержания стенок энергетического котла рассмотрены ниже более подробно со ссылкой на приложенные чертежи, на которых:
фиг.1 представляет собой схематичное сечение центральной части топки энергетического котла, в котором была применена конструкция согласно настоящему изобретению;
фиг.2 представляет собой более подробный вид конструкции согласно предпочтительному варианту осуществления изобретения;
фиг.3 представляет собой более подробный вид конструкции варианта осуществления, показанного на фиг.2.
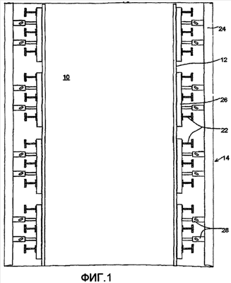
На фиг.1 показано схематическое сечение энергетического котла, при этом его нижняя и верхняя части отрезаны таким образом, что показаны только центральные части противоположных вертикальных стенок котла. Таким образом, на чертеже не показаны ни средства подвешивания котла, ни каналы для подвода или отвода материалов. Таким образом, чертеж показывает только часть топки 10 энергетического котла, окруженной стенками 12 котла, которые в большинстве случаев образуют прямоугольник, и средства 14, относящиеся к фактическому поддержанию стенки 12. Стенки 12 котла образованы так, как известно также из котлов по уровню техники, из водотрубных панелей, в которых вертикальные водяные трубы соединены друг с другом посредством ребер, параллельных плоскости стенки. Как было упомянуто выше в отношении уровня техники, опора для подобной водотрубной стенки на стороне, противоположной топке 10, обеспечивается посредством, по существу, горизонтальных опорных стоек, обозначенных на чертеже ссылочными позициями 22, посредством которых предотвращается выпучивание стенки 12 наружу, например, вызванное изменением давления топочных газов.
На фиг.1, и более подробно фиг.2, показан способ в соответствии с предпочтительным вариантом осуществления изобретения, при этом указанный способ представляет собой способ крепления опорных стоек 22, расположенных перпендикулярно направлению водяных труб, к стенке 12 и способ крепления стенки 12 котла, в свою очередь, к стойкам 24, проходящим от грунта или чаще от основания, то есть в большинстве случаев от фундамента сооружения котла на всю высоту котла. Стойки 24 расположены так, что, по меньшей мере, одна стойка находится с каждой стороны котла. На фиг.1 и 2 показано, как в данном предпочтительном варианте осуществления изобретения вертикальные балки 26 или, точнее, балки, параллельные водяным трубам, были прикреплены к стенке 12 котла. Предпочтительно крепление балок выполнено, с одной стороны, таким образом, что дифференциальное тепловое расширение стенки и балки не создает никаких дополнительных напряжений ни в средстве крепления, ни в стенке, ни в балке. Балки 26 являются или непрерывными на существенной части высоты стенки котла (когда водяные трубы являются вертикальными), или балки могут быть образованы из частей, которые, тем не менее, образуют на каждой стенке котла, в соответствии с данным вариантом осуществления, по существу, вертикальную линию из балок. Кроме того, на каждой стенке 12 котла могут быть предусмотрены одна или несколько подобных, по существу, непрерывных балок 26 или линий из балок, образованных из множества более коротких балок. Вышеупомянутые опорные стойки 22 были прикреплены к стороне балок 26, противоположной относительно стенки 12 котла. Когда имеется только одна балка/линия из балок 26 на стенке 12 котла, можно прикрепить опорную стойку к балке 26 неподвижно, но особенно в том случае, когда имеется больше балок 26, важно, чтобы крепление между балками 26 и опорными соединительными балками 22 было гибким для, по меньшей мере, почти всех балок. Подобное гибкое крепление может быть выполнено, например, так, как описано в уровне техники, например в JP-A2-21304505. Соответственно, можно соединить опорные стойки 22 на их концах друг с другом в углу стенок 12, например, так, как описано в JP-A2-20002401.
На фиг.1 и 2 также показано, как балка 26 с опорными соединительными балками 22 или ее части с опорными соединительными балками прикреплены к вертикальной стойке 24. Это выполнено посредством использования средств 28 крепления. Средства крепления обеспечивают возможность некоторого ограниченного перемещения балок 26 наружу. Другими словами, обеспечивается возможность смещения балок 26 как в продольном направлении, так и в поперечном направлении, вызванного тепловыми движениями котла. Естественно, если имеются балки 26, прикрепленные к другим частям стенки, кроме центральной линии стенки, также должна быть обеспечена возможность перемещения балок 26, вызванного изменением температуры стенки котла, в боковом направлении.
На фиг.2 показан вид в перспективе с разрезом части опоры для стенки 12 энергетического котла с внутренней стороны, выполненный так, что реальная водотрубная стенка реального котла отрезана. На фиг.2 показана опорная конструкции, в которой имеется только одна линия балки на одной стенке котла, при этом балка разделена в продольном направлении на части 26. Здесь следует отметить, что, как было упомянуто выше, может быть предусмотрено больше балок или линий балок на стенке котла, что будет зависеть главным образом от ширины стенки, для которой должна быть обеспечена опора, но также от размеров остальной части котла. Таким образом, когда задание размеров опоры для стенки котла базируется на определенном максимальном изгибе опорных стоек, можно облегчить опорные стойки посредством увеличения количества вертикальных стоек 24 и вертикальных линий 26 балок.
В данном приведенном в качестве примера варианте осуществления три горизонтальные опорные стойки 22 были прикреплены к каждой части 26 вертикальной балки. Естественно, количество опорных стоек 22, подлежащих креплению к вертикальной балке 26, главным образом зависит от требуемого уровня опоры для стенки и от длины вертикальной балки. На чертеже также показано средство 28 крепления вертикальных балок 26 к стойке 24, при этом указанное крепление обеспечивает возможность изменения размеров, вызванных тепловым расширением.
Кроме того, на фиг.2 показано крепление вертикальных стоек 24, в соответствии с предпочтительным вариантом осуществления изобретения, на стороне, противоположной по отношению к котлу, к, по меньшей мере, одной, предпочтительно к множеству жестких плоскостей 30, расположенных на разных высотах. Каждая из жестких плоскостей 30 образует предпочтительно шпренгельную конструкцию, окружающую весь котел. Она используется для «связывания», по меньшей мере, двух противоположных сторон котла вместе таким образом, что силы, направленные нормально к стенкам от топки 10 к опоре для стенок 12, уравновешивают друг друга вследствие их противоположных направлений. Таким образом, конструкция обеспечивает преобразование сил во внутреннюю нагрузку жесткой плоскости 30. Другими словами, вышеупомянутая конструктивная схема, при которой усиленная плоскость является, в сущности говоря, абсолютно жесткой, приводит к тому, что вертикальные стойки 24 с каждой стороны котла не могут перемещаться или изгибаться под действием сил, действующих со стороны котла, но силы передаются посредством средств 28 крепления между вертикальными стойками 24 и вертикальными балками 26 к жесткой плоскости 30.
Расстояние в вертикальном направлении между жесткими плоскостями 30 определяется, с одной стороны, размерами вертикальных стоек 24 или тому подобного и, с другой стороны, размерами самих плоскостей. Естественно, ясно то, что чем легче стойка и/или плоскость, тем более плотно должны быть расположены жесткие плоскости для сохранения поддерживающего усилия в приемлемых пределах. Местоположение жестких плоскостей относительно котла, главным образом, определяется тем, существует ли необходимость оставить некоторое пространство рядом со стенкой, например, для каких-либо средств технического обслуживания и текущего ремонта, или, если жесткая плоскость, в свою очередь, может быть размещена в непосредственной близости от стенки, существует возможность использования плоскости одновременно в качестве плоскости для прохода или выполнения работ по техническому обслуживанию. Другими словами, плоскости могут быть расположены не только непосредственно рядом с вертикальными стойками, но, в случае необходимости, они также могут быть расположены на заданном расстоянии от котла посредством балочной или решетчатой конструкции, пригодной для данной цели, как раскрыто фактически на фиг.2.
На фиг.3 немного более подробно показан предпочтительный вариант осуществления средства 28 крепления вертикальных балок 26 и стоек 24. Средство крепления в соответствии с фиг.3 содержит плиту 32 или тому подобное, прикрепленную или непосредственно, или посредством специального стержня к вертикальной балке 26, и две плиты 34 или тому подобное, прикрепленные к стойке 24 также непосредственно или посредством специального стержня, при этом две плиты 34 расположены с обеих сторон плиты 32. Удлиненные пазы 36 выполнены в указанных плитах 34, и штифт 38, подлежащий размещению в пазу 36, прикреплен к плите 32 или иным образом предусмотрен в ней. Предпочтительно направление пазов 36 определяется в соответствии с тепловым расширением котла. Другими словами, пазы 36 у верхней части котла, находящиеся сравнительно близко к месту подвешивания котла, по существу, горизонтальны, поскольку тепловое расширение котла проявляется там почти только в виде увеличения диаметра топки. У нижнего конца котла существенная часть теплового расширения проявляется в виде увеличения длины котла, так что паз выполнен таким, что он направлен как вниз, так и наружу по отношению к котлу. Другими словами, тепловое расширение котла компенсируется за счет направления пазов таким образом, чтобы никакие напряжения, возникающие в результате теплового расширения, не были направлены к опоре для стенок котла. Другими словами, направление пазов используется для компенсации теплового расширения котла таким образом, что опора для стенок котла, по существу, не подвергается воздействию каких-либо напряжений, возникающих в результате теплового расширения. Естественно, ориентация пазов предусматривает также то, что, если опора расположена или только, или также со стороны вертикальной осевой линии боковых стенок котла, компенсация теплового расширения обуславливает то, что паз должен быть направлен не только вниз и наружу, но также в определенной степени вбок. Но когда стенки 12 котла стремятся выпучиваться наружу в направлении нормали к стенке, например, вследствие избыточного давления, созданного внутри котла, вертикальная балка 26 обеспечивает толкание штифта 38 посредством плиты 32 на чертеже вправо к боковой стенке пазов 36 плит 34. Тем самым, например, нагрузка, вызванная давлением топочных газов, передается посредством штифта 38 от стенки 12 к стойке 24 и дальше от нее к жесткой плоскости 30. Соответственно, если пониженное давление создается внутри котла, опора для стенок воспринимает обусловленную этим нагрузку посредством другой боковой стенки пазов 36.
Показанные плиты 32 и 34 и стержни или тому подобное, возможно, используемые вместе с ними, обеспечивают опору для вертикальной балки 26 в раскрытом варианте осуществления в двух местах на вертикальной стойке 24. Данная конструкция обеспечивает ряд преимуществ. Например, когда опорные стойки 22 не прикреплены непосредственно к стойкам посредством способа крепления, который обеспечивает возможность теплового расширения, опорные стойки не подвергаются воздействию напряжений, действующих в направлениях, отличных от наиболее предпочтительного направления, то есть в варианте осуществления, показанном на чертеже, отличных от горизонтального направления. Таким образом, необходимо задать размеры опорных стоек только с учетом изгиба, что приводит к тому, что достаточными будут балки, имеющие как можно более легкую конструкцию.
В соответствии с другим предпочтительным вариантом осуществления изобретения средство крепления, раскрытое выше на фиг.3, может быть выполнено не только как опора, в которой используется штифт и паз, но также посредством двух наклонных плоскостей или аналогичных поверхностей, при этом угол наклона плоскостей соответствует углу наклона пазов так, как описано выше. Кроме того, одна из вышеупомянутых плоскостей может быть заменена, по меньшей мере, одним роликом на конце рычага, при этом указанный ролик катится вдоль наклонной плоскости. Само собой разумеется, конструкция, в которой используется ролик, может быть применена также вместе с пазом, при этом штифт, подлежащий размещению в пазу, представляет собой ось ролика и ролик катится вдоль поверхности паза. Если необходимо предотвратить сплющивание стенок котла внутрь, можно выполнить в одной из плоскостей плоской конструкции, раскрытой выше, продольный паз, проходящий через всю плоскость, в котором болт или тому подобное, проходящий от противоположной плоскости, расположен таким образом, что болт предотвращает возможное перемещение стенки котла внутрь. Кроме того, можно уменьшить трение между плоскостями посредством покрытия плоскостей тефлоном или аналогичным материалом, подходящим для достижения данной цели.
Следует отметить, что вышеприведенное описание представляло собой общее описание вертикальных стоек, опирающихся на грунт или фундамент сооружения котла, без какого-либо подробного анализа типов стоек. Во-первых, стойки могут представлять собой, например, сплошные двутавровые балки, балки коробчатого сечения или шпренгельные балки. Во-вторых, указанные стойки могут быть использованы для подвешивания самого котла, сооружения или его вспомогательного оборудования, но они также могут быть спроектированы и созданы только для конструкций, используемых для поддержания стенок котла.
Как очевидно из вышеизложенного, предложена опорная конструкция, которая очевидно является более легкой и, следовательно, менее дорогой, чем опорные конструкции для стенок энергетического котла согласно уровню техники. Также следует отметить, что несмотря на то, что выше рассматривались стенки котла, это не означает буквально только стенки топки, но в более широком смысле все стенки, для которых необходима опора, например, в топке или в пространстве, связанном с ней, вследствие изменений давления по какой-либо причине. Таким образом, в случае некоторых определенных конструкций котлов могут быть рассмотрены стенки отделителя твердых частиц. Тем не менее, следует отметить, что в вышеприведенном описании раскрыты только некоторые предпочтительные варианты осуществления опорной конструкции и способа поддержания в соответствии с настоящим изобретением, которые никоим образом не приведены для ограничения объема изобретения, который раскрыт в приложенной формуле изобретения.
Формула изобретения
1. Способ поддержания стенок (12) топки (10) теплоэнергетического котла, при котором подвешивают топку (10) на опорной плоскости верхней части стальных конструкций, специально предназначенных для этого, и поддерживают стенки (12), образованные из водяных труб, горизонтально, по меньшей мере, посредством опорных стоек (22), расположенных, по существу, перпендикулярно водяным трубам, и вертикальных стоек (24), расположенных снаружи опорных стоек (22) и прикрепленных к грунту или фундаменту сооружения котла, отличающийся тем, что поддерживают, по меньшей мере, две из стенок (12), расположенных с противоположных сторон топки (10), на вертикальных стойках (24) посредством балок (26), прикрепленных к стенкам (12) параллельно водяным трубам, и посредством средств (28) крепления, расположенных между балками (26) и вертикальными стойками (24), таким образом, что нагрузки, направленные перпендикулярно стенкам (12), передаются посредством вертикальных стоек (24) к внутренним напряжениям, по меньшей мере, одной жесткой плоскости (30), окружающей котел и прикрепленной к вертикальным стойкам (24).
2. Способ по п.1, отличающийся тем, что опорные стойки (22) прикрепляют к наружной поверхности балок (26).
3. Способ по п.2, отличающийся тем, что опорные стойки (22) присоединяют к вертикальным стойкам (24) группами по две или более опорных стоек.
4. Способ по п.1, отличающийся тем, что стенки (12) опираются с возможностью перемещения на группы из двух или более опорных стоек (22).
5. Способ по п.4, отличающийся тем, что обеспечивают перемещение, вызванное тепловым расширением котла, между стенками (12) и каждой группой опорных стоек (22).
6. Способ по п.3, отличающийся тем, что обеспечивают перемещение, вызванное тепловым расширением котла, между вертикальными стойками (24) и каждой группой опорных стоек (22).
7. Устройство для поддержания водотрубных стенок (12) топки (10) теплоэнергетического котла, при этом топка (10) подвешена на опорной плоскости верхней части стальных конструкций, специально предназначенных для этого, при этом устройство содержит опорные стойки (22), расположенные, по существу, перпендикулярно водяным трубам для поддержания стенок, отличающееся тем, что оно также содержит вертикальные стойки (24), расположенные снаружи опорных стоек на сторонах котла и прикрепленные к грунту или фундаменту сооружения котла, и, по меньшей мере, одну жесткую плоскость (30), окружающую котел и прикрепленную к вертикальным стойкам (24), при этом, по меньшей мере, две из стенок (12), расположенных на противоположных сторонах котла, поддержаны на вертикальных стойках (24) посредством балок (26), прикрепленных к стенкам (12) параллельно водяным трубам, и посредством средств (28) крепления, расположенных между балками (26) и вертикальными стойками (24), таким образом, что нагрузки, направленные перпендикулярно стенкам (12), передаются посредством вертикальных стоек (24) к внутренним напряжениям, по меньшей мере, одной жесткой плоскости (30).
8. Устройство по п.7, отличающееся тем, что средства (28) крепления выполнены с возможностью обеспечения перемещения балок (26) и стоек (24) относительно друг друга, обусловленного изменением температуры котла.
9. Устройство по п.8, отличающееся тем, что средства (28) крепления, обеспечивающие перемещение вертикальных балок (26) и стоек (24) относительно друг друга, образованы из пары штифт и паз, в результате чего направление движения штифта (38) в пазу соответствует направлению теплового движения котла.
10. Устройство по п.8, отличающееся тем, что средства (28) крепления, обеспечивающие перемещение вертикальных балок (26) и стоек (24) относительно друг друга, образованы роликом или роликами и наклонной плоскостью, при этом направление наклонной плоскости соответствует направлению теплового движения.
11. Устройство по любому из пп.7-10, отличающееся тем, что опорные стойки (22) прикреплены к стенкам (12) группами по несколько опорных стоек посредством балок (26).
12. Устройство по п.11, отличающееся тем, что опорные стойки (22) опираются на стойки (24) посредством балок (26).
13. Устройство по п.7, отличающееся тем, что, по меньшей мере, одна жесткая плоскость (30) образована шпренгельной конструкцией, окружающей энергетический котел.
РИСУНКИ
|
|