|
|
(21), (22) Заявка: 2008149198/06, 12.12.2008
(24) Дата начала отсчета срока действия патента:
12.12.2008
(46) Опубликовано: 10.02.2010
(56) Список документов, цитированных в отчете о поиске:
SU 1314179 А1, 30.05.1987. RU 2066017 С1, 27.08.1996. RU 2208195 С1, 10.07.2003. US 3563276 A, 16.02.1971. US 6217688 B1, 17.04.2001. CA 624433 A, 25.07.1961. US 3141478 A, 21.07.1964.
Адрес для переписки:
606000, Нижегородская обл., г. Дзержинск, ФГУП “НИИ полимеров”, директору по научным исследованиям и разработкам В.Б. Мозжухину
|
(72) Автор(ы):
Смирнов Владимир Сергеевич (RU), Парахина Нина Николаевна (RU), Хамидулова Зякия Сайбасаховна (RU), Аронович Довид Азриэлевич (RU), Мурох Александр Фавельевич (RU), Синеоков Александр Петрович (RU), Милов Владимир Иванович (RU), Князев Евгений Фёдорович (RU), Луконин Вадим Павлович (RU)
(73) Патентообладатель(и):
Федеральное государственное унитарное предприятие “Научно-исследовательский институт химии и технологии полимеров имени академика В.А. Каргина с опытным заводом” (ФГУП “НИИ полимеров”) (RU)
|
(54) СПОСОБ РЕМОНТА ДЕЙСТВУЮЩЕГО ТРУБОПРОВОДА
(57) Реферат:
Изобретение относится к ремонту действующего трубопровода, транспортирующего газ или жидкость под давлением до 1,6 МПа. На участок трубопровода с локальным повреждением (в виде свища) устанавливают дренажную трубку с проходным отверстием не менее 6 мм, наматывают по обе стороны от дренажной трубки не менее трех слоев бандажной тканевой ленты, пропитанной двухсоставным адгезивом и заглушают дренажную трубку. Используемую бандажную ленту пропитывают сначала одной составной частью адгезива, а непосредственно перед обмоткой второй его частью, инициируя отверждение адгезива в процессе намотки ленты на поврежденный участок трубы. Дренажную трубку заглушают механически «глухой» гайкой, болтом или винтом. Возможно нагнетание в дренажную трубку герметика до прекращения выхода газа или жидкости с последующей ее заглушкой. Технический результат: повышение прочности и надежности ремонта трубы, осуществляемого на действующем трубопроводе. 2 з.п. ф-лы, 9 ил.
Изобретение относится к ремонту действующего трубопровода, транспортирующего газ или жидкость под давлением до 1,6 МПа.
Повреждение трубопроводов, несущих газ, нефть или иные продукты, – явление частое. Это вызвано постоянным воздействием на трубопровод коррозии, различных напряжений, возникающих при выполнении сварочно-монтажных работ, изменениями в несущих конструкциях трубопроводов, а также механическими повреждениями в процессе эксплуатации. Повреждение трубопроводов приводит к большим энергетическим и финансовым потерям, нарушениям технологических процессов и к аварийным ситуациям.
Наиболее распространенные способы ремонта поврежденных трубопроводов осуществляются при остановке подачи транспортируемого продукта или при значительном снижении давления их транспортирования.
Перед авторами изобретения стояла задача разработки способа ремонта трубопровода без остановки подачи транспортируемого продукта.
Известны способы ремонта трубопровода путем обмотки поврежденного участка трубы бандажной тканевой лентой, пропитанной клеевой композицией.
Так, известен способ ремонта трубопровода с локальными дефектами без остановки перекачки продукта (патент РФ 2066017, F16L 55/18, опубл. 27.08.1996 г.), который заключается в том, что на поверхность трубы наносится клеевой синтетический состав, например, эпоксидной смолы, далее на клеевой состав наносится специальная синтетическая прокладка, например, из полиамида, имеющая большое влагопоглощение. Поверх синтетической прокладки на клеевой основе наматывается бандажная лента из стеклопластика. Между слоями бандажной ленты выборочно поперечными полосами наносится клей.
Этот способ не дает возможности осуществить качественный ремонт на действующем трубопроводе. Получаемое бандажное покрытие ненадежное и недолговечное, поскольку синтетическая прокладка не сдерживает давления.
Известен также способ устранения течи трубопровода (Авторское свидетельство СССР 1634940, F16L 55/16, опубл. 15.03.1991 г.), который заключается в следующем.
Поверхность трубы грунтуют клеевой композицией, а место течи заглушают кляпом из стеклоткани, пропитанной клеевым составом. После этого место течи обматывают стеклотканью, пропитанной клеевой композицией. Полученное бандажное покрытие пропитывают клеевой композицией и дополнительно уплотняют путем намотки с натягом виток к витку веревки на всю поверхность бандажа с последующей ее фиксацией клеевой композицией.
Основным недостатком способа является невозможность осуществления качественного ремонта под давлением подачи транспортируемого продукта, так как при заглушении места течи кляпом из стеклоткани, пропитанной клеевым составом, транспортируемый по трубопроводу газ за счет неплотной структуры стеклоткани и неотвержденной какое-то время клеевой композиции пробивает капиллярные выходы и проникает через кляп. После отверждения клеевого состава эти проходы остаются. То же самое происходит с последующей обмоткой ремонтируемого участка.
Известен способ устранения течи во фланцевом соединении трубы на действующем трубопроводе (патент США 6217688, F16L 55/16, опубл. 17.04.2001 г.), заключающийся в том, что место течи обматывают гибким эластичным листом, например полиэтиленовым, в него вставляют трубку, которую закрепляют на трубе, и затем покрывают вручную лист с трубкой отверждающимся материалом, таким как эпоксидная смола, а трубку заглушают.
Недостатками способа являются трудоемкость способа и невозможность устранения дефекта при наличии зазора между фланцами. Кроме этого, применение эпоксидного покрытия в естественных условиях ограничено температурой окружающей среды.
Наиболее близким по технической сущности к предлагаемому изобретению является способ устранения течи трубопровода по авторскому свидетельству СССР 1314179, F16L 55/16, опубл. 30.05.1987 г. – прототип.
Сущность способа заключается в следующем.
Поверхность трубы грунтуют клеевой композицией, место течи заглушают кляпом, например, из стеклоткани, пропитанной клеевым составом. После этого место течи обматывают бандажной стеклотканью со ступенчато увеличивающейся шириной, пропитанной клеевым составом. В качестве клеевой композиции используется клей «Спрут-5» на основе полиэфирной смолы. Образованный бандаж закрывают полимерной пленкой и прикатывают. Бандаж по краям фиксируют посредством проволочных скруток.
Основным недостатком данного способа является невозможность выполнения ремонтных работ на действующем трубопроводе, имеющем дефект в виде свища, через который под давлением происходит выброс газа или жидкости, так как клеевая композиция до отверждения неспособна удерживать газ от проникновения наружу. Аналогично произойдет и с последующим слоем, а после затвердевания клеевой композиции капиллярные выходы остаются независимо от количества намотанной бандажной ленты. Кроме того, клеевые композиции имеют определенную жизнеспособность, по истечении которой они теряют свои адгезионные свойства. Это создает трудности при ремонте.
Целью изобретения является повышение прочности и надежности отремонтированного участка трубы, а также обеспечение возможности выполнения ремонта на действующем трубопроводе.
Для достижения поставленной цели предлагается способ ремонта действующего трубопровода путем обмотки поврежденного участка трубы тканевой бандажной лентой, пропитанной адгезивом, в котором на поврежденный участок трубы устанавливают дренажную трубку с проходным отверстием не менее 6 мм, наматывают по обе стороны от дренажной трубки не менее трех слоев бандажной тканевой ленты, пропитанной двухсоставным адгезивом, и заглушают дренажную трубку. Используемую в способе бандажную тканевую ленту предварительно пропитывают сначала одной составной частью адгезива, а непосредственно перед обмоткой второй его частью, инициируя отверждение адгезива в процессе намотки ленты на поврежденный участок трубы.
Дренажную трубку можно заглушать механически, используя «глухую» гайку, болт или винт. В отдельных случаях ремонта возможно дополнительное нагнетание в дренажную трубку герметика до прекращения выхода газа или жидкости с последующей ее заглушкой гайкой, болтом или винтом.
В качестве бандажной тканевой ленты можно использовать киперную ленту, стеклотканевую и другие.
Предлагаемый способ ремонта поясняется чертежами, где
на фиг.1 показана часть трубопровода (1) с локальным повреждением (2) и дренажная трубка (3);
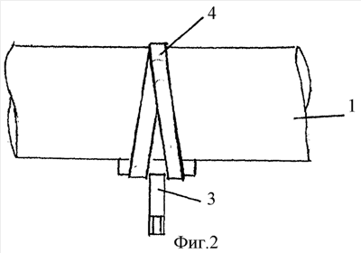
на фиг.2 показана часть трубопровода (1) с наложенной на локальное повреждение дренажной трубкой (3), которая закрепляется на трубе бандажной лентой (4);
на фиг.3 показана отремонтированная часть трубы (1), на которой на месте дефекта намотана бандажная лента (4) и установлена дренажная трубка (3) с заглушкой (5);
на фиг.4 показано фланцевое соединение (6) с нарушением герметичности между фланцами трубопровода (1) и дренажная трубка (3);
на фиг.5 показано фланцевое соединение (6) трубопровода (1) с дренажной трубкой (3), наложенной в месте нарушения герметичности, закрепленной на фланцевом соединении бандажной лентой (4);
на фиг.6 показано отремонтированное фланцевое соединение (6) с намотанной бандажной лентой (4) и дренажной трубкой (3) с заглушкой (5) на месте нарушения герметичности;
на фиг.7 показано муфтовое соединение (7) с нарушением герметичности между муфтой и трубопроводом (1) и дренажная трубка (3);
на фиг.8 показано муфтовое соединение (7) трубопровода (1) с дренажной трубкой (3), наложенной в месте нарушения герметичности, закрепленной бандажной лентой (4);
на фиг.9 показано отремонтированное муфтовое соединение (7) с намотанной бандажной лентой (4) и дренажной трубкой (3) с заглушкой (5) на месте нарушения герметичности.
Способ ремонта осуществляется следующим образом. Трубопровод (1), имеющий локальное повреждение в виде свища, освобождают от грязи, коррозии и краски. На трубопровод (1) в зону повреждения свищем накладывают дренажную трубку (3) диаметром 6 мм так, чтобы свищ совпал с отверстием в дренажной трубке. Дренажную трубку закрепляют на трубе бандажной киперной лентой (4), пропитанной двухсоставным адгезивом. Киперную ленту наматывают вправо и влево от свища на расстояние 2-3 см слоями, перекрывая предыдущие слои на две трети ширины ленты. Наматывается три слоя. После этого заглушают дренажную трубку заглушкой. В качестве заглушки при наличии наружной резьбы на дренажной трубке используется «глухая» гайка, а при внутренней резьбе – болт (винт).
Бандажная киперная лента пропитывается герметизирующим составом в два этапа. Первоначально пропитка осуществляется заблаговременно одной частью герметизирующего состава, и лента хранится на катушке в полиэтиленовой упаковке. Второй раз – непосредственно во время ремонта второй частью герметизирующего состава. Для этого используется специальное устройство, где установлена катушка с пропитанной первым составом лентой, в которое заливается второй компонент адгезионного состава непосредственно перед ремонтом и обмоткой бандажной ленты.
Предлагаемый способ ремонта действующего трубопровода был испытан на опытном заводе ФГУП «НИИ полимеров». Результаты испытаний показали, что предлагаемый по изобретению способ ремонта позволяет в кратчайший срок восстановить прочность и несущую способность трубопровода без остановки подачи и снижения рабочих параметров транспортируемого продукта.
Формула изобретения
1. Способ ремонта действующего трубопровода путем обмотки поврежденного участка трубы тканевой бандажной лентой, пропитанной адгезивом, отличающийся тем, что на поврежденный участок трубы устанавливают дренажную трубку с проходным отверстием не менее 6 мм, наматывают по обе стороны от дренажной трубки не менее трех слоев пропитанной двухсоставным адгезивом бандажной тканевой ленты, полученной предварительной пропиткой сначала одной составной частью адгезива, а непосредственно перед обмоткой второй частью адгезива, и заглушают дренажную трубку.
2. Способ ремонта действующего трубопровода по п.1, отличающийся тем, что дренажную трубку заглушают гайкой, болтом или винтом.
3. Способ ремонта действующего трубопровода по п.1, отличающийся тем, что в дренажную трубку нагнетают герметик до прекращения выхода газа или жидкости и заглушают ее гайкой, болтом или винтом.
РИСУНКИ
|
|