|
|
(21), (22) Заявка: 2008140444/11, 14.10.2008
(24) Дата начала отсчета срока действия патента:
14.10.2008
(46) Опубликовано: 10.02.2010
(56) Список документов, цитированных в отчете о поиске:
КЛИМОВ Ю.М. Детали механизмов авиационной и космической техники. – М.: МАИ, 1996, с.179. WO 9843001 A1, 01.10.1998. SU 1656248 A1, 15.06.1991. SU 667735 A1, 15.06.1979.
Адрес для переписки:
141070, Московская обл., г. Королев, ул. Исаева, 3Б, к.1, кв.7, Е.Н. Захарову
|
(72) Автор(ы):
Захаров Евгений Николаевич (RU), Богачев Юрий Вячеславович (RU)
(73) Патентообладатель(и):
Захаров Евгений Николаевич (RU)
|
(54) ВИНТОВАЯ ПЕРЕДАЧА И СПОСОБ ЕЕ ИЗГОТОВЛЕНИЯ
(57) Реферат:
Изобретения относятся к области машиностроения, а именно к винтовым передачам с элементами качения. Винтовая передача состоит из винта и гайки, на которых выполнены спиральные дорожки качения, и элементов качения с возможностью перемещения по указанным дорожкам качения. Либо винт, либо гайку выполняют из двух соосных частей с торцевыми криволинейными поверхностями, при этом на каждой торцевой криволинейной поверхности выполнена часть дорожки качения. Соосные части установлены торцевыми криволинейными поверхностями навстречу одна относительно другой с зазором и с возможностью охвата элементов качения обеими частями дорожки качения. Выборку зазора в передаче осуществляют путем прижатия в осевом направлении одной сосной части к другой сосной части. Дополнительно соосные части с торцевыми криволинейными поверхностями снабжены общей направляющей, расположенной параллельно оси вращения передачи. Решение направлено на уменьшение массы и габаритов передачи, а также повышение надежности ее работы и ресурса. 2 н. и 5 з.п. ф-лы, 3 ил.
Изобретения относятся к области машиностроения, а именно к винтовым передачам с элементами качения.
Известна винтовая передача с натягом элементов качения, содержащая ходовой винт с винтовой дорожкой качения, две гайки с винтовыми дорожками качения, элементы качения, установленные в дорожках качения винта и гаек с возможностью перемещения по указанным дорожкам качения, при этом в сопряжении элементов качения и поверхностей дорожек качения винта и гайки осуществляют, по меньшей мере, выборку зазора путем относительного перемещения гаек в противоположные стороны относительно винта (см. Детали механизмов авиационной и космической техники, под ред. Ю.М.Климова, с.179, М., «МАИ», 1996).
Недостатками известной передачи являются ее значительные продольные габариты вдоль оси вращения винта, масса передачи, а также ее малые надежность и ресурс.
Техническим результатом заявленного изобретения как в части устройства, так и способа является уменьшение массы и габаритов передачи, а также повышение надежности ее работы и ресурса.
Поставленная задача в части устройства достигается тем, что в винтовой передаче с натягом элементов качения, содержащей ходовой винт со спиральной дорожкой качения, одну гайку со спиральной дорожкой качения, элементы качения, установленные в дорожках качения винта и гайки с возможностью перемещения по указанным дорожкам качения, при этом в сопряжении элементов качения и поверхностей дорожек качения винта и гайки осуществляют, по меньшей мере, выборку зазора, согласно изобретению одну деталь передачи, либо винт, либо гайку, выполняют из двух соосных частей с торцевыми криволинейными поверхностями, при этом на каждой торцевой криволинейной поверхности выполнена часть дорожки качения, соосные части установлены торцевыми криволинейными поверхностями навстречу одна относительно другой с зазором и с возможностью охвата элементов качения обеими частями дорожки качения, а выборку зазора в передаче осуществляют путем прижатия в осевом направлении одной сосной части к другой сосной части.
Поставленная задача в части устройства достигается также тем, что соосные части с торцевыми криволинейными поверхностями могут быть снабжены общей для двух частей направляющей, расположенной параллельно оси вращения передачи.
Поставленная задача в части способа достигается тем, что при изготовлении винтовой передачи с натягом элементов качения, содержащей винт и гайку со спиральными дорожками качения, согласно изобретению либо винт, либо гайку разрезают на две соосные части по криволинейной траектории, проходящей вдоль траектории дорожки качения разрезаемой детали, элементы качения располагают вдоль линии разреза между частями разрезанной детали и стягивают указанные соосные части вдоль оси вращения винта или гайки для выборки осевого зазора в винтовой передаче.
Поставленная задача в части способа достигается также тем, что при стяжке соосных частей могут дополнительно осуществлять выборку радиального зазора в винтовой передаче.
Поставленная задача в части способа достигается также тем, что деталь могут разрезать после выполнения в ней спиральной дорожки качения, либо деталь могут сначала разрезать, соединять ее части в заданном положении с образованием зазора между торцевыми криволинейными поверхностями вдоль линии разреза, после чего выполнять в ее поверхности спиральную дорожку качения.
Поставленная задача в части способа достигается также тем, что перед разрезанием детали в ней могут формировать направляющие поверхности, контактирующие с направляющим элементом, устанавливаемым при сборке передачи.
Изобретения поясняются при помощи чертежей.
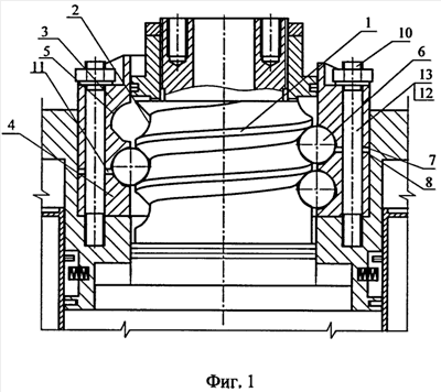
На фиг.1 показан продольный разрез винтовой передачи;
На фиг.2 – вариант выполнения с дополнительной проточкой;
На фиг.3 – наружный вид на передачу.
Описываемая передача содержит ходовой винт 1 со спиральной дорожкой 2 качения, две части 3 и 4 гайки также со спиральной дорожкой 5 качения и элементы качения 6, установленные в дорожках 2 и 5. Торцевые поверхности 7 и 8 соответственно частей 3 и 4, выполнены по криволинейной, например, спиральной траектории. При этом одна часть спиральной дорожки 5 выполнена на торцевой поверхности 7, а другая часть дорожки 5 – на торцевой поверхности 8. Обходную дорожку 9, соединяющую начало и конец дорожек 2 и 5 качения, выполняют, например, в теле гайки. Во время сборки элементы качения 6 укладывают вдоль дорожки 2 качения винта 1 и в обходной дорожке 9. Затем с обеих сторон к элементам качения 6 подводят обе части 3 и 4 гайки и стягивают между собой при помощи резьбовых соединений 10, которые могут выполнять и роль направляющих поверхностей, предотвращающих поворот части 3 относительно части 4. При стягивании частей 3 и 4 наклонные поверхности при выполнении элементов качения 6 в виде шариков выдавливают их в сторону дорожки 2 качения. Таким образом создается не только осевой натяг, но и радиальный.
В случае выполнения дорожки 2 в виде двух наклонных поверхностей реализуется четырехточечный контакт в винтовой передаче. Тогда винт 1 центрируется относительно гайки по поверхностям элементов качения 6, и при этом достаточно всего одного витка дорожек 2 и 5 качения для обеспечения устойчивого относительного положения гайки и винта 1.
Части 3 и 4 гайки изготавливают путем ее разрезания по криволинейной траектории, вдоль которой и создают зазор 11 после соединения частей 3 и 4. Для упрощения резки выполняют более широкую предварительную проточку 14, показанную на фиг.2. Гайку могут разрезать после выполнения спиральной дорожки 5. Заготовку гайки могут предварительно разрезать, затем части 3 и 4 соединяют с помощью технологических стяжек (на чертежах не показаны) с образованием зазора 11, после чего вдоль траектории зазора 11 выполняют спиральную дорожку 5 качения. Перед разрезанием гайки на части 3 и 4 желательно в еще цельной детали сформировать направляющие поверхности, например просверлить отверстие 12 вдоль оси вращения гайки. Тогда при сборке передачи части 3 и 4 займут правильное положение при установке направляющих элементов 13 в отверстия 12. Элементы 13 обеспечат жесткость собранной гайки и могут быть также использованы для стяжки соединения.
Таким образом, заявленные изобретения позволяют обеспечить минимальные габариты и массу винтовой передачи с элементами качения за счет отказа от использования в одной передаче второй гайки. При этом работа узла обеспечивается при меньшем в два раза количестве элементов качения (в известных передачах узел первой гайки передает нагрузку в одну сторону, а узел второй гайки – в другую). Меньшее количество элементов позволяет значительно снизить потери на трение в передаче, повысить ее надежность и ресурс.
Формула изобретения
1. Винтовая передача с натягом элементов качения, содержащая ходовой винт со спиральной дорожкой качения, одну гайку со спиральной дорожкой качения, элементы качения, установленные в дорожках качения винта и гайки с возможностью перемещения по указанным дорожкам качения, при этом в сопряжении элементов качения и поверхностей дорожек качения винта и гайки осуществляют, по меньшей мере, выборку зазора, отличающаяся тем, что одну деталь передачи, либо винт, либо гайку выполняют из двух соосных частей с торцевыми криволинейными поверхностями, при этом на каждой торцевой криволинейной поверхности выполнена часть дорожки качения, соосные части установлены торцевыми криволинейными поверхностями навстречу одна относительно другой с зазором и с возможностью охвата элементов качения обеими частями дорожки качения, а выборку зазора в передаче осуществляют путем прижатия в осевом направлении одной соосной части к другой соосной части.
2. Передача по п.1, отличающаяся тем, что соосные части с торцевыми криволинейными поверхностями снабжены общей направляющей, расположенной параллельно оси вращения передачи.
3. Способ изготовления винтовой передачи с натягом элементов качения, содержащей винт и гайку со спиральными дорожками качения, заключающийся в том, что либо винт, либо гайку разрезают на две соосные части по криволинейной траектории, проходящей вдоль траектории дорожки качения разрезаемой детали, элементы качения располагают вдоль линии разреза между частями разрезанной детали и стягивают указанные соосные части вдоль оси вращения винта или гайки для выборки, по меньшей мере, осевого зазора в винтовой передаче.
4. Способ по п.3, отличающийся тем, что при стяжке соосных частей дополнительно осуществляют выборку радиального зазора в винтовой передаче.
5. Способ по п.3, отличающийся тем, что деталь разрезают после выполнения в ней спиральной дорожки качения.
6. Способ по п.3, отличающийся тем, что деталь разрезают, соединяют ее части в заданном положении с образованием зазора между торцевыми криволинейными поверхностями вдоль линии разреза, после чего выполняют в ее поверхности спиральную дорожку качения.
7. Способ по п.3, отличающийся тем, что перед разрезанием детали в ней формируют направляющие поверхности, контактирующие с направляющим элементом, устанавливаемым при сборке передачи.
РИСУНКИ
|
|