|
|
(21), (22) Заявка: 2008128074/06, 11.07.2008
(24) Дата начала отсчета срока действия патента:
11.07.2008
(46) Опубликовано: 10.02.2010
(56) Список документов, цитированных в отчете о поиске:
ИВАНОВСКИЙ В.Н. и др. Скважинные насосные установки для добычи нефти. – М.: ГУП Изд.”Нефти и газа им. И.М.Губкина, 2002. RU 2116435 C1, 27.07.1998. RU 2043538 C1, 10.09.1995. RU 2105196 C1, 20.02.1998. SU 559042 A, 10.12.1977.
Адрес для переписки:
626802, Тюменская обл., Ямало-Ненецкий автономный округ, г. Ноябрьск, ул. 60 лет СССР, 68, к.201, В.Г. Гузю
|
(72) Автор(ы):
Кузнецов Олег Леонидович (RU), Гузь Виктор Геннадиевич (RU), Синицын Юрий Михайлович (RU), Жеребин Александр Михайлович (RU), Илюхин Сергей Николаевич (RU), Авакян Валерий Акопович (RU)
(73) Патентообладатель(и):
Гузь Виктор Геннадиевич (RU)
|
(54) СПОСОБ ДОБЫЧИ НЕФТИ С ИСПОЛЬЗОВАНИЕМ ШТАНГОВОГО ГЛУБИННОГО НАСОСА И СТАНОК-КАЧАЛКА ДЛЯ ЕГО ОСУЩЕСТВЛЕНИЯ (ВАРИАНТЫ)
(57) Реферат:
Изобретение относится к области нефтедобывающей промышленности и может быть использовано при эксплуатации скважин штанговыми глубинными насосами (ШГН) возвратно-поступательного действия с использованием в качестве привода станков-качалок. В способе добычи нефти частоту вращения кривошипа и согласованную с ней скорость возвратно-поступательного движения штока изменяют по синусоидальному закону, плавно ускоряя рабочий ход, при котором поступательное движение штока вверх достигает максимальной скорости при вертикальном положении шатуна и кривошипа в нижней точке. Пропорционально замедляют холостой ход, при котором поступательное движение штока вниз достигает минимальной скорости при вертикальном положении шатуна и кривошипа в верхней точке. Скорость штока в начале рабочего хода и в конце холостого хода уменьшают на величину, меньшую средней скорости возвратно-поступательного движения штока. В станке-качалке кривошипы закреплены на ободах, которые установлены с возможностью кругового движения в обрамлении роликовых опор (или роликовых подшипников), размещенных по периметрам окон. Последние выполнены в вертикальных рамах, которые закреплены с противоположных сторон опорной рамы. Редуктор и электродвигатель закреплены на раме-платформе, установленной в свою очередь на опорной раме с возможностью перемещения вдоль направления балансира. На концах выходного вала редуктора, в плоскости кругового движения ободов, насажены ступицы, наружный диаметр которых выполнен меньшим внутреннего радиуса ободов. К ступицам крепятся водила. Каждое из них имеет сквозной радиальный или наклонный паз, внутри которого размещается ролик, насаженный шарнирно на палец, запрессованный в торец соответствующего обода с опережением по направлению вращения на угол 90 градусов, а также менее или более этой величины, относительно точки крепления к ободу кривошипа. Повышается производительность нефтедобычи без ущерба для динамики процесса. 2 н. и 6 з.п.ф., 22 ил.
Изобретение относится к области нефтедобывающей промышленности и может быть использовано при эксплуатации скважин штанговыми глубинными насосами (ШГН) возвратно-поступательного действия с использованием в качестве привода станков-качалок, позволяющих с целью повышения производительности скважинных штанговых насосных установок (СШНУ) изменять скорость хода вверх-вниз в рамках каждого цикла качания устьевого штока с подвеской колонны насосных штанг, соединенных с плунжером ШГН.
Известен способ эксплуатации скважин плунжерными глубинными насосами с возможностью задания нелинейных скоростей хода вверх-вниз устьевого штока станка-качалки в пределах одного цикла качания (см. В.Н.Ивановский, В.И.Дарищев, А.А.Сабиров, В.С.Каштанов, С.С.Пекин. Скважинные насосные установки для добычи нефти. М: ГУП Изд-во «Нефть и газ» РГУ нефти и газа им. И.М.Губкина, 2002 [1]).
Недостатком этого способа является отсутствие увязки с конкретным законом изменения нелинейных скоростей подъема-опускания устьевого штока станка-качалки и продолжительность каждого цикла качания.
Известен станок-качалка с приводом Mark II (см. [1]), снабженный дезаксиальным механизмом, в котором с целью увеличения «тяги» рычажной системы траверса станка-качалки расположена перед редуктором, близко от головки балансира, а особая конструкция кривошипа и его расположение позволяют изменять приложение момента, создаваемого кривошипом, по отношению к моменту, создаваемому весом колонны насосных штанг.
Этому устройству присущи указанные выше недостатки, которые ограничивают производительность нефтедобычи и мотивацию производственников к более широкому применению глубинных штанговых насосов со станками-качалками в качестве привода.
Наиболее близким к изобретению в части способа является эксплуатация скважин плунжерными глубинными насосами фирмы «Lufkin» (см. [1]), при которой время хода устьевого штока вверх увеличено за счет понижения ускорения в начале хода вверх. Такое решение позволяет снизить перегрузки на привод и на насосные штанги в наиболее напряженный период цикла, каким является начало хода вверх. Недостатками этого способа являются:
а) отсутствие увязки с конкретным законом снижения ускорения в начале хода вверх, как и в случае с аналогами;
б) снижение производительности насосной установки вследствие увеличения времени хода вверх.
Наиболее близким к изобретению устройством является станок-качалка с асинхронным электродвигателем, работой которого управляют с помощью станции управления СУС Триол 01 (см. [1]). Данный привод обеспечивает плавное, бесступенчатое регулирование частотой вращения асинхронного электродвигателя мощностью от 3 до 37 кВт в пределах от 0 до номинального значения (1500 об/мин) и, как результат, нелинейные скорости подъема-опускания штока.
Недостатки этого устройства:
а) ограниченность в изменении частоты вращения электродвигателя в рамках каждого цикла качания – до 40%;
б) перегрузка и перегрев асинхронного электродвигателя по мере отклонения частоты вращения от номинального значения;
в) вышеприведенные неблагоприятные условия эксплуатации могут приводить к возникновению вибраций и преждевременному выходу оборудования из строя.
Задача изобретения – создание способа добычи нефти и станка-качалки для его осуществления, лишенных недостатков аналогов и прототипа.
Техническим результатом, достигаемым при использовании предложенной группы изобретений, является повышение производительности нефтедобычи без ущерба для динамики процесса.
Это достигается тем, что в способе добычи нефти с использованием ШГН, включающем изменение частоты вращения кривошипа станка-качалки и согласованное с ним через изменение угловой скорости качания балансира изменение скорости возвратно-поступательного движения устьевого штока, согласно предложенному частоту вращения кривошипа и согласованную с ней скорость возвратно-поступательного движения устьевого штока изменяют по синусоидальному закону, плавно ускоряя рабочий ход, при котором поступательное движение штока вверх достигает максимальной скорости при вертикальном положении шатуна и кривошипа в нижней точке, и пропорционально замедляя холостой ход, при котором поступательное движение штока вниз достигает минимальной скорости при вертикальном положении шатуна и кривошипа в верхней точке, при этом скорость штока в начале рабочего хода и в конце холостого хода уменьшают на величину, меньшую средней скорости возвратно-поступательного движения штока.
Предложенная совокупность признаков способа добычи нефти обеспечивает достижение указанного технического результата, что разъяснено ниже.
Изменение скоростей движения кривошипа и устьевого штока по синусоидальному закону позволяет значительно, но плавно, по синусоидальной зависимости, увеличивать скорость рабочего хода до величин, не наносящих ущерба динамике процесса в целом, с последующим уменьшением скорости при холостом ходе вниз по той же синусоидальной зависимости. В результате обеспечивается значительное (до двух раз и более) превышение средней частоты вращения кривошипа и, соответственно, средней скорости возвратно-поступательного движения штока с канатной подвеской относительно типовых значений этих величин, принятых по традиционным технологиям. Кроме того, достигается значительное уменьшение перегрузок на насосные штанги и привод в целом, которые имеют место в конце холостого хода вниз и в начале рабочего хода вверх при использовании традиционных технологий.
Уменьшение скорости движения штока в начале рабочего хода вверх и в конце холостого хода вниз на величину, меньшую средней скорости возвратно-поступательного движения, снижает неблагоприятные динамические нагрузки, обеспечивая тем самым более высокую производительность по сравнению с прототипом. Происходит это следующим образом. В начале рабочего хода, когда шток с канатной подвеской уже начинает свое движение вверх, плунжер насоса внизу колонны насосных штанг продолжает еще некоторое время двигаться вниз за счет собственного веса и инерции движения всей массы насосных штанг.Тем самым создаются циклические пиковые динамические нагрузки, сглаживание которых может эффективно осуществлять предлагаемый способ за счет некоторого снижения (на величину, указанную выше) скорости при завершении холостого хода и в начале рабочего хода в нижней точке расположения штока. Данное снижение скорости штока в полной мере компенсируется ускорением при плавном увеличении скорости вверх по синусоидальному закону при уже установившейся динамике.
Технически решение поставленной задачи реализуется за счет введения в кинематику типового станка-качалки дополнительного звена, обеспечивающего смещение оси вращения выходного вала редуктора относительно оси вращения кривошипа. Указанное смещение образует эксцентриситет, изменение величины которого влечет изменение скорости вращения кривошипа и связанной с ней скорости возвратно-поступательного движения устьевого штока. Соответственно, с увеличением эксцентриситета увеличивается частота качаний балансира, и, как следствие, общая производительность установки в целом. В предложенном изобретении дополнительное звено может быть выполнено двумя вариантами: в режиме «толкающего» приложения крутящего момента с установкой жесткого звена в виде водила и ролика, шарнирно закрепленного на торце обода, а также в режиме «тянущего» приложения крутящего момента с установкой гибкого звена в виде тянущего каната.
Технический результат достигается тем, что в станке-качалке для добычи нефти с использованием штангового глубинного насоса, включающем опорную раму, стойку, на которой с помощью шарнира смонтирован балансир, имеющий, с одной стороны, головку с канатной подвеской и устьевым штоком, а, с другой стороны, – шарнирно подвешенную траверсу с разнесенными по обе стороны стойки шатунами, каждый из которых соединен с кривошипом, на котором крепится противовес, а также редуктор, входной вал которого посредством клиноременной передачи соединен с асинхронным электродвигателем, согласно изобретению кривошипы закреплены на ободах, которые установлены с возможностью кругового движения в обрамлении роликовых опор (или роликовых подшипников), размещенных по периметрам окон, выполненных в вертикальных рамах, которые закреплены с противоположных сторон опорной рамы, причем редуктор и электродвигатель закреплены на раме-платформе, установленной на опорной раме с возможностью перемещения вдоль направления балансира, а на концах выходного вала редуктора в плоскости кругового движения ободов насажены ступицы, наружный диаметр которых выполнен меньшим внутреннего радиуса ободов, при этом к ступицам крепятся водила, каждое из которых имеет сквозной радиальный или наклонный паз, внутри которого размещается ролик, насаженный шарнирно (с помощью подшипника) на палец, запрессованный в торец соответствующего обода с опережением по направлению вращения на угол 90 градусов, а также менее или более этой величины, относительно оси крепления к ободу кривошипа.
Сквозные радиальные пазы водил могут иметь на концах, удаленных от оси вращения ступицы, плавные загибы против направления вращения.
Сквозные наклонные пазы водил могут быть выполнены с отклонением по направлению вращения конца паза, отдаленного от оси вращения ступицы.
Сквозные пазы водил выполнены криволинейными либо в виде дуги окружности, либо в виде иной плавной геометрической зависимости.
Сквозные пазы водил выполнены в виде сочетания прямолинейных и криволинейных участков.
Внутри сквозного паза каждого из водил вместо ролика может быть размещен ползун, насаженный также через шарнир (например, подшипник качения) на палец, запрессованный в торец соответствующего обода.
Технический результат достигается также тем, что в станке-качалке для добычи нефти с использованием штангового глубинного насоса, включающем опорную раму, стойку, на которой с помощью шарнира смонтирован балансир, имеющий, с одной стороны, головку с канатной подвеской и устьевым штоком, а, с другой стороны, -шарнирно подвешенную траверсу с разнесенными по обе стороны траверсы шатунами, соединенными с кривошипом, на котором крепится противовес, а также редуктор, входной вал которого посредством клиноременной передачи соединен с электродвигателем, согласно изобретению кривошипы закреплены на ободах, которые установлены с возможностью кругового движения в обрамлении роликов (или роликовых подшипников), размещенных по периметрам окон, выполненных в вертикальных рамах, которые жестко прикреплены с противоположных сторон опорной рамы, причем редуктор и электродвигатель жестко закреплены на раме-платформе, установленной на опорной раме с возможностью перемещения вдоль направления балансира, а на концах выходного вала редуктора в плоскости кругового движения ободов насажены ступицы, наружный диаметр которых выполнен меньшим внутреннего радиуса ободов, при этом по наружному диаметру каждой из ступиц выполнен кольцевой желоб, в который уложен тянущий канат, одним концом прикрепленный шарнирно к ступице, а другим концом – соединенный с соответствующим ободом также шарниром, установленным с опережением по направлению вращения на угол 90 градусов, а также менее или более этой величины, относительно точки крепления к ободу кривошипа.
Тянущие канаты, уложенные в кольцевые желоба соответствующих ступиц, предварительно навернуты на ступицы на величину, обеспечивающую равномерную передачу нагрузки по дуге охвата наружных диаметров ступиц в процессе натяжения, но не превышающую полный периметр наружной окружности ступиц.
Радиусы кольцевых желобов в своем поперечном сечении, выполненные по наружным диаметрам каждой из ступиц, соответствуют радиусам тянущих канатов с необходимым зазором для беспрепятственной укладки и плотного прилегания к желобу.
Предложенная совокупность признаков устройства для добычи нефти обеспечивает достижение указанного технического результата следующим образом.
Дополнение устройства, с одной стороны, ободами, установленными с возможностью вращения в обрамлении роликовых опор (или роликовых подшипников), размещенных по периметрам окон, выполненных в вертикальных рамах, которые жестко прикреплены с противоположных сторон к стационарно установленной на сваях опорной раме, с закреплением на ободах кривошипов, а с другой стороны, – крепление редуктора и электродвигателя на раме-платформе, установленной с возможностью перемещения по опорной раме вдоль балансира, с одновременной установкой на концах выходного вала редуктора ступиц обеспечивает возможность смещения осей вращения этих ступиц относительно осей вращения кривошипов. Таким образом образуется эксцентриситет, изменение которого дает возможность, через изменение частоты качаний балансира, изменять общую производительность УШГН.
Дополнение устройства водилами, закрепленными на ступицах или, как вариант, тянущими канатами обеспечивает вращение ободов с частотой, изменяемой по синусоидальному закону.
Условие опережения по направлению вращения точки крепления к парным ободам пальца, на который шарнирно насажен ролик, размещенный в радиальном сквозном пазу водила (или, как вариант, точки шарнирного крепления тянущего каната с ободом), относительно оси крепления на соответствующем ободе кривошипа, обеспечивает относительное уменьшение скорости рабочего хода на его финише при опережении на угол, меньший 90 градусов, и соответственно – увеличение скорости рабочего хода на его финише при опережении на угол, больший 90 градусов.
Выполнение сквозных радиальных пазов водил с плавным загибом против направления вращения на удаленном от оси ступицы конце позволяет снижать скорость рабочего хода устьевого штока на финише рабочего хода и соответствующего плавного снижения частоты вращения обода еще при подходе головки балансира к своей высшей точке качания.
Выполнение наклонными сквозных пазов водил с отклонением по мере удаления от оси ступиц по направлению вращения позволяет дополнительно увеличивать среднюю частоту вращения обода относительно ступицы и соответственно повышать производительность добычи нефти.
Выполнение сквозных пазов водил криволинейными либо в виде дуги окружности, либо в виде иной плавной геометрической зависимости, либо в виде сочетания прямолинейных и криволинейных участков позволяет дополнительно совершенствовать динамику процесса качания.
Выполнение внутри сквозного (как радиального, так и наклонного) паза каждого из водил вместо ролика ползуна, насаженного также через шарнир (например, подшипник качения) на палец, запрессованный в торец соответствующего обода, позволяет уменьшать контактные напряжения, поскольку ползун совершает скольжение всей своей прилегающей боковой поверхностью по набегающей внутренней поверхности сквозного паза водила в процессе передачи крутящего момента.
Тянущие канаты, уложенные в кольцевые желоба ступиц, предварительно навернуты на ступицы на величину, обеспечивающую равномерную передачу нагрузки по дуге охвата наружных диаметров ступиц в процессе натяжения, но не превышающую полный периметр наружной окружности ступицы, для того, чтобы исключить наматывание каждого каната самого на себя в процессе каждого полного оборота относительно собственных осей вращения. Кроме того, радиус проточки желобов на ступицах в поперечном сечении должен соответствовать радиусу тянущего каната с необходимым зазором для беспрепятственной укладки и плотного прилегания к желобу, что обеспечивает плавное перераспределение нагрузки по дуге контакта.
Перечисленные отличительные признаки не известны в применяемых способах нефтедобычи с использованием глубинных штанговых насосов и станков-качалок для их осуществления.
Сущность предложенной группы изобретений поясняется чертежами, где изображены:
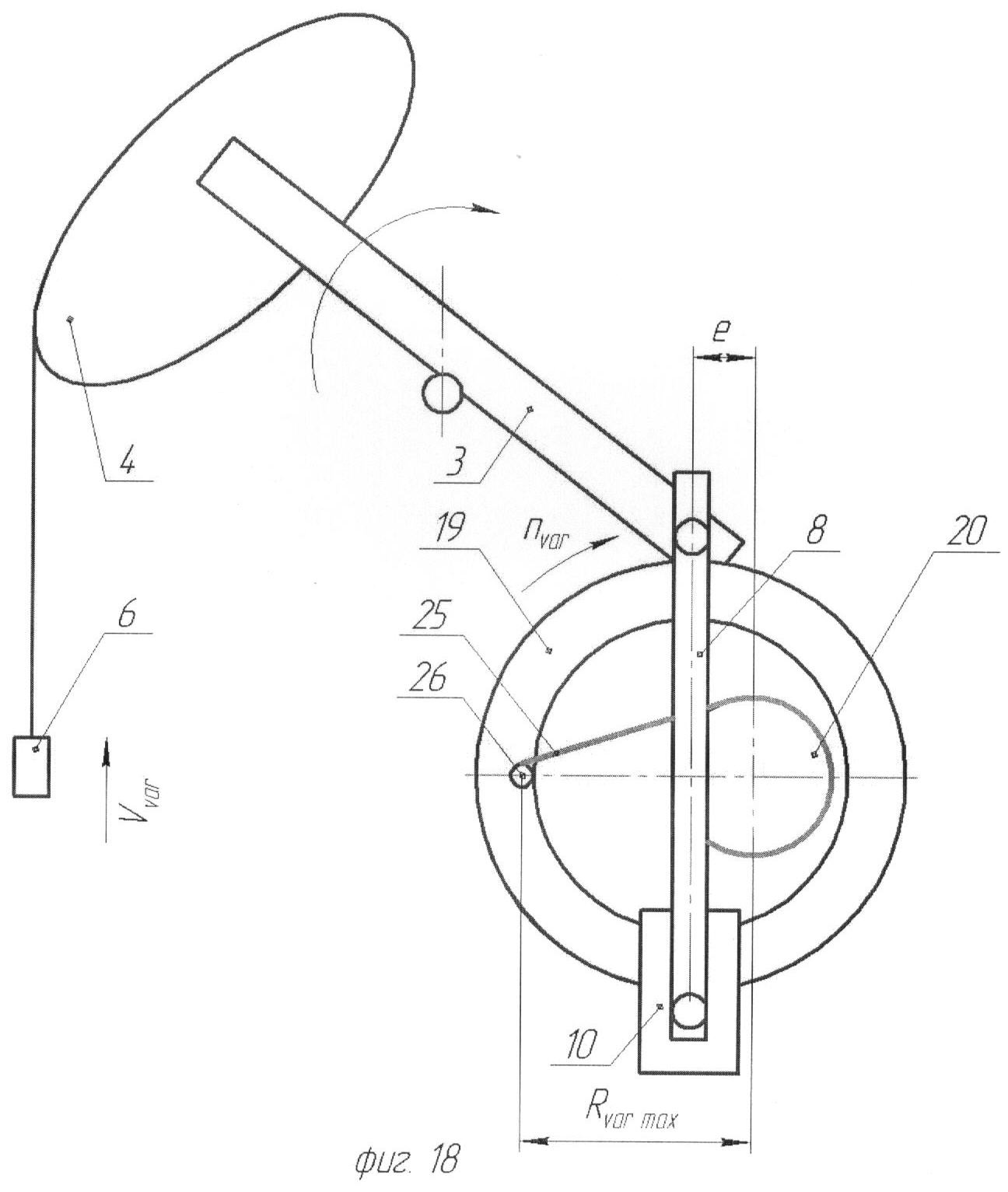
на фиг.1 – вид сбоку станка-качалки со смещением оси вращения ступицы, насаженной на выходной вал редуктора, относительно оси вращения обода, жестко соединенного с кривошипом, в сторону головки балансира на величину эксцентриситета е (вариант использования водила);
на фиг.2 – вид сбоку станка-качалки со смещением ступицы, насаженной на выходной вал редуктора, относительно обода, жестко соединенного с кривошипом, в сторону головки балансира на величину эксцентриситета е (вариант использования тягового каната);
на фиг.3 – вид сзади станка-качалки (вариант использования тягового каната);
на фиг.4 – графическая зависимость изменения во времени t частоты вращения nvar по часовой стрелке обода и расстояния Rvar от точки крепления к ободу ролика, воспринимающего крутящий момент от водила (или тягового каната) до оси вращения ступицы;
на фиг.5 – графическая зависимость изменения во времени t скорости Vvar возвратно-поступательного перемещения канатной подвески с устьевым штоком и частоты вращения по часовой стрелке обода nvar;
на фиг.6 – схема расположения установленного на ободе ролика, размещенного внутри сквозного радиального паза водила, при минимальном расстоянии Rvar min от оси ролика до оси вращения ступицы и соответствующее расположение балансира с головкой, шатуна и кривошипа; на фиг.6а – график изменения частоты вращения обода nvar во времени t при позиционировании согласно фиг.6;
на фиг.7 – схема расположения установленного на ободе ролика, размещенного внутри сквозного радиального паза водила, при повороте обода по часовой стрелке на 90 градусов относительно расположения на фиг.6 и соответствующее расположение балансира с головкой, шатуна и кривошипа; на фиг.7а – график изменения частоты вращения обода nvar во времени t при позиционировании согласно фиг.7;
на фиг.8 – схема расположения установленного на ободе ролика, размещенного внутри сквозного радиального паза водила, при повороте обода по часовой стрелке на 180 градусов относительно расположения на фиг.6, при котором расстояние от оси ролика до оси вращения ступицы имеет максимальное значение Rvarmax, и соответствующее расположение балансира с головкой, шатуна и кривошипа; на фиг.8а – график изменения частоты вращения обода nvar во времени t при позиционировании согласно фиг.8;
на фиг.9 – схема расположения установленного на ободе ролика, размещенного внутри сквозного радиального паза водила, прикрепленного к ступице, при повороте обода по часовой стрелке на 270 градусов относительно расположения на фиг.6 и соответствующее расположение балансира с головкой, шатуна и кривошипа; на фиг.9а -график изменения частоты вращения обода nvar во времени t при позиционировании согласно фиг.9;
на фиг.10 – схема расположения установленного на ободе ролика, размещенного внутри сквозного радиального паза водила, при повороте обода по часовой стрелке на 360 градусов относительно расположения на фиг.6 и соответствующее расположение балансира с головкой, шатуна и кривошипа; на фиг.10а – график изменения частоты вращения обода nvar во времени t при позиционировании согласно фиг.10;
на фиг.11 – схема расположения установленного на ободе ролика, размещенного внутри сквозного наклонного паза водила, прикрепленного к ступице, при минимальном расстоянии Rvar min от оси ролика до оси вращения ступицы; на фиг.11а – схема расположения установленного на ободе ролика, размещенного внутри сквозного наклонного паза водила, при повороте обода по часовой стрелке на 180 градусов, при котором расстояние от оси ролика до оси вращения ступицы имеет максимальное значение Rvar max;
на фиг.12 – схема расположения установленного на ободе ролика, размещенного внутри сквозного радиального паза водила с его плавным загибом в сторону,
противоположную вращению, при минимальном расстоянии Rvarmin от оси ролика до оси вращения ступицы; на фиг.12а – схема расположения установленного на ободе ролика, размещенного внутри сквозного радиального паза водила с его плавным загибом в сторону, противоположную вращению, при повороте обода по часовой стрелке на 180 градусов, при котором расстояние от оси ролика до оси вращения ступицы имеет максимальное значение Rvarmax;
на фиг.13 – схема расположения установленного на ободе ползуна, расположенного внутри сквозного наклонного паза водила, при минимальном расстоянии Rvar min от оси ползуна до оси вращения ступицы; на фиг.13а – схема расположения установленного на ободе ползуна, расположенного внутри сквозного радиального паза водила, при повороте обода по часовой стрелке на 180 градусов, при котором расстояние от оси ползуна до оси вращения ступицы имеет максимальное значение Rvarmax;
на фиг.14 – схема расположения шарнирного соединения тянущего каната на ободе при минимальном расстояния Rvar min от шарнирного соединения до оси вращения ступицы и соответствующее расположение балансира с головкой, шатуна и кривошипа; на фиг.14а – график изменения частоты вращения обода nvar во времени t при позиционировании согласно фиг.14;
на фиг.15 – схема расположения шарнирного соединения тянущего каната на ободе при повороте обода по часовой стрелке на 45 градусов относительно фиг.14 и соответствующее расположение балансира с головкой, шатуна и кривошипа; на фиг.15а – график изменения частоты вращения обода nvar во времени t при позиционировании согласно фиг.15;
на фиг.16 – схема расположения шарнирного соединения тянущего каната на ободе при повороте обода по часовой стрелке на 90 градусов относительно фиг.14, и соответствующее расположение балансира с головкой, шатуна и кривошипа; на фиг.16а – график изменения частоты вращения обода nvar во времени t при позиционировании согласно фиг.16;
на фиг.17 – схема расположения шарнирного соединения тянущего каната на ободе при повороте обода по часовой стрелке на 135 градусов относительно фиг.14 и соответствующее расположение балансира с головкой, шатуна и кривошипа; на фиг.17а – график изменения частоты вращения обода nvar во времени t при позиционировании согласно фиг.17;
на фиг.18 – схема расположения шарнирного соединения тянущего каната на ободе при повороте обода по часовой стрелке на 180 градусов относительно фиг.14 и соответствующее расположение балансира с головкой, шатуна и кривошипа; на фиг.18а – график изменения частоты вращения обода nvar во времени t при позиционировании согласно фиг.18;
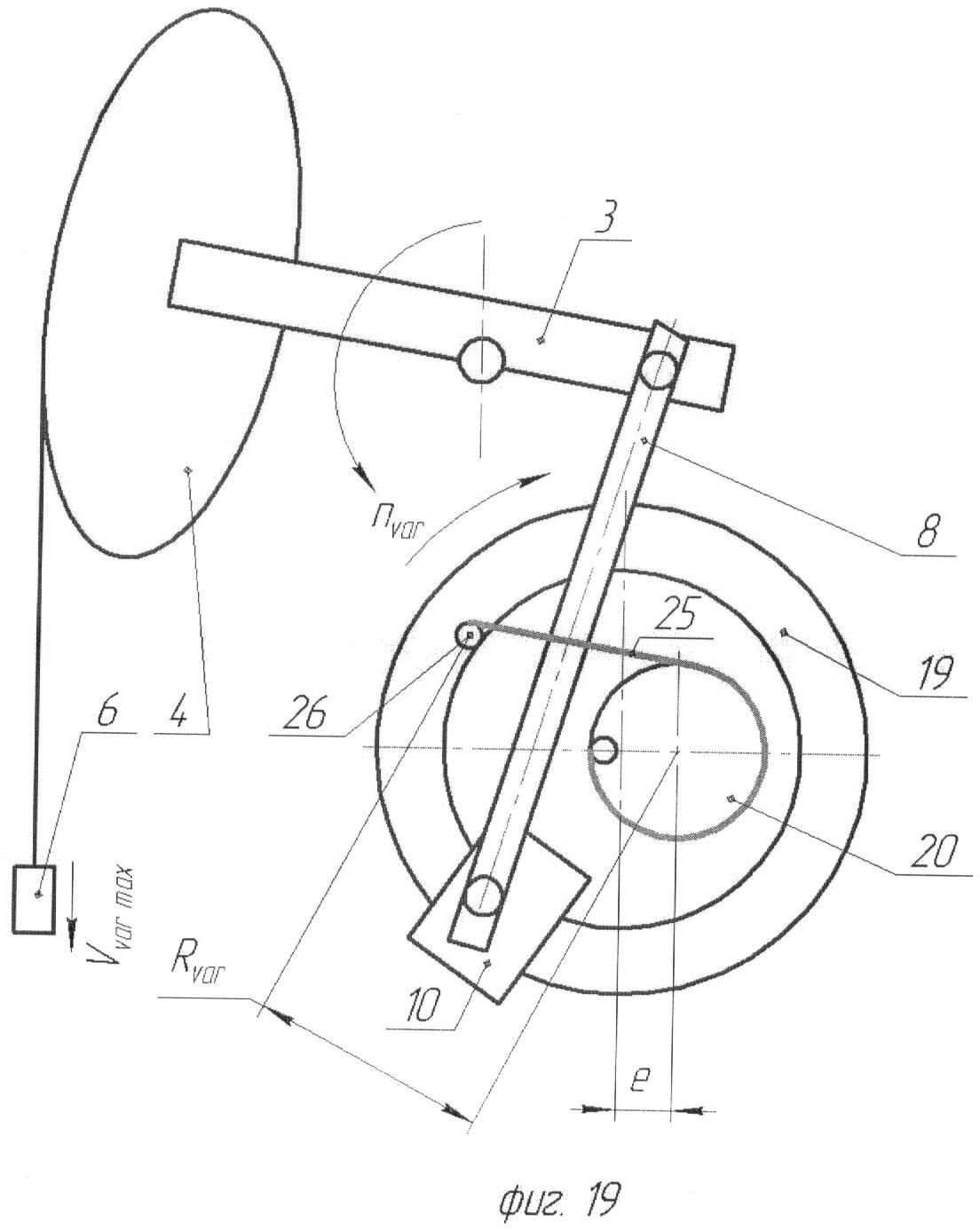
на фиг.19 – схема расположения шарнирного соединения тянущего каната на ободе при повороте обода по часовой стрелке на 225 градусов относительно фиг.14 и соответствующее расположение балансира с головкой, шатуна и кривошипа; на фиг.19а – график изменения частоты вращения обода nvar во времени t при позиционировании согласно фиг.19;
на фиг.20 – схема расположения шарнирного соединения тянущего каната на ободе при повороте обода по часовой стрелке на 270 градусов относительно фиг.14 и соответствующее расположение балансира с головкой, шатуна и кривошипа; на фиг.20а – график изменения частоты вращения обода nvar во времени t при позиционировании согласно фиг.20;
на фиг.21 – схема расположения шарнирного соединения тянущего каната на ободе при повороте обода по часовой стрелке на 315 градусов относительно фиг.14 и соответствующее расположение балансира с головкой, шатуна и кривошипа; на фиг.21а – график изменения частоты вращения обода nvar во времени t при позиционировании согласно фиг.21;
на фиг.22 – схема расположения шарнирного соединения тянущего каната на ободе при повороте обода по часовой стрелке на 360 градусов относительно фиг.14 и соответствующее расположение балансира с головкой, шатуна и кривошипа; на фиг.22а – график изменения частоты вращения обода nvar во времени t при позиционировании согласно фиг.22.
Предлагаемый станок-качалка (см. фиг.1, 2, 3) содержит опорную раму 1, на которой жестко закреплена стойка 2. Сверху стойки 2 шарнирно установлен балансир 3. На одном конце балансира 3 установлена головка 4, к которой крепится канатная подвеска 5 с устьевым штоком 6. На противоположном конце балансир 3 шарнирно через посредство траверсы 7 соединен с шатунами 8, которые разнесены по обе стороны стойки 2. В свою очередь каждый из шатунов 8 соединен с кривошипами 10, на которых крепятся с возможностью относительного смещения противовесы 9.
Входной вал редуктора 11 посредством клиноременной передачи 12 соединен с асинхронным электродвигателем 13, который и приводит в движение станок-качалку через вышеперечисленные узлы и передаточные механизмы. Редуктор 11 и электродвигатель 13 жестко установлены на раме-платформе 14, которая установлена на опорной раме 1 с возможностью перемещения вдоль направления балансира 3. Фиксирование относительного смещения передвижной рамы-платформы 14 вдоль опорной рамы 1 при установке расчетной величины эксцентриситета e осуществляют с помощью позиционирующей планки 15 с использованием установочных пальцев 16 с последующим болтовым креплением рамы-платформы 14 к опорной раме 1.
К опорной раме 1 жестко крепятся также две разнесенные по обе стороны от редуктора 11 вертикальные рамы 17 с выполненными в них круглыми окнами, по периметру которых размещены роликовые опоры 18. В окна вертикальных рам 17 с возможностью вращения в обрамлении роликовых опор 18 установлены ободы 19 с обеспечением соосности ободов между собой и расположения осей ободов в одной плоскости с осью шарнирного соединения балансира 3 с шатунами 8.
К ободам 19 жестко крепятся кривошипы 10, которые в типовом станке-качалке крепятся на выходном валу редуктора непосредственно. В предлагаемом же станке-качалке на выходном валу редуктора 11, на противоположных концах вала, насажены ступицы 20, наружный диаметр которых выполнен меньшим внутреннего радиуса ободов 19 и которые вращаются в плоскостях кругового движения соответствующих ободов.
В предлагаемом станке-качалке предусмотрены два варианта исполнения обеспечивающего эксцентриситет дополнительного звена: толкающее («жесткое») – с установкой водила и тянущее (гибкое) – с установкой тянущего каната.
Так, согласно варианту толкающего дополнительного звена к торцам ступиц 20 крепятся водила 21, каждое из которых имеет сквозной паз 22. Сквозные пазы 22 могут быть выполнены с различной конфигурацией: радиальными; радиальными с плавным загибом против направления вращения на удаленном от оси ступицы 20 конце; наклонными с отклонением по направлению вращения конца паза 22, отдаленного от оси вращения ступицы 20; криволинейными либо в виде дуги окружности, либо в виде иной плавной геометрической зависимости; в виде сочетания прямолинейных и криволинейных участков.
Внутри каждого из сквозных пазов 22 размещается ролик 23, насаженный через шарнир (например, подшипник качения) на палец, который жестко запрессован в торец соответствующего обода 19. Причем начинаться сквозные пазы 22 должны на расстоянии от оси вращения ступицы 20, меньшем разности между радиусом оси крепления одиночных пальцев на ободе 19 с учетом наружного радиуса ролика 23 и максимальным эксцентриситетом, а заканчиваться – на расстоянии от оси вращения ступицы 20, большем суммы радиуса оси крепления одиночных пальцев на ободе 19 с учетом наружного радиуса ролика 23 и максимального эксцентриситета. При этом ролики 23 в сквозных пазах 22 водил 21 будут совершать качение по набегающей внутренней поверхности соответствующих пазов 22 с изменением расстояния от оси крепления роликов 23 на ободах 19 до оси вращения ступиц 20 на величину удвоенного эксцентриситета.
Крепление ролика 23 на ободе 19 выполняют с опережением по направлению вращения относительно оси крепления к ободу 19 кривошипа 10 на угол 90 градусов, а также менее или более этой величины. Выбор значения угла опережения обусловлен необходимостью относительного уменьшения скорости рабочего хода на его финише (при опережении на угол, меньший 90 градусов), или относительного увеличения скорости рабочего хода на его финише (при опережении на угол, больший 90 градусов).
Вместо ролика 23 внутри сквозного паза 22 каждого из водил 21 возможна установка ползуна, который через подшипник качения насажен на палец, запрессованный в торец соответствующего обода 19.
С наружных торцов ободов 19 крепятся защитные кожухи 24, примыкающие к кривошипам 10 и вращающиеся совместно с соответствующими ободами 19.
В другом варианте исполнения станка-качалки по наружному диаметру каждой из ступиц 20 выполнен кольцевой желоб, в который уложен тянущий канат 25. Одним концом тянущий канат 25 шарнирно прикреплен к наружной поверхности ступицы 20, а другим концом соединен шарниром 26 с соответствующим ободом 19. Крепление шарнира 26 на ободе 19 выполняют с опережением по направлению вращения относительно оси крепления к ободу 19 кривошипа 10 на угол 90 градусов, а также менее или более этой величины. Выбор значения угла опережения обусловлен необходимостью относительного уменьшения скорости рабочего хода на его финише (при опережении на угол, меньший 90 градусов), или относительного увеличения скорости рабочего хода на его финише (при опережении на угол, больший 90 градусов).
Фиг.4 иллюстрирует графическую зависимость изменения частоты вращения nvar обода 19 и расстояния Rvar от точки позиционирования ролика 23, установленного на торце обода 19, внутри сквозного радиального паза 22 водила 21, прикрепленного к ступице 20, до оси вращения последней, насаженной на выходной вал редуктора 11. Причем графическая зависимость 1 является синусоидальной и получена при проецировании на ось времени t радиус-вектора r, совершающего вращательное движение по часовой стрелке, образуя окружность. При этом величина радиус-вектора r равна разности между максимальным Rvar max и минимальным Rvar min расстояниями от точки позиционирования ролика 22 до оси вращения ступицы 20, что соответствует эксцентриситету e, являясь одновременно и амплитудой А рассматриваемой графической зависимости:
r=e=A= Rvar max– Rvar min
В то же время (фиг.5), скорость Vvar вертикального возвратно-поступательного перемещения канатной подвески 5 с устьевым штоком 6 во времени t в процессе вращательного движения обода 19 изменяется по тому же синусоидальному закону, меняя свое направление на противоположное дважды за каждый цикл качания балансира 3.
На цикле фигур 6-10 представлены схемы последовательного поворота на 360 градусов обода 19 и соответственно полного цикла (рабочий ход вверх и холостой ход вниз) возвратно-поступательного перемещения устьевого штока 6 в скважине. При этом в процессе вращения по часовой стрелке ступицы 20 закрепленное на ней водило 21 посредством перемещающегося в его сквозном пазу 22 ролика 23, шарнирно закрепленного на торце обода 19, передает крутящий момент ободу 19. Жестко соединенный с ободом 19 кривошип 10 с помощью шатуна 8 задает качание балансиру 3, через головку 4 которого канатной подвеске 5 с закрепленным на ее конце устьевым штоком 6 передается возвратно-поступательное движение.
При вращении обода 19 по часовой стрелке ось ступицы 20 смещена на величину эксцентриситета e по горизонтали в сторону, противоположную головке 4 балансира 3, относительно оси вращения обода 19. Последний совершает вращательное движение в ту же сторону, что и ступица 20, при этом именно благодаря эксцентриситету с переменной частотой nvar. Причем минимальная частота вращения nvar min обода 19 совместно с кривошипом 10 (см. фиг.6) имеет место при минимальном расстоянии Rvar min от оси вращения ступицы 20 до оси крепления на ободе 19 ролика 23. При таком расположении кривошип 10, шатун 8 и балансир 3 с головкой 4 придают минимальную скорость Vvar min поступательному движению канатной подвески 5 в нижней точке холостого хода.
При дальнейшем вращении обода 19 совместно с кривошипом 10 по часовой стрелке (см. фиг.7) частота вращения nvar обода 19 плавно по синусоидальному закону начинает увеличиваться по мере увеличения расстояния Rvar от оси вращения ступицы 20 до оси крепления на ободе 19 ролика 23, что приводит также к увеличению скорости Vvar поступательного движения канатной подвески 5 вверх по плавному синусоидальному закону во время рабочего хода.
Последующее вращение обода 19 совместно с кривошипом 10 (см. фиг.8) ведет к дальнейшему увеличению частоты до nvar max по синусоидальному закону пропорционально увеличению расстояния от оси вращения ступицы 20 до оси крепления на ободе 19 ролика 23 до максимального значения Rvar max, что приводит также к дальнейшему плавному увеличению скорости Vvar поступательного движения канатной подвески 5 вверх по синусоидальному же закону во время рабочего хода. Именно в этой позиции, когда кривошип 10 и шатун 8 примут вертикальное положение при нахождении кривошипа 10 в низшей точке, головка 4 балансира 3 совместно с канатной подвеской 5 поднимется в самую высшую точку, завершив таким образом рабочий ход. В указанной высшей точке происходит реверс, и начинается поступательное движение канатной подвески 5 вниз с уменьшением скорости Vvar по синусоидальному закону.
Дальнейшее вращение обода 19 совместно с кривошипом 10 (см. фиг.9) продолжает приводить к уменьшению частоты nvar по синусоидальному закону с пропорциональным уменьшением расстояния Rvar от оси вращения ступицы 20 до оси крепления ролика 23 при продолжающемся холостом ходе вниз.
И наконец, частота вращения nvar min обода 19 совместно с кривошипом 10 (см. фиг.10) примет свое минимальное значение по синусоидальному закону с соответствующим уменьшением до минимального значения Rvar min расстояния от оси вращения ступицы 20 до оси крепления к ободу 19 ролика 23, что приводит по синусоидальному закону к достижению минимальной скорости Vvar min поступательного движения канатной подвески 5. Причем именно в этой позиции, когда шатун 8 и кривошип 10 примут вертикальное положение при нахождении кривошипа 10 в высшей точке, головка 4 балансира 3 совместно с канатной подвеской 5 опустится в самую нижнюю точку, завершив таким образом холостой ход.
С этого момента вновь начинается рабочий ход, когда вращение обода 19 совместно с кривошипом 10 начинает происходить с увеличением частоты nvar плавно по синусоидальному закону с постепенным увеличением расстояния Rvar от оси вращения ступицы 20 до оси крепления ролика 23. Последнее приводит к дальнейшему плавному по синусоидальному закону увеличению скорости Vvar поступательного движения канатной подвески 5, но теперь уже вверх во время рабочего хода (см. фиг.10) до достижения максимального значения (вновь см. фиг.6) и завершения одного полного цикла.
Для реверсивного вращения кривошипно-шатунного механизма станка-качалки (против часовой стрелки) направление эксцентриситета e меняют на противоположное путем смещения оси вращения выходного вала редуктора в сторону головки балансира относительно оси вращения кривошипа, перемещая раму-платформу 14 по опорной раме 1.
С целью дополнительного увеличения частоты вращения nvar обода 19 и соответствующего увеличения скорости рабочего хода Vvar устьевого штока 6 при их синусоидальном росте в результате вышеописанных действий сквозной паз 22 водила 21 выполняют наклонным под некоторым углом по отношению к продольной оси водила 21 (см. фиг.11 и 11а) в сторону вращения. В этом случае ролик 23, шарнирно закрепленный на торце обода 19, в процессе вращения ступицы 20 будет передавать крутящий момент ободу 19, перекатываясь по внутренней набегающей поверхности сквозного паза 22, как по копиру, при этом придавая дополнительное приращение частоте вращения nvar обода 19. Причем приращение частоты вращения nvar обода 19 будет тем большим, чем больший угол наклона ОС будет задан сквозному пазу 22.
При необходимости же замедлить рост частоты вращения nvar обода 19 с кривошипом 10 и соответствующий рост скорости рабочего хода Vvar канатной подвески 5 на финише рабочего хода перед реверсом в холостой ход сквозной радиальный паз водила 21 в его дальнем от оси вращения ступицы 20 конце загибают на некоторую расчетную величину против направления вращения (см. фиг.12). При вращении ступицы 20 по часовой стрелке с перекатыванием ролика 23 по набегающей внутренней поверхности сквозного паза 22 водила 21 как по копиру ролик 23 углубится в загиб сквозного паза 22 водила 21, обеспечив тем самым некоторое отставание во вращении обода 19 на финише рабочего хода, осуществляемого тем не менее с увеличением его скорости Vvar (см. фиг.12а).
Для уменьшения контактных напряжений по линии соприкосновения наружного диаметра ролика 23 с набегающей внутренней поверхностью сквозного паза 22 водила 21 вместо ролика 23 устанавливают ползун, который насаживают через подшипник качения на палец, запрессованный в торец обода 19 (см. фиг.13 и 13а). При этом ползун контактирует с набегающей поверхностью сквозного паза 22 водила 21 уже по всей боковой плоскости ползуна. При этом ползун 13, шарнирно насаженный на одиночный палец 9, в свою очередь запрессованный в торец обода 6, в процессе вращения ступицы 3 будет передавать крутящий момент ободу 19, скользя по внутренней набегающей поверхности сквозного паза 22, как по копиру, и увеличивая частоту вращения nvar обода 19 по тому же принципу, что и на фиг.6-10, либо придавая дополнительное приращение частоте вращения обода 19, как на фиг.11-11а.
При использовании режима «тянущего» приложения крутящего момента (фиг.14-22), в отличие от изложенного выше режима «толкающего» приложения крутящего момента, в процессе равномерного вращения ступицы 20, насаженной на выходной вал редуктора (не показан) и смещенной с эксцентриситетом e по горизонтали в сторону, противоположную расположению головки 4 балансира 3 относительно оси вращения обода 19, жестко соединенного с кривошипом 10, последние, при посредстве гибкой связи в виде стального тянущего каната 25 (или пластинчатой цепи), приходят во вращательное движение по часовой стрелке с переменной частотой nvar. Причем минимальная частота вращения nvar min обода 19 совместно с кривошипом 10 достигается при минимальном расстоянии Rvar min от оси вращения ступицы 20 до точки шарнирного крепления 26 тянущего каната 25 на ободе 19, а кривошип 10, шатун 8 и балансир 3 с головкой 4 придают минимальную скорость Vvarmin поступательному движению канатной подвески 5 в нижней точке холостого хода (см. фиг.14).
При дальнейшем вращении обода 19 совместно с кривошипом 10 по часовой стрелке (см. фиг.15) частота вращения nvar обода 19 плавно по синусоидальному закону начинает увеличиваться по мере увеличения расстояния Rvar от оси вращения ступицы 20 до точки шарнирного 15 крепления стального тянущего каната 14 на ободе 6, что приводит также к увеличению скорости Vvar поступательного движения канатной подвески 5 вверх по плавному синусоидальному закону во время рабочего хода.
Последующее вращение обода 19 совместно с кривошипом 10 (см. фиг.15-18) ведет к дальнейшему увеличению частоты вращения nvar обода 19 по синусоидальному закону пропорционально увеличению расстояния Rvar от оси вращения ступицы 20 до точки шарнирного 26 крепления тянущего каната 25 на ободе 19, что приводит также к дальнейшему плавному увеличению скорости Vvar поступательного движения канатной подвески 5 вверх по синусоидальному же закону во время рабочего хода. Именно в этой позиции, когда кривошип 10 и шатун 8 примут вертикальное положение при нахождении кривошипа 10 в его низшей точке, головка 4 балансира 3 совместно с канатной подвеской 5 поднимется в самую высшую точку, завершив таким образом рабочий ход.
В указанной высшей точке происходит реверс и начинается поступательное движение канатной подвески 12 вниз с уменьшением скорости Vvar по синусоидальному закону.
Дальнейшее вращение обода 19 совместно с кривошипом 10 (см. фиг.19-22)продолжает приводить к уменьшению его частоты nvar по синусоидальному закону с пропорциональным уменьшения расстояния Rvar от оси вращения ступицы 20 до точки шарнирного крепления 26 тянущего каната 25 на ободе 19 при продолжающемся холостом ходе вниз.
И, наконец, частота вращения обода 19 совместно с кривошипом 10 (см. фиг.22) достигнет минимального значения nvar min по синусоидальному закону с соответствующим уменьшением расстояния от оси вращения ступицы 20 до точки шарнирного крепления 26 тянущего каната 25 на ободе 19 до минимального значения Rvar min, что приводит по синусоидальному закону к снижению скорости поступательного движения канатной подвески 12 до минимального значения Vvar min. Причем именно в этой позиции, когда кривошип 10 и шатун 8 примут вертикальное положение при нахождении кривошипа 10 в его высшей точке, головка 4 балансира 3 совместно с канатной подвеской 5 опустятся в самую нижнюю точку, завершив таким образом холостой ход.
С этого момента вновь начинается рабочий ход, при этом вращение обода 19 совместно с кривошипом 10 будет происходить с увеличением частоты nvar плавно по синусоидальному закону с дальнейшим увеличением расстояния Rvar от оси вращения ступицы 20 до точки шарнирного крепления 26 на ободе 20 тянущего каната 25, что будет приводить к дальнейшему плавному по синусоидальному закону увеличению скорости Vvar поступательного движения канатной подвески 5, но теперь уже вверх во время рабочего хода (см. фиг.14) до достижения максимального значения (вновь см. фиг.22) и завершения одного полного цикла.
Для наглядности в таблицах 1-3 представлены примеры реализации предлагаемого способа нефтедобычи в сопоставлении с типовыми режимами добычи с применением стандартных станков-качалок. Установим параметры (см. фиг.6-10 и 14-22): внутренний диаметр обода 19 Dвн=1800 мм; наружный диаметр ступицы 20 dнap=800 мм; частота вращения ступицы 20 n=10 об/мин. Тогда при различных значениях эксцентриситета e предложенный способ позволяет получить следующие показатели:
| Таблица 1 |
п/п |
Эксцентриситет e, мм |
Угол поворота обода, град |
Переменный радиус Rvar, мм |
Частота вращения обода nvar, об/мин |
Средняя частота вращения обода ncp, об/ мин |
Частота вращения обода nvar, об/мин |
Средняя частота вращения обода ncp, об/ мин |
| 1 |
 |
0 |
500,00 |
10,00 |
 |
6,00 |
 |
| 2 |
 |
45 |
678,89 |
13,58 |
 |
8,15 |
 |
| 3 |
 |
90 |
984,89 |
19,70 |
 |
11,82 |
 |
| 4 |
 |
135 |
1216,19 |
24,32 |
 |
14,59 |
 |
| 5 |
400 |
180 |
1300,00 |
26,00 |
18,00 |
15,60 |
10,75 |
| 6 |
 |
225 |
1216,19 |
24,32 |
 |
14,59 |
 |
| 7 |
 |
270 |
984,89 |
19,70 |
 |
11,82 |
 |
| 8 |
 |
315 |
678,89 |
13,58 |
 |
8,15 |
 |
| 9 |
 |
360 |
500,00 |
10,00 |
 |
6,00 |
 |
| Таблица 2 |
п/п |
Эксцентриситет e, мм |
Угол поворота обода, град |
Переменный радиус Rvar, мм |
Частота вращения обода nvar, об/мин |
Средняя частота вращения обода nср, об/ мин |
Частота вращения обода nvar, об/мин |
Средняя частота вращения обода ncp, об/ мин |
| 1 |
 |
0 |
600,00 |
10,00 |
 |
7,00 |
 |
| 2 |
 |
45 |
719,84 |
12,00 |
 |
8,40 |
 |
| 3 |
 |
90 |
948,68 |
14,38 |
 |
10,07 |
 |
| 4 |
 |
135 |
1132,60 |
18,88 |
 |
13,22 |
 |
| 5 |
300 |
180 |
1200,00 |
20,00 |
14,50 |
14,00 |
10,15 |
| 6 |
 |
225 |
1132,60 |
18,88 |
 |
13,22 |
 |
| 7 |
 |
270 |
948,68 |
14,38 |
 |
10,07 |
 |
| 8 |
 |
315 |
719,84 |
12,00 |
 |
8,40 |
 |
| 9 |
 |
360 |
600,00 |
10,00 |
 |
7,00 |
 |
| Таблица 3 |
п/п |
Эксцентриситет e, мм |
Угол поворота обода, град |
Переменный радиус Rvar, мм |
Частота вращения обода nvar, об/мин |
Средняя частота вращения обода ncp, об/ мин |
Частота вращения обода nvar, об/мин |
Средняя частота вращения обода ncp, об/мин |
| 1 |
 |
0 |
700,00 |
10,00 |
 |
8,00 |
 |
| 2 |
 |
45 |
771,65 |
12,86 |
 |
10,29 |
 |
| 3 |
 |
90 |
921,95 |
13,17 |
 |
10,54 |
 |
| 4 |
 |
135 |
1050,99 |
15,01 |
 |
12,01 |
 |
| 5 |
200 |
180 |
1100,00 |
15,71 |
13,08 |
12,57 |
10,47 |
| 6 |
 |
225 |
1050,99 |
15,01 |
 |
12,01 |
 |
| 7 |
 |
270 |
921,95 |
13,17 |
 |
10,54 |
 |
| 8 |
 |
315 |
771,65 |
12,86 |
 |
10,29 |
 |
| 9 |
 |
360 |
700,00 |
10,00 |
 |
8,00 |
 |
Как видно из Таблицы 1, при эксцентриситете e, равном 400 мм, и минимальной частоте вращения обода, равной 10 об/мин, средняя частота вращения обода ncp составляет 18 об/мин, т.е. больше в 1,8 раза. Установив минимальную частоту вращения обода, равную, например, 6 об/мин, получаем среднюю частоту вращения обода ncp; равную в этом случае 10,75 об/мин, также превышающую для этого случая минимальную заданную частоту в 1,8 раз. Следовательно, повышение производительности нефтедобычи составит 80%.
Из Таблицы 2 следует, что при эксцентриситете е, равном 300 мм, средняя частота вращения обода ncp составляет 14,5 об/мин. Установив же минимальную частоту вращения обода, равную не 10 об/мин, а скажем 7 об/мин, получаем среднюю частоту вращения обода ncp равную 10,15 об/мин. Как видно, средняя частота за полный оборот обода превышает минимальную частоту в 1,45 раза.
И наконец, при эксцентриситете e, равном 200 мм (см. Таблицу 3), средняя частота вращения обода ncp составляет 12,86 об/мин. При установленной минимальной частоте вращения обода, равной 8 об/мин, средняя частота вращения обода ncp составит 10,47, что превышает минимальную в 1,3 раза.
Приведенные в Таблицах 1-3 показатели применимы в равной степени к устройствам с использованием и водил, и тянущих канатов, т.к. соотношение переменных радиусов Rvar ступиц 20 и ободов 19, а также частот вращения nvar одинаково для обоих указанных вариантов за исключением дополнительного наворота тянущего каната на ступицу.
Предлагаемый станок-качалка осуществляет способ добычи нефти следующим образом.
Согласно расчетной средней частоте качания ncp балансира 3, задаваемой средней частотой вращения ободов 19, рассчитывают величину эксцентриситета e, соответствующую величине смещения рамы-платформы 14 относительно опорной рамы 18. Раму-платформу 14 открепляют от опорной рамы 18, смещают, например, с помощью винтовой пары, на величину эксцентриситета e и вновь надежно крепят прежним комплектом болтовых соединений.
Далее к канатной подвеске 5 крепят устьевой шток 6 и всю колонну насосных штанг, соединенных с плунжером ШГН (не показаны). С этого момента плавным пуском электродвигателя 13 через клиноременную передачу 12 запускают в работу редуктор 11. При этом выходной вал редуктора 11 должен вращаться по часовой стрелке при смещении эксцентриситета вправо (см. фиг.6) и против часовой стрелки при смещении эксцентриситета влево (см. фиг.1) со стороны наблюдателя.
Через ступицы 20, насаженные на концы выходного вала редуктора 11, крутящий момент передается водилами 21 на ролики 23, размещенные в сквозных пазах 22 и шарнирно насаженные на одиночные пальцы. В свою очередь, одиночные пальцы, запрессованные в торцы ободов 19, передают вращение ободам 19. В процессе вращения ободов 19, жестко соединенных с соответствующими кривошипами 10, с помощью шатунов 8 через траверсу 7 усилие передается балансиру 3, принуждая его совершать качательные движения. Головка 4 балансира 5 задает возвратно-поступательное перемещение канатной подвеске 5 и, через устьевой шток 6, далее на плунжер ШГН.
Отличием предложенной группы изобретений является то, что качательное движение балансира 5 ускорено в верхней точке нахождения головки 4 балансира 5 и замедлено в нижней точке ее нахождения. Соответственно, и канатная подвеска 5 синхронно воспроизводит возвратно-поступательное движение то возрастающее до максимального
значения Vvar max, то убывающее до минимального значения Vvar min по синусоидальному закону.
Особо необходимо отметить, что при существенном росте производительности работы УШГН в целом за счет увеличением частоты качания необходимо уделять особое внимание коэффициенту заполнения насоса для чего при необходимости необходимо применять всасывающие и нагнетательные клапаны насосов ШГН с увеличенными проходными сечениями, позволяющими обеспечивать эффективное наполнение добывающих насосов.
Использование предлагаемого способа и устройства для его реализации позволяет:
– значительно повысить (до двух и более раз) производительность нефтедобычи с применением ШГН, еще более приблизив этот тип насосов по данному показателю к высокопроизводительным электрическим центробежным насосам (ЭЦН);
– значительно ускорить холостой ход с его замедлением по синусоидальному закону по мере приближения к нижней критической точке, что дополнительно благоприятствует увеличению коэффициента наполнения плунжерного насоса под давлением столба скважинной жидкости над погруженным в скважину насосом ШГН, так как некоторое замедление на финише холостого хода дает дополнительное время на заполнение внутренней полости насоса над плунжером;
– снизить негативное влияние динамических процессов в начале рабочего хода вверх за счет некоторого расчетного снижения скорости возвратно-поступательного движения в нижней точке с компенсацией и плавным возрастанием скорости в верхней точке по синусоидальному закону;
– уменьшить утечки в зазоре плунжерной пары с ускорением рабочего хода при установившемся динамическом режиме, так как сокращается по времени возможность этих утечек при одной и той же длине рабочего хода плунжера.
Формула изобретения
1. Способ добычи нефти с использованием штангового глубинного насоса, включающий изменение частоты вращения кривошипа станка-качалки и согласованное с ним через изменение угловой скорости качания балансира изменение скорости возвратно-поступательного движения устьевого штока, отличающийся тем, что частоту вращения кривошипа и согласованную с ней скорость возвратно-поступательного движения штока изменяют по синусоидальному закону, плавно ускоряя рабочий ход, при котором поступательное движение штока вверх достигает максимальной скорости при вертикальном положении шатуна и кривошипа в нижней точке, и пропорционально замедляя холостой ход, при котором поступательное движение штока вниз достигает минимальной скорости при вертикальном положении шатуна и кривошипа в верхней точке, при этом скорость штока в начале рабочего хода и в конце холостого хода уменьшают на величину, меньшую средней скорости возвратно-поступательного движения штока.
2. Станок-качалка для добычи нефти с использованием штангового глубинного насоса, содержащий опорную раму, стойку, на которой с помощью шарнира смонтирован балансир, имеющий с одной стороны головку с канатной подвеской и устьевым штоком, а с другой стороны – шарнирно подвешенную траверсу с разнесенными по обе стороны стойки шатунами, каждый из которых соединен с кривошипом, на котором крепится противовес, а также содержащий редуктор, входной вал которого посредством клиноременной передачи соединен с асинхронным электродвигателем, отличающийся тем, что кривошипы закреплены на ободах, которые установлены с возможностью кругового движения в обрамлении роликовых опор или роликовых подшипников, размещенных по периметрам окон, выполненных в вертикальных рамах, которые закреплены с противоположных сторон опорной рамы, причем редуктор и электродвигатель закреплены на раме-платформе, установленной, в свою очередь, на опорной раме с возможностью перемещения вдоль направления балансира, а на концах выходного вала редуктора в плоскости кругового движения ободов насажены ступицы, наружный диаметр которых выполнен меньшим внутреннего радиуса ободов, при этом к ступицам крепятся водила, каждое из которых имеет сквозной радиальный или наклонный паз, внутри которого размещается ролик, насаженный шарнирно с помощью подшипника на палец, запрессованный в торец соответствующего обода с опережением по направлению вращения на угол 90°, а также менее или более этой величины, относительно точки крепления к ободу кривошипа.
3. Станок качалка по п.2, отличающийся тем, что сквозные радиальные пазы водил имеют на концах, удаленных от оси вращения ступицы, плавные загибы против направления вращения.
4. Станок-качалка по п.2, отличающийся тем, что сквозные наклонные пазы водил выполнены с отклонением по направлению вращения конца паза, отдаленного от оси вращения ступицы.
5. Станок-качалка по одному из пп.2-4, отличающийся тем, что сквозные пазы водил выполнены криволинейными, либо в виде дуги окружности, либо в виде иной плавной геометрической зависимости.
6. Станок-качалка по одному из пп.2-4, отличающийся тем, что сквозные пазы водил выполнены в виде сочетания прямолинейных и криволинейных участков.
7. Станок-качалка по п.3 или 4, отличающийся тем, что внутри сквозного паза каждого из водил вместо ролика размещен ползун, насаженный также через шарнир (например подшипник качения) на палец, запрессованный в торец соответствующего обода.
8. Станок-качалка для добычи нефти с использованием штангового глубинного насоса, содержащий опорную раму, стойку, на которой с помощью шарнира смонтирован балансир, имеющий с одной стороны головку с канатной подвеской и устьевым штоком, а с другой стороны – шарнирно подвешенную траверсу с разнесенными по обе стороны траверсы шатунами, соединенными с кривошипом, на котором крепится противовес, а также содержащий редуктор, входной вал которого посредством клиноременной передачи соединен с электродвигателем, отличающийся тем, что кривошипы закреплены на ободах, которые установлены с возможностью кругового движения в обрамлении роликов или роликовых подшипников, размещенных по периметрам окон, выполненных в вертикальных рамах, которые жестко прикреплены с противоположных сторон опорной рамы, причем редуктор и электродвигатель жестко закреплены на раме-платформе, установленной, в свою очередь, на опорной раме с возможностью перемещения вдоль направления балансира, а на концах выходного вала редуктора в плоскости кругового движения ободов насажены ступицы, наружный диаметр которых выполнен меньшим внутреннего радиуса ободов, при этом по наружному диаметру каждой из ступиц выполнен кольцевой желоб, в который уложен тянущий канат, одним концом прикрепленный шарнирно к ступице, а другим концом соединенный с соответствующим ободом также шарниром, установленным с опережением по направлению вращения на угол 90°, а также менее или более этой величины, относительно точки крепления к ободу кривошипа, кроме того, тянущие канаты, уложенные в кольцевые желоба ступиц, должны быть предварительно навернуты на ступицы на величину, обеспечивающую равномерную передачу нагрузки по дуге охвата наружных диаметров ступиц в процессе натяжения, но не превышающую полный периметр наружной окружности ступицы, для того, чтобы исключить наматывание каждого каната самого на себя в процессе каждого полного оборота относительно собственных осей вращения, причем радиус проточки желобов на ступицах в поперечном сечении должен соответствовать радиусу тянущего каната с необходимым зазором для беспрепятственной укладки и плотного прилегания к желобу, что обеспечивает плавное перераспределение нагрузки по дуге контакта.
РИСУНКИ
|
|