|
|
(21), (22) Заявка: 2008148999/03, 11.12.2008
(24) Дата начала отсчета срока действия патента:
11.12.2008
(46) Опубликовано: 10.02.2010
(56) Список документов, цитированных в отчете о поиске:
ШИРОКОВ А.П. и др. Разработка угольных пластов без крепления призабойного пространства. – М.: Госгортехиздат, 1961, с.93, 94. SU 297775 А1, 23.04.1971. SU 538135 А, 25.03.1977. SU 599073 А, 06.03.1978. SU 640029 А1, 30.12.1978. SU 1097795 А1, 15.06.1984. DE 2808113 А1, 30.08.1979.
Адрес для переписки:
654007, Кемеровская обл., г. Новокузнецк, ул. Кирова, 42, СибГИУ, патентный отдел, Н.В. Галаниной
|
(72) Автор(ы):
Сухоруков Владимир Афанасьевич (RU), Фрянов Виктор Николаевич (RU), Сухоруков Владислав Владимирович (RU), Шенгерей Евгений Борисович (RU), Федоренко Анатолий Иванович (RU), Шенгерей Светлана Владимировна (RU)
(73) Патентообладатель(и):
Государственное образовательное учреждение высшего профессионального образования “СИБИРСКИЙ ГОСУДАРСТВЕННЫЙ ИНДУСТРИАЛЬНЫЙ УНИВЕРСИТЕТ” (RU)
|
(54) СПОСОБ РАЗРАБОТКИ КРУТЫХ ПЛАСТОВ ПОДЭТАЖНОЙ ГИДРООТБОЙКОЙ С ПОПУТНЫМ ВЫПУСКОМ МАГАЗИНИРОВАННОГО УГЛЯ ИЗ КАМЕР ВЕРХНЕГО ПОДЭТАЖА
(57) Реферат:
Изобретение относится к горнодобывающей промышленности. Способ разработки крутых пластов подэтажной гидроотбойкой с попутным выпуском магазинированного угля из камер верхнего подэтажа включает проведение подэтажных штреков 5, 6, 7, бурение скважин 9, 11, разрыхление массива, выемку угля гидромонитором 13. Вначале на промежуточном штреке 6 устанавливают буровую машину 10 для бурения скважин 11, затем осуществляют разрыхление угля в камере и его магазинирование. Затем гидромонитором 13 из транспортного штрека 7 разрушают нижний подэтаж с попутным выпуском магазинируемого угля 12 из камер верхнего подэтажа 15. Для предотвращения перепуска породы над вентиляционным штреком 5 и на расстоянии друг от друга в зависимости от устойчивости боковых пород по простиранию пласта в верхнем подэтаже 15 оставляют временные подзавальные целики 16, 17. Изобретение позволяет обеспечить комплексное и рациональное использование угля в недрах, безлюдную добычу полезного ископаемого, снижение затрат на подготовку запасов выемочного участка и увеличение производительности труда, снижение энергоемкости разрушения полезного ископаемого, эффективное проветривание забоев за счет общешахтной депрессии. 4 ил.
Изобретение относится к горнодобывающей промышленности и может быть использовано при разработке крутых пластов подземным способом подэтажной гидроотбойкой с попутным выпуском магазинированного угля из верхнего этажа.
Известна система разработки крутых пластов подэтажным обрушением (B.C.Мучник, Э.Б.Голланд, М.Н.Маркус. Подземная гидравлическая добыча. – М.: Недра, 1986, с. 15-24).
Наряду с имеющимися достоинствами этот способ подэтажной гидроотбойки имеет недостатки: это высокая энергоемкость процессов при выемке угля в подэтаже, сложное проветривание забоя, большие потери полезного ископаемого, низкие качество полезного ископаемого и производительность очистного забоя.
Наиболее близким техническим решением, принятым за прототип, является способ отбойки угля длинными скважинами с гидротранспортированием угля (А.П.Широков, М.Г.Самец, Разработка угольных пластов без крепления призабойного пространства. – М.: Госгортехиздат 1961, с. 93-94). Испытания способа проводились на шахте «Зиминка 3-4» в Прокопьевске. Пласт отрабатывался системой подэтажной гидроотбойки с предварительным рыхлением угольного массива при помощи взрывных работ. Разрыхленный уголь смывался водой, после чего осуществлялась отбойка угля струей гидромонитора. Учитывая большие потери угля и низкие технико-экономические показатели, выемка угля системой подэтажной гидроотбойки с предварительным рыхлением угля была приостановлена.
Известный способ характеризуется значительными затратами на проведение подготовительных выработок, сложной схемой проветривания и большим объемом буровых работ.
Задачей изобретения является устранение указанных выше недостатков прототипа и тем самым создание такого способа разработки месторождений полезных ископаемых, который позволит осуществить комплексное и рациональное использование угля в недрах за счет расширения области применения способа, безлюдную добычу полезного ископаемого, снижение затрат на подготовку запасов выемочного участка и увеличение производительности труда, снижение энергоемкости разрушения полезного ископаемого, эффективное проветривание забоев за счет общешахтной депрессии.
Сущность изобретения заключается в том, что в способе разработки крутых пластов подэтажной гидроотбойкой с попутным выпуском магазинированного угля из камер верхнего подэтажа, включающем проведение подэтажных штреков, бурение скважин, разрыхление массива, выемку угля гидромонитором, вначале на промежуточном штреке устанавливают буровую машину для бурения скважин, затем осуществляется разрыхление угля в камере и его магазинирование, после чего гидромонитором из транспортного штрека разрушают нижний подэтаж с попутным выпуском магазинируемого угля из камер верхнего подэтажа, причем для предотвращения перепуска породы над вентиляционным штреком и на расстоянии друг от друга, зависимом от устойчивости боковых пород по простиранию пласта, в верхнем подэтаже оставляют временные подзавальные целики.
Таким образом, отработка пласта ведется подэтажной гидроотбойкой с попутным выпуском заранее подготовленного магазинированного угля из камер верхнего подэтажа. Этим самым снижаются энергоемкость разрушения и потери угля. Обеспечивается надежное проветривание. Увеличивается производительность труда.
Сравнение предлагаемого решения с прототипом, аналогичными техническими решениями, известными и существующего уровня техники и технологии, позволило установить его соответствие критериям патентоспособности «Новизна» и изобретательский уровень.
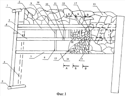
Сущность изобретения поясняется чертежами. На фиг.1 представлена технологическая схема, иллюстрирующая последовательность подготовки и отработки подэтажей с использованием длинных скважин и гидромонитора.
На фиг.2 – разрез А-А на фиг.1; на фиг.3 – разрез Б-Б на фиг.1. На фиг.4 – разрез В-В на фиг.1.
Способ разработки крутых пластов подэтажной гидроотбойкой с попутным выпуском магазинированного угля из камер верхнего подэтажа осуществляется следующим образом.
После вскрытия пласта квершлагами 1,2 проводят скат 3 и пульпоспускную печь 4.
На расстоянии, равном высоте подэтажа, от ската 3 до границы блока проводят подэтажные штреки, вентиляционный 5, промежуточный 6 и транспортный 7. Через определенное расстояние штреки соединяют печами 8 и скважинами 9. На границе блока на промежуточном штреке устанавливают буровую машину 10 для бурения длинных скважин 11 в верхнем подэтаже. Разрыхление угля в скважинах 11 и отработка подэтажей производится обратным ходом с опережением верхнего подэтажа. Разрыхленный буровзрывным способом или гидроразрывом уголь 12 в верхнем подэтаже магазинируют и выпускают при отработке нижележащего подэтажа гидромонитором 13. Разрыхленный уголь 12 в верхнем подэтаже и гидромонитором 13 в нижнем подэтаже по желобам 14 транспортируют в пульпоспускную печь 4.
Для предотвращения перепуска пород из верхних отработанных подэтажей 15, над вентиляционным штреком 5, по простиранию пласта оставляется временный подзавальный целик 16. Подготовленный для выпуска уголь 12 из верхнего подэтажа сохраняется также за счет временных подзавальных целиков 17, оставляемых в подэтаже на определенном расстоянии друг от друга, зависимом от устойчивости боковых пород по простиранию пласта. После выпуска угля в подэтажах с помощью гидромонитора вынимают временные подзавальные целики.
Проветривают забои за счет общешахтной депрессии. Свежий воздух с основного горизонта по скату 3 поступает на транспортный 7 и промежуточный 6 штреки, затем по скважине 9 выходит на вентиляционный штрек 5 и далее отработанная струя воздуха выходит на вентиляционный горизонт.
Применение нового способа разработки крутых пластов подэтажной гидроотбойкой с попутным выпуском магазинируемого угля из верхнего подэтажа обеспечивает безопасность работ, снижает потери угля, затраты на проведение подготовительных выработок, а также энергоемкость разрушения горной массы.
Формула изобретения
Способ разработки крутых пластов подэтажной гидроотбойкой с попутным выпуском магазинированного угля из камер верхнего подэтажа, включающий проведение подэтажных штреков, бурение скважин, разрыхление массива, выемку угля гидромонитором, отличающийся тем, что вначале на промежуточном штреке устанавливают буровую машину для бурения скважин, затем осуществляют разрыхление угля в камере и его магазинирование, после чего гидромонитором из транспортного штрека разрушают нижний подэтаж с попутным выпуском магазинируемого угля из камер верхнего подэтажа, причем для предотвращения перепуска породы над вентиляционным штреком на расстоянии друг от друга, зависимом от устойчивости боковых пород по простиранию пласта, в верхнем подэтаже оставляют временные подзавальные целики.
РИСУНКИ
|
|