|
|
(21), (22) Заявка: 2008129877/03, 22.07.2008
(24) Дата начала отсчета срока действия патента:
22.07.2008
(46) Опубликовано: 10.02.2010
(56) Список документов, цитированных в отчете о поиске:
RU 40067 U1, 27.08.2004. RU 56426 U1, 10.09.2006. GB 2352255 A, 16.05.2001. EP 0805243 A2, 15.04.1997. JP 2005133504 A, 26.05.2005.
Адрес для переписки:
123103, Москва, наб. Новикова-Прибоя, 5, корп.2, кв.19, Е.Ю. Цыкановскому
|
(72) Автор(ы):
Цыкановский Евгений Юльевич (RU), Ильин Алексей Владимирович (RU)
(73) Патентообладатель(и):
Цыкановский Евгений Юльевич (RU)
|
(54) ФИКСАТОР ДЛЯ НАВЕСНЫХ ПАНЕЛЕЙ
(57) Реферат:
Изобретение относится к области промышленного гражданского строительства, а именно к технологии устройства вентилируемой облицовки зданий и сооружений из навесных панелей, выполненных из керамогранита со скрытым креплением. Фиксатор для крепления двух навесных панелей, расположенных друг над другом, содержит основную пластину (1) для крепления к несущей поверхности (100) и дополнительную пластину (2). Основная пластина (1) выполнена с по меньшей мере одним консольным выступом с упором, предназначенным для последующей фиксации низа верхней из упомянутых навесных панелей, с по меньшей мере двумя упругими упорами, по одному на каждую соответствующую упомянутую навесную панель, для жесткого закрепления последних, и карманом, выполненным с возможностью размещения в нем дополнительной пластины (2). Дополнительная пластина (2) выполнена с по меньшей мере одним консольным выступом с упором, предназначенным для последующей фиксации верха нижней навесной панели. При этом дополнительная пластина (2) на противоположном консольному выступу конце отогнута в том же направлении, что и консольный выступ дополнительной пластины (2), для упомянутой фиксации дополнительной пластины (2) в упомянутом кармане после ее установки. Технический результат – повышение ремонтопригодности навесных панелей. 4 з.п. ф-лы, 3 ил.
Область техники, к которой относится изобретение
Изобретение относится к области промышленного гражданского строительства, а именно к технологии устройства вентилируемой облицовки зданий и сооружений из навесных панелей, выполненных из керамогранита со скрытым креплением.
Уровень техники
В настоящее время получило широкое распространение применение вентилируемой облицовки зданий и сооружений из навесных панелей, выполненных из керамогранита со скрытым креплением. Навесные панели применяются как при строительстве новых зданий, так и при реконструкции ранее эксплуатируемых сооружений для придания им эстетических качеств. Также навесные панели применяют для повышения степени теплоизоляции и защиты от внешних атмосферных воздействий зданий и сооружений. Однако при облицовке зданий и сооружений существует потребность в повторной облицовке, например, из-за дефектов на смонтированной панели или разрушения смонтированной панели, или в дополнительной облицовке, например, из-за невозможности монтажа в местах крепления лесов.
Из уровня техники известен фиксатор (RU2312957 С1, F04F 13/08, 20.12.2007) для крепления облицовочных плит фасада здания, содержащий пластину L-образного профиля с четырьмя упорами для фиксации соответствующих панелей и язычком, необходимым для ограничения зазора между плит. Основным недостатком данного фиксатора является невозможность повторного закрепления навесной плиты в случае повреждения последней.
Также из уровня техники известно множество фиксаторов (RU 56422 U1, RU 56426 U1, RU 69542 U1, RU 69878 U1) для крепления навесных панелей, с помощью которых также невозможно повторное закрепления навесной панели в случае ее повреждения.
Из уровня техники также известны фиксаторы (US 2007151190 А1, DE 19901428 A1, ЕР 0805243 А2, ЕР 0479733 А1) для крепления навесных панелей, но и они обладают таким существенным недостатком, как невозможность повторного закрепления навесных панелей в случае их повреждения без разборки как минимум всех панелей, установленных выше поврежденной.
Сущность изобретения
Задачей настоящего изобретения является исключение недостатков указанных выше фиксаторов и создание такого фиксатора для навесных панелей, который позволяет повысить ремонтопригодность навесных панелей, а также обеспечение возможности монтажа отсутствующих навесных панелей.
Эта задача с достижением указанного технического результата решается применением фиксатора для навесных панелей. Данный фиксатор содержит основную пластину для крепления к несущей поверхности, выполненную с по меньшей мере одним консольным выступом, предназначенным для последующей фиксации низа одной из навесных панелей, и карманом, выполненным с возможностью размещения в нем дополнительной пластины, и дополнительную пластину с по меньшей мере одним консольным выступом, предназначенным для последующей фиксации верха другой из навесных панелей.
Дополнительная особенность фиксатора по настоящему изобретению состоит в том, что по меньшей мере один консольный выступ, предназначенный для последующей фиксации низа одной из навесных панелей, выполнен либо изгибом части основной пластины, либо фиксацией к основной пластине соответствующего профиля, и в том, что по меньшей мере один консольный выступ, предназначенный для последующей фиксации верха другой из навесных панелей, выполнен либо изгибом части дополнительной пластины, либо фиксацией к дополнительной пластине соответствующего профиля, где каждый из консольного выступа основной пластины и консольного выступа дополнительной пластины содержит упор для фиксации низа или верха соответствующей навесной панели.
При этом соответствующий профиль выбран из группы, состоящей из плоской пластины, Г-образного профиля или L-образного профиля, а упомянутая фиксация осуществлена сваркой, приклеиванием, приклепыванием или с помощью разборного соединения.
Еще одной дополнительной особенностью фиксатора по настоящему изобретению является то, что на противоположном консольному выступу крае основной пластины выполнено ребро жесткости, а основная пластина содержит по меньшей мере два упругих упора, по одному на каждую соответствующую навесную панель, для жесткого закрепления последних.
Также дополнительной особенностью фиксатора по настоящему изобретению является то, что основная пластина содержит по меньшей мере два крепежных отверстия для крепления основной пластины к несущей поверхности.
Наконец, еще одна особенность фиксатора по настоящему изобретению состоит в том, что дополнительная пластина на противоположном консольному выступу конце отогнута в том же направлении, что и консольный выступ дополнительной пластины, для фиксации дополнительной пластины в упомянутом кармане после ее установки.
Краткое описание чертежей
Фиг.1 представляет собой вид в изометрии основной пластины фиксатора для навесных панелей согласно настоящему изобретению.
Фиг.2 представляет собой вид в изометрии дополнительной пластины фиксатора для навесных панелей согласно настоящему изобретению.
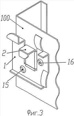
Фиг.3 представляет собой вид в изометрии фиксатора для навесных панелей согласно настоящему изобретению, установленного на несущей поверхности.
Подробное описание предпочтительного варианта осуществления
Последующее описание будет осуществлено со ссылками на чертежи, на которых одинаковыми ссылочными позициями обозначены одинаковые элементы по всему тексту описания.
Для простоты, а не для ограничения, описание приведено со ссылкой на чертежи, на которых представлен фиксатор, устанавливаемый так, чтобы закреплять только правую сторону (верх и низ) соответствующих навесных панелей. Специалисту будет очевидно, что фиксатор, устанавливаемый для закрепления левой стороны навесной панели, будет зеркальным отражением фиксатора, представленного на упомянутых чертежах.
Фиксатор для навесных панелей содержит основную пластину (1) для крепления к несущей поверхности (100) и дополнительную пластину (2). Основная пластина (1) содержит два консольных выступа (3 и 4), один (3) из которых содержит упор (5), предназначенный для последующей фиксации низа одной из навесных панелей. При этом основная пластина (1) содержит карман (6) для размещения в нем дополнительной пластины (2) и по меньшей два крепежных отверстия (7 и 8) для крепления основной пластины (1) к несущей поверхности (100). Также основная пластина (1) содержит ребро (9) жесткости и по меньшей мере два упругих упора (10 и 11), по одному на каждую соответствующую навесную панель, для жесткого закрепления последних.
Дополнительная пластина (2) имеет консольный выступ (12) с упором (13), посредством которого закрепляют верх одной из навесных панелей. Также дополнительная пластина (2) на противоположном консольному выступу (12) конце отогнута (14) в том же направлении, что и консольный выступ (12), для фиксации дополнительной пластины (2) в упомянутом кармане (6) после ее установки.
Консольные выступы (3 и 12) основной (1) и дополнительной (2) пластин могут быть выполнены либо изгибом части соответствующей пластины (1 или 2), соответственно, либо это может быть соответствующий профиль, который фиксируют на соответствующей пластине (1 или 2). Под фиксацией понимается разборное (например, винтовое и подобное соединение) или неразборное соединение (сварка, склейка и т.п.) соответствующего профиля с соответствующей пластиной. Профиль может быть выбран из группы, состоящей, например, из плоской пластины, Г-образного профиля или L-образного профиля.
Монтаж навесной панели с помощью фиксатора по настоящему изобретению осуществляют следующим образом. Подготавливают место крепления новой навесной панели, удаляя дефектную или разбитую навесную панель или убирая леса, мешающие осуществить монтаж навесной панели. Изначально проверяют расположение отсутствующей плиты и демонтируют (не разбивая) еще одну, сверху либо снизу, руководствуясь следующим правилом – нижняя из двух рассматриваемых навесных панелей не должна находиться на стыке направляющих (несущей поверхности (100)), к которым крепят фиксатор согласно настоящему изобретению. Таким образом, получают две снятые (по вертикали) навесные панели.
После демонтажа двух навесных панелей становятся видны шесть фиксаторов, которые удерживали плиты на соответствующих установочных местах (по три фиксатора на каждой направляющей). Среди видимых фиксаторов (из шести упомянутых) выбирают средние (по высоте) и высверливают у них все видимые заклепки (обычные фиксаторы устанавливают на 4 заклепки, то есть удаляют только 2 из них, которые не загораживают установленные панели). Затем аккуратно режущим инструментом срезают освобожденные половинки фиксаторов. На следующем этапе устанавливают верхнюю из двух навесных панелей, которую заводят до упора вверх в ранее установленные верхние фиксаторы. На место срезанных частей ранее установленных фиксаторов устанавливают фиксаторы по настоящему изобретению (по одному справа и слева, каждый на 2 заклепки) с зазором в 2,5 мм между плоскостью нижнего торца навесной панели и консольными выступами (3 и 4) основной пластины (1). Дополнительные пластины (2) фиксаторов при этом устанавливают в промежуточное положение, то есть вставляют в карманы (6) соответствующих основных пластин (1) на глубину меньше необходимой для фиксации дополнительной пластины в соответствующем кармане (6).
Следующим этапом верхнюю навесную панель опускают на установленные фиксаторы по настоящему изобретению. Заранее подготовленную (пропиленную под упоры 13 двух фиксаторов) нижнюю навесную панель аккуратно (как можно ближе к вертикальному положению) устанавливают на консольные выступы нижних ранее установленных фиксаторов и доводят до упоров (10 и 11) установленных фиксаторов. Дополнительные пластины (2) установленных фиксаторов отверткой опускают до конца в верхние пропилы нижней навесной панели до фиксации пластины (2) в кармане (6).
Настоящий фиксатор для навесных панелей позволяет не демонтировать все панели, находящиеся выше дефектной или разрушенной панели, а снять лишь дополнительную одну из них, с последующей ее обратной установкой, что существенно повышает ремонтопригодность как уже существующих установленных навесных панелей, так и вновь устанавливаемых.
Формула изобретения
1. Фиксатор для крепления двух навесных панелей, расположенных друг над другом, содержащий основную пластину для крепления к несущей поверхности, выполненную с по меньшей мере одним консольным выступом с упором, предназначенным для последующей фиксации низа верхней из упомянутых навесных панелей, с по меньшей мере двумя упругими упорами, по одному на каждую соответствующую упомянутую навесную панель, для жесткого закрепления последних, и карманом, выполненным с возможностью размещения в нем дополнительной пластины, и дополнительную пластину с по меньшей мере одним консольным выступом с упором, предназначенным для последующей фиксации верха нижней навесной панели, при этом дополнительная пластина на противоположном консольному выступу конце отогнута в том же направлении, что и консольный выступ дополнительной пластины, для упомянутой фиксации дополнительной пластины в упомянутом кармане после ее установки.
2. Фиксатор по п.1, в котором по меньшей мере один консольный выступ, предназначенный для последующей фиксации низа или верха одной из соответствующих навесных панелей, выполнен либо изгибом части основной пластины, либо фиксацией к основной пластине соответствующего профиля.
3. Фиксатор по п.1 или 2, в котором соответствующий профиль выбран из группы, состоящей из плоской пластины, Г-образного профиля или L-образного профиля, а упомянутая фиксация осуществлена сваркой, приклеиванием, приклепыванием или с помощью разборного соединения.
4. Фиксатор по п.1, в котором на противоположном консольному выступу краю основной пластины выполнено ребро жесткости.
5. Фиксатор по п.1, в котором основная пластина содержит по меньшей мере два крепежных отверстия для крепления основной пластины к несущей поверхности.
РИСУНКИ
|
|