|
|
(21), (22) Заявка: 2008145243/03, 18.11.2008
(24) Дата начала отсчета срока действия патента:
18.11.2008
(46) Опубликовано: 10.02.2010
(56) Список документов, цитированных в отчете о поиске:
RU 60562 U1, 27.01.2007. RU 2154716 C2, 20.08.2000. RU 2180935 C2, 27.03.2002. RU 68034 U1, 10.11.2007. GB 2284835 A, 21.06.1995. EP 0180837 A2, 14.05.1986.
Адрес для переписки:
121165, Москва, Г-165, а/я 15, ООО “ППФ-ЮСТИС”,пат.пов. Л.С.Пилишкиной, рег. 895
|
(72) Автор(ы):
Барышев Владимир Васильевич (RU), Архангельский Сергей Вячеславович (RU)
(73) Патентообладатель(и):
Общество с ограниченной ответственностью “Ронсон-гидрозащита” (RU)
|
(54) ВЕРТИКАЛЬНАЯ НАПРАВЛЯЮЩАЯ ДЛЯ КРЕПЛЕНИЯ ОБЛИЦОВОЧНЫХ ПЛИТ НАВЕСНОГО ВЕНТИЛИРУЕМОГО ФАСАДА
(57) Реферат:
Изобретение относится к области промышленного и гражданского строительства, а именно к конструкциям вертикальных направляющих для крепления облицовочных плит навесного вентилируемого фасада. Вертикальная направляющая для крепления облицовочных плит навесного вентилируемого фасада состоит из установленных последовательно по высоте с зазором между собой полых профилей с отгибами по краям, каждый из которых с одного своего конца жестко соединен с концом стойки, которая другим своим концом взаимодействует по скользящей посадке с противоположным концом соседнего профиля. На конце каждого профиля, с которым взаимодействует по скользящей посадке стойка, установлен замковый элемент, образующий совместно с внутренней поверхностью профиля замкнутую поверхность, по меньшей мере, часть поперечного сечения которой имеет форму внешнего контура стойки, а каждая стойка установлена своими концами внутри соседних профилей и плотно охвачена указанной замкнутой поверхностью. Технический результат: повышение несущей способности вертикальных профилей в зоне деформационных швов. 2 з.п. ф-лы, 4 ил.
Изобретение относится к области промышленного и гражданского строительства, а именно к конструкциям вертикальных направляющих для крепления облицовочных плит навесного вентилируемого фасада (далее система НВФ).
Конструкция теплоизолирующего НВФ в общем случае состоит из слоя утеплителя, крепящегося непосредственно к фасаду, и силового каркаса, который позволяет крепить облицовочные плиты с образованием воздушного зазора между слоем утеплителя и облицовки. В качестве облицовочных материалов фасада могут применяться плиты из самых различных материалов: алюминий, сталь, фиброцемент, асбестоцемент, керамогранит, гранит и т.д.
Материалы для изготовления систем НВФ и для изготовления облицовочных плит имеют различные коэффициенты линейного расширения. Годовой перепад температур на фасаде достигает 120-130°С. Различные степени расширения и сжатия материалов облицовки и системы НВФ могут привести к разрушению как системы, так и облицовки. Для устранения этого недостатка через определенные расстояния по фасаду необходимо устраивать деформационные швы (разрывы), разбивающие фасад на «температурные блоки», в пределах которых взаимные деформации различных материалов не вызывают разрушения облицовки и системы. В настоящее время это достигается путем разрезания профилей по линии деформационного шва с образованием сквозного зазора 6-10 мм.
Наиболее близким аналогом к заявленному изобретению является вертикальная направляющая для крепления облицовочных плит НВФ, состоящая из нескольких установленных последовательно по высоте с зазором между собой П-образных профилей, характеризующихся наличием ступенчатых горизонтальных полок и боковых полок, при этом каждый из профилей с одного своего конца соединен с концом вертикальной стойки, выполненной в виде профиля дренажа и установленной снаружи профиля, которая другим своим концом взаимодействует по скользящей посадке с противоположным концом смежного профиля (RU 60562 U1, описание, опубл. 27.01.2007).
Известное решение имеет ряд недостатков: разрезанные профили ослабляют систему НВФ и снижают устойчивость к воздействию ветровых нагрузок, в местах разрезки профилей требуется установка дополнительных кронштейнов, также в местах разрезки профилей на фасаде могут образовываться уступы, ухудшаются эстетические качества облицовки. Особенно остро этот вопрос встает при больших пролетах между точками опоры вертикальных профилей и отсутствии самой возможности установки дополнительных кронштейнов.
Задачей заявленного изобретения является повышение несущей способности вертикальных профилей в зоне деформационных швов при исключении необходимости установки дополнительных кронштейнов в зоне деформационных швов и исключении возможности образования уступов на поверхности облицовки в зоне деформационных швов.
Задача решается тем, что вертикальная направляющая для крепления облицовочных плит навесного вентилируемого фасада состоит из установленных последовательно по высоте с зазором между собой полых профилей с отгибами по краям, каждый из которых с одного своего конца жестко соединен с концом стойки, которая другим своим концом взаимодействует по скользящей посадке с противоположным концом соседнего профиля, при этом на конце каждого профиля, с которым взаимодействует по скользящей посадке стойка, установлен замковый элемент, образующий совместно с внутренней поверхностью профиля замкнутую поверхность, по меньшей мере часть поперечного сечения которой имеет форму внешнего контура стойки, а каждая стойка установлена своими концами внутри соседних профилей и плотно охвачена указанной замкнутой поверхностью.
Скользящее соединение замкового элемента с концом вертикальной стойки, выступающим за пределы температурного блока в виде консоли, а также жесткое соединение другого конца вертикальной стойки внутри полого профиля обеспечивают компенсацию всех температурных деформаций системы НВФ с увеличением несущей способности вертикального профиля, без установки дополнительных опорных кронштейнов в зоне деформационного шва и гарантированно предотвращают образование уступов на поверхности облицовки в местах деформационных швов, в результате чего повышается надежность конструкции, улучшается эстетическое качество облицовки при упрощении процесса сборки.
В частном варианте осуществления изобретения профиль может быть выполнен трапециевидной формы, а стойка с трапециевидным контуром, причем разомкнутым.
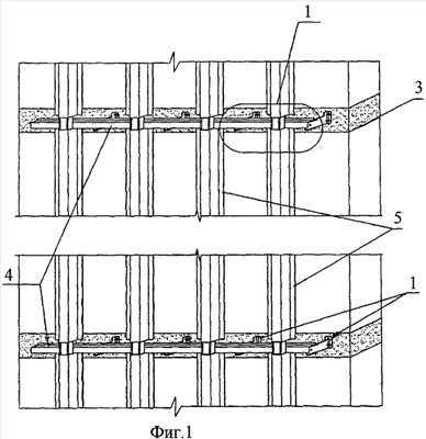
Изобретение поясняется чертежами, где на фиг.1 представлен общий вид НВФ, на фиг.2 представлено продольное сечение узла 1, на фиг.3 представлено сечение 1-1 на фиг.2, на фиг.4 – сечение 2-2 на фиг.2.
Фасадные кронштейны 1 закрепляются дюбелями 2 на железобетонных поясах 3 межэтажных перекрытий. На фасадные кронштейны закрепляются горизонтальные профили 4.
Вертикальные профили 5 трапециевидной формы с отгибами на концах в своей верхней части жестко соединены каждый с нижним концом соответствующей вертикальной стойки 6 с помощью вытяжных заклепок 7 (сечение 1-1, фиг.3). Каждая вертикальная стойка 6 имеет в поперечном сечении трапециевидный контур, разомкнутый по короткой стороне трапеции.
Вертикальная стойка 6 жестко соединяется с горизонтальным профилем 4 с помощью вытяжных заклепок 7, при этом верхняя часть вертикальной стойки 6 консольно выступает над горизонтальным профилем 4.
На нижнем конце вышерасположенного вертикального профиля 5 с помощью вытяжных заклепок 7 закреплен замковый элемент 8.
В результате установки замкового элемента 8 в нижней части вертикального профиля 5 образуется замкнутая поверхность, имеющая форму внешнего контура вертикальной стойки 6 и плотно охватывающая консольно выступающую часть стойки со всех сторон.
Такое соединение предотвращает возможность горизонтального смещения вертикальных профилей 5 друг относительно друга, не препятствуя их смещению по вертикали относительно друг друга. Тем самым на вертикальном профиле образуется температурный шов, не снижающий несущей способности самого профиля.
Изобретение позволяет значительно упростить технологию строительства НВФ, повысить несущую способность и надежность работы системы и улучшить эстетическое качество облицовки.
Формула изобретения
1. Вертикальная направляющая для крепления облицовочных плит навесного вентилируемого фасада, состоящая из установленных последовательно по высоте с зазором между собой полых профилей с отгибами по краям, каждый из которых с одного своего конца жестко соединен с концом стойки, которая другим своим концом взаимодействует по скользящей посадке с противоположным концом соседнего профиля, отличающаяся тем, что на конце каждого профиля, с которым взаимодействует по скользящей посадке стойка, установлен замковый элемент, образующий совместно с внутренней поверхностью профиля замкнутую поверхность, по меньшей мере, часть поперечного сечения которой имеет форму внешнего контура стойки, а каждая стойка установлена своими концами внутри соседних профилей и плотно охвачена указанной замкнутой поверхностью.
2. Направляющая по п.1, отличающаяся тем, что каждый профиль выполнен трапециевидной формы, а каждая стойка имеет трапециевидный контур.
3. Направляющая по п.1, отличающаяся тем, что каждая стойка имеет разомкнутый контур.
РИСУНКИ
|
|