|
|
(21), (22) Заявка: 2008142605/11, 27.10.2008
(24) Дата начала отсчета срока действия патента:
27.10.2008
(46) Опубликовано: 10.02.2010
(56) Список документов, цитированных в отчете о поиске:
RU 2049031 C1, 27.11.1995. JP 2006298526 A, 02.11.2006. CA 1181356 A1, 22.01.1985. ВЕСЫ ДОЗАТОРЫ ДАТЧИКИ СИСТЕМЫ. Прайс-листы и каталог выпускаемой продукции на 08 августа 2005 года. Торговый дом “Тензо-М”, с.26-27.
Адрес для переписки:
614113, г.Пермь, ул. Чистопольская, 16, Федеральное государственное унитарное предприятие “Научно-исследовательский институт полимерных материалов”
|
(72) Автор(ы):
Гаранин Леонид Петрович (RU), Брехов Геннадий Васильевич (RU), Останкович Леонид Александрович (RU), Сибгатуллин Равиль Габдрахманович (RU)
(73) Патентообладатель(и):
Федеральное государственное унитарное предприятие “Научно-исследовательский институт полимерных материалов” (RU)
|
(54) ШНЕКОВЫЙ ПИТАТЕЛЬ
(57) Реферат:
Шнековый питатель состоит из расходного бункера (1) с загрузочным люком (2), вала со шнеком (3), корпуса (7) с выгрузочным люком (8) и привода. В корпусе питателя с противоположной от выгрузочного люка стороны выполнен разгрузочный люк (6), снабженный крышкой (5), выполненной заподлицо с внутренней поверхностью корпуса питателя. Вал со шнеком имеет возможность реверсивного вращения и снабжен с обеих сторон отбойными лопастями (9), имеющими в сечении форму треугольника. Обеспечивается разгрузка остатков сыпучего материала из питателя без разборки соединительного элемента между выгрузочным и загрузочным люками. 1 ил.
Изобретение относится к области транспортировки сыпучих материалов. Оно может быть использовано в химической, строительной и других отраслях промышленности.
Конструкции ряда шнековых питателей приведены Григорьевым A.M. в книге «Винтовые конвейеры». – М.: Машиностроение, 1972 г. Несколько шнековых питателей приведены в Справочнике «Весы и дозаторы весовые». – М.: Машиностроение, 1981 г. (стр.90-91). Как правило, такие питатели встраиваются в ту или иную технологическую схему для транспортировки сыпучего материала из бункера-накопителя в дозатор или другой последующий технологический аппарат. Так, например, такой питатель с бункером используется в дозаторе малых добавок, представленном в каталоге предприятия «Тензо-М» на стр.26-27. Этот шнековый питатель принят за прототип.
Недостатки шнекового питателя, принятого за прототип. После окончания работы в расходном бункере, как правило, остается какое-то количество материала. Эти остатки необходимо выгрузить и произвести чистку оборудования. Обычно материал вырабатывают шнеком через выгрузочный люк в тару. Для этого предварительно отсоединяют штатный соединительный элемент, соединяющий питатель и последующий аппарат (обычно это гибкий матерчатый или прорезиненный рукав), и подсоединяют его к входному люку тары. Во многих случаях расстояние от выгрузочного люка шнекового питателя до загрузочного люка последующего аппарата очень небольшое из-за требований минимизации высотных размеров технологических установок. По этой причине затруднено размещение тары между аппаратами для выгрузки остатков материала из шнекового питателя. Появляется необходимость иметь какие-то приспособления типа специального наклонного желоба или вибротрубы, с помощью которых возможно производить выгрузку остатков в тару. Таким образом, выгрузка остатков материала из шнекового питателя связана с выполнением ряда ручных операций, изготовлением специальных приспособлений, значительными трудозатратами, что повышает расходы на эксплуатацию аппарата.
Технической задачей данного изобретения является обеспечение разгрузки остатков сыпучего материала из шнекового питателя без разборки соединительного элемента между выгрузочным люком шнекового питателя и загрузочным люком последующего аппарата.
Технический результат достигается тем, что в корпусе шнекового питателя с противоположной стороны от выгрузочного люка выполнен разгрузочный люк для удаления остатков сыпучего материала из бункера шнекового питателя. Этот разгрузочный люк во время штатной работы шнекового питателя закрыт крышкой, выполненной заподлицо с внутреннней поверхностью корпуса питателя. Перед удалением остатков этот люк открывают, устанавливают под ним тару, включают реверсивное вращение шнека и удаляют остатки материала из питателя. Вал шнека с обеих сторон снабжен отбойными лопастями. Отбойные лопасти в сечении имеют форму треугольника. Отбойные лопасти предназначены для предотвращения доступа сыпучего материала в подшипниковые узлы вала шнека как при штатной работе, т.е. при прямом его вращении, так и при удалении остатков, когда шнек вращается в противоположном направлении, т.е. при его реверсивном вращении.
Наличие разгрузочного люка, выполнение шнека с возможностью его реверсивного вращения упрощает эксплуатацию шнекового питателя, снижает трудоемкость и затраты при его обслуживании.
Сущность предлагаемого изобретения поясняется чертежом.
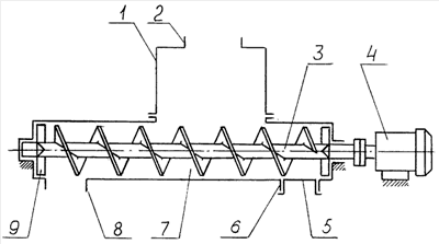
На чертеже схематично изображен шнековый питатель: 1 – бункер; 2 – загрузочный люк; 3 – вал со шнеком; 4 – привод питателя; 5 – крышка; 6 – разгрузочный люк; 7 – корпус питателя; 8 – выгрузочный люк; 9 – отбойная лопасть.
Шнековый питатель состоит из бункера 1 с загрузочным люком 2, вала со шнеком 3, привода 4, корпуса питателя 7 с выгрузочным люком 8 и разгрузочным люком 6. Разгрузочный люк 6 имеет крышку 5. На концах вала со шнеком 3 имеются отбойные лопасти 9. Отбойные лопасти в сечении имеют форму равностороннего треугольника.
Исходное состояние шнекового питателя перед загрузкой в него сыпучего материала: выгрузочный люк 8 соединен соединительным элементом (обычно гибким рукавом) с последующим технологическим аппаратом. Разгрузочный люк 6 закрыт крышкой 5. После загрузки через загрузочный люк 2 в бункер 1 сыпучего материала включают привод питателя 4, приводящий во вращение вал со шнеком 3, который транспортирует материал из бункера 1 через выгрузочный люк 8 в последующий технологический аппарат. Выгрузка производится по заданной программе в зависимости от технологического процесса. Вместе с валом со шнеком 3 вращаются отбойные лопасти 9, предотвращающие попадание транспортируемого материала в подшипниковые узлы. Поскольку отбойные лопасти 9 в сечении имеют форму треугольника, то при любом направлении вращения вала со шнеком 3 отбойные лопасти направляют материал в сторону, противоположную от подшипниковых узлов.
Загружают материал в бункер, как правило, с некоторым запасом и поэтому после выгрузки заданного количества материала в шнековом питателе может остаться некоторая его часть. По окончании технологического цикла питатель необходимо освободить от оставшегося материала. Для этого под разгрузочный люк 6 подставляют тару, снимают крышку 5, включают обратное вращение вала со шнеком 3 и остатки материала выгружают через разгрузочный люк 6 в тару, освобождая питатель от остатков материала. Поскольку со стороны разгрузочного люка 6 на валу со шнеком 3 также установлены отбойные лопасти 9, то во время выгрузки остатков они предотвращают попадание сыпучего материала в подшипниковый узел со стороны привода питателя 4. Крышка 5 выполнена заподлицо с внутренней поверхностью корпуса 7, что не дает накапливаться сыпучему материалу в разгрузочном люке 6 во время работы и облегчает снятие крышки 5 перед разгрузкой остатков материала через люк 6, т.к. в этом случае на крышке 5 перед ее открытием находится минимальное количество порошка. После разгрузки остатков материала разгрузочный люк 6 закрывают крышкой 5 и шнековый питатель готов к очередному технологическому циклу.
Таким образом, наличие в шнековом питателе разгрузочного люка для удаления остатков материала, установка шнека с возможностью реверсивного вращения, наличие на валу шнека отбойных лопастей треугольного сечения и выполнение крышки люка заподлицо с внутренней поверхностью корпуса питателя упрощает эксплуатацию питателя и снижает затраты на его обслуживание.
Разработаны рабочие чертежи предлагаемого шнекового питателя. Опытный образец шнекового питателя испытан в условиях ФГУП «НИИПМ» с положительными результатами.
Формула изобретения
Шнековый питатель, состоящий из расходного бункера с загрузочным люком, вала со шнеком, корпуса с выгрузочным люком, привода, отличающийся тем, что вал со шнеком выполнен с возможностью реверсивного вращения и снабжен с обеих сторон отбойными лопастями, имеющими в сечении форму треугольника, а корпус питателя снабжен разгрузочным люком, выполненным с противоположной стороны от выгрузочного люка, при этом разгрузочный люк снабжен крышкой, которая выполнена заподлицо с внутренней поверхностью корпуса питателя.
РИСУНКИ
|
|