|
|
(21), (22) Заявка: 2007118925/11, 03.08.2005
(24) Дата начала отсчета срока действия патента:
03.08.2005
(30) Конвенционный приоритет:
22.10.2004 US 10/972,234
(43) Дата публикации заявки: 27.11.2008
(46) Опубликовано: 10.02.2010
(56) Список документов, цитированных в отчете о поиске:
GB 2261333 А, 12.05.1993. GB 2293253 А, 20.03.1996. RU 2183379 С1, 10.06.2002. US 4883940 А, 28.11.1989.
(85) Дата перевода заявки PCT на национальную фазу:
22.05.2007
(86) Заявка PCT:
US 2005/027494 20050803
(87) Публикация PCT:
WO 2007/015695 20070208
Адрес для переписки:
103735, Москва, ул. Ильинка, 5/2, ООО “Союзпатент”, пат.пов. Ю.В.Пинчуку, рег. 656
|
(72) Автор(ы):
БРИГС Майкл Д. (US)
(73) Патентообладатель(и):
ППГ ИНДАСТРИЗ ОГАЙО, ИНК. (US)
|
(54) СИСТЕМА БОРЬБЫ С ЗАПОТЕВАНИЕМ/ОБЛЕДЕНЕНИЕМ ЛОБОВОГО СТЕКЛА ВОЗДУШНОГО СУДНА И СПОСОБ ЕЕ ИСПОЛЬЗОВАНИЯ
(57) Реферат:
Изобретение относится к области авиации, более конкретно к системе для борьбы с запотеванием/облединением. В системе борьбы с запотеванием/обледенением лобового стекла (4) воздушного судна, используется пара прозрачных листов (8), которые с помощью прозрачного промежуточного слоя (14) поддерживаются на расстоянии друг от друга и обращены друг к другу. Система также содержит резистивное покрытие (20), расположенное между прозрачными листами. Предусмотрен инвертор (22), предназначенный для подачи на резистивное покрытие (20) сигнала (34) переменного тока прямоугольной или квазипрямоугольной формы. При получении этого сигнала (34) переменного тока резистивное покрытие (20) выделяет тепло, которое уменьшает или исключает накопление влаги или льда на лобовом стекле воздушного судна. Технический результат заключается в уменьшении веса и повышении эффективности системы борьбы с запотеванием/обледенением лобового стекла (4) воздушного судна. 2 н. и 20 з.п. ф-лы, 5 ил.
Область техники, к которой относится изобретение
Настоящее изобретение относится к лобовым стеклам воздушных судов, в частности к борьбе с запотеванием/обледенением лобовых стекол воздушных судов.
Уровень техники
Существующие системы борьбы с запотеванием/обледенением лобового стекла воздушного судна обычно содержат резистивное покрытие, которое нанесено на внутреннюю поверхность одного из нескольких прозрачных слоев, которые соединены в многослойный материал и удерживаются вместе благодаря прозрачным промежуточным слоям. Многие резистивные покрытия, используемые в настоящее время, питаются электроэнергией постоянного тока, которой на воздушном судне снабжаются другие системы, такие как радиоэлектронные системы. Тем не менее, некоторые резистивные пленки лучше снабжать электроэнергией переменного тока. До сих пор электроэнергия переменного тока вырабатывалась инвертором, который преобразовывал электроэнергию постоянного тока в электроэнергию переменного тока, при этом сигнал имеет синусоидальную форму.
Недостаток использования инвертора для преобразования электроэнергии постоянного тока в электроэнергию переменного тока с сигналом синусоидальной формы состоит в том, что инвертор необходимо конфигурировать для выполнения указанной функции. Для того чтобы на выходе инвертора был синусоидальный сигнал переменного тока, инвертор должен содержать некоторые компоненты, такие как фильтрующие конденсаторы и/или фильтрующие катушки индуктивности, что увеличивает вес и стоимость инвертора.
Таким образом, необходимо (что не описано в технике), чтобы в системе борьбы с запотеванием/обледенением лобового стекла воздушного судна отсутствовали описанные выше и другие недостатки. То, какие еще недостатки устранены в настоящем изобретении, станет ясно специалистам средней квалификации в рассматриваемой области после прочтения и понимания последующего подробного описания.
Раскрытие изобретения
В настоящем изобретении предложена система борьбы с запотеванием/обледенением лобового стекла воздушного судна, содержащая пару прозрачных листов, которые благодаря прозрачному промежуточному слою поддерживаются на расстоянии друг от друга и обращены друг к другу, резистивное покрытие, расположенное между прозрачными листами, например, между промежуточным слоем и одним из прозрачных листов, и конструкцию, предназначенную для подачи на резистивное покрытие прямоугольного сигнала или квазипрямоугольного сигнала переменного тока.
Целесообразно, чтобы резистивное покрытие представляло собой прозрачную пленку, нанесенную на один прозрачный лист. В одном не ограничивающем изобретение варианте осуществления коэффициент заполнения сигнала переменного тока изменяется в диапазоне от 0% до 100% за период времени в 1 секунду, например, меняется от 25% до 75% и/или частота колеблется от 25 до 1000 Герц.
Конструкция, предназначенная для подачи сигнала переменного тока, может содержать инвертор, предназначенный для преобразования входного сигнала постоянного тока в сигнал переменного тока, и управляющее устройство, которое в зависимости от входного сигнала постоянного тока подает на инвертор один или несколько сигналов управления, в результате чего инвертор преобразует входной сигнал постоянного тока в сигнал переменного тока. Сигнал переменного тока может быть напряжением переменного тока, а сигнал постоянного тока может быть напряжением постоянного тока. В одном не ограничивающем изобретение варианте осуществления изобретения значение постоянного напряжения может находиться в диапазоне от 24 до 32 В постоянного тока, а значение переменного напряжения находится в диапазоне от 115 до 230 В переменного тока.
Дополнительно система может содержать переключатель, например реле, транзистор и так далее, предназначенный для выборочного соединения средства для подачи тока к источнику питания постоянным током.
Источником питания постоянным током может быть генератор постоянного тока, приводимый в действие двигателем внутреннего сгорания воздушного судна. Двигателем внутреннего сгорания может быть реактивный двигатель и/или поршневой двигатель.
Резистивное покрытие может состоять из оксида индия и олова (ОИО), сопротивление которого не превышает 50 Ом на единицу площади, например, не превышает 25 Ом на единицу площади или не превышает 10 Ом на единицу площади.
Каждый прозрачный слой может состоять из стекла или поликарбоната. Промежуточный слой может состоять из поливинилбутираля.
В изобретении также предложена система борьбы с запотеванием/обледенением лобового стекла воздушного судна, содержащая стеклянное покрытие для борьбы с обледенением, выполненное на первом прозрачном листе, являющемся частью лобового стекла воздушного судна, инверторный блок, соединенный со стеклянным покрытием для борьбы с обледенением и управляющее устройство, в результате работы которого инверторный блок преобразует электроэнергию постоянного тока в электроэнергию переменного тока, при этом сигнал переменного тока имеет прямоугольную или квазипрямоугольную форму.
Сигнал переменного тока может иметь форму прямоугольного сигнала, или квазипрямоугольного сигнала, коэффициент заполнения, который изменяется в диапазоне от 0% до 100%, например, в диапазоне от 25% до 75% и фиксированную частоту, находящуюся в диапазоне 25 до 1000 Герц.
Дополнительно лобовое стекло воздушного судна может содержать второй прозрачный лист, соединенный с первым прозрачным листом с помощью прозрачного промежуточного слоя. Стеклянное покрытие для борьбы с обледенением может быть расположено между первым прозрачным листом и прозрачным промежуточным слоем.
Каждый прозрачный лист может представлять собой лист стекла или лист поликарбоната. Прозрачный промежуточный слой может состоять из поливинилбутираля.
Источником питания постоянным током может быть генератор постоянного тока, приводимый в действие двигателем воздушного судна. Стеклянное покрытие для борьбы с обледенением может состоять из оксида индия и олова (ОИО). Желательно, чтобы сопротивление стеклянного покрытия для борьбы с обледенением не превышало 50 Ом на единицу площади, например, не превышало 25 Ом на единицу площади или не превышало 10 Ом на единицу площади.
Дополнительно в настоящем изобретении предложен способ борьбы с запотеванием/обледенением лобового стекла воздушного судна. Указанный способ включает в себя обеспечение воздушного судна лобовым стеклом с резистивным покрытием, расположенным на поверхности, которая не открыта в пространство, окружающее воздушное судно, соединение инвертора, содержащего управляющее устройство, предназначенное для управления работой блока между резистивным покрытием и источником питания постоянным током, осуществление инверторным блоком преобразования электроэнергии постоянного тока в электроэнергию переменного тока с прямоугольным или квазипрямоугольным сигналом переменного тока и подачу электроэнергии переменного тока к резистивному покрытию.
Краткое описание чертежей
Фиг.1 – вид в изометрии воздушного судна с лобовыми стеклами, в которых может быть применена система борьбы с запотеванием/обледенением, соответствующая настоящему изобретению;
Фиг.2 – отдельный увеличенный вид лобовых стекол с фиг.1;
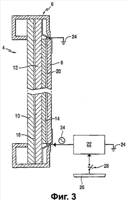
Фиг.3 – поперечный разрез III-III фиг.2, показывающий резистивное покрытие, соединенное с инвертором с целью подачи электроэнергии переменного тока;
Фиг.4 – блок-схема внутренних компонентов инвертора, показанного на фиг.3 и соединенного через шину постоянного тока с генератором постоянного тока, который питается от двигателя воздушного судна; и
Фиг.5 – типовая форма сигнала, поступающего от работающего инвертора с фиг.3.
Осуществление изобретения
Далее настоящее изобретение будет описано со ссылками на прилагаемые фигуры, на которых одинаковые ссылочные позиции обозначают одинаковые элементы.
Ко всем числам, выражающим размеры, физические характеристики, эксплуатационные показатели и так далее, которые используются в описании и формуле изобретения, можно во всех случаях приставить термин «примерно». Соответственно, если не сказано обратное, числовые значения, установленные в последующем описании и формуле изобретения, могут изменяться в зависимости от нужных свойств, которых нужно добиться с помощью настоящего изобретения. Как минимум, не пытаясь ограничить применение принципа эквивалентности к объему изобретения, каждый числовой параметр должен, по меньшей мере, истолковываться в свете числа значащих цифр, а при округлении должна применяться стандартная процедура округления. Более того, все диапазоны, описанные здесь, необходимо понимать как диапазоны, содержащие любые свои поддиапазоны. Например, установленный диапазон «от 1 до 10» надо рассматривать как диапазон, содержащий все поддиапазоны между (и включая) минимальным значением 1 и максимальным значением 10, то есть все поддиапазоны, начинающиеся с минимального значения 1 или большего значения, например, от 1 до 6,1, и заканчивающиеся максимальным значением 10 или меньшим значением, например, от 5,5 до 10.
Как показано на фиг.1-3, воздушное судно 2, такое как самолет (показан) или вертолет (не показан), обычно содержит одно или несколько лобовых стекол 4, расположенных рядом с носовой или передней частью судна.
Желательно, чтобы форма каждого лобового стекла 4 была согласована с формой соответствующего воздушного судна 2, на которое установлено это лобовое стекло 4. Для облегчения крепления к воздушному судну 2, каждое лобовое стекло 4 содержит несущую конструкцию 6, которая окружает лобовое стекло и представляет собой устройство сопряжения лобового стекла 4 и корпуса воздушного судна 2, по которому лобовое стекло 4 присоединяется к воздушному судну 2.
Обычное лобовое стекло 4 содержит, по меньшей мере, два прозрачных листа, которые присоединены друг к другу прозрачным промежуточным слоем. В не ограничивающем изобретение варианте осуществления лобового стекла 4, показанном на фиг.3, прозрачные листы включают в себя внешний слой 8 стекла, внутренний слой 10 стекла и переходной слой 12 стекла. Слои 8, 10 и 12 стекла обычно нагреваются и гнутся до необходимой изогнутой формы. С помощью первого прозрачного промежуточного слоя 14 внешний слой 8 стекла и переходной слой 12 стекла соединены вместе лицевыми сторонами и обращены друг к другу. С помощью второго прозрачного промежуточного слоя 16 внутренний слой 10 стекла и переходной слой 12 стекла соединены вместе и обращены друг к другу. Хотя этого и не требуется, но каждый промежуточный слой может быть выполнен из поливинилбутираля. Внешний слой 8 стекла, первый промежуточный слой 14, переходной слой 12 стекла, второй промежуточный слой 16 и внутренний слой 10 стекла соединены вместе хорошо известным в технике способом. Соответственно, для простоты описания здесь не будем приводить подробное описание того, как производится соединение.
При эксплуатации часто на лобовом стекле 4, а именно на открытой поверхности внешнего слоя 8 стекла, собирается влага или лед, что происходит из-за климатических условий. Для того чтобы преодолеть это накопление, в отсутствии которого пилот воздушного судна 2 может свободно смотреть через лобовое стекло 4, предусмотрена система борьбы с запотеванием/обледенением лобового стекла 4. Эта система содержит резистивное покрытие 20, соединенное с инвертором 22 и заземлением 24 сигналов. Через переключатель 28 инвертор 22 соединен с источником питания постоянным током, например шиной 26 постоянного тока. Переключатель 28 может представлять собой любой подходящий и/или необходимый переключатель, например механический переключатель, силовой транзистор или подобное устройство.
Как показано на фиг.4 и 3, инвертор 22, соответствующий настоящему изобретению, содержит однофазный постоянный ток – переменный ток инверторный блок 30, соединенный с управляющим устройством 32. Так как обычный инверторный блок 30 хорошо известен в технике и так как внутренние компоненты инверторного блока 30 не относятся к настоящему изобретению, то для простоты описания настоящий документ не содержит подробностей, касающихся компонент инверторного блока 30. В не ограничивающем изобретение варианте осуществления настоящего изобретения, показанном на фиг.4, управляющее устройство 32 показано расположенным внутри корпуса инвертора 22. Тем не менее, следует понимать, что управляющее устройство может быть отдельным элементом, расположенным вне корпуса инвертора 22.
При эксплуатации в ответ на замыкание переключателя 28 управляющее устройство 32 выдает на инверторный блок 30 соответствующие управляющие сигналы, в результате чего инверторный блок 30 преобразовывает электроэнергию постоянного тока, получаемую от шины 26 постоянного тока в однофазную электроэнергию переменного тока, которая подается на резистивное покрытие 20. В ответ на подачу электроэнергии переменного тока от инверторного блока 30, резистивное покрытие 20 выделяет достаточное количество тепла или для исключения запотевания или образования льда на внешней поверхности внешнего слоя 8 стекла и/или для борьбы с влагой или льдом, которые накопились на открытой поверхности внешнего слоя 8 стекла.
В одном не ограничивающем изобретение варианте осуществления резистивное покрытие 20 представляет собой прозрачную пленку, нанесенную, например, распыленную, на внутреннюю поверхность внешнего слоя 8 стекла. Одним вариантом осуществления резистивного покрытия 20 является покрытие NESATRON®, состоящее из оксида индия и олова и выпускаемое компанией PPG Industries, Inc, или покрытие NESA®, состоящее из оксида олова и также выпускаемое компанией PPG Industries, Inc. Тем не менее, упоминание этих конкретных покрытий нельзя рассматривать как ограничение изобретения, так как предусматривается использование любого подходящего резистивного проводящего покрытия.
В одном варианте осуществления настоящего изобретения сопротивление резистивного покрытия 20 не превосходит 50 Ом на единицу площади, например, не превосходит 25 Ом на единицу площади или не превосходит 10 Ом на единицу площади. Тем не менее, это не надо рассматривать, как ограничение изобретения. В варианте осуществления изобретения, показанном на фиг.3, слои 8, 10 и 12 выполнены из стекла. Тем не менее, это не надо рассматривать, как ограничение изобретения, так как любой или любые из указанных слоев могут быть выполнены из поликарбоната или другого подходящего прозрачного материала.
Как показано на фиг.5 и 3, целесообразно, чтобы электроэнергия переменного тока подавалась на резистивное покрытие 20 или в виде прямоугольного сигнала 35 переменного тока или в виде квазипрямоугольного сигнала 34 переменного тока. При эксплуатации количество энергии, переданной покрытию 20 или равно 0%, то есть когда питание отключено, или равно 100%, то есть когда питание полностью включено. Продолжительность подачи энергии может меняться в зависимости от, например, атмосферных условий вне воздушного судна 2. Более конкретно под термином «коэффициент заполнения» здесь понимается отношение или процент (а) количества времени, в течение которого питание подается на покрытие за определенный период непрерывной работы и (б) общей длительности указанного определенного периода работы. Например, если за период времени, составляющий 2 минуты, питание подавалось к покрытию в течение 1 минуты, то коэффициент заполнения будет равен 1/2 или 50%. В настоящем изобретении в любой момент времени во время эксплуатации коэффициент заполнения может принимать любое значение от 0% до 100% на период времени, составляющий ровно 1 секунду, и при эксплуатации коэффициент заполнения может меняться много раз. В одном не ограничивающем изобретение варианте осуществления изобретения коэффициент заполнения меняется в зависимости от температуры лобового стекла 4. Температура лобового стекла 4 может отслеживаться во время полета любым хорошо известным в технике способом, например, с помощью датчика 40 температуры, расположенного на лобовом стекле или внутри него. В одном не ограничивающем изобретение варианте осуществления изобретения датчик 40 температуры расположен на той же внутренней поверхности лобового стекла, что и резистивное покрытие 20. В процессе эксплуатации датчик 40 температуры используется для отслеживания температуры лобового стекла 4 и на основе температуры лобового стекла управляющее устройство 32 устанавливает такой коэффициент заполнения, который необходим для поддержания лобового стекла чистым ото льда и/или не запотевшим. Следует понимать, что коэффициент заполнения так же может быть установлен заранее и не регулироваться с помощью датчика температуры. В одном не ограничивающем изобретение варианте осуществления коэффициент заполнения сигнала переменного тока находится в диапазоне от 0% до 100% за период времени в 1 секунду, например, от 10% до 90% или от 25% до 75%, и/или частота находится в диапазоне от 25 Герц до 1000 Герц. Тем не менее, эти диапазоны коэффициента заполнения и частота не надо рассматривать как ограничение изобретения. В одном не ограничивающем изобретение варианте осуществления изобретения инверторный блок 30 преобразует электроэнергию постоянного тока, например, находящуюся в диапазоне от 23 до 32 В постоянного тока, поставляемую от шины 26 постоянного тока, в электроэнергию переменного тока, среднеквадратичное значение напряжения которого находится в диапазоне от 115 до 230 В переменного тока. Тем не менее, это не нужно рассматривать как ограничение изобретения, так как предусмотрено использование других диапазонов значений электроэнергии постоянного тока и/или электроэнергии переменного тока. В одном не ограничивающем изобретение варианте осуществления изобретения инверторный блок 30 преобразует 28 В постоянного тока в 115 В переменного тока.
Как показано на фиг.4, электроэнергия постоянного тока, подаваемая на шину 26 постоянного тока, может вырабатываться в генераторе 36 постоянного тока, который приводится в действие двигателем 38 воздушного судна известным в технике способом. Двигатель 38 воздушного судна может представлять собой двигатель внутреннего сгорания, например реактивный двигатель, или поршневой двигатель. Тем не менее, это не надо рассматривать как ограничение изобретения.
Согласно способу борьбы с обледенением для лобового стекла 4 воздушного судна, воздушное судно 2 снабжено лобовым стеклом 4 с борющимся с запотеванием/обледенением или резистивным покрытием 20 из стекла, расположенным на поверхности тонкого слоя, причем указанная поверхность отлична от поверхности лобового стекла, которая открыта в пространство, окружающее воздушное судно. Инверторный блок 30 с управляющим устройством 32, предназначенным для управления инверторным блоком, подсоединен между резистивным покрытием 20 и генератором 36 постоянного тока. В подходящее время переключающее средство 28 соединяет шину 26 постоянного тока с управляющим устройством 32 и инверторным блоком 30. В ответ на образование переключающим средством 28 указанного соединения, благодаря работе управляющего устройства 32 инверторный блок 30 преобразует электроэнергию постоянного тока, поставляемую шиной 26 постоянного тока, в электроэнергию переменного тока с прямоугольной или квазипрямоугольной формой сигнала, фиксированным коэффициентом заполнения, например, находящимся в диапазоне от 25% до 75% за период времени в 1 секунду и фиксированной частотой, например, находящейся в диапазоне от 25 Герц до 1000 Герц. Как описано выше, не ограничивая настоящее изобретение, коэффициент заполнения может быть связан с температурой лобового стекла. Производимая таким образом электроэнергия переменного тока подается на резистивное покрытие 20, которое в ответ на подачу электроэнергии переменного тока, вырабатывает количество тепла, достаточное для исключения или уменьшения накопления влаги и/или льда на открытой поверхности внешнего слоя 8 стекла. В одном не ограничивающем изобретение варианте осуществления электроэнергия постоянного тока преобразуется в электроэнергию переменного тока с фиксированным коэффициентом заполнения, равным 50% за период времени в 1 секунду, и фиксированной частотой, составляющей 25 Гц.
Такое конфигурирование инверторного блока 30, что он выдает сигнал фиксированной частоты прямоугольной или квазипрямоугольной формы с коэффициентом заполнения с постоянной модуляцией, позволяет выполнить инверторный блок 30 с использованием минимального количества компонентов, например, больших фильтрующих конденсаторов и/или катушек индуктивности, где вес, размер и стоимость инвертора 22 может быть меньше, чем у инверторов, используемых в настоящее время и выдающих сигналы синусоидальной формы. В одном не ограничивающем изобретение варианте осуществления конфигурирование инверторного блока 30 с целью получения прямоугольных или квазипрямоугольных сигналов фиксированной частоты позволяет уменьшить общий вес инвертора 22, предназначенного для использования с лобовым стеклом воздушного судна, до значения, не превосходящего 3,6 кг, например, не превосходящего 2,7 кг или не превосходящего 2,3 кг.
Изобретение было описано со ссылкой на предпочтительный вариант осуществления. После прочтения и понимания предшествующего подробного описания могут быть предложены очевидные модификации и изменения. Подразумевается, что изобретение включает в себя все подобные модификации и изменения в такой мере, в какой они находятся в рамках объема прилагаемой формулы изобретения и ее эквивалентов.
Формула изобретения
1. Система борьбы с запотеванием/обледенением лобового стекла воздушного судна, содержащая пару прозрачных листов, которые с помощью переходного слоя поддерживаются на расстоянии друг от друга и обращены друг к другу, резистивное покрытие, расположенное между парой прозрачных листов, и инвертор, предназначенный для подачи на резистивное покрытие сигнала переменного тока прямоугольной или квазипрямоугольной формы, при этом система дополнительно содержит датчик температуры, предназначенный для отслеживания температуры лобового стекла, причем коэффициент заполнения сигнала переменного тока изменяется в зависимости от температуры лобового стекла.
2. Система по п.1, в которой покрытие расположено между прозрачным переходным слоем и одним из прозрачных листов.
3. Система по п.1, в которой покрытие расположено между первым прозрачным листом и переходным слоем.
4. Система по п.2, в которой резистивное покрытие представляет собой прозрачную пленку, нанесенную на один из двух прозрачных листов.
5. Система по п.1, в которой каждый из двух прозрачных листов выполнен или из стекла, или из поликарбоната, а промежуточный слой выполнен из поливинилбутираля.
6. Система по п.1, в которой сигнал переменного тока обладает, по меньшей мере, одним из перечисленных свойств: коэффициент заполнения находится в диапазоне от 0 до 100% за период времени в 1 с, и частота составляет от 25 до 1000 Гц.
7. Система по п.5, в которой коэффициент заполнения сигнала переменного тока находится в диапазоне от 25 до 75% за период времени в 1 с.
8. Система по п.1, в которой инвертор содержит инверторный блок, предназначенный для преобразования входного сигнала постоянного тока в сигнал переменного тока, и управляющее устройство, которое в ответ на входной сигнал постоянного тока выдает на инвертор один или несколько управляющих сигналов, благодаря чему инвертор преобразует входной сигнал постоянного тока в сигнал переменного тока.
9. Система по п.7, в которой инвертор весит не более 3,6 кг.
10. Система по п.9, в которой инвертор весит не более 2,7 кг.
11. Система по п.7, в которой сигнал переменного тока представляет собой напряжение переменного тока, а сигнал постоянного тока представляет собой напряжение постоянного тока.
12. Система по п.11, в которой значение напряжения постоянного тока находится в пределах от 24 до 32 В постоянного тока, а среднеквадратичное значение напряжения переменного тока находится в пределах от 115 до 230 В переменного тока.
13. Система по п.12, в которой значение напряжения постоянного тока равно 28 В постоянного тока, а среднеквадратичное значение напряжения переменного тока равно 115 В переменного тока.
14. Система по п.1, дополнительно содержащая переключатель для выборочного соединения инвертора с источником питания постоянным током.
15. Система по п.1, в которой источник питания постоянным током представляет собой генератор постоянного тока, приводимый в действие двигателем воздушного судна.
16. Система по п.1, в которой источник питания постоянным током представляет собой генератор постоянного тока, приводимый в действие двигателем внутреннего сгорания.
17. Система по п.16, в которой двигатель внутреннего сгорания выбирается из группы, состоящей, по меньшей мере, из реактивного двигателя и поршневого двигателя.
18. Система по п.1, в которой сопротивление резистивного покрытия не превосходит 50 Ом на единицу площади.
19. Система по п.18, в которой сопротивление резистивного покрытия не превосходит 25 Ом на единицу площади.
20. Система по п.19, в которой сопротивление резистивного покрытия не превосходит 10 Ом на единицу площади.
21. Система по любому из пп.1-20, в которой резистивное покрытие выполнено или из оксида индия и олова или из оксида олова.
22. Способ борьбы с запотеванием/обледенением лобового стекла воздушного судна, включающий в себя (а) обеспечение воздушного судна лобовым стеклом с резистивным покрытием, расположенным на поверхности, которая не является поверхностью лобового стекла, открытой в окружающее воздушное судно пространство, (б) подсоединение инверторного блока, содержащего управляющее устройство, предназначенное для управления работой блока, между резистивным покрытием и источником питания постоянным током, (в) осуществление инверторным блоком преобразования электроэнергии постоянного тока в электроэнергию переменного тока с прямоугольным или квазипрямоугольным сигналом переменного тока, и (г) подачу электроэнергии переменного тока к резистивному покрытию, а также отслеживание температуры лобового стекла и регулирование коэффициента заполнения электроэнергии переменного тока на основе температуры лобового стекла.
РИСУНКИ
|
|