|
|
(21), (22) Заявка: 2007121375/11, 07.06.2007
(24) Дата начала отсчета срока действия патента:
07.06.2007
(30) Конвенционный приоритет:
09.06.2006 (пп.14-20) DE 202006009083.5 19.09.2006 (пп.1-13) DE 202006014539.7
(43) Дата публикации заявки: 20.12.2008
(46) Опубликовано: 10.02.2010
(56) Список документов, цитированных в отчете о поиске:
US 4765249 А, 23.08.1988. WO 03/106238 А, 24.12.2003. GB 2009691 А, 20.06.1979. DE 19503081 A1, 08.08.1996.
Адрес для переписки:
117393, Москва, а/я 279, “Константин Шилан и Ко.”, пат.пов. К.А.Шилану, рег. 367
|
(72) Автор(ы):
КОХ Роберт (DE), ШАРФ Лотар (DE), КАРАСЕК Хенс (DE)
(73) Патентообладатель(и):
ХЮБНЕР ГмбХ (DE)
|
(54) СЦЕПЛЯЕМОЕ ИЗ НЕСКОЛЬКИХ ЧАСТЕЙ ТРАНСПОРТНОГО СРЕДСТВА СОЧЛЕНЕННОЕ ТРАНСПОРТНОЕ СРЕДСТВО
(57) Реферат:
Каждая часть транспортного средства имеет, по меньшей мере, две оси и сцепную раму (12), которая соединена гофрированным кожухом с частью транспортного средства. Между частью транспортного средства и сцепной рамой (12) предусмотрено устройство сочленения (20), которое имеет сцепной кронштейн (30), который находится примерно в плоскости сцепной рамы (12). Сцепной кронштейн (30) имеет, по меньшей мере, средство сцепления для сцепления с устройством сочленения (20) другой части транспортного средства. В результате повышается маневренность транспортного средства. 19 з.п. ф-лы, 8 ил.
Данное изобретение касается сцепляемого из нескольких частей транспортного средства сочлененного транспортного средства.
Сцепляемое из нескольких частей сочлененное транспортное средство достаточно известно по состоянию техники (Европейский патент ЕР 1531117). Так, в частности, известны такие сочлененные транспортные средства, у которых может прицепляться прицеп, причем прицеп с автомобилем, используемым в качестве тягача, соединен переходом, так что люди из одной части транспортного средства могут переходить в другую часть транспортного средства. Таким сцепляемым сочлененным транспортным средством принимается во внимание тот факт, что, например, автобусы в определенные моменты времени должны ходить чаще, чем в другие моменты времени. Это означает, что посредством такого сочлененного транспортного средства, у которого прицеп соединен соединяться сцепляемым с автомобилем, используемым в качестве тягача, может производиться согласование с требуемыми в соответствии с обстоятельствами пропускными способностями транспорта.
Кроме того, у автобусов известны также так называемые сдвоенные автопоезда, которые имеют пропускную способность транспорта намного более чем 250 человек. У этих сочлененных автопоездов отдельные вагонные части являются сцепляемыми друг с другом не в том смысле, что посредством сцепления отдельных частей подвижного транспортного средства пропускная способность транспорта могла бы согласовываться с имеющимися, смотря по обстоятельствам, потребностями. Невыгодным у такого сдвоенного сочлененного транспортного средства является, в частности, также то, что такие транспортные средства имеют относительно большой поворотный круг, если задние оси не разработаны управляемыми.
Кроме того, известны трамвайные поезда, которые состоят из отдельных вагонных частей, которые, конечно, также фиксировано соединены друг с другом, причем в этой связи под понятием «фиксировано» следует понимать, что такие трамвайные поезда не могут согласовываться по своей транспортной пропускной способности с преобладающими всякий раз условиями.
Невыгодным у таких трамвайных поездов, в частности, является также то, что инфраструктура для движения трамвая, а именно прежде всего прокладка рельсов и воздушных контактных проводов, связана не с незначительными расходами. То есть эксплуатация трамваев является относительно дорогой, однако движение трамваев является также экологически чистым. Эксплуатация автобусов, которые ездят по муниципальным улицам, на основании не необходимой особой инфраструктуры, напротив является, по существу, недорогой. Преимущественным у трамваев является также, в частности, что они могут функционировать как так называемые «двунаправленные транспортные средства».
Поэтому в основе изобретения лежит задача изготовить сочленяемое из нескольких частей транспортного средства сочлененное транспортное средство для уличного движения, которое комбинирует друг с другом преимущества трамвайных поездов и преимущества сочлененных автобусов, в частности, в отношении таких сочлененных автобусов, части подвижного состава которых являются сцепляемыми друг с другом в смысле согласования с необходимой транспортной пропускной способностью.
В соответствии с изобретением задача решается благодаря тому, что у сцепляемого из нескольких частей транспортного средства сочлененного транспортного средства каждая часть транспортного средства имеет сцепную раму, которая гофрированным кожухом соединена с частью транспортного средства, причем между частью транспортного средства и сцепной рамой предусмотрено устройство сочленения, причем устройство сочленения имеет сцепной кронштейн, который находится примерно в плоскости сцепной рамы, причем сцепной кронштейн имеет, по меньшей мере, сцепное средство для сцепления с устройством сочленения другой части транспортного средства. Из этого становится ясно, что части транспортного средства, которые являются сцепляемыми между собой, в области сцепления выполнены идентичными. Это означает, что на основании симметрии каждая часть транспортного средства произвольно может сцепляться с каждой другой частью транспортного средства, из чего получается огромный размах вариаций посредством соединения отдельных частей транспортного средства.
Так, например, является возможным соединить между собой самостоятельно подвижные автобусы, стало быть автобусы всякий раз с двумя осями, чтобы таким образом получить так называемое «двунаправленное транспортное средство». Является возможным также между двумя, таким образом, активными частями транспортного средства поставить третью пассивную часть транспортного средства, например, в виде прицепа также с двумя осями. Образованное таким образом сочлененное транспортное средство в виде автобуса имеет в этом отношении уже большое сходство с трамвайным поездом, за исключением того факта, что такой сочлененный автопоезд не нуждается в рельсах, а может ездить по обычным улицам. В частности, такое сочлененное транспортное средство, которое может иметь длину до 50 м, не нуждается на соответствующих конечных остановках в так называемом «поворотном круге», который имеет значительную занимаемую площадь, а скорее достаточно, если шофер перейдет из одной части автобуса в другую часть автобуса, так как при этом речь идет о так называемом «двунаправленном транспортном средстве», если к каждой стороне транспортного средства прицеплен, по существу, самостоятельный автобус в смысле активного транспортного средства. Согласование вместимости производится только благодаря тому, что до возможной прицепной средней части в качестве пассивной части транспортного средства обе активные части транспортного средства, смотря по обстоятельствам, могут перемещаться в эксплуатации без прицепа. То есть таким сочлененным транспортным средством комбинируются преимущества трамвая с преимуществами сочлененного автобуса, причем дополнительно возможно согласование вместимости.
Другие преимущественные признаки могут быть заимствованы из подпунктов формулы изобретения.
Как известно, сочлененные автопоезда подвергаются различным типам движения. Так сочленения должны быть в состоянии воспринимать как движения боковой и продольной качки, так и изгибающие движения. Под движениями боковой качки понимают такие движения, при которых обе части транспортного средства поворачиваются относительно друг друга вокруг продольной оси, изгибающими движениями являются такие, которые появляются, когда сочлененный автопоезд с двумя частями транспортного средства движется по кривой, тогда как движения продольной качки возникают, если такой сочлененный автопоезд движется через впадину или по выступу.
До сих пор исходили из того, что на основании собственной эластичности шасси соответствующей части транспортного средства движения боковой качки воспринимаются самим шасси. Для этого предположения существовал, в частности, повод потому, что углы боковой качки составляли максимально 10°, обычно все же только 5-7°. Правда, в течение времени выяснилось, что даже при таких относительно небольших углах боковой качки моменты до 30 КНм действуют на сочленение или же также на шасси. В этом отношении не могут быть исключены повреждения на шасси и/или сочленениях.
Чтобы теперь уменьшить воздействующие на шасси и/или сочленение моменты на основании движений боковой качки, согласно одному предпочтительному признаку изобретения далее предлагается, что устройство сочленения включает в себя несколько подшипников, причем каждый подшипник делает возможным движение, по крайней мере, в одном различном пространственном направлении, причем подшипники находятся в соединении друг с другом. Если вследствие этого всякий раз один подшипник имеется для одного пространственного направления, чтобы воспринимать соответствующие движения, тогда естественно происходит разгрузка как сочленения, так и шасси частей транспортного средства.
В частности, в этом отношении предусмотрено, что на сцепной ферме расположено сочленение на изгиб с вертикальной осью, на шасси части транспортного средства предусмотрено, по крайней мере, сочленение продольной качки с проходящей параллельно поперечной оси транспортного средства осью продольной качки и на шасси части транспортного средства предусмотрено сочленение боковой качки с проходящей параллельно продольной оси транспортного средства осью. Сочленение продольной качки при этом выполнено как подшипник скольжения. В частности, при сочлененном автопоезде у обеих частей транспортного средства всякий раз имеются две оси, за счет таким образом разработанной конструкции действующие как на сочленение, так и на шасси частей транспортного средства силы и моменты удерживаются в сносных для материала пределах.
В частности, предусмотрено, что сочленение продольной качки служит опорой сочленения боковой качки. Комбинация как шарнира продольной качки, так и шарнира боковой качки в одном узле имеет преимущество компактной конструкции, даже если сочленение как таковое не допускает комбинированное движение продольной и боковой качки, а отдельные части сочленения в этом смысле скомбинированы друг с другом.
В частности, сочленение боковой качки обнаруживает корпус шарнира боковой качки, причем шарнир продольной качки действует на корпусе шарнира боковой качки. Для соединения корпуса сочленения боковой качки с сочленением продольной качки корпус сочленения боковой качки снабжен двумя отходящими в стороны отростками оси продольной качки, причем эти отростки оси продольной качки являются частью сочленения продольной качки. Сочленение боковой качки содержит в себе вертлюг, который установлен на подшипниках в корпусе сочленения боковой качки вращающимся на задаваемый угол поворота. В этой связи следует указать на следующее.
Чтобы люди могли совершать переход между обеими шарнирно связанными друг с другом частями транспортного средства, предусмотрен, в частности, переходный мостик или переходная платформа, причем переходная платформа имеет поворотный диск. Обе сцепляемые друг с другом части транспортного средства в области соответствующей сцепной опоры соединены друг с другом. Каждое устройство сочленения закреплено с одной стороны на шасси и с другой стороны на этой вышеназванной сцепной опоре, с помощью которой, наконец, являются сцепляемыми между собой обе части транспортного средства. Переходная платформа покрывает теперь оба устройства сочленения вместе с соединяющими их сцепляющими опорами. На основе подшипника боковой качки, который дает возможность производить поворотное движение связанных с ним частей вокруг продольной оси транспортного средства, теперь следует обеспечить, чтобы простирающаяся над обоими устройствами сочленения переходная платформа не поворачивалась на оси вращения сочленения боковой качки. Поскольку должны быть предусмотрены средства, которые предотвращают такое вращение переходной платформы, следовательно, расположенных между обоими противоположными друг другу сочленениями боковой качки конструктивных деталей. В этом отношении предусмотрено, что вертлюг установлен на подшипниках поворотным против силы в корпусе сочленения боковой качки. Это означает, что уже при небольших углах появляется относительно большой момент, который при больших углах возрастает незначительно. Максимальный момент ограничивается подходящими мерами до установленного значения. Таким образом, принимается во внимание тот факт, что не только за счет ветровых нагрузок или же эксцентрично поднимающихся на переходную платформу людей должен происходить поворот переходной платформы.
В частности, в этой связи предусмотрено, что вертлюг в корпусе сочленения боковой качки установлен на подшипниках в теле эластомера.
По другому признаку изобретения сочленение боковой качки связано с сочленением на изгиб посредством так называемой шарнирной опоры. Шарнирная опора при этом преимущественно имеет элемент амортизации, который связан с кронштейном сцепления и что демпфирование движения устройства сочленения производится, например, при движении по кривой, как это уже, в сущности, известно.
Предметом изобретения далее является соединение обоих устройств сочленения посредством сцепных кронштейнов, которые имеют сцепное средство сцепления для частей транспортного средства.
Так, в частности, предусмотрено, что средства сцепления находятся в области центральной оси сочлененного транспортного средства на сцепном кронштейне. Средствами сцепления при этом являются мужские и женские сцепные устройства, которые расположены по обеим сторонам центральной оси сочлененного транспортного средства на сцепном кронштейне, что означает, что расположение является симметричным.
Далее предусмотрено, что по обеим сторонам средств сцепления на сцепном кронштейне предусмотрены другие женские и мужские сцепные устройства для электропроводки, трубопроводов сжатого воздуха и/или гидравлики, чтобы транспортировать энергию и данные из приводного транспортного средства к другим пассивным частям транспортного средства.
Согласно другому преимущественному признаку предусмотрено, что вагонная часть в области пола имеет вставное отверстие для крепления сочленения. Это значит, что устройство сочленения, по меньшей мере, частично является вставляемым в пол вагона, причем глубина вставки устройства сочленения, по существу, определена максимальной сжимаемостью гофрированного кожуха и толщиной рамы сцепления. В этой связи вставная рама расположена в каждом вставном отверстии части транспортного средства, которая принимает соответствующее устройство сочленения.
По другому особенно преимущественному признаку изобретения рама сцепления имеет монтажную раму, окружающую по кругу раму сцепления, которая служит для закрепления гофрированного кожуха. Это означает, что эта монтажная рама имеет наружный контур, который, по существу, соответствует контуру гофрированного кожуха или также контуру вагонной части или части транспортного средства. Уже в другом месте было представлено, что кронштейн сцепления имеет мужские и женские устройства сцепления для электропроводки, трубопроводов сжатого воздуха и/или гидравлики. Согласно одному варианту является возможным, что монтажная рама в области крыши гофрированного кожуха по центральной оси сочлененного транспортного средства имеет мужские и женские устройства сочленения для электропроводки, трубопроводов сжатого воздуха и/или гидравлики, причем распределение элементов сцепления должно производиться симметрично центральной оси транспортного средства. Симметричное расположение элементов сцепления является предпосылкой для того, чтобы отдельные вагонные части, следовательно, как пассивные, так и активные вагонные части, могли сцепляться друг с другом произвольно. Только за счет этого предоставляется большой размах вариаций в практическом использовании, в частности, применительно к желаемому согласованию пропускной способности транспорта.
Чтобы в расцепленном состоянии отдельных частей транспортного средства создать предпосылки для того, чтобы торцевое отверстие могло перекрываться, предусмотрены средства для закупоривания отверстия, причем при этом возможны различные формы исполнения для закупоривания отверстия торцевой стороны транспортного средства. Так, во-первых, возможно при втянутом гофрированном кожухе, таким образом, соответственно также при вдвинутом сочленении, вся задняя часть вагона закрывается шторой или существует возможность закрыть заднюю часть кузова такого транспортного средства чехлом.
С помощью чертежей изобретение объясняется ниже подробнее на примерах.
Фиг.1 показывает сочлененное транспортное средство с двумя активными частями транспортного средства;
фиг.2 показывает сочлененное транспортное средство с двумя активными частями транспортного средства, между которыми расположена пассивная часть транспортного средства;
фиг.3 показывает деталь х из фиг.2 в виде сбоку;
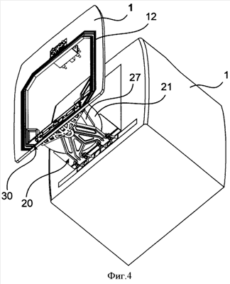
фиг.4 показывает деталь у из фиг.3 в перспективном представлении, вид снизу;
фиг.5 показывает деталь у из фиг.3 в перспективном представлении сверху;
фиг.6 показывает вырез z в соответствии с фиг.5 в увеличенном представлении;
фиг.7 показывает в изометрическом представлении соединение двух частей транспортного средства посредством двух устройств сочленения, которые могут сцепляться друг с другом посредством сцепного кронштейна, причем правая часть транспортного средства опущена;
фиг.7а схематически показывает сечение через сочленение продольной и боковой качки.
Сочлененное транспортное средство в соответствии с фиг.1 состоит из двух активных транспортных средств 1 и 2, которые могут соединяться друг с другом посредством соединительного устройства 10. Под одной активной частью транспортного средства при этом понимается часть транспортного средства с двумя осями, так как она, в частности, имеет в своем распоряжении самостоятельный привод и независимое место водителя.
При форме исполнения в соответствии с фиг.2 предусмотрены активные части транспортного средства 1 и 2, между которыми расположена третья, правда, пассивная часть транспортного средства 3 также, конечно, с двумя осями, причем отдельные части транспортного средства между собой снова посредством соединительных устройств 10 находятся в соединении друг с другом.
Такое соединительное устройство 10 явствует из представления в соответствии с фиг.3. Соединительное устройство 10 включает в себя обе монтажные рамы 11, а также расположенные внутри соответствующей монтажной рамы 11 рамы сцепления 12, как это явствует из представления фиг.4 и фиг.5. Монтажные рамы 11 всякий раз имеют гофрированный кожух 13, который на другом конце соединен с частью транспортного средства. Обе части транспортного средства 1 и 2, кроме того, обнаруживают всякий раз устройство сочленения 20, причем над соответствующим устройством сочленения 20 находится платформа 21.
Другие детали разработки соединения между соответствующей вагонной частью и монтажной рамой явствуют, в частности, принимая во внимание фиг.4 и 5. Рама сцепления 12 крепит, как уже изложено, монтажную раму 11. Рама сцепления 12 в области устройства сочленения 20 имеет стойку сцепления 31 (фиг.5, фиг.6), причем стойка сцепления 30, с одной стороны, имеет средства сцепления 25 для механического соединения обоих транспортных средств между собой и, с другой стороны, по обеим сторонам центральной оси транспортного средства другие элементы сцепления, так, в частности, мужские и женские элементы сцепления 26, 27, а также электрическое сцепление 28, 29, причем в этом месте еще раз указывается на то, что элементы сцепления на одной стороне центральной оси сочлененного транспортного средства выполнены либо мужскими, либо женскими. Также механическое сцепление для соединения обеих частей транспортного средства между собой, в прочем, расположено мужскими и женскими элементами сцепления к соответствующей стороне центральной оси транспортного средства, причем здесь предлагается применение «сочленения Шарфенберга®». Такого рода сочленения всякий раз имеют конус и раструб с соответствующими элементами сцепления. В области крыши рамы сцепления 12 предусмотрены другие сцепления питания 24, которые снова так расположены по обеим сторонам центральной оси транспортного средства, что при сцепке элементы сцепления обоих транспортных средств соответствуют друг другу. Устройство сочленения 20 имеет демпфер 27, который с одной стороны соединен со стойкой сцепления 30 и с другой стороны – с устройством сочленения.
При представлении в соответствии с фиг.7 предусмотрены два устройства сочленения 31, посредством которых обе сцепные стойки (30) соединены друг с другом. В частях транспортного средства (не представлены) предусмотрены отверстия вставки, которые крепят вставные рамы 32. Вставные рамы 32 крепят за концы соответствующее устройство сочленения 31. Для этого вставная рама 32 имеет раму 33, причем рама 33 всякий раз имеет одну часть манжеты 34, которая в соединении со второй частью 35 манжеты крепит отросток оси продольной качки 41 подшипника продольной качки 38 так называемый подшипник скольжения. То есть отростки оси продольной качки скользят в образованном манжетой отверстии. Эти отростки оси продольной качки 41 расположены далее на корпусе шарнира боковой качки 45 сочленения боковой качки 40 на обеих сторонах и создают предпосылки для того, чтобы транспортное средство при проезде впадин и наезде на выступы могло поддаваться соответствующим движениям, как это известно само по себе.
Как уже изложено, на корпусе сочленения боковой качки 45 находятся оба отростка оси 41. В корпусе 45 сочленения боковой качки закреплен вертлюг 48 также в кожухе из эластомера 49, причем расположение выполненного как многогранник (фиг.7а) вертлюга в кожухе из эластомера является такого рода, что до определенного момента вращения вертлюг, хотя является подвижным вокруг оси вращения, при превышении определенного значения этого подшипника боковой качки, разумеется, поддается воздействующим усилиям, чтобы, таким образом, избежать повреждений на шасси или сочленении. Для такого случая, например, могло бы быть предусмотрено, что резиновый кожух 49 подшипника боковой качки разрушается и поскольку вертлюг, хотя еще не полностью без моментов, но все же может двигаться в кожухе сочленения боковой качки. Вертлюг 48 имеет кронштейн сочленения 50, который посредством изгибающего сочленения 51 соединен со сцепным кронштейном 30. Существенным является, что на основании конструктивного решения или, в частности, непокрытого расположения сочленения боковой качки как составной части устройства сочленения этот подшипник изгиба 51 должен принимать только незначительные нагрузки на основании возникающих движений боковой качки.
Кронштейн сочленения 50, кроме того, содержит в себе элемент демпфирования 60, который с одной стороны расположен на раме сочленения и с другой стороны на кронштейне сцепления 30.
Над устройством сочленения 31 и также кронштейном сцепления 30 находится обозначенная цифрой 21 переходная платформа с поворотным диском 21а. Поворотный диск 21а разделен в соединении между двумя сцепными кронштейнами 30, так что также переходная платформа может быть присоединена отдельно к каждой части транспортного средства. Поворотный диск 21а с одной стороны установлен на подшипниках на сцепном кронштейне 30, а также удерживается посредством рычагов (не представлены), которые расположены на кронштейне сочленения 50.
Части транспортного средства 1 и 2, кроме того, обнаруживают вставные отверстия 1а и 2а, которые служат для крепления как устройства сочленения 20, 31, так и платформы 21, в особенности, когда монтажная рама 11 вместе с гофрированным кожухом 13 привлекается на транспортное средство. Задняя часть транспортного средства или же торцевое отверстие транспортного средства может закрываться, например, шторой (не представлена).
В этом месте еще раз указывается на то, что транспортные средства применительно к их торцевому исполнению в области сцепки идентичны, чтобы, таким образом, все части имелись сдвоенными. Только за счет этого получается желаемое необходимое множество вариантов исполнения.
Формула изобретения
1. Сцепляемое из нескольких частей транспортного средства (1, 2) сочлененное транспортное средство, причем каждая часть транспортного средства (1, 2) имеет, по меньшей мере, две оси и сцепную раму (12), которая соединена гофрированным кожухом (13) с частью транспортного средства (1, 2), причем между частью транспортного средства (1, 2) и сцепной рамой (12) предусмотрено устройство сочленения (20, 31), с шарниром продольной качки (38), причем устройство сочленения (20, 31) имеет сцепной кронштейн (30), причем сцепной кронштейн (30) имеет, по меньшей мере, сцепное средство (25) для сцепления с устройством сочленения (20, 31) другой части транспортного средства (1, 2), отличающееся тем, что сцепной кронштейн (30) находится примерно в плоскости сцепной рамы (12), на сцепном кронштейне (30) расположен шарнир «складывания» (51) с вертикальной осью, а на шасси части транспортного средства (1, 2) расположен шарнир боковой качки (40) с проходящей параллельно продольной оси транспортного средства осью.
2. Сцепляемое из нескольких частей транспортного средства сочлененное транспортное средство по п.1, отличающееся тем, что шарнир продольной качки (38) крепит шарнир боковой качки (40).
3. Сцепляемое из нескольких частей транспортного средства сочлененное транспортное средство по любому из пп.1 или 2, отличающееся тем, что шарнир боковой качки (40) имеет корпус шарнира боковой качки, причем шарнир продольной качки (38) прилагает силу к корпусу (45) шарнира боковой качки (40).
4. Сцепляемое из нескольких частей транспортного средства сочлененное транспортное средство по любому из пп.1 или 2, отличающееся тем, что корпус (45) шарнира боковой качки (40) имеет два отходящих в стороны отростка оси продольной качки (41) шарнира продольной качки (38).
5. Сцепляемое из нескольких частей транспортного средства сочлененное транспортное средство по любому из пп.1 или 2, отличающееся тем, что шарнир боковой качки (40) имеет вертлюг (48), который установлен на подшипниках в корпусе (45) шарнира боковой качки (40) поворачиваемым на предварительно заданный угол поворота.
6. Сцепляемое из нескольких частей транспортного средства сочлененное транспортное средство по любому из пп.1 или 2, отличающееся тем, что вертлюг (48) установлен на подшипниках поворачиваемым против усилия в корпусе (45) шарнира боковой качки (40).
7. Сцепляемое из нескольких частей транспортного средства сочлененное транспортное средство по любому из пп.1 или 2, отличающееся тем, что вертлюг (48) установлен на подшипниках в корпусе (45) шарнира боковой качки (40) в теле из эластомера (49).
8. Сцепляемое из нескольких частей транспортного средства сочлененное транспортное средство по любому из пп.1 или 2, отличающееся тем, что шарнир боковой качки (40) соединен со сцепным кронштейном (30) посредством кронштейна сочленения (50).
9. Сцепляемое из нескольких частей транспортного средства сочлененное транспортное средство по любому из пп.1 или 2, отличающееся тем, что кронштейн сочленения (50) имеет демпфирующий элемент (60), который соединен с кронштейном сцепления (30).
10. Сцепляемое из нескольких частей транспортного средства сочлененное транспортное средство по любому из пп.1 или 2, отличающееся тем, что между частями транспортного средства (1, 2) над устройством сочленения предусмотрена переходная платформа (21).
11. Сцепляемое из нескольких частей транспортного средства сочлененное транспортное средство по любому из пп.1 или 2, отличающееся тем, что переходная платформа (21) имеет поворотный диск (21а).
12. Сцепляемое из нескольких частей транспортного средства сочлененное транспортное средство по любому из пп.1 или 2, отличающееся тем, что поворотный диск (21а) закреплен на, по крайней мере, сцепном кронштейне (30).
13. Сцепляемое из нескольких частей транспортного средства сочлененное транспортное средство по любому из пп.1 или 2, отличающееся тем, что поворотный диск (21а) выполнен скользящим на кронштейне сочленения (50) поддерживаемым рычагами.
14. Сцепляемое из нескольких частей транспортного средства сочлененное транспортное средство по любому из пп.1 или 2, отличающееся тем, что средство сцепления (25) находится в зоне центральной оси сочлененного транспортного средства на сцепном кронштейне (30).
15. Сцепляемое из нескольких частей транспортного средства сочлененное транспортное средство по любому из пп.1 или 2, отличающееся тем, что по обеим сторонам средства сцепления (25) на сцепном кронштейне (30) предусмотрены женские и мужские элементы сцепления (26, 27, 28, 29) для электропроводки, трубопроводов сжатого воздуха и/или гидравлики.
16. Сцепляемое из нескольких частей транспортного средства сочлененное транспортное средство по любому из пп.1 или 2, отличающееся тем, что часть транспортного средства (1, 2) в области пола имеет отверстия (1а, 2а) служащие для крепления сочленения (20).
17. Сцепляемое из нескольких частей транспортного средства сочлененное транспортное средство по любому из пп.1 или 2, отличающееся тем, что оно смеет отверстия, в которых крепят вставные рамы 32.
18. Сцепляемое из нескольких частей транспортного средства сочлененное транспортное средство по любому из пп.1 или 2, отличающееся тем, что сцепная рама (12) имеет окружающую по кругу сцепную раму (12) монтажную раму (11), которая служит для крепления гофрированного кожуха (13).
19. Сцепляемое из нескольких частей транспортного средства сочлененное транспортное средство по любому из пп.1 или 2, отличающееся тем, что монтажная рама (11) в области крыши гофрированного кожуха (13) в центральной оси сочлененного транспортного средства имеет мужские и женские элементы сцепления (24) для электропроводки, трубопроводов сжатого воздуха и/или гидравлики.
20. Сцепляемое из нескольких частей транспортного средства сочлененное транспортное средство по любому из пп.1 или 2, отличающееся тем, что открытая торцевая сторона части транспортного средства (1, 2) может перекрываться.
РИСУНКИ
|
|