|
|
(21), (22) Заявка: 2008101338/09, 09.01.2008
(24) Дата начала отсчета срока действия патента:
09.01.2008
(43) Дата публикации заявки: 20.07.2009
(46) Опубликовано: 27.01.2010
(56) Список документов, цитированных в отчете о поиске:
US 3721989 А, 20.03.1973. RU 2256264 C1, 10.07.2005. US 3495264 А, 10.02.1970. US 6014111 А, 11.01.2000. US 2003/090427 А1, 15.05.2003.
Адрес для переписки:
196084, Санкт-Петербург, ул. Цветочная, 7, ООО “НПП “Росморсервис”
|
(72) Автор(ы):
Бобков Анатолий Михайлович (RU)
(73) Патентообладатель(и):
ООО “НПП “Росморсервис” (RU)
|
(54) КОНСТРУКЦИЯ ШИРОКОПОЛОСНОЙ ПРИЕМНОЙ ФЕРРИТОВОЙ АНТЕННЫ С УЛУЧШЕННЫМ ЭКРАНИРОВАНИЕМ
(57) Реферат:
Изобретение относится к радиоприемной технике и может быть использовано в области радиосвязи, радионавигации или радиопеленгации. Технический результат – снижение восприимчивости широкополосной ферритовой антенны к электрической составляющей электромагнитного поля. Достигается тем, что предлагается конструкция антенны, более простая, чем у известных антенн подобного типа. Простота предлагаемого технического решения обеспечивается за счет двойного использования одних и тех же элементов конструкции антенны: внутренних стенок, основания и крышки. С одной стороны, совместно с внешней стенкой они образуют ложемент для ферритовых стержней, а, с другой стороны, одновременно являются элементами электрического экрана. 2 з.п. ф-лы, 8 ил.
Изобретение относится к радиоприемной технике и может быть использовано в области радиосвязи, радионавигации или радиопеленгации.
Широкополосные (ненастраиваемые) приемные магнитные антенны (МА) с ферритовыми сердечниками обладают рядом преимуществ перед антеннами электрического типа [1, 2, 3]. В частности, благодаря ферритам такие антенны имеют небольшие габариты, они менее восприимчивы к сильной электрической составляющей поля помех от близлежащих источников. Данные антенны имеют избирательную диаграмму направленности в виде «восьмерки», что обуславливает их использование для целей навигации и пеленгации.
Однако действующая высота магнитных антенн обычно очень мала и часто исчисляется буквально миллиметрами. Для получения приемлемой чувствительности антенны по полю чувствительность усилителей сигналов, наводимых в рамке (обмотке) должна быть предельно высокой. В этих условиях без принятия специальных защитных мер на обмотку и на вход усилителя может наводиться заметный уровень помех от электрической составляющей поля, что приводит к повышению восприимчивости антенны к помехам от близлежащих источников помех, к искажению ее диаграммы направленности и, как следствие, к снижению реальной чувствительности антенны и точности пеленгации [4]. Применение же специальных технических решений для устранения влияния электрической составляющей поля часто приводит к существенному усложнению антенны или к снижению ее чувствительности.
Цель изобретения – снижение восприимчивости широкополосной ферритовой антенны к электрической составляющей электромагнитного поля применением наиболее простого технического решения.
Известны ферритовые антенны [1, 5], в которых обмотки на ферритовом стержне помещены в электрический экран. В широкополосном варианте антенны ее обмотки будут подключаться к широкополосному усилителю, который также необходимо будет экранировать. Экранировать необходимо и соединительную линию между усилителем и обмоткой. Конструкция получается довольной сложной, учитывая, что для целей пеленгации или всенаправленного приема необходимо использовать два ортогональных ферритовых стержня.
Известна ферритовая антенна с крестообразным расположением ферритовых стержней [6], в которой обмотки на каждом стержне выполнены симметрично относительно его центра, а их выходы соединены со входом дифференциального усилителя. Такое симметрирование позволяет достаточно эффективно подавлять синфазную составляющую электрического поля. Однако при крестообразной форме ферритового сердечника нерационально используется объем, при котором не остается места для удобного симметричного расположения плат усилителей рядом с обмотками. Максимум, для чего остается место, – это для небольших симметрирующих трансформаторов. Удаление усилителей от обмоток приводит к удлинению соединительных линий и, как правило, к ухудшению параметров антенны, в частности к снижению ее широкополосности и усилению наводок на соединительные линии от электрической составляющей поля.
Известны ферритовые антенны [7, 8], в которых ферритовые сердечники расположены квадратом (в виде рамы). В них более рационально используется объем, появляется место в центральной части ферритового квадрата для размещения усилителей и другой необходимой электроники. Но в такой конструкции каждая пара противоположных стержней с обмотками достаточно далеко разнесены друг от друга и образуют диполь, на который может наводиться заметный уровень напряжения от электрической составляющей поля. Данные антенны обладает повышенной восприимчивостью к электрической синфазной составляющей поля и требуют более тщательного экранирования. Поэтому в [8] верхняя крышка антенны выполнена из проводящего материала и совместно с основанием выполняет роль электрического экрана.
Наиболее близким по своей техническим сущности устройством (прототипом) является ферритовая антенна [9], содержащая четыре ферритовых сердечника с обмотками, расположенные в виде квадрата на проводящем основании, верхнюю крышку из проводящего материала размером, равным основанию, и платы усилителей в отдельном экране, размещенные внутри ферритового квадрата. Внешние стенки антенны выполнены из радиопрозрачного (диэлектрического) материала. Над экраном усилителей внутри ферритового квадрата размещена кросс-плата, предназначенная для ВЧ соединений между элементами антенны. Данная конструкция антенны обладает достаточно высокой степенью экранирования от электрической составляющей электромагнитного поля, но очень сложна и громоздка. Кроме того, ферритовые стержни, обладающие высокой хрупкостью, закреплены в отдельных точках, что не позволяет обеспечить достаточную прочность изделия по отношению к вибрации и ударам, особенно при использовании крупногабаритных стержней (длиной до 0,5-1 м).
Для упрощения конструкции при сохранении высокой степени экранирования предлагается на основании антенны установить вертикальные стенки из проводящего материала, образующие внутренний квадрат. Пространство, ограниченное этими внутренними стенками, наружными радиопрозрачными стенками и основанием, образует ложемент, в котором размещаются и закрепляются ферритовые стержни с обмотками. Стержни закрепляются путем заливки свободного пространства между стенками ложемента и стержнями резиноподобным радиопрозрачным материалом (компаундом, герметиком или др.). Во внутреннем квадрате напротив каждого ферритового сердечника размещается усилитель, со входом которого наикратчайшим путем сквозь отверстия в стенке внутреннего квадрата соединены выводы обмотки соответствующего стержня.
В предлагаемой конструкции внутри антенны образуется замкнутое, хорошо экранированное пространство, ограниченное основанием, крышкой и внутренними стенками, в котором располагаются усилители, наиболее чувствительные к помехам элементы. При этом внутренние стенки должны иметь хороший электрический контакт в торцах как между собой, так и между основанием и крышкой по всему периметру. Соединительные линии между обмотками стержней и входами усилителей имеют минимальную длину и не требуют специальной кросс-платы. Кроме того, ферритовые стержни с обмотками также оказываются в полузамкнутом экране, образованном выступающими частями основания и крышки, а также внешними сторонами стенок внутреннего квадрата.
Таким образом, в предлагаемой конструкции антенны экранирование всех ее элементов, наиболее восприимчивых к воздействию электрического поля, достигается более простым техническим решением, чем в прототипе. Такое упрощение достигнуто за счет двойного использования одних и тех же элементов конструкции: внутренних стенок, основания и крышки. С одной стороны, совместно с внешней стенкой они образуют ложемент для ферритовых стержней, а, с другой стороны, одновременно являются элементами электрического экрана. Наличие двойных стенок (внутренней проводящей и внешней радиопрозрачной) существенно повышает механическую устойчивость корпуса антенны к воздействиям на изгиб, что важно при использовании длинных стержней из такого хрупкого материала как феррит. Закрепление ферритовых стержней путем его заливки резиноподобным материалом в ложементе обеспечивает ударопрочность конструкции.
В центральной части антенны могут быть размещены вспомогательная плата (управления, суммирования сигналов, ВЧ развязок или др.) и внешний разъем. Конструкция получается строго симметричной. Симметрия способствует достижению идентичности электрических параметров рамок, которая улучшает пеленгационные параметры антенны.
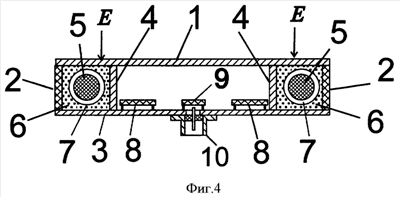
На фиг.1 представлен внешний вид корпуса антенны в сборе, на фиг.2 – вид корпуса без верхней крышки и наружных боковых стенок, на фиг.3 – вид антенны сверху без верхней крышки с уложенными ферритовыми сердечниками и платами, на фиг.4 – сечение антенны А-А с верхней крышкой. На чертежах обозначены цифрами:
1 – верхняя крышка;
2 – внешние стенки;
3 – основание корпуса;
4 – внутренние стенки;
5 – ферритовые стержни;
6 – заливка резиноподобным материалом;
7 – обмотки;
8 – платы усилителей;
9 – вспомогательная плата;
10 – внешний разъем.
Экран вокруг ферритовых стержней не может быть замкнутым, поскольку в этом случае антенна становится неработоспособной. Именно поэтому боковые стенки должны быть выполнены из диэлектрического радиопрозрачного материала. Стрелками Е на фиг.4 показаны силовые линии электрической составляющей поля, воздействующего на антенну. Видно, что крышка препятствует проникновению поля Е как внутрь корпуса, так и к обмоткам.
Наличие вблизи ферритового стержня проводящих поверхностей (экранов) уменьшает действующую высоту антенны [10, 11], что приводит к снижению ее чувствительности. Поэтому для уменьшения влияния экрана на чувствительность антенны предлагается угловые части крышки, расположенные над концами ферритовых стержней, выполнить из радиопрозрачного материала. На фиг.5 штриховкой выделен один из углов крышки с радиопрозрачной частью 1а. Удаление экрана от концов ферритовых стержней сверху позволяет улучшить чувствительность антенны до 20%. Крышка может быть изготовлена целиком из радиопрозрачного материала, а металлизация выполнена, например, путем приклеивания снизу листа фольги соответствующей формы. Важно, чтобы металлизация имела хороший электрический контакт с торцами вертикальных стенок внутреннего квадрата корпуса по всему периметру.
В условиях повышенного уровня электрических радиопомех предлагается дополнительно улучшить экранирование обмоток ферритовых стержней путем введения дополнительных наружных вертикальных проводящих экранирующих стенок 11 напротив обмоток (выделены штриховкой на фиг.6, 7, 8) шириной, равной или немного превышающей ширину обмоток. Каждая экранирующая стенка может крепиться на крышке, фиг.6, или на основании, фиг.7. Она может состоять из двух половинок, которые крепятся к основанию и крышке, фиг.8. Экранирующие стенки могут крепиться непосредственно на боковой радиопрозрачной стенке. В последнем случае необходимо обеспечить электрический контакт с основанием или крышкой. При этом важно оставить электрический зазор между крышкой и основанием для предотвращения образования замкнутого экрана вокруг ферритового стержня. Введение дополнительной экранирующей стенки приводит к некоторому снижению действующей высоты антенны. Степень снижения увеличивается с увеличением ширины обмотки.
Проводящие части корпуса могут быть выполнены из алюминиевых сплавов, а боковые стенки – из текстолита (стеклотекстолита).
Использование предлагаемого технического решения позволяет упростить конструкцию антенны, улучшить ее массогабаритные показатели и снизать стоимость при сохранении высокой защищенности от воздействия электрической составляющей поля сигналов и помех.
ЛИТЕРАТУРА
1. Хомич В.И. Ферритовые антенны. Массовая радиобиблиотека. Выпуск 721. -М.: Энергия, 1969 – 96 с.
2. Вершков М.В. Расчет и проектирование судовых антенн радиосвязи. – Л.: Морской транспорт, 1963 – 148 с.
3. Бобков А.М. Реальная избирательность радиоприемных трактов в сложной помеховой обстановке. – Санкт-Петербург, Абрис, 2001. – 216 с.
4. Кукес И.С., Старик М.Е. Основы радиопеленгации. – М.: Сов. Радио, 1964. – 640 с.
5. Патент США 2981950, НКИ 343-788, 1959 г.
6. Патент США 6570543 В1, МКИ H01Q 7/04, 2003 г.
7. Патент США 6014111, МКИ H01Q 7/08, 2000 г.
8. Патент США 3495264, МКИ H01Q 7/08, 1970 г.
9. Патент США 3721989, МКИ H01Q 7/08, 1971 г.
10, – с.64-67.
11. Додонов А.В., Михеев А.Ф. Подводный радиоприем. – М.: Военное издательство, 1996. – 190 с.
Формула изобретения
1. Широкополосная ферритовая антенна, содержащая четыре ферритовых стержня с обмотками, расположенных в виде квадрата на проводящем основании, верхнюю крышку из проводящего материала размером, равным основанию, внешние стенки, выполненные из радиопрозрачного материала, и платы усилителей, размещенные внутри ферритового квадрата, отличающаяся тем, что на основании антенны установлены вертикальные стенки из проводящего материала, образующие внутренний квадрат, при этом пространство, ограниченное наружными сторонами стенок образованного квадрата, внутренними сторонами радиопрозрачных внешних стенок и основанием, образует ложемент, в котором размещаются и закрепляются путем заливки резиноподобным радиопрозрачным материалом ферритовые стержни с обмотками, а во внутреннем квадрате напротив каждого ферритового сердечника размещается усилитель, со входом которого сквозь отверстия в стенке внутреннего квадрата соединены выводы обмотки соответствующего стержня.
2. Устройство по п.1, отличающееся тем, что углы верхней крышки выполнены из радиопрозрачного материала.
3. Устройство по п.1, отличающееся тем, что содержит дополнительные наружные вертикальные проводящие стенки шириной, равной или превышающей ширину обмоток, имеющие электрический контакт либо с основанием, либо с верхней крышкой.
РИСУНКИ
|
|