|
|
(21), (22) Заявка: 2008148506/09, 10.12.2008
(24) Дата начала отсчета срока действия патента:
10.12.2008
(46) Опубликовано: 27.01.2010
(56) Список документов, цитированных в отчете о поиске:
SU 1274012 A1, 30.11.1986. SU 765893 A, 23.09.1980. RU 2081467 C1, 10.06.1997. SU 1714697 A1, 23.02.1992. EP 0151048 A1, 07.08.1985. US 5168255 A, 01.12.1992.
Адрес для переписки:
119991, Москва, Ленинский пр-кт, 19, ОАО “Энергетический институт им. Г.М. Кржижановского”
|
(72) Автор(ы):
Волков Эдуард Петрович (RU), Лутидзе Шота Иванович (RU), Джафаров Эльдар Атамович (RU), Кутлунин Петр Иванович (RU), Суконкин Виктор Васильевич (RU), Джафаров Заур Эльдарович (RU), Зайцев Александр Иванович (RU)
(73) Патентообладатель(и):
Открытое акционерное общество “Энергетический институт им. Г.М. Кржижановского” (RU), Волков Эдуард Петрович (RU), Лутидзе Шота Иванович (RU), Джафаров Эльдар Атамович (RU)
|
(54) ПРОСТРАНСТВЕННЫЙ СИММЕТРИЧНЫЙ МАГНИТОПРОВОД
(57) Реферат:
Изобретение относится к области электротехники, а именно к магнитопроводам силовых трансформаторов, материалом выполнения которых является аморфная электротехническая сталь. Техническим результатом изобретения является уменьшение потерь в магнитопроводе из аморфной стали и повышение кпд силового трансформатора. Сущность изобретения состоит в следующем: пространственный симметричный магнитопровод, выполненный из аморфного ферромагнитного материала, содержит верхние и нижнее навитые ярма и стержни, при этом согласно изобретению верхнее и нижнее ярма выполнены соединенными друг с другом стержнями, с образованием единой бесстыковой конструкции, причем стержни выполнены навитыми с квадратным поперечным сечением и соединены с серединами боковых сторон верхнего и нижнего ярм, выполненных с квадратным поперечным сечением, равным площади квадратного сечения стержня, при этом наружные и внутренние ребра нижнего и верхнего ярм выполнены закругленными. Навивка магнитопровода выполнена из аморфной электротехнической стали толщиной от 10 до 30 мкм. 1 з.п. ф-лы, 3 ил.
Изобретение относится к области электротехники и может быть использовано в качестве трехфазной или многофазной магнитной системы электрооборудования, материалом изготовления которой является аморфная электротехническая сталь.
Известна конструкция трехфазного, плоского, бронестержневого магнитопровода, изготовленного из аморфной электротехнической стали для силового трансформатора. Она состоит из двух внутренних П-образных сердечников, сочлененных со стороны одного из стержней каждого из сердечников между собой и поверх которых навит третий наружный сердечник. В полученный таким способом трехфазный плоский навитой магнитопровод вмотаны силовые обмотки трансформатора. Такой магнитопровод из аморфной стали не имеет стыковых поверхностей между стержнями и ярмами и тем самым существенно снижает потери, возникающие в магнитопроводе аналогичной конструкции, выполненной плоскошихтованной сборкой (пат. США 5168255, М. кл. H01F, 33/00, H01F 27/30, 1992).
Конструкция магнитопровода для силового трансформатора является несимметричной, так как силовые линии магнитного потока среднего стержня встречают на своем пути меньшее магнитное сопротивление, чем силовые линии магнитного потока крайних стержней. Из-за этого в фазе, обмотка которой помещена на среднем стержне магнитопровода, протекает меньший намагничивающий ток, чем в фазах обмоток, размещенных на его крайних стержнях.
Указанных недостатков лишена конструкция пространственной стыковой магнитной системы, описанной в изобретении, в которой ярма трехфазной магнитной системы выполнены навитыми, а стержни – в виде пластин, поочередно смещенных вдоль стержня так, что примыкают противоположными торцевыми кромками к разным ярмам (а.с. СССР 1274012, Б.И. 44, 1986).
Однако такая конструкция за счет наличия стыковых поверхностей между стержнями и ярмами увеличивает потери в магнитной системе и расход электрической энергии, так как требует увеличения намагничивающего тока и, следовательно, намагничивающей мощности, что существенно снижает технико-экономические показатели устройства. Стыковая конструкция уменьшает надежность устройства. Выполнение ярм магнитной системы в виде полой треугольной призмы с остро выполненными внутренними ребрами также ухудшает технико-экономические показатели устройства, так как резкие изгибы ферромагнитной ленты на углах создают опасность возникновения повышенных напряжений и тем самым повышение тока намагничивания. В случае выполнения ярм у аморфной электротехнической стали, особо чувствительной к механическим напряжениям, значительно увеличиваются потери в ней, ухудшается ее магнитная характеристика.
Задачей настоящего изобретения является устранение указанных недостатков, т.е. уменьшение потерь в магнитной системе из аморфной электротехнической стали и повышение кпд электрооборудования с магнитной системой, материалом которой является аморфная магнитная сталь.
Указанный технический результат достигается тем, что пространственный симметричный магнитопровод, выполненный из аморфного ферромагнитного материала, содержит верхнее и нижнее навитые ярма и стержни, при этом верхнее и нижнее ярма выполнены соединенными друг с другом стержнями, с образованием единой бесстыковой конструкции, причем стержни выполнены навитыми с квадратным поперечным сечением и соединены с серединами боковых сторон верхнего и нижнего ярм, выполненных с квадратным поперечным сечением, равным площади квадратного сечения стержня, при этом наружные и внутренние ребра нижнего и верхнего ярм выполнены закругленными. Навивка магнитопровода выполнена из аморфной электротехнической стали толщиной от 10 до 30 мкм.
Сущность изобретения поясняется чертежами.
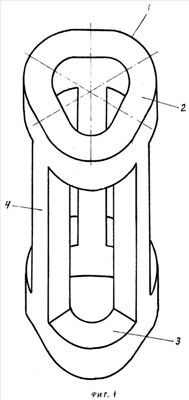
На фиг.1 схематически изображен предложенный магнитопровод с верхним и нижнем ярмами и стержнями, на фиг.2 – то же, вид сбоку и сверху, а на фиг.3 представлена аксонометрия магнитопровода. Сечения ярм и стержней показаны штриховыми линиями.
Пространственный, трехфазный, симметричный бесстыковой магнитопровод 1 включает в себя верхнее ярмо 2, нижнее ярмо 3 и стержни 4, на которые устанавливаются путем вматывания силовые первичные и вторичные обмотки трансформатора (на чертежах не показаны).
При подключении первичной обмотки силового трехфазного трансформатора в сеть в пространственном симметричном магнитопроводе 1 основной магнитный поток в верхнем ярме 2, нижнем ярме 3 и стержнях 4 будет одинаков, во всех трех фазах первичной обмотки намагничивающий ток также одинаков, так как магнитные сопротивления всех трех фаз магнитопровода равны. Отсутствие стыковых поверхностей (немагнитных зазоров) между ярмами и стержнями магнитопровода на пути основного магнитного потока позволит значительно уменьшить магнитное сопротивление этих участков магнитной системы, уменьшить реактивный намагничивающий ток и потери в магнитопроводе. Выполнение верхнего и нижнего ярм с квадратным поперечным сечением, равным площади квадратного поперечного сечения стержня, позволит получить одинаковую плотность основного магнитного потока магнитопровода.
Пространственный симметричный бесстыковой магнитопровод 1 может быть использован в многофазном силовом трансформаторе.
Материалом для навивки магнитопровода является аморфная электротехническая сталь, например марок 7421 или 7411 отечественного производства, толщиной ленты 25 мкм, работающая на промышленной частоте и имеющая очень низкие потери (в 3-6 раз ниже) по сравнению с обычной, традиционной, холоднокатаной текстурованной железокремнистой электротехнической сталью. Аморфная электротехническая сталь в виде ленты толщиной от 10 до 30 мкм подается с бобины, снабженной регулируемым фрикционным тормозом для обеспечения натяжения, необходимого для получения максимального коэффициента заполнения, на оправку, представляющую собой треугольную призму с закругленными ребрами и изготовленную из латуни. Выбор латуни в качестве материала оправки определяется ее слабым окислением при температурах термической обработки, определяющей магнитные характеристики магнитопровода, достаточно высокой теплопроводностью и немагнитными свойствами, необходимыми для термомагнитной обработки магнитопровода. Плотная укладка ленты из аморфной электротехнической стали обеспечивается за счет обкатного ролика с регулируемой силой прижима. Оправка изготовляется разборной для легкого извлечения ее из магнитопровода после термической обработки. Разборная конструкция оправки позволит исключить повреждения витков аморфной ленты магнитопровода и не внести в них механические напряжения. В магнитопроводе из аморфной электротехнической стали с помощью лазерного или гидравлического (струей жидкости под большим давлением) воздействия вырезаются окна необходимых размеров. После последующего охлаждения, а также термического и магнитного отжигов в полученный таким способом пространственный симметричный бесстыковой магнитопровод вматываются первичная и вторичная силовые обмотки трансформатора.
Предложенный пространственный симметричный бесстыковой магнитопровод из аморфной электротехнической стали обеспечит минимальные потери холостого хода на промышленной частоте, уменьшит расход электрической энергии, увеличит надежность и тем самым увеличит технико-экономические и экологические показатели силового электрооборудования, в котором он будет применен.
Формула изобретения
1. Пространственный симметричный магнитопровод, выполненный из аморфного ферромагнитного материала, содержащий верхнее и нижнее навитые ярмы и стержни, отличающийся тем, что верхнее и нижнее ярма выполнены соединенными друг с другом стержнями с образованием единой бесстыковой конструкции, причем стержни выполнены навитыми с квадратным поперечным сечением и соединены с серединами боковых сторон верхнего и нижнего ярм, выполненных с квадратным поперечным сечением, равным площади квадратного поперечного сечения стержня, при этом наружные и внутренние ребра нижнего и верхнего ярм выполнены закругленными.
2. Магнитопровод по п.1, отличающийся тем, что навивка выполнена из аморфной электротехнической стали толщиной от 10 до 30 мкм.
РИСУНКИ
|
|