|
|
(21), (22) Заявка: 2007126809/28, 01.12.2005
(24) Дата начала отсчета срока действия патента:
01.12.2005
(30) Конвенционный приоритет:
15.12.2004 US 11/012,660
(43) Дата публикации заявки: 27.01.2009
(46) Опубликовано: 27.01.2010
(56) Список документов, цитированных в отчете о поиске:
US 6511337 B1, 28.01.2003. SU 1831668 A3, 30.07.1993. US 5245333 A, 14.09.1993. SU 1434291 A1, 30.12.1988.
(85) Дата перевода заявки PCT на национальную фазу:
16.07.2007
(86) Заявка PCT:
US 2005/043739 20051201
(87) Публикация PCT:
WO 2006/065562 20060622
Адрес для переписки:
129090, Москва, ул. Б.Спасская, 25, стр.3, ООО “Юридическая фирма Городисский и Партнеры”, пат.пов. Ю.Д.Кузнецову
|
(72) Автор(ы):
ХЕДКЕ Роберт К. (US)
(73) Патентообладатель(и):
РОУЗМАУНТ ИНК. (US)
|
(54) ПЕРЕХОДНОЕ СРЕДСТВО ДЛЯ ЭЛЕКТРИЧЕСКОЙ ЦЕПИ ИЗМЕРИТЕЛЬНОГО УСТРОЙСТВА
(57) Реферат:
Изобретение относится к измерительной технике. Сущность: переходное средство для электрической схемы измерительного устройства включает в себя соединительную часть, которая выполнена с возможностью соединения с герметизированным соединительным электрическим разъемом датчика технологического параметра, контроллер, модуль питания, модуль связи, монтажную плату. Модуль связи соединен с электрической цепью измерительного устройства и выполнен с возможностью обмена данными с нею. Контроллер выполнен с возможностью обеспечения двустороннего обмена с электрической цепью измерительного устройства через модуль связи. Модуль питания соединен с электрической цепью измерительного устройства и выполнен с возможностью подачи питания модулю связи и контроллеру. Монтажная плата содержит активную схему, которая потребляет энергию. Технический результат: обеспечение защиты от загрязняющих веществ, повышение надежности и стабильности работы, расширение функциональных возможностей. 7 з.п. ф-лы, 10 ил.
Уровень техники, относящейся к изобретению
Для контроля хода производственных процессов, например, на нефтеперерабатывающих заводах, заводах для химической переработки и т.п. используют датчики технологических параметров. Датчики технологических параметров, такие как датчики давления, обычно расположены на заводах по переработке жидких или газообразных веществ в таких местах, где могут присутствовать жидкости, пыль и повышенная влажность, а также различные промышленные загрязняющие вещества. В некоторых случаях могут присутствовать технологические жидкости, например кислотный или щелочной раствор. Источником жидкостей могут также быть брызги из шлангов, используемых для чистки заводского оборудования. Жидкости могут капать, плескаться или распыляться на датчик технологического параметра и его электрические контакты. Пыль, повышенная влажность и жидкости, имеющиеся в окружающей среде, могут вызывать загрязнение и ухудшение электрических контактов датчика технологического параметра.
Для защиты электрических схем и электрических контактов от ухудшения их качества в результате воздействия загрязняющих веществ датчики технологических параметров часто снабжаются герметизированными секциями для электрических схем, соединение с которыми осуществляется при помощи герметизированных электрических проводников. Однако в случае миниатюризированного датчика технологического параметра, в котором используется разъем цокольного типа, герметизированная секция для электрической схемы, которая защищала бы расположенные в цоколе оголенные электрические контактные штыри, отсутствует.
Были предложены переходные средства для электрической цепи измерительного устройства, которые присоединяются к контактным штырям в цоколе датчика технологического параметра и которые способны защитить контактные штыри и электрическую схему от загрязняющих веществ, не требуя создания дорогостоящей и громоздкой секции для электрической схемы. Известные из уровня техники переходные средства для электрической цепи, герметично изолированные от окружающей среды, такие как раскрытые Fandrey и др. (патент США 6511337), обеспечивают эффективную герметизацию. В некоторых случаях раскрытые Fandrey и др. переходные средства для электрической цепи, герметично изолированные от окружающей среды, включают в себя дополнительные функции, например функцию фильтра радиочастотных/электромагнитных помех. Хотя дополнительные функции переходного средства для электрической цепи оказались полезными, существует потребность в решении вопросов, связанных с применением переходного средства для электрической цепи и измерительного устройства в широком спектре дополнительных применений. Предоставление переходного средства для электрической цепи, обладающего новыми функциями и характеристиками, поможет решению вопросов, связанных с широким спектром различных применений.
Сущность изобретения
Переходное средство для электрической цепи измерительного устройства включает в себя соединительную часть, которая выполнена с возможностью соединения с цоколем миниатюрного датчика технологических параметров. В некоторых вариантах осуществления соединительная часть включает в себя стандартизованную кабельную выходную часть. В других вариантах осуществления кабельная часть соединена с соединительной частью. Соединительная часть, кабельная часть или обе части обладают дополнительными функциями. Дополнительные функции могут включать в себя схемы, которые обеспечивают характеристики, отсутствующие в датчике технологических параметров.
Краткое описание чертежей
Фиг.1 представляет собой изображение в сечении миниатюрного датчика давления с цоколем и контактными штырями.
Фиг.2 представляет собой изображение в сечении переходного средства для электрической цепи с установленным на цоколе фильтром радиочастотных/электромагнитных помех.
Фиг.3 представляет собой изображение переходного средства для электрической цепи с разъемом для стандартного комплекта проводов.
Фиг.4 представляет собой схематический вид переходного средства с активной схемой для электрической цепи измерительного устройства согласно варианту осуществления настоящего изобретения.
Фиг.5 представляет собой схематический вид переходного средства с входной схемой дополнительного датчика для электрической цепи измерительного устройства согласно варианту осуществления настоящего изобретения.
Фиг.6 представляет собой схематический вид переходного средства с барьером искробезопасности для электрической цепи измерительного устройства в соответствии с вариантом осуществления изобретения.
Фиг.7 представляет собой схематический вид переходного средства с контроллером для электрической цепи измерительного устройства в соответствии с вариантом осуществления изобретения.
Фиг.8 представляет собой схематический вид переходного средства с множеством типов для электрической цепи измерительного устройства в соответствии с вариантом осуществления изобретения.
Фиг.9 представляет собой схематический вид переходного средства для электрической цепи измерительного устройства в соответствии с вариантом осуществления изобретения.
Фиг.10 представляет собой схематический вид переходного средства для электрической цепи измерительного устройства в соответствии с другим вариантом осуществления изобретения.
Подробное описание вариантов осуществления изобретения
Электрическое переходное средство соединяет датчик технологических параметров с многопроводной схемой измерительного устройства. Переходное средство защищает контактные штыри, розеточную часть и провода электрической схемы от повреждения в результате воздействия жидкостей, которые распыляются, капают или расплескиваются на датчик технологических параметров, а также от пыли, повышенной влажности и других загрязняющих веществ. Переходное средство можно использовать для обеспечения любого типа электрического соединения с датчиком, такое как двухпроводное соединение или соединение для цифровых данных. Переходное средство включает в себя дополнительные характеристики и/или функции, о чем будет более подробно раскрыто ниже.
На фиг.1 приведено поперечное сечение датчика 100 дифференциального давления. Датчик 100 является примером датчика технологических параметров, на котором может использоваться переходное средство (на фиг.1 не показано) для создания соединения с цепью измерительного устройства.
Датчик 100 включает в себя корпус 102 миниатюрного датчика с внешней стенкой 104, герметично прилегающей к цоколю 106 электрического разъема. Корпус 102 датчика включает в себя два компланарных отверстия 108 для впуска флюида, которые содержат диэлектрическую диафрагму 108. Диэлектрическая жидкость 112, находящаяся в герметично закрытых каналах, передает дифференциальное давление от впускных отверстий 108 к расположенному в датчике 100 емкостному элементу 114, чувствительному к дифференциальному давлению.
Датчик 100 технологических параметров включает в себя герметизированный соединительный электрический разъем 116 с цилиндрической внешней оболочкой, или цоколем 106, и герметично закрытым изолирующим проходником 118 с электрическим контактом или штырьками 120. На цоколе 106 имеется наружная резьба 107. Два или более контактных штырьков 120 переносят данные электрической цепи для обмена данными с датчиком 100 технологических параметров.
Монтажная плата 122 электрически соединена с датчиком 114 давления и обрабатывает данные от датчика 114 давления и управляет током электрической цепи, поступающим на контактные штыри 120, для обеспечения представления дифференциального давления, имеющегося на впускных отверстиях 108. Давление может быть представлено аналоговым током 4-20 мА или может быть представлено любым из множества известных цифровых протоколов, таких как протоколы HART, CAN, Foundation Fieldbus и Profibus и другие протоколы обмена цифровыми данными, известные в области управления технологическими процессами с обработкой флюидов.
Внешняя стенка 104 предпочтительно приварена к цоколю 106 с образованием кольцевого сварного соединения 124, образующего герметичную полость 126 внутри корпуса 102. В изолирующем проходнике 118 имеется капиллярная трубка 128 для проверки на наличие утечек перед тем, как трубку 128 закроют для обеспечения герметизации герметичной полости 126 в миниатюрном датчике 100 дифференциального давления.
Как показано на фиг.1, датчик 100 является датчиком миниатюрного типа, который не содержит герметизированную секцию для электрической схемы, предназначенной для создания соединения с электрической схемой измерительного устройства. Контактные штыри 120 и изолирующий проходник 118 находятся снаружи на датчике 100 технологических параметров и подвержены нежелательному воздействию со стороны загрязняющих веществ, таких как пыль, повышенная влажность или жидкости, которые распыляются, капают или проливаются в условиях завода по переработке флюидов.
На фиг.2 приведен схематический вид переходного средства для электрической цепи измерительного устройства, соединенного с цоколем датчика технологических параметров. Переходное средство 131 для электрической цепи измерительного устройства соединено с цоколем 132 датчика технологических параметров. Переходное средство 131 выполнено в виде кабельного узла 135, имеющего соединительную часть 140 и кабельную часть 141. Соединительная часть 140 выполнена с возможностью соединения с цоколем 132 и предпочтительно осуществляет это соединение посредством резьбового соединения. Таким образом, в вариантах осуществления, в которых цоколь 132 имеет наружную резьбовую поверхность, соединительная часть 140 будет иметь соответствующую часть с внутренней резьбой для соединения с внешней резьбой цоколя 132.
Внутри соединительной части 140 расположена монтажная плата 142, которая включает в себя множество соответствующих электрических элементов 144, 146. Элементы 144, 146 могут взаимодействовать с соединенной с ними электрической цепью измерительного устройства посредством проводников 148, 150, и/или они также взаимодействуют с датчиком технологических параметров, соединенным с ними через цоколь 132. Схемы 144, 146, расположенные на монтажной плате 142, можно использовать для обеспечения одной или нескольких дополнительных функций, которые могут быть полезными во время работы или технического обслуживания датчика технологических параметров.
На фиг.3 приведен схематический вид переходного средства для электрической цепи измерительного устройства в соответствии с другим вариантом осуществления настоящего изобретения. Изображенное переходное средство 200 для электрической цепи не имеет связанного с ним кабельного узла. Вместо этого переходное средство 200 для электрической цепи соединено с цоколем 132 датчика технологических параметров и обеспечивает стандартизированный кабельный выход 202. Выход 202 является одним из множества подходящих кабельных сопряжений. Переходное средство 202 предпочтительно обеспечивает для цоколя 132 герметичную изоляцию от окружающей среды, как более подробно описано в патенте США 6511337. Переходное средство 202 также включает в себя монтажную плату 142 с расположенными на ней схемными элементами 204. Как было описано в отношении фиг.2, элементы 204 на монтажной плате 142 могут обеспечивать любую из перечисленных выше функций и/или схем в отношении переходного средства 131. Переходные средства 131 и 200 для электрической цепи измерительного устройства подобны друг другу в том смысле, что обе они соединяются с внешней резьбой 210 цоколя 132 датчика технологических параметров.
На фиг.4 приведен схематический вид переходного средства с активной схемой для электрической цепи измерительного устройства согласно варианту осуществления настоящего изобретения. Переходное средство 131 для электрической цепи измерительного устройства соединено с датчиком технологических параметров, обозначенным на схеме позицией 302. С переходным средством 300 физически соединена электрическая цепь 304 технологического процесса. С электрической цепью 304 электрически соединена активная схема 306, расположенная на плате 142. Хотя на фиг.4 изображена схема 306, соединенная параллельно электрической цепи 304, явным образом предусматривается, что активная схема 306 может быть соединена последовательно. В рамках настоящей заявки активной схемой 306 является любая электронная схема, которая потребляет энергию. Тем самым активная схема 306 отличается от пассивной схемы, такой как резисторы и конденсаторы, а также от сочетания таких устройств, как пассивные фильтры. Активная схема 306 может состоять из одного активного схемного элемента или может представлять собой сочетание элементов. Если хотя бы один элемент в сочетании элементов является активным, это сочетание считается активным. Поскольку активная схема 306 потребляет энергию, она должна быть подключена к источнику питания. Такое питание может подаваться от электрической цепи, датчика технологических параметров или даже от внешнего источника питания.
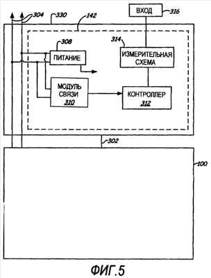
На фиг.5 приведен схематический вид переходного средства с входной схемой дополнительного датчика для электрической цепи измерительного устройства согласно варианту осуществления изобретения. Переходное средство 300 соединено с датчиком 100 технологических параметров, обозначенного позицией 302. Переходное средство 300 также электрически соединено с электрической цепью 304. Переходное средство 330 содержит также схему 308 электропитания, которая обеспечивает соответствующее питание всем активным элементам на плате 142 посредством питания, получаемого от цепи 304. Такая схема позволяет переходному средству 330 обмениваться данными через электрическую цепь 304 независимо от датчика 100 технологических параметров, с которым он соединен. Контроллер 312, который предпочтительно является микропроцессором, соединен с модулем 310 связи электрической цепи. Контроллер 312 соединен также с измерительной схемой 314, которая в свою очередь соединена со входом 316 дополнительного датчика. Вход 316 может быть расположен на переходном средстве 330, на датчике 100 технологических параметров или в любом другом подходящем месте. К входу 316 может быть подключен любой требуемый датчик.
В одном варианте осуществления вход 316 представляет собой вход температурного датчика и обеспечивает подключение температурного датчика, такого как резистивный температурный датчик RTD. Измерительная схема 314 выполнена с возможностью выработки сигнала, который соответствует характеристике датчика. Например, в случае варианта осуществления с датчиком RTD, схема 314 пропускает через датчик RTD небольшой ток и измеряет результирующее падение напряжения на датчике RTD. Измерительная схема 314 может также при необходимости включать в себя аналого-цифровой преобразователь, который может преобразовывать аналоговое представление (то есть определенное напряжение) в его цифровое представление. Измерительная схема 314 выдает показание датчика на контроллер 312. В одном варианте осуществления контроллер 312 использует показание от измерительной схемы 314 для регулировки или иной компенсации сигнала от датчика технологических параметров на основе отклика датчика, соединенного с выходом 316. Так, в вариантах осуществления, где датчик 100 технологических параметров является датчиком давления, а выходной сигнал датчика давления может колебаться в зависимости от температуры, переходное средство 300 можно использовать для легкой настройки выходного сигнала при изменении температуры. Такая схема выгодна для любого сочетания датчиков технологических параметров и чувствительных элементов (датчиков), когда на датчик технологических параметров влияет параметр, который можно измерить и настроить прогнозируемым образом.
На фиг.6 приведен схематический вид переходного средства 350 для электрической цепи измерительного устройства в соответствии с вариантом осуществления настоящего изобретения. Переходное средство 350 для измерительной цепи электрического устройства включает в себя монтажную плату 142, на которой имеется барьерная схема 352 искробезопасности. Барьерная схема 352 в целом ограничивает количество энергии, которое может поступать от датчика технологических параметров в ответ на события, связанные с неисправностью. Схема искробезопасности известна и в целом работает таким образом, чтобы ограничить поступление энергии в условиях неисправности. Дополнительные сведения об искробезопасности можно найти в технических характеристиках, относящихся к искробезопасности, изложенных во Взаимно согласованном заводском стандарте, озаглавленном “Intrinsically Safe Apparatus and Associated Apparatus for Use in Class I, II and III, Division 1 Hazardous (Classified) Locations” (Устройства с искробезопасностью и связанные с ними устройства для использования в условиях повышенной опасности I, II классов и III класса, раздел 1), классификационный индекс 3610, опубликовано в октябре 1988.
На фиг.7 приведен схематический вид переходного средства 360 для электрической цепи измерительного устройства в соответствии с вариантом осуществления настоящего изобретения. Переходное средство 360 для электрической цепи измерительного устройства имеет некоторое сходство с переходным средством 330 для электрической цепи измерительного устройства, описанного со ссылкой на фиг.5. Однако у переходного средства 360 для электрической цепи измерительного устройства 360 отсутствует вход для подключения чувствительного элемента (датчика). Вместо этого переходное средство 360 для электрической цепи измерительного устройства включает в себя модуль 362 питания, соединенный с электрической цепью 304 измерительного устройства и выполненный с возможностью подачи питания модулю 364 связи и контроллеру 366. Модуль 364 связи соединен с электрической цепью 304 измерительного устройства и выполнен с возможностью обмена данными с нею предпочтительно посредством стандартного протокола связи, применяемого в области технологических процессов, таких как протокол HART® или FOUNDATION Fieldbus. Контроллер 366 предпочтительно является микропроцессором, который обеспечивает двусторонний обмен данными с электрической цепью 304 измерительного устройства, как показано на чертеже по линии 368 через модуль 364 связи. Поскольку переходное средство 360 для электрической цепи измерительного устройства содержит свой собственный контроллер 366, питаемый от электрической цепи 304 измерительного устройства, оно может обеспечивать такие функции, как резервирование, диагностика и/или другую подходящую функцию, реализации которой способствует ее программируемый характер. В одном варианте осуществления переходное средство 360 для электрической цепи обеспечивает свойства, которые облегчают взаимодействие локального пользователя с датчиком технологических параметров и/или переходным средством для электрической цепи. Дисплей 370, обозначенный штриховой линией, является предпочтительно миниатюрным ЖК-дисплеем. Средство (средства) 372 пользовательского ввода также изображены штриховой линией и могут располагаться вблизи соединительной части 140 или на удалении от соединительного устройства 140 вдоль кабеля 142.
На фиг.8 приведен схематический вид переходного средства для электрической цепи измерительного устройства в соответствии с вариантом осуществления настоящего изобретения. Переходное средство 380 для электрической цепи включает в себя модуль 382 питания, который может быть идентичен любому из описанных выше модулей 306 или 382 питания. Кроме того, переходное средство 380 для электрической цепи содержит контроллер 384, который предпочтительно является микропроцессором. Переходное средство 380 для электрической цепи отличается от описанных выше вариантов осуществления прежде всего тем, что переходное средство 380 для электрической цепи измерительного устройства включает в себя множество контроллеров связи. Как показано на чертеже, переходное средство 380 для электрической цепи включает в себя первый модуль 386 связи, соединенный с контроллером 384 для двунаправленной связи с ним и функционально соединенный с электрической цепью 304 измерительного устройства для обеспечения связи по ней. Кроме того, переходное средство 380 для электрической цепи включает в себя также второй контроллер 388 связи, соединенный с контроллером 384 для связи через выход второго типа. В одном варианте осуществления контроллер 386 связи выполнен с возможностью связи по электрической цепи 304 измерительного устройства в соответствии протоколом HART®, тогда как контроллер 388 связи выполнен с возможностью связи в соответствии с промышленным протоколом Foundation Fieldbus. Однако можно использовать любое сочетание модулей связи, если только множество модулей связи обеспечивают связь различного типа. Дополнительную информацию о схемах, используемых для обеспечения множества типов выходов, можно найти в патенте США 5245333, выданном Anderson и др. В этом патенте раскрыта схема, в которой различным устройствам обеспечены множество типов выходов. Так, плата 142, в которой используется соответствующая схема, может обеспечить связь датчика технологических параметров с первым внешним устройством при помощи первого типа связи, например, при помощи сигналов переменного тока, и связь со вторым внешним устройством при помощи второго типа связи, например при помощи сигналов постоянного тока.
На фиг.9 приведен схематический вид переходного средства 400 для электрической схемы измерительного устройства в соответствии с другим вариантом осуществления настоящего изобретения. Переходное средство 400 соединено с цоколем датчика технологических параметров, как показано на фиг.2. Переходное средство 400 включает в себя локальный интерфейс 310, расположенный на расстоянии от соединительной области 140. Локальный пользовательский интерфейс 410 включает в себя соответствующие элементы ввода/вывода, такие как дисплей 412, который предпочтительно является миниатюрным ЖК-дисплеем, и одну или несколько кнопок 414, обеспечивающих взаимодействие пользователя с датчиком технологических параметров, соединенным с соединительной областью 140. Интерфейс 410 также может включать в себя соответствующую схему для контроля сигналов между датчиком технологических параметров и другими устройствами, подключенным к электрической цепи измерительного устройства. Такой контроль может упростить анализ при помощи записанных данных и/или профилактическое техническое обслуживание.
На фиг.10 приведен схематический вид переходного средства 500 для электрической цепи измерительного устройства в соответствии с другим вариантом осуществления настоящего изобретения. Переходное средство 500 для электрической схемы выполнено с возможностью соединения с цоколем 132 измерительного устройства параметров процесса. Переходное средство 500 предпочтительно содержит цилиндрическую боковую стенку 502, форма и размер которой совместимы с цоколем устройства определения параметров процесса. Боковая стенка 502 предпочтительно формуется в виде единого узла с колпачком 504. Кроме того, колпачок 504 предпочтительно соединен с боковой стенкой 502 посредством петли 506, которая предпочтительно формуется в виде единого целого с колпачком 504 и боковой стенкой 502. Боковая стенка 502 и колпачок 504 предпочтительно содержат податливый внешний слой 508, который способствует герметичному соединению переходного средства 500 с цоколем 132. Кроме того, податливый слой 508 способствует герметизации между боковой стенкой 502 и колпачком 504. Наконец, податливый внешний слой 508 помогает также выработать самогерметизирующийся ввод 510 для проводов. Податливый внешний слой может быть выполнен из любого материала, который подвержен упругой деформации, но предпочтительно выполнен из эластомера. При выборе податливого материала для слоя 502 важно, чтобы материал сохранял рабочие свойства при высоких температурах, в которых предположительно будет находиться переходное средство 500 для электрической цепи. Кроме того, если переходное средство 500 для электрической цепи будет подвергаться воздействию прямого солнечного света или других источников ультрафиолетового излучения, материал, выбранный для слоя 508, должен выдерживать такое регулярное воздействие.
Камера 512, расположенная внутри переходного средства 500, предпочтительно содержит множество электронных элементов, а также соответствующих разъемов 514 для соединения с отдельными штырями цоколя 132. Предпочтительно, чтобы разъемы 514 представляли собой штыковые соединения, размер и надлежащее расположение подходили соответствующим разъемам в или на цоколе 132. Электронные элементы 516, 518, и 520 могут быть любыми подходящими элементами, обеспечивающими требуемые функции. Например, элемент 516 может представлять собой один или несколько резисторов, элемент 518 может представлять собой один или несколько диодов, а элемент 520 может включать в себя один или несколько развязывающих элементов, таких как трансформаторы или конденсаторы. Электрические элементы 516, 518 и 520 могут быть объединены в известные схемы для обеспечения защиты от переходных процессов, фильтрации радиочастотных помех, использования общего питания и т.д. Установка диода 518 в положение с обратной полярностью может обеспечить, что устройство определения технологических параметров не произведет случайный сброс чрезмерной энергии на электрическую цепь технологического процесса в условиях неисправности. Электрические элементы 516, 518 и 520 могут быть размещены на маленькой монтажной плате, вмещающейся в камеру 512. Дополнительно или в альтернативном варианте, электрические элементы 516, 518 и 520 могут формоваться в камере 512 посредством формы 522, которая может обеспечивать дополнительные функции в виде поглощения тепла и при этом обеспечивать герметичность между частью 524 камеры 512 и частью 526. Наконец, переходное средство 500 также предпочтительно содержит самогерметизирующийся ввод для проводов. Так, провода 528, проходя через ввод 510, автоматически герметизируются так, что, хотя провода 528 проходят сквозь боковую стенку 502, воздух и другие газы через нее не проходят. В камере 512 провода 528 соединяются с разъемами 530 соответствующих проводов для обеспечения временного электрического соединения с устройством определения технологических параметров.
Хотя настоящее изобретение было описано со ссылкой на предпочтительные варианты осуществления, специалистам в данной области техники очевидно, что в его форму и отдельные элементы могут быть внесены изменения без отступления от сущности и объема притязаний настоящего изобретения.
Формула изобретения
1. Переходное средство для электрической цепи измерительного устройства, предназначенное для соединения датчика технологических параметров с электрической цепью, переходное средство содержит: по меньшей мере один модуль связи, соединенный с электрической цепью измерительного устройства и выполненный с возможностью обмена данными с электрической цепью, контроллер, выполненный с возможностью обеспечения двустороннего обмена с электрической цепью измерительного устройства через указанный модуль связи, модуль питания, соединенный с электрической цепью измерительного устройства и выполненный с возможностью подачи питания модулю связи и контроллеру, соединительную часть, выполненную с возможностью соединения с герметизированным соединительным электрическим разъемом датчика технологического параметра для соединения датчика технологического параметра с электрической цепью, и монтажную плату, расположенную в пределах соединительной части, причем монтажная плата содержит активную схему, которая потребляет энергию.
2. Переходное средство по п.1, в котором активная схема является входной схемой датчика.
3. Переходное средство по п.2, в котором входной схемой датчика является входная схема резистивного температурного датчика RTD.
4. Переходное средство по п.2, в котором входная схема датчика включает в себя аналогово-цифровой преобразователь.
5. Переходное средство по п.2, в котором активная схема включает в себя микропроцессор.
6. Переходное средство по п.2, в котором активная схема включает в себя дисплей.
7. Переходное средство по п.2, в котором активная схема обеспечивает выходы различного типа.
8. Переходное средство по п.2, в котором активная схема обеспечивает локальный выход.
РИСУНКИ
|
|