|
|
(21), (22) Заявка: 2008102083/28, 08.06.2006
(24) Дата начала отсчета срока действия патента:
08.06.2006
(30) Конвенционный приоритет:
21.06.2005 DE 102005029045.0
(43) Дата публикации заявки: 27.07.2009
(46) Опубликовано: 27.01.2010
(56) Список документов, цитированных в отчете о поиске:
US 5317520 А, 31.05.1994. DE 3933311 A1, 18.04.1991. WO 9905480 A1, 04.02.1999. DE 2526027 A1, 23.12.1976. SU 883671 A1, 23.11.1981.
(85) Дата перевода заявки PCT на национальную фазу:
21.01.2008
(86) Заявка PCT:
EP 2006/062991 20060608
(87) Публикация PCT:
WO 2006/136496 20061228
Адрес для переписки:
103735, Москва, ул. Ильинка, 5/2, ООО “Союзпатент”, А.А. Силаевой
|
(72) Автор(ы):
УМКЕРЕР Альфред (DE)
(73) Патентообладатель(и):
ЭНДРЕСС+ХАУЗЕР ВЕТЦЕР ГМБХ+КО. КГ (DE)
|
(54) УСТРОЙСТВО ДЛЯ ОПРЕДЕЛЕНИЯ И/ИЛИ КОНТРОЛЯ ТЕМПЕРАТУРЫ
(57) Реферат:
Изобретение относится к устройству для определения и/или контроля, по меньшей мере, одной температуры, с первым и вторым температурным датчиком, с измерительным преобразователем, причем измерительный преобразователь имеет четыре клеммы для подключения электрических проводов, и с пятью электрическими проводами. Первый температурный датчик с помощью, по меньшей мере, трех электрических проводов соединен с, по меньшей мере, тремя клеммами измерительного преобразователя, причем три электрических провода, таким образом, соединены с первым температурным датчиком и измерительным преобразователем, что с помощью 3-проводной схемы выявляется величина электрического сопротивления, по меньшей мере, одного из трех электрических проводов. Технический результат – более точное измерение температуры и уменьшение затрат на оборудования. 2 з.п. ф-лы, 2 ил.
Изобретение относится к устройству для определения и/или контроля, по меньшей мере, одной температуры, с, по меньшей мере, первым температурным датчиком и вторым температурным датчиком, с по меньшей мере, одним измерительным преобразователем, причем измерительный преобразователь имеет, по меньшей мере, четыре клеммы для электрического подключения электрических проводов к измерительному преобразователю, и с, по меньшей мере, пятью электрическими проводами, причем первый температурный датчик с помощью, по меньшей мере, трех электрических проводов соединен с, по меньшей мере, тремя клеммами измерительного преобразователя, причем три электрических провода таким образом соединены с первым температурным датчиком и измерительным преобразователем, что с помощью 3-проводной схемы выявляется величина электрического сопротивления, по меньшей мере, одного из трех электрических проводов, и причем второй температурный датчик с помощью, по меньшей мере, двух электрических проводов соединен с, по меньшей мере, двумя клеммами измерительного преобразователя. Изобретение относится также к способу определения и/или контроля, по меньшей мере, одной температуры, причем оценивается зависящее от температуры электрическое сопротивление, по меньшей мере, одного температурного датчика и второго температурного датчика, причем первый температурный датчик и второй температурный датчик с помощью электрических проводов соединены с измерительным преобразователем. В части температуры речь может идти, например, о температуре в помещении или емкости или о температуре среды.
Из уровня техники известно измерение температуры с помощью элемента сопротивления, чье электрическое сопротивления зависит о температуры, господствующей в его окружении. Элемент сопротивления образует, таким образом, температурный датчик термометра сопротивления. Чтобы у таких измерительных приборов иметь возможность достаточно точно определить сопротивление температурного датчика и, стало быть, температуру, необходимо подключение датчика с, по меньшей мере, 3 электрическими проводами/подключениями. При такой 3-проводной схеме исходят из того, что электрическое сопротивление всех трех проводов одинаково, т.е. предполагается что имеет место одинаковые длины и одинаковая температура проволочных выводов. С помощью измерения сопротивления проводов, которые находятся на одной стороне элемента сопротивления, может быть определено сопротивление провода. Это сопротивление провода потом вычитается из замеренного общего сопротивления между расположенными против элемента сопротивления проводами, чтобы определить сопротивление самого датчика. Важным представляется постоянное измерение электрического сопротивления подводящих проводов, так как величина сопротивления проводов также зависит от температуры.
Электрические подводящие провода, обычным образом, присоединены к измерительному преобразователю/преобразователю измеряемой величины, который надлежащим образом настроен на температурный датчик и оценивает измеренную величину или обрабатывает ее и соответственно передает измеренные величины на индикаторное устройство или через магистраль данных к стоящему выше устройству. Такой головной преобразователь температуры для установки в контактной головке формы В по DIN 43729 имеет обычно 6 контактных зажимов: по одной клемме для электропитания и созданного преобразователем выходного сигнала и четырех клемм для подключения датчика. Однако существуют варианты применения, при которых подключаются два датчика, например, два термоэлемента или два термометра сопротивления. Для измерения двумя датчиками сопротивления (например, термометром сопротивления или зависящим от сопротивления позиционным датчиком) в соответственно 3-проводной схеме необходимо, по меньшей мере, 5 клемм. При этом одна клемма имеет одновременно 2 провода для присоединения. Размещение пятой клеммы датчика на головном преобразователе по DIN В очень затруднительно, так как, во-первых, клеммы стали неудобно малы или остается мало места для параметрического переходного устройства и бокового кабельного ввода питание/сигнал. Проблема обостряется при головных преобразователях с 4 клеммами, при которых имеется только возможность одновременного присоединения 3 и 2-проводного датчика сопротивления. Это ведет к экстремальной неточности у 2-проводного датчика сопротивления, так как для него нет информации в части зависящего от температуры сопротивления подводящих проводов.
Задача изобретения состоит в том, чтобы предложить прибор для измерения температуры с двумя температурными датчиками, которые позволяют проводить соответственно по возможности более точное измерение температуры, причем затраты, касающиеся оборудования, небольшие.
Изобретение решает задачу с помощью устройства для определения и/или контроля, по меньшей мере, одной температуры, с, по меньшей мере, первым температурным датчиком и вторым температурным датчиком, с, по меньшей мере, одним преобразователем измерений, причем преобразователь измерений имеет, по меньшей мере, четыре клеммы для электрического подключения электрических проводов к измерительному преобразователю и с, по меньшей мере, пятью электрическими проводами, причем первый температурный датчик с помощью, по меньшей мере, трех электрических проводов соединен с, по меньшей мере, тремя клеммами измерительного преобразователя, причем три электрических провода таким образом соединены с первым температурным датчиком и измерительным преобразователем, что с помощью 3-проводной схемы выявляется величина электрического сопротивления, по меньшей мере, одного из трех электрических проводов, причем второй температурный датчик, с помощью, по меньшей мере, двух электрических проводов соединен с, по меньшей мере, двумя клеммами измерительного преобразователя.
Предложенное в соответствии с изобретением устройство для решения задачи предусматривает, что величина электрического сопротивления, по меньшей мере, одного электрического провода, получающаяся с помощью 3-проводной схемы, служит определению величины электрического сопротивления, по меньшей мере, одного электрического провода, с помощью которого второй температурный датчик соединен с измерительным преобразователем. Таким образом, изобретение заключается в том, что оба температурных датчика присоединены к преобразователю измерений, причем величина сопротивления, которая определяется для подводящих проводов первого температурного датчика, применяется для определения величины сопротивления подводящих проводов второго температурного датчика. Исполнение, в частности, предусматривает, что первый температурный датчик только через 3 провода и что второй температурный датчик только через два провода соединен с измерительным преобразователем. Таким образом, это является минимальным числом проводов, с которым два температурных датчика могут быть присоединены к измерительному преобразователю. При этом изобретение позволяет точное измерение температуры также с помощью второго температурного датчика, за счет того, что величины, определенные для первого температурного датчика, применяются также и для второго датчика. Таким образом, изобретение позволяет измерять температуры с двумя температурными датчиками соответственно очень точно, причем не для обоих температурных датчиков требуется 3-проводная схема. Следовательно, требуется меньше проводов, меньше клемм и меньше техники управления. С помощью измерительного устройства принципиально возможно проведение измерений, по меньшей мере, первой и второй температуры (соответственно обоими температурными датчиками) или дважды одной температуры, следовательно, с избытком.
Исполнение предложенного в соответствии с изобретением устройства предполагает, что, по меньшей мере, предусмотрен микропроцессор для управления клеммами и/или оценки соответственно для контроля, по меньшей мере, одной температуры с помощью первого температурного датчика и/или второго температурного датчика. Два температурных датчика позволяют избыточное измерение или контроль одной температуры и измерение двух различных температур, которые господствуют на месте, в котором находятся оба температурных датчика.
Исполнение предложенного в соответствии с изобретением устройства предусматривает, что микропроцессор выполнен таким образом, что он использует величину электрического сопротивления, определенную с помощью 3-проводной схемы, для расчета величины электрического сопротивления электрических проводов, с помощью которых второй температурный датчик соединен с измерительным преобразователем. Итак, управляющий микропроцессор или микроконтроллер выполнен таким образом, что он использует величину сопротивления, определенную для подводящих проводов первого температурного датчика, также для определения величины сопротивления подводящих проводов второго температурного датчика.
Исполнение предложенного в соответствии с изобретением устройства предполагает, что пять электрических проводов расположены таким образом, что на них воздействует в основном одинаковая температура. Пять подводящих проводов, преимущественным образом, выполнено и расположено таким образом, что на них воздействует в основном соответственно одинаковая температура. Таким образом, взаимосвязанная разработка предложенного согласно изобретению устройства предполагает, что электрические провода расположены, по меньшей мере, в одной трубе. Следовательно, провода лежат по возможности близко один к другому.
Исполнение предложенного в соответствии с изобретением устройства предусматривает, что, по меньшей мере, два электрических сопротивления пяти электрических проводов имеют известное отношение друг к другу. Если отношение величин сопротивления известно, то отсюда по измеренной с помощью соответствующей схеме величине, может быть определена или рассчитана соответственно другая величина. Для 3-проводной схемы, например, в общем, принимается, что все три провода имеют одинаковое сопротивление. Однако могут применяться также другие соотношения, которые равным образом соответственно должны быть известны для расчета. Это исполнение относится, таким образом, при этом как к известным отношениям величин сопротивления друг к другу внутри проводов температурного датчика, так и к отношениям сопротивлений между проводами отдельных температурных датчиков. Известные отношения могут быть получены, например, с помощью соответствующего исполнения проводов.
Исполнение устройства, предложенного в соответствии с изобретением, предполагает, что электрическое сопротивление трех электрических проводов первого температурного датчика и электрическое сопротивление двух электрических проводов второго температурного датчика имеют известное отношение друг к другу. Если известно отношение величин сопротивления друг к другу, то по нему с помощью величины, определенной с помощью 3-проводной схемы, может быть определена или, в частности, рассчитана величина сопротивления двух других электрических проводов.
Исполнение устройства, предложенного в соответствии с изобретением, предусматривает, что пять электрических проводов выполнены таким образом, что они в основном имеют одинаковое электрическое сопротивление. При таком исполнении величина, определенная с помощью 3-проводной схемы может использоваться непосредственно для оценки измеренной величины вторым температурным датчиком. Преимущественным образом, пять проводов состоят из одинакового материала, имеют одинаковую длину и по возможности все расположены в одном и том же месте, т.е. близко один к другому.
Исполнение устройства, предложенного в соответствии с изобретением, предусматривает, что, по меньшей мере, в случае первого температурного датчика речь идет о сопротивлении, с помощью которого измеряется температура.
Исполнение устройства, предложенного в соответствии с изобретением, предполагает, что, по меньшей мере, один электрический провод из трех электрических проводов, с помощью которых первый температурный датчик соединен с измерительным преобразователем, и, по меньшей мере, один электрический провод из двух электрических проводов, с помощью которых второй температурный датчик соединен с измерительным преобразователем, соединены с одинаковой клеммой измерительного преобразователя. Такое исполнение предусматривает, что в некотором роде оба температурных датчика через, по меньшей мере, общую клемму соединены с измерительным преобразователем. Следовательно, для пяти электрических проводов нужно только четыре клеммы, причем благодаря изобретению все еще имеется возможность очень точного измерения температуры с помощью обоих температурных датчиков.
Изобретение решает задачу с помощью способа определения и/или контроля, по меньшей мере, одной температуры, при котором оценивается зависящее от температуры электрическое сопротивление, по меньшей мере, первого температурного датчика и второго температурного датчика, и при котором первый температурный датчик и второй температурный датчик с помощью электрических проводов соединены с измерительным преобразователем
Предложенный в соответствии с изобретением способ предусматривает, что с помощью первого температурного датчика определяется величина электрического сопротивления электрических проводов, соединенных с первым температурным датчиком, и, что определенная величина электрического сопротивления используется для определения величины электрического сопротивления электрических проводов, соединенных со вторым температурным датчиком. Таким образом, изобретение заключается в том, что определяется, т.е. измеряется величина электрического сопротивления проводов одного температурного датчика. Эта величина сопротивления потом используется для определения величины сопротивления проводов второго температурного датчика. Описанные выше варианты исполнения устройства имеют соответственно отношение и к способу. Таким образом, и в случае способа предпочтительно, если известны отношения величин сопротивления друг к другу.
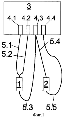
Изобретение более подробно поясняется с помощью последующих чертежей.
Фиг.1. Схематическое изображение соединения предложенного в соответствии с изобретением устройства,
Фиг.2. Другое схематическое изображение предложенного в соответствии с изобретением устройства.
На фиг.1 схематично показано устройство для измерения и/или контроля, по меньшей мере, одной температуры, предложенное в соответствии с изобретением. Измерение температуры здесь осуществляется с помощью двух температурных датчиков 1, 2, причем соответственно речь идет о сопротивлении, измеряющим температуру. Это означает, что для измерения температуры используется тот факт, что электрическое сопротивление зависит от температуры. Первый электрический датчик 1 с помощью трех проводов 5.1, 5.2 и 5.3 соединен с тремя клеммами 4.1, 4.2 и 4.3 измерительного преобразователя 3. Измерительный преобразователь 3 измеряет, например, сопротивление, которое имеется у трех проводов 5.1, 5.2 и 5.3 и сопротивление, измеряющее температуру 1 (по-видимому, следует читать – температурного датчика 1 – прим. переводчика) и определяет по нему температуру или устанавливает при изменении величины сопротивления, что температура изменилась.
Проблемой является то, что с температурой изменяются и величины сопротивления проводов, необходимых для подключения. Поэтому первый температурный датчик 1 с помощью трех проводов 5.1, 5.2 и 5.3 по так называемой 3-проводной схеме соединен с измерительным преобразователем 3. Когда измеряется электрическое сопротивление между клеммами 4.1 и 4.3 или между клеммами 4.2 и 4.3, то в результате получается электрическое сопротивление обоих проводов 5.1 и 5.2, которые составляют как бы двойное соединение между датчиком 1 и измерительным преобразователем 3. При этом предполагается, что эти оба провода 5.1 и 5.2 имеют одинаковое электрическое сопротивление. Если дальше принять, что также третий, просто имеющееся провод 5.3 имеет это же сопротивление, то в последствие интересующая температура может быть определена по электрическому сопротивлению первого температурного датчика 1.
Второй температурный датчик 2 служит, например, для избыточного измерения или контроля температуры. В другом исполнении он может измерять также вторую температуру и/или контролировать ее. Второй температурный датчик 2 с помощью двух проводов 5.4 и 5.5 подключается к измерительному преобразователю 3. При этом один провод 5.4 присоединяется к одинаковой клемме 4.3 как один из трех проводов 5.1, 5.2 и 5.3, в изображенном здесь случае 5.3. Второй провод 5.5 присоединяется к четвертой клемме 4.4. Таким образом, пять проводов 5.1, 5.2, 5.3, 5.4 и 5.5 могут быть подключены только к четырем клеммам 4.1, 4.2, 4.3 и 4.4. Для точного измерения температуры с помощью второго температурного датчика 2 предполагается, что также и оба провода 5.4 и 5.5 имеют одинаковое сопротивление, что и первые три провода 5.1, 5.2 и 5.3. Отсюда достаточно определить электрическое сопротивление только одного провода и использовать эту величину для всех проводов. В качестве альтернативы пять проводов имеют другое, однако, известное соотношение сопротивления. Предпосылка, что все примененные провода 5.1, 5.2, 5.3, 5.4 и 5.5 имеют одинаковое электрическое сопротивление и одинаковую характеристику, в частности, в зависимости от температуры, может быть реализована за счет того, что провода изготавливаются из одинакового материала и в основном одной длины – рисунки выполнены не в масштабе, однако для наглядности увеличены. Далее должно быть обеспечено, чтобы на провода 5.1, 5.2, 5.3, 5.4 и 5.5 воздействовала бы одинаковая температура, т.е. провода 5.1, 5.2, 5.3, 5.4 и 5.5 находятся, например, в одном месте, близко один к другому, в одной измерительной трубе. Для транспозиции соединения, предложенного в соответствии с изобретением, измерительный преобразователь 3 или таким образом взаимосвязанный блок оценки результатов выполнен таким образом, что он с помощью первого температурного датчика 1 определяет величину электрического сопротивления, которое потом используется для всех проводов 5.1, 5.2, 5.3, 5.4 и 5.5. В другом исполнении величины сопротивления пяти проводов 5.1, 5.2, 5.3. 5.4 и 5.5 имеют соответственно известные соотношения. Указанный выше случай является самой простой конфигурацией, при которой величины сопротивления соответственно одинаковы. При отличающихся, однако, известных соотношениях, согласно изобретению может быть определена величина сопротивления проводов.
На фиг.2 электрические провода расположены в защитной трубе 6. При этом внутри защитной трубы преимущественным образом обеспечивается, что отдельные провода постоянно находятся при одинаковой температуре, т.е. что провода по возможности близко расположены друг к другу. Микропроцессор 7, который в варианте исполнения является составной частью измерительного преобразователя 3, управляет отдельными клеммами соответственно сигналами, которые от измерительного преобразователя прикладываются к клеммам и таким образом к проводам. Таким образом, микропроцессор 7 измеряет электрическое сопротивление температурных датчиков 1 и 2, отталкиваясь от электрического сопротивления, которое было определено для электрических проводов. Микропроцессор 7 и/или измерительный преобразователь 3 выполнены, преимущественным образом так, что, например, с помощью программирующего переходного устройства, например сдвоенного переключателя, цифрового переходного устройства или блока обслуживания, предложенная в соответствии с изобретением проводка измерительного преобразователя 3 может надлежащим образом переключаться для целей оценки измеряемого сигнала. Т.е., например, с помощью сдвоенного переключателя может быть проведен выбор между проводкой согласно уровню техники и предложенной в соответствии с изобретением проводкой с, по меньшей мере, двумя температурными датчиками, величина сопротивления, определенная для проводов одного датчика, используется и для другого датчика. Конфигурация преобразователя температуры изменяется обычным образом с помощью HART/Profibus PA или Fieldbus Foundation (FF)-Protokoll (модулирует на питающем проводе) или с помощью серийного подключения к ПК (FS232 или USB-переходное устройство).
| Перечень позиций |
| 1 |
Первый температурный датчик |
| 2 |
Второй температурный датчик |
| 3 |
Измерительный преобразователь |
4.1 4.4 |
Клемма |
5.1 5.5 |
Электрический провод |
| 6 |
Защитная труба |
| 7 |
Микропроцессор |
Формула изобретения
1. Устройство для определения и/или контроля, по меньшей мере, одной температуры с, по меньшей мере, одним первым температурным датчиком (1) и одним вторым температурным датчиком (2), с, по меньшей мере, одним измерительным преобразователем (3), содержащим, по меньшей мере, четыре клеммы (4.1, 4.2, 4.3, 4.4) для электрического подключения электрических проводов (5.1, 5.2, 5.3, 5.4, 5.5) к измерительному преобразователю, и с, по меньшей мере, пятью электрическими проводами (5.1, 5.2, 5.3, 5.4, 5.5), причем первый температурный датчик (1) с помощью, по меньшей мере, трех электрических проводов (5.1, 5.2, 5.3) соединен с, по меньшей мере, тремя клеммами (4.1, 4.2, 4.3) измерительного преобразователя (3), причем три электрических провода (5.1, 5.2, 5.3) таким образом соединены с первым температурным датчиком (1) и измерительным преобразователем (3), что с помощью 3-проводной схемы выявляется величина электрического сопротивления, по меньшей мере, одного из трех электрических проводов (5.1), и при этом второй температурный датчик (2) с помощью, по меньшей мере, двух электрических проводов (5.4, 5.5) соединен с, по меньшей мере, двумя клеммами (4.3, 4.4) измерительного преобразователя, отличающееся тем, что величина электрического сопротивления, по меньшей мере, одного электрического провода (5.1), получающаяся с помощью 3-проводной схемы, служит определению величины электрического сопротивления, по меньшей мере, одного электрического провода (5.4, 5.5), с помощью которого второй температурный датчик (2) соединен с измерительным преобразователем (3), при этом предусмотрен, по меньшей мере, один микропроцессор (7) для управления клеммами (4.1, 4.2, 4.3, 4,4) и/или оценки, соответственно контроля, по меньшей мере, одной температуры с помощью первого температурного датчика (1) и/или второго температурного датчика (2), выполненный с возможностью использования величины электрического сопротивления, определенной с помощью 3-проводной схемы, для расчета величины электрического сопротивления электрических проводов (5.4, 5.5), с помощью которых второй температурный датчик (2) соединен с измерительным преобразователем, причем пять электрических проводов (5.1, 5.2, 5.3, 5.4, 5.5) расположены с учетом воздействия на них в основном одинаковой температуры, при этом, по меньшей мере, два электрических сопротивления пяти электрических проводов (5.1, 5.2, 5.3, 5.4. 5.5) имеют известное отношение друг к другу, причем, по меньшей мере, первый измерительный датчик (1) выполнен в виде сопротивления, с помощью которого измеряется температура, при этом, по меньшей мере, один провод (5.3) из трех электрических проводов (5.1, 5.2, 5.3), с помощью которых первый температурный датчик (1) соединен с измерительным преобразователем (3), и, по меньшей мере, один электрический провод (5.4) из двух электрических проводов (5.4, 5.5), с помощью которых второй температурный датчик (2) соединен с измерительным преобразователем (3), соединены с одинаковой клеммой (4.3) измерительного преобразователя (3).
2. Устройство по п.1, отличающееся тем, что электрическое сопротивление трех электрических проводов (5.1, 5.2, 5.3) первого температурного датчика (1) и электрическое сопротивление двух электрических проводов (5.4, 5.5) второго температурного датчика (2) имеют известное отношение друг к другу.
3. Устройство по п.1 или 2, отличающееся тем, что пять электрических проводов (5.1, 5.2, 5.3, 5.4, 5.5) выполнены в основном с одинаковым электрическим сопротивлением.
РИСУНКИ
|
|