|
|
(21), (22) Заявка: 2008148814/28, 11.12.2008
(24) Дата начала отсчета срока действия патента:
11.12.2008
(46) Опубликовано: 27.01.2010
(56) Список документов, цитированных в отчете о поиске:
ЖИЖИН Г.Н. и др. Поглощение поверхностных плазмонов терагерцового диапазона в структуре «металл-покровный воздух». Оптика и спектроскопия. 2006, т.100, 5, с.798-802. SU 1684634 А1, 15.10.1991. RU 2318192 С1, 27.02.2008. JP 3261846 А, 21.11.1991.
Адрес для переписки:
117198, Москва, ГСП, ул. Миклухо-Маклая, 6, ГОУ ВПО РУДН, отдел интеллектуальной собственности
|
(72) Автор(ы):
Никитин Алексей Константинович (RU), Жижин Герман Николаевич (RU), Мустафина Ольга Магамуровна (RU), Рыжова Татьяна Александровна (RU)
(73) Патентообладатель(и):
Государственное образовательное учреждение высшего профессионального образования “Российский университет дружбы народов” (РУДН) (RU)
|
(54) УСТРОЙСТВО ДЛЯ ОПРЕДЕЛЕНИЯ КОЭФФИЦИЕНТА ПОГЛОЩЕНИЯ ПОВЕРХНОСТНЫХ ЭЛЕКТРОМАГНИТНЫХ ВОЛН ИНФРАКРАСНОГО ДИАПАЗОНА
(57) Реферат:
Изобретение относится к измерительной технике. В устройстве, содержащем источник лазерного излучения, твердотельный образец с плоской поверхностью, направляющей поверхностные электромагнитные волны (ПЭВ), элемент преобразования объемного излучения в ПЭВ и фотодетектор, образец выполнен в виде двух частей, имеющих лежащие в одной плоскости сопряженные поверхности и прилегающих друг к другу боковыми гранями, края которых на пересечении с волноведущей поверхностью совмещены и ориентированы наклонно к треку ПЭВ. Элемент преобразования неподвижен относительно фиксированной первой части образца по ходу излучения. Вторая часть образца способна перемещаться параллельно волноведущей поверхности, а фотодетектор установлен с возможностью передвижения вдоль линии пересечения плоскости падения излучения и поверхности, направляющей ПЭВ. Технический результат – повышение точности измерений. 1 ил.
Изобретение относится к бесконтактным исследованиям поверхности металлов и полупроводников оптическими методами, а именно к определению спектров поглощения как самой поверхности, так и ее переходного слоя путем определения коэффициента поглощения поверхностных электромагнитных волн (ПЭВ), направляемых этой поверхностью, в инфракрасном диапазоне (ИК) спектра, и может найти применение в исследованиях физико-химических процессов на поверхности твердого тела, в ИК-спектроскопии окисных и адсорбированных слоев, в сенсорных устройствах и контрольно-измерительной технике нанотехнологий.
Спектроскопия поверхности твердого тела – одна из основных областей применения ПЭВ [1, 2]. В ИК-диапазоне применяют, главным образом, абсорбционную ПЭВ-спектроскопию, предполагающую измерение длины распространения ПЭВ L (величины, обратной коэффициенту поглощения ), достигающую в этом диапазоне 1000 (где – длина волны излучения, возбуждающего ПЭВ) и которая, поэтому, может быть измерена непосредственно. Причем, так как расстояние взаимодействия излучения с поверхностью в этом методе макроскопическое, то его чувствительность на много превышает чувствительность иных оптических методов контроля поверхности в ИК-диапазоне.
Известно устройство для измерения длины распространения ПЭВ в ИК-диапазоне, содержащее источник лазерного излучения, твердотельный образец с плоской поверхностью, фиксированный относительно поверхности элемент преобразования объемного излучения (ОИ) в ПЭВ, перемещаемый вдоль трека ПЭВ элемент преобразования ПЭВ в ОИ, фотодетектор, преобразующий ОИ в электрический сигнал, и блок обработки результатов измерений [3]. Основными недостатками такого устройства являются: 1) большая продолжительность измерений, обусловленная необходимостью прецизионного перемещения элемента преобразования (ПЭВ в ОИ) в процессе измерений; 2) низкая точность измерений, что связано с варьированием эффективности преобразования ПЭВ в ОИ при перемещении соответствующего элемента вдоль трека ПЭВ; 3) наличие в устройстве отдельного элемента преобразования ПЭВ в ОИ.
Известно устройство для определения коэффициента поглощения ПЭВ металлическими пленками, содержащее импульсный источник монохроматического излучения, элемент преобразования объемной электромагнитной волны в ПЭВ, прозрачную металлическую пленку, направляющую ПЭВ, снабженную двумя электродами, разнесенными вдоль трека ПЭВ, и имеющую ширину, не превосходящую поперечный размер пучка излучения источника, подложку для пленки, измеритель электрического напряжения, усилитель и источник постоянного тока [4]. Основными недостатками такого устройства являются: 1) ограниченность класса исследуемых образцов (они должны быть прозрачными и шириной, не превосходящей поперечный размер пучка излучения источника); 2) ограниченность разновидностей излучения, возбуждающего ПЭВ (оно должно быть импульсным); 3) необходимость термостатирования источника для стабилизации его параметров.
Известно устройство для исследования тонких слоев методом абсорбционной ПЭВ-спектроскопии в терагерцовой (ТГц) области спектра, содержащее источник лазерного излучения, твердотельный образец с плоской поверхностью, объединенные в один элементы преобразования ОИ в ПЭВ и обратно, выполненные в виде прозрачной плоскопараллельной пластины со скошенным торцом, обращенной основанием к образцу, внедренной в поле ПЭВ и расположенной параллельно поверхности образца на расстоянии не меньше 10 , причем размер пластины в плоскости падения не меньше длины распространения ПЭВ, а также – фотоприемное устройство, выполненное в виде линейки фотодетекторов и размещенное на верхней грани пластины [5]. Основным недостатком такого устройства является искажение результатов измерений вследствие внедрения пластины в поле ПЭВ, что приводит к увеличению потерь энергии ПЭВ на излучение и, как следствие, к уменьшению длины распространению ПЭВ по сравнению с невозмущенной поверхностью образца.
Наиболее близким по технической сущности к заявляемому устройству является абсорбционный ПЭВ-спектрометр ТГц диапазона, содержащий источник лазерного излучения, фокусирующий объектив, твердотельный образец с плоской поверхностью, элемент преобразования ОИ в ПЭВ в виде непрозрачного экрана, перемещаемого над поверхностью, ограниченной в направлении распространения ПЭВ ребром образца, обеспечивающим трансформацию ПЭВ в ОИ, фотоприемное устройство, преобразующее ОИ в электрический сигнал, и блок обработки результатов измерений [6]. Основными недостатками известного устройства являются: 1) большая продолжительность измерений, обусловленная необходимостью прецизионного перемещения объектива и элемента преобразования (ОИ в ПЭВ) в процессе измерений; 2) низкая точность измерений, что связано с варьированием эффективности преобразования ОИ в ПЭВ при перемещении соответствующего элемента вдоль трека ПЭВ.
Техническим результатом, на достижение которого направлено изобретение, является сокращение времени и повышение точности измерений.
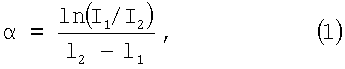
Сущность изобретения заключается в том, что в устройстве для определения коэффициента поглощения ПЭВ инфракрасного диапазона, содержащем источник лазерного излучения, твердотельный образец с плоской поверхностью, направляющей ПЭВ, элемент преобразования объемного излучения в ПЭВ, фотодетектор, размещенный у края поверхности в плоскости падения излучения и подключенный к измерительному прибору, и блок обработки результатов измерений, образец выполнен в виде двух частей, имеющих лежащие в одной плоскости сопряженные поверхности и прилегающих друг к другу боковыми гранями, края которых на пересечении с волноведущей поверхностью совмещены и ориентированы наклонно к треку ПЭВ, элемент преобразования неподвижен относительно фиксированной первой части образца по ходу излучения, вторая часть образца способна перемещаться параллельно волноведущей поверхности, а фотодетектор установлен с возможностью передвижения вдоль линии пересечения плоскости падения излучения и поверхности, направляющей ПЭВ.
Сокращение времени измерений достигается за счет устранения необходимости прецизионного перемещения элемента преобразования объемной волны в поверхностную вдоль трека ПЭВ в процессе измерений на расстояние, сравнимое с длиной распространения ПЭВ (от нескольких сантиметров до нескольких дециметров, в зависимости от частоты излучения).
Повышение точности измерений достигается в результате фиксации элемента преобразования объемной волны в поверхностную относительно образца, что позволяет избежать варьирования эффективности возбуждения ПЭВ в процессе выполнения измерений.
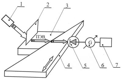
На чертеже приведена схема заявляемого устройства, где 1 – источник р-поляризованного монохроматического излучения, 2 – элемент преобразования излучения в ПЭВ, 3 – неподвижная часть образца, 4 – подвижная часть образца, 5 – фотодетектор, 6 – измерительный прибор, 7 – блок обработки результатов измерений.
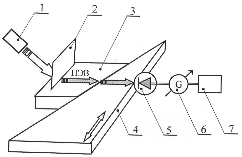
Заявляемое устройство работает следующим образом. Излучение источника 1 падает на элемент 2 и с некоторой эффективностью преобразуется в ПЭВ, направляемую плоской поверхностью неподвижной части 3 образца. Дойдя до края поверхности части 3 образца, ИК ПЭВ переходит, практически без изменения своей интенсивности, на плоскую поверхность подвижной части 4 образца и продолжает распространяться в прежнем направлении до ее края, пройдя при этом расстояние l1. Дифрагируя на краю части 4 образца, ПЭВ трансформируется в объемную волну, которая поглощается фотодетектором 5. Сигнал I1, вырабатываемый фотодетектором 5 и пропорциональный интенсивности ПЭВ на краю части 4, регистрируется прибором 6. Затем подвижную часть 4 образца смещают параллельно волноведущей поверхности, сохраняя контакт ее боковой грани с боковой гранью первой части. При этом расстояние, проходимое ПЭВ по части 4, станет равным l2, а сигнал, вырабатываемый фотодетектором 5, – I2. Тогда коэффициент поглощения ПЭВ может быть рассчитан блоком обработки результатов измерений 7 по формуле [1, 2]:

при условии, l2>l1. Если же выполняется неравенство l1>l2, то индексы интенсивностей в подлогарифмическом выражении формулы (1) следует поменять местами друг с другом.
Отметим, что с целью повышения точности измерений выше описанная процедура может быть реализована для большого количества пар расстояний l1 и l2, а затем – рассчитано среднее значение .
Ключевыми моментами функционирования заявляемого устройства являются, во-первых, факт перехода ИК ПЭВ с одной плоской проводящей поверхности на другую, сопряженную с первой и расположенную в одной и той же плоскости, практически без потерь; во-вторых, плавное изменение расстояния, пробегаемого ПЭВ по образцу, при перемещении его подвижной части 4 в плоскости, параллельной волноведущей поверхности. Явление перехода ПЭВ с одной проводящей поверхности на другую исследовано в работах [7, 8], где установлено, что в среднем ИК-диапазоне эффективность перехода ПЭВ с одной поверхности на другую составляет около 99%, а в ТГц области ИК-спектра она практически (в пределах точности измерений) достигает 100% при расстоянии между краями поверхностей до 10 . Такие зазоры между твердотельными изделиями легко достигаются шлифованием сопрягаемых поверхностей.
В качестве примера применения заявляемого устройства рассмотрим возможность определения с его помощью коэффициента поглощения ПЭВ, генерируемых излучением источника 1 с длиной волны =20 мкм на поверхности алюминиевого образца, размещенного в воздухе. Согласно [9] на данной диэлектрическая проницаемость алюминия A1=-17925+i·17845 (где i – мнимая единица). В качестве элемента преобразования 2 излучения источника 1 в ПЭВ выберем непрозрачный экран, край которого ориентирован параллельно поверхности неподвижной части 3 образца и расположен на расстоянии 10 , от нее. Неподвижную часть 3 выберем в виде бруска с прямоугольным сечением 40×10 мм, торцовая часть которого образована в результате нормального поперечного сечения бруска плоскостью, наклоненной относительно плоскости падения излучения на 30°. Подвижную же часть 4 выберем в виде плоскогранного клина толщиной 10 мм с углом при его вершине, также равным 30°. Причем, гипотенузная боковая грань клина 4 пришлифована к скошенному торцу части 3. Пусть в исходном положении устройства ПЭВ пробегают по части 4 расстояние l1=10 мм, при этом показания прибора 6 – I1. После смещения клиновидной части 4 на 50 м, в направлении, перпендикулярном плоскости падения, расстояние l2, пробегаемое ПЭВ по части 4, станет равным 39 мм, а показания прибора 6 – I2.
Из решения дисперсионного уравнения ПЭВ для двухслойной структуры [1] следует, что в рассматриваемом примере отношение I1/I2 будет равно 1,3. Такое изменение интенсивности ПЭВ может быть надежно зарегистрировано современными фотодетекторами и, согласно (1) с учетом равенства l2-l1=39 мм – 10 мм = 29 мм, соответствует значению коэффициента поглощения ПЭВ , равному 8,8·10-2 см-1. Причем, время измерений определяется, главным образом, временем перемещения части 4 на расстояние 50 мм, составляющего не более 1 минуты. Время же измерений, необходимое для определения величины с помощью устройства-прототипа, при прочих равных условиях, составляет десятки минут, что обусловлено необходимостью прецизионного перемещения с дискретным шагом элемента преобразования 2, сопряженного с объективом, фокусирующим излучение на край элемента 2. Кроме того, в заявляемом устройстве, вследствие фиксации элемента 2 относительно неподвижной части 3 образца, исключена погрешность измерений, связанная с вариациями эффективности преобразования излучения в ПЭВ в результате смещения фокуса объектива относительно края элемента 2 при перемещении последнего над поверхностью образца вдоль трека ПЭВ.
Таким образом, по сравнению с прототипом, заявляемое устройство позволяет сократить время и повысить точность измерений.
Источники информации
1. Поверхностные поляритоны. Электромагнитные волны на поверхностях и границах раздела сред. / Под ред. В.М.Аграновича и Д.Л.Миллса. – М.: Наука, 1985. – 525 с.
1684634. – Бюл. 38 от 15.10.1991 г.
2007123801/28 (025929) от 27.06.2007 г. – Решение о выдаче патента от 05 июня 2008 г.
5. – с.798-802 (прототип).
Формула изобретения
Устройство для определения коэффициента поглощения поверхностных электромагнитных волн (ПЭВ) инфракрасного диапазона, содержащее источник лазерного излучения, твердотельный образец с плоской поверхностью, направляющей ПЭВ, элемент преобразования объемного излучения в ПЭВ, фотодетектор, размещенный у края поверхности в плоскости падения излучения и подключенный к измерительному прибору, а также – блок обработки результатов измерений, отличающееся тем, что образец выполнен в виде двух частей, имеющих лежащие в одной плоскости сопряженные поверхности и прилегающих друг к другу боковыми гранями, края которых на пересечении с волноведущей поверхностью совмещены и ориентированы наклонно к треку ПЭВ, элемент преобразования неподвижен относительно фиксированной первой части образца по ходу излучения, вторая часть образца способна перемещаться параллельно волноведущей поверхности, а фотодетектор установлен с возможностью передвижения вдоль линии пересечения плоскости падения излучения и поверхности, направляющей ПЭВ.
РИСУНКИ
|
|