|
|
(21), (22) Заявка: 2008138113/11, 24.09.2008
(24) Дата начала отсчета срока действия патента:
24.09.2008
(46) Опубликовано: 27.01.2010
(56) Список документов, цитированных в отчете о поиске:
RU 2005107155 А, 20.08.2006. SU 1442085 A3, 30.11.1988. JP 59080552 A, 10.05.1984.
Адрес для переписки:
445028, Самарская обл., г. Тольятти, Московский пр-кт, 63, кв.66, В.А. Мухину
|
(72) Автор(ы):
Мухин Валерий Александрович (RU)
(73) Патентообладатель(и):
Мухин Валерий Александрович (RU)
|
(54) РЕДУКТОР ОРБИТАЛЬНЫЙ (ВАРИАНТЫ)
(57) Реферат:
Изобретение относится к машиностроению, в частности к редуктору с соосными ведущим и ведомым валами и несколькими скоростями вращения ведомого вала. Редуктор содержит корпус, в котором установлены быстроходный (7) и тихоходный (8) валы. На эксцентрик (9) быстроходного вала (7) посажен диск (11) с роликами (12, 13). Ролики (12, 13) расположены равномерно по концентрическим окружностям с центром на оси (10) эксцентрика и выступают с двух сторон диска. Ролики (12, 13) зацеплены с роликами (16) диска (18) тихоходного вала (8) и с роликами (14, 15, 17) стенки корпуса. Ролики (15) установлены в держателе (20). Внутри держателя (20) и в крышке корпуса установлен ограничитель (19) осевого перемещения держателя роликов. Буртик (21) держателя размещен между крышкой корпуса и ограничителем (19) и прижат торцевой поверхностью к торцевой поверхности ограничителя. Во втором варианте ограничитель осевого перемещения роликов закреплен на крышке корпуса, а буртик держателя размещен между крышкой и ограничителем и прижат к торцевой поверхности ограничителя толкателями, установленными в крышке корпуса. Число скоростей тихоходного вала в редукторе определяется количеством держателей роликов. Изобретение направлено на повышение надежности и упрощение конструкции. 2 н. и 6 з.п. ф-лы, 7 ил.
Изобретение относится к машиностроению, в частности к редуктору орбитальному, который может иметь от двух до четырех скоростей вращения тихоходного вала (2 4 передаточных отношения).
Наиболее близким к изобретению по технической сущности является редуктор, предложенный в заявке на изобретение 2007114000 с датой поступления в ФИПС 13.04.2007 г. Этот редуктор имеет одно передаточное отношение от быстроходного вала к тихоходному. Для получения различных скоростей вращения тихоходного вала редуктор необходимо соединить либо с вариатором, либо его электродвигатель связать с преобразователем частоты вращения, либо для привода применить многоскоростной электродвигатель.
Задачей настоящего изобретения является создание относительно простого орбитального редуктора с несколькими передаточными отношениями без использования дополнительных устройств.
Поставленная задача решается тем, что редуктор орбитальный, содержащий соосно установленные в корпусе быстроходный и тихоходный валы, диск, закрепленный на тихоходном валу, две группы роликов, связанные между собой посредством звена, установленного на эксцентрике быстроходного вала, относительно оси которого ось эксцентрика параллельно смещена, одна группа роликов установлена в отверстиях диска тихоходного вала, равномерно расположенных по окружности с центром на оси вала, а другая группа роликов установлена на стенке корпуса, при этом звено, связывающее две группы роликов, выполнено в виде диска с отверстиями, в которых установлены ролики, выступающие с двух сторон диска и зацепленные соответственно с роликами диска тихоходного вала и роликами стенки корпуса, согласно изобретению ролики стенки корпуса установлены в держателе, выполненном в виде кольца с внутренним буртиком и имеющем возможность вращения, при этом внутри держателя и в крышке корпуса установлен ограничитель осевого перемещения держателя роликов, а его буртик размещен между крышкой корпуса и ограничителем с возможностью прижатия друг к другу торцевой поверхности буртика и торцевой поверхности ограничителя.
Поставленная задача решается также тем, что согласно изобретению ограничитель осевого перемещения держателя роликов выполнен в виде втулки, сопряженной с быстроходным валом и имеющей возможность перемещения вдоль оси редуктора. Поставленная задача решается также тем, что редуктор согласно изобретению снабжен вторым держателем роликов, охватывающим первый, выполненным в виде кольца с наружным буртиком, имеющим возможность вращения внутри второго ограничителя осевого перемещения держателя роликов, который закреплен на крышке корпуса, а буртик второго держателя размещен между крышкой корпуса и вторым ограничителем с возможностью прижатия торцевой поверхности буртика к торцевой поверхности ограничителя посредством толкателей, установленных в крышке корпуса, при этом ролики, установленные во втором держателе, зацеплены с соответствующими роликами, размещенными в отверстиях диска, установленного на эксцентрике.
Поставленная задача решается также тем, что согласно изобретению редуктор снабжен третьим держателем роликов, сопряженным с возможностью вращения со вторым ограничителем осевого перемещения второго держателя роликов и выполненным в виде кольца с внутренним буртиком, который размещен между крышкой корпуса и вторым ограничителем с возможностью прижатия торцевой поверхности буртика к торцевой поверхности ограничителя посредством толкателей, установленных в крышке корпуса, при этом ролики, установленные в третьем держателе, зацеплены с соответствующими роликами, размещенными в отверстиях диска, установленного на эксцентрике.
Поставленная задача решается также тем, что согласно изобретению редуктор снабжен держателем зубчатого колеса, сопряженным с возможностью вращения со вторым ограничителем осевого перемещения второго держателя роликов и выполненным в виде кольца с внутренним буртиком, который размещен между крышкой корпуса и вторым ограничителем с возможностью прижатия торцевой поверхности буртика к торцевой поверхности ограничителя посредством толкателей, установленных в крышке корпуса, а колесо выполнено с внутренними зубьями в виде ступенчатого кольца, сопряженного со вторым ограничителем с возможностью вращения на нем, сцепление держателя с колесом выполнено посредством штифтов, колеса с диском, установленным на эксцентрике, – посредством роликов.
Поставленная задача решается также тем, что согласно изобретению редуктор снабжен третьим держателем роликов, охватывающим колесо и его держатель, установленным с возможностью вращения и выполненным в виде кольца с наружным буртиком, размещенным между крышкой корпуса и третьим ограничителем осевого перемещения третьего держателя роликов с возможностью прижатия торцевой поверхности буртика к торцевой поверхности третьего ограничителя посредством толкателей, установленных в крышке корпуса, при этом ролики, установленные в третьем держателе, зацеплены с соответствующими роликами, размещенными в отверстиях диска, установленного на эксцентрике.
Поставленная задача решается также тем, что редуктор орбитальный, содержащий соосно установленные в корпусе быстроходный и тихоходный валы, диск, закрепленный на тихоходном валу, две группы роликов, связанные между собой посредством звена, установленного на эксцентрике быстроходного вала, относительно оси которого ось эксцентрика параллельно смещена, одна группа роликов установлена в отверстиях диска тихоходного вала, равномерно расположенных по окружности с центром на оси вала, а другая группа роликов установлена на стенке корпуса, при этом звено, связывающее две группы роликов, выполнено в виде диска с отверстиями, в которых установлены ролики, выступающие с двух сторон диска и зацепленные соответственно с роликами диска тихоходного вала и роликами стенки корпуса, которые размещены в держателе, выполненном в виде кольца с внутренним буртиком, имеющем возможность вращения и сопряженном с ограничителем осевого перемещения держателя роликов, установленным внутри последнего, согласно изобретению ограничитель осевого перемещения держателя роликов закреплен на крышке корпуса, а буртик держателя размещен между крышкой и ограничителем с возможностью прижатия торцевой поверхности буртика к торцевой поверхности ограничителя посредством толкателей, установленных в крышке корпуса.
Поставленная задача решается также тем, что редуктор орбитальный, содержащий второй держатель роликов, сопряженный со вторым ограничителем осевого перемещения второго держателя роликов, согласно изобретению снабжен третьим держателем роликов, сопряженным со вторым ограничителем и выполненным в виде кольца с наружным буртиком и имеющим возможность вращения, при этом буртик размещен между крышкой корпуса и третьим ограничителем осевого перемещения третьего держателя роликов с возможностью прижатия торцевой поверхности буртика к торцевой поверхности ограничителя посредством толкателей, установленных в крышке корпуса, а ролики, установленные в третьем держателе, зацеплены с соответствующими роликами, размещенными в отверстиях диска, установленного на эксцентрике.
Сущность изобретения поясняется чертежами.
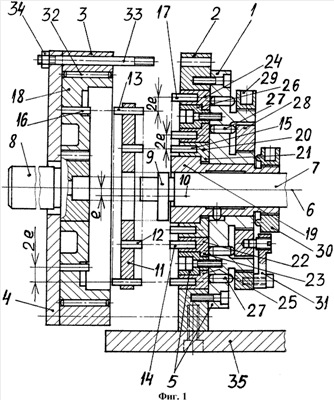
На фиг.1 изображен трехскоростной редуктор орбитальный в разрезе и в раздвинутом виде.
На фиг.2 изображен четырехскоростной редуктор орбитальный в разрезе.
На фиг.3 изображен вариант трехскоростного редуктора.
На фиг.4 изображен двухскоростной редуктор орбитальный.
На фиг.5 изображен четырехскоростной редуктор с ручным управлением скоростями.
На фиг.6 изображена схема зацепления роликов трехскоростного редуктора.
На фиг.7 изображен вариант контакта толкателей и держателей.
Редуктор орбитальный содержит корпусные детали: крышку корпуса 1, кольцо корпуса 2, кольцо подшипника 3 и крышку 4. Крышка корпуса 1 и деталь 26 образуют стенку корпуса 5. Корпус, собранный из указанных деталей, имеет общую ось 6, соосно которой установлен быстроходный вал 7 и тихоходный вал 8. На быстроходном валу 7 закреплен эксцентрик 9, ось 10 которого параллельно смещена относительно оси 6 на величину е. Диск 11 надет на эксцентрик 9 по ходовой посадке. На нем выполнены два ряда отверстий, расположенных по концентрическим окружностям с центром на оси 10. В отверстиях диска 11 установлены ролики 12 и 13, которые зацеплены соответственно с роликами 14, 15, 16 и 17. Ролики 16 установлены в отверстиях диска 18 и равномерно расположены по окружности с центром на оси 6. Диск 18 скреплен с тихоходным валом 8. Ролики 14, 15 и 17 равномерно расположены по концентрическим окружностям с центром на оси 6. В центральном отверстии крышки корпуса 1 установлена по скользящей посадке втулка 19, которая сопряжена по ходовой посадке с быстроходным валом 7. Ролики 15 установлены в держателе роликов 20, выполненном в виде кольца с внутренним буртиком 21. Ролики 14 установлены в держателе 22, выполненном в виде кольца с наружным буртиком 23. Ролики 17 установлены в держателе роликов 24, выполненном в виде кольца с внутренним буртиком 25. Держатели роликов 22 и 24 сопряжены по ходовым посадкам с ограничителем 26 осевого перемещения указанных держателей роликов. В крышке корпуса 1 установлены толкатели (штифты) 27, на ней же выполнены две резьбы (правая и левая), на которые навинчены гайки 28 и 29. На конце втулки 19 нарезана резьба, на которую навинчена гайка 30. Рычаг 31 связывает гайки 28 и 29. Между диском 18 и кольцом подшипника 3 установлены игольчатые ролики 32. В собранном виде редуктор стянут шпильками 33 и гайками 34 и закреплен на основании 35.
Четырехскоростной орбитальный редуктор (фиг.2) содержит корпусные детали: крышку корпуса 36, кольцо корпуса 37, кольцо подшипника 38 и крышку 39. Крышка корпуса 36 и ограничитель 40 образуют стенку корпуса. Корпус, собранный из указанных деталей, имеет общую ось 6, соосно которой установлен быстроходный вал 41 и тихоходный вал 42. На быстроходном валу закреплен эксцентрик 43, ось 44 которого параллельно смещена относительно оси 6 на величину е. Диск 45 надет по ходовой посадке на эксцентрик 43. Ролики 46, 47 и 48 установлены в отверстиях диска 45, расположенных по концентрическим окружностям с центром на оси 44. Ролики 49 установлены в отверстиях диска 50, равнорасположенных по окружности с центром на оси 6. Тихоходный вал 42 скреплен с диском 50. Ролики 51, 52 и 53 равномерно расположены по концентрическим окружностям с центром на оси 6. Каждая группа этих роликов установлена в соответствующих держателях 54, 55 и 56, которые имеют возможность вращения вокруг оси 6. В центральном отверстии крышки корпуса 36 установлена по скользящей посадке втулка 57, которая сопряжена по ходовой посадке с быстроходным валом 41. На ограничителе 40 установлен по ходовой посадке держатель 58 зубчатого колеса 59. Штифты 60 установлены в отверстиях держателя и колеса и связывают их. Держатель 40 жестко крепится к крышке корпуса 36 винтами 61 и штифтами 62. В крышке корпуса 36 в отверстиях, расположенных на концентрических окружностях, установлены гидравлические толкатели 63, закрытые крышкой 64, закрепленной винтами 65 и 61. Штуцер 66 ввинчен в крышку 36. Внутреннее отверстие штуцера сообщается с кольцевой полостью 67. Таких полостей в крышке 36 – четыре, по количеству рядов толкателей 63. В каждую полость 67 выходит ряд полусферических головок толкателей. К каждому штуцеру 66 (их четыре, по одному на каждую полость) крепят гидравлический шланг, предназначенный для подачи масла под давлением (не показан). Шайба 68 закреплена на ограничителе 57 винтами 69. Между кольцом подшипника 38 и диском 50 установлены игольчатые ролики 70. Ограничитель 71 закреплен на кольце корпуса 37.
Трехскоростной редуктор (фиг.3) состоит из корпусных деталей: крышки корпуса 72, кольца корпуса 73, кольца подшипника 74 и крышки 75. В корпусе соосно оси 6 установлены быстроходный вал 76 и тихоходный вал 77. Последний скреплен с диском 78. На быстроходном валу закреплен эксцентрик 79, сопряженный с диском 80, в отверстиях которого установлены ролики 81 и 82. На крышке корпуса 72 закреплены ограничители 83 и 84 осевого перемещения держателей роликов 85, 86. Держатель роликов 87 сопряжен по ходовой посадке с ограничителем 88, закрепленным на кольце 73. Крышка корпуса 72, собранная с деталями 73, 83, 84 и 88, образует стенку корпуса, на которой в держателях 85, 86 и 87 установлены ролики 89, 90 и 91, размещенные по концентрическим окружностям, равномерно в каждой окружности с центром на оси 6.
Ролики 82 зацеплены с роликами 91 и роликами 92. Ролики 81 зацеплены с роликами 89 и 90.
В крышке корпуса 72 выполнены три резьбы, на которые навинчены гайки 93, 94 и 95. Одна из двух последних гаек имеет левую резьбу. Толкатели 96 размещены между держателем роликов 87 и гайкой 93. Толкатели 97 и 98 размещены в отверстиях крышки корпуса 72 между держателями 86, 85 и гайками 94 и 95, которые можно поворачивать за рукоятку 99 по часовой стрелке или против. За рукоятку 100 поворачивают гайку 93. Быстроходный вал 76 установлен в подшипнике 101, который сопряжен без зазора с крышкой 72.Простейший двухскоростной редуктор показан на фиг.4. Крышка корпуса 102, собранная с ограничителями 103 и 104, образует стенку корпуса, в которой установлены с возможностью вращения держатели роликов 105 и 106. Торцевые поверхности 107 буртиков держателей – конические – сопряжены с соответствующими поверхностями ограничителей 103 и 104. В отверстиях крышки корпуса 102 установлены толкатели 108 и 109. На ней же выполнены две резьбы (правая и левая), на которые навинчены гайки 110 и 111, связанные между собой рукояткой 112.
Работа двухскоростного редуктора (фиг.4)
Связанные между собой гайки 110 и 111 поворачивают за рукоятку 112 в одном из направлений. Гайка 110 давит на группу толкателей 109, которые нажимают на держатель роликов 106 затормаживая его. Держатель роликов 105 не заторможен, может свободно вращаться. При повороте вала 76 вал 77 поворачивается с первой скоростью. Если рукоятку 112 повернуть в обратном направлении, то зазор а исчезнет, держатель 105 затормозится, а держатель 106 растормозится. Вал 77 будет поворачиваться с другой скоростью в обратном направлении. Если растормозить оба держателя роликов, то на вал 77 не будет передаваться крутящийся момент. А если затормозить оба держателя роликов, то вал 76 не будет вращаться (он заторможен). Попарно связанные между собой гайки 113, 114 и 115, 116 управляются рукоятками 117 и 118 (фиг.5). Толкатели 119, 120, 121 и 122 предназначены для торможения держателей 123, 58, 124 и 125.
Технический результат заключается в следующем.
1. Для изготовления редукторов не требуются зубонарезные станки и к ним сложный инструмент.
2. Четырехскоростной мотор-редуктор с серийным электродвигателем в ряде случаев может заменить либо электродвигатель с вариатором, либо электродвигатель с преобразователем частоты, либо серийный четырехскоростной электродвигатель.
3. В некоторых транспортных средствах четырехскоростной редуктор можно применить в качестве коробки передач и сцепления. Эффект увеличится, если для управления скоростями использовать гидросистему транспорта (например, дизельного погрузчика или дорожной машины).
Формула изобретения
1. Редуктор орбитальный, содержащий соосно установленные в корпусе быстроходный и тихоходный валы, диск, закрепленный на тихоходном валу, две группы роликов, связанные между собой посредством звена, установленного на эксцентрике быстроходного вала, относительно оси которого ось эксцентрика параллельно смещена, одна группа роликов установлена в отверстиях диска тихоходного вала, равномерно расположенных по окружности с центром на оси вала, а другая группа роликов установлена на стенке корпуса, при этом звено, связывающее две группы роликов, выполнено в виде диска с отверстиями, в которых установлены ролики, выступающие с двух сторон диска и зацепленные соответственно с роликами диска тихоходного вала и роликами стенки корпуса, отличающийся тем, что ролики стенки корпуса установлены в держателе, выполненном в виде кольца с внутренним буртиком и имеющем возможность вращения, при этом внутри держателя и в крышке корпуса установлен ограничитель осевого перемещения держателя роликов, а буртик держателя размещен между крышкой корпуса и ограничителем с возможностью прижатия друг к другу торцевой поверхности буртика и торцевой поверхности ограничителя.
2. Редуктор по п.1, отличающийся тем, что ограничитель осевого перемещения держателя роликов выполнен в виде втулки, сопряженной с быстроходным валом и имеющей возможность перемещения вдоль оси редуктора.
3. Редуктор по п.1, отличающийся тем, что он снабжен вторым держателем роликов, охватывающим первый, выполненным в виде кольца с наружным буртиком, имеющим возможность вращения внутри второго ограничителя осевого перемещения держателя роликов, который закреплен на крышке корпуса, а буртик второго держателя размещен между крышкой корпуса и вторым ограничителем с возможностью прижатия торцевой поверхности буртика к торцевой поверхности ограничителя посредством толкателей, установленных в крышке корпуса, при этом ролики, установленные во втором держателе, зацеплены с соответствующими роликами, размещенными в отверстиях диска, установленного на эксцентрике.
4. Редуктор по п.3, отличающийся тем, что он снабжен третьим держателем роликов, сопряженным с возможностью вращения со вторым ограничителем осевого перемещения второго держателя роликов и выполненным в виде кольца с внутренним буртиком, который размещен между крышкой корпуса и вторым ограничителем с возможностью прижатия торцевой поверхности буртика к торцевой поверхности ограничителя посредством толкателей, установленных в крышке корпуса, при этом ролики, установленные в третьем держателе, зацеплены с соответствующими роликами, размещенными в отверстиях диска, установленного на эксцентрике.
5. Редуктор по п.3, отличающийся тем, что он снабжен держателем зубчатого колеса, сопряженным с возможностью вращения со вторым ограничителем осевого перемещения второго держателя роликов и выполненным в виде кольца с внутренним буртиком, который размещен между крышкой корпуса и вторым ограничителем с возможностью прижатия торцевой поверхности буртика к торцевой поверхности ограничителя посредством толкателей, установленных в крышке корпуса, а колесо выполнено с внутренними зубьями в виде ступенчатого кольца, сопряженного со вторым ограничителем с возможностью вращения на нем, сцепление держателя с колесом выполнено посредством штифтов, а колеса с диском, установленным на эксцентрике – посредством роликов.
6. Редуктор по п.5, отличающийся тем, что он снабжен третьим держателем роликов, охватывающим колесо и его держатель, установленным с возможностью вращения и выполненным в виде кольца с наружным буртиком, размещенным между крышкой корпуса и третьим ограничителем осевого перемещения третьего держателя роликов с возможностью прижатия торцевой поверхности буртика к торцевой поверхности третьего ограничителя посредством толкателей, установленных в крышке корпуса, при этом ролики, установленные в третьем держателе, зацеплены с соответствующими роликами, размещенными в отверстиях диска, установленного на эксцентрике.
7. Редуктор орбитальный, содержащий соосно установленные в корпусе быстроходный и тихоходный валы, диск, закрепленный на тихоходном валу, две группы роликов, связанные между собой посредством звена, установленного на эксцентрике быстроходного вала, относительно оси которого ось эксцентрика параллельно смещена, одна группа роликов установлена в отверстиях диска тихоходного вала, равномерно расположенных по окружности с центром на оси вала, а другая группа роликов установлена на стенке корпуса, при этом звено, связывающее две группы роликов, выполнено в виде диска с отверстиями, в которых установлены ролики, выступающие с двух сторон диска и зацепленные соответственно с роликами диска тихоходного вала и роликами стенки корпуса, которые размещены в держателе, выполненном в виде кольца с внутренним буртиком, имеющем возможность вращения и сопряженным с ограничителем осевого перемещения держателя роликов, установленным внутри последнего, отличающийся тем, что ограничитель осевого перемещения держателя роликов закреплен на крышке корпуса, а буртик держателя размещен между крышкой и ограничителем с возможностью прижатия торцевой поверхности буртика к торцевой поверхности ограничителя посредством толкателей, установленных в крышке корпуса.
8. Редуктор по п.7, содержащий второй держатель роликов, сопряженный со вторым ограничителем осевого перемещения второго держателя, отличающийся тем, что он снабжен третьим держателем роликов, сопряженным со вторым ограничителем и выполненным в виде кольца с наружным буртиком и имеющим возможность вращения, при этом буртик размещен между крышкой корпуса и третьим ограничителем осевого перемещения третьего держателя роликов с возможностью прижатия торцевой поверхности буртика к торцевой поверхности ограничителя посредством толкателей, установленных в крышке корпуса, а ролики, установленные в третьем держателе, зацеплены с соответствующими роликами, размещенными в отверстиях диска, установленного на эксцентрике.
РИСУНКИ
|
|