|
|
(21), (22) Заявка: 2008124901/06, 20.06.2008
(24) Дата начала отсчета срока действия патента:
20.06.2008
(46) Опубликовано: 27.01.2010
(56) Список документов, цитированных в отчете о поиске:
RU 2293218 С2, 10.02.2007. RU 2192560 С2, 10.11.2002. RU 2213887 С1, 10.10.2003. US 5628616 А, 13.05.1997. GB 1145895 А, 19.03.1969.
Адрес для переписки:
127018, Москва, ул. Складочная, д.6, ЦРНО, пат.пов. В.Д.Саковичу
|
(72) Автор(ы):
Говберг Артем Савельевич (RU), Герасимов Владимир Витальевич (RU)
(73) Патентообладатель(и):
ЦЕНТР РАЗРАБОТКИ НЕФТЕДОБЫВАЮЩЕГО ОБОРУДОВАНИЯ (ЦРНО) (SC)
|
(54) СТУПЕНЬ ПОГРУЖНОГО ЦЕНТРОБЕЖНОГО МНОГОСТУПЕНЧАТОГО НАСОСА ДЛЯ ДОБЫЧИ НЕФТИ
(57) Реферат:
Изобретение относится к насосостроению, а именно к погружным скважинным электроцентробежным насосам, предназначенным для перекачивания пластовой жидкости с повышенным содержанием свободного газа. Ступень включает в себя рабочее колесо, направляющий аппарат и, по меньшей мере, один диспергирующий орган, приводимый во вращение валом насоса и расположенный в проточной части ступени между верхним диском рабочего колеса и нижним диском направляющего аппарата. При этом диспергирующий орган содержит, по меньшей мере, два ряда радиальных лопастей, а средние линии лопастей каждого ряда расположены между средними линиями лопастей других рядов в осевой проекции. Достигаемый технический результат заключается в повышении предельного содержания свободного газа на входе насоса без существенного снижения КПД, подачи и осевого габарита ступени и насоса в целом. 3 з.п. ф-лы, 3 ил.
Изобретение относится к насосостроению, а именно к погружным скважинным электроцентробежным насосам (ЭЦН), предназначенным для перекачивания пластовой жидкости с повышенным содержанием свободного газа.
Известен погружной центробежный многоступенчатый насос для добычи нефти (см. патент RU 2192560 С2, 10.11.2002), содержащий корпус, внутри которого размещены, по меньшей мере, две ступени напорного типа, включающие в себя рабочее колесо и направляющий аппарат. На валу насоса установлены диспергирующие рабочие колеса, образующие совместно с соответствующими направляющими аппаратами ступени перемешивающего типа, расположенные между ступенями напорного типа (см., в частности, Фиг.3-5, пункт 8 формулы изобретения).
Основным недостатком аналога является снижение напора и КПД насосной секции или увеличение ее осевого габарита, связанное с наличием дополнительных ступеней перемешивающего типа, а также снижение эффективности диспергации газовой фазы на входе в рабочее колесо вследствие обратного укрупнения газовых пузырей при прохождении газожидкостной смеси через каналы направляющего аппарата напорной ступени.
Наиболее близким аналогом заявленного изобретения (прототипом) является ступень погружного центробежного многоступенчатого насоса для добычи нефти, описанная в патенте RU 2293218 С2, 10.02.2007, включающая в себя рабочее колесо и направляющий аппарат, при этом рабочее колесо содержит ступицу, предназначенную для закрепления рабочего колеса на валу насоса, и жестко связанный со ступицей ведущий диск, на нижней стороне которого расположены рабочие лопасти, соединенные с ведомым диском рабочего колеса, а направляющий аппарат представляет собой составной стакан с верхним диском, выполненным с возможностью установки ведомого диска рабочего колеса, на нижней стороне верхнего диска направляющего аппарата расположены лопатки, соединенные с нижним диском, который выполнен с отверстием для размещения вала насоса. На валу насоса между ступицей рабочего колеса и нижним диском направляющего аппарата установлено дополнительное рабочее колесо в виде шнека. В описанном техническом решении по утверждению авторов обеспечивается помимо прочего перемешивание жидкости с газовыми включениями и диспергация газовых пузырей в перекачиваемой жидкости, что должно повышать стабильность работы насоса в многокомпонентных газожидкостных средах.
Основным недостатком прототипа является малая эффективность диспергации газовых пузырей, вследствие чего реального повышения допустимого газосодержания на входе насоса описанной выше конструкции по сравнению с насосом обычной конструкции не выявлено.
Таким образом, задача, на решение которой направлено настоящее изобретение, состоит в создании погружного центробежного многоступенчатого насоса для добычи нефти, предназначенного для работы в скважинах с содержанием свободного газа в пластовой жидкости до 60% на входе насоса.
Технический результат, достигаемый при реализации изобретения, заключается в повышении предельного содержания свободного газа на входе насоса без существенного снижения КПД, подачи и осевого габарита ступени и насоса в целом.
Ступень погружного центробежного многоступенчатого насоса для добычи нефти, обеспечивающая достижение указанного выше технического результата, включает в себя рабочее колесо и направляющий аппарат. Рабочее колесо содержит ступицу, предназначенную для закрепления рабочего колеса на валу насоса, и жестко связанный со ступицей ведущий диск, на нижней стороне которого расположены рабочие лопасти, соединенные с ведомым диском рабочего колеса. Направляющий аппарат представляет собой стакан с верхним диском, выполненным с возможностью установки ведомого диска рабочего колеса, на нижней стороне верхнего диска направляющего аппарата расположены лопатки, соединенные с нижним диском, который выполнен с отверстием для размещения вала насоса. Ступень включает в себя, по меньшей мере, один диспергирующий орган, приводимый во вращение валом насоса и расположенный в проточной части ступени между верхним диском рабочего колеса и нижним диском направляющего аппарата. При этом в отличие от прототипа диспергирующий орган содержит, по меньшей мере, два ряда радиальных лопастей, а средние линии лопастей каждого ряда расположены между средними линиями лопастей других рядов в осевой проекции.
Кроме того, в частном случае реализации изобретения, диспергирующий орган представляет собой закрепляемое на валу центробежное колесо, на ступице которого расположены ряды радиальных лопастей.
Кроме того, в частном случае реализации изобретения, диспергирующий орган включает в себя, по меньшей мере, два закрепляемых на валу центробежных колеса, на ступице каждого из которых выполнен один ряд радиальных лопастей.
Кроме того, в частном случае реализации изобретения, радиальные лопасти, образующие диспергирующий орган, выполнены в нижней части ступицы рабочего колеса.
Наличие диспергирующего органа с радиальными лопастями между верхним диском рабочего колеса и нижним диском направляющего аппарата позволяет осуществлять эффективную диспергацию свободного газа в смеси непосредственно перед входом в рабочее колесо, где обычно происходит срыв подачи. Диспергирующие лопасти осуществляют превращение газожидкостной смеси в мелкодисперсную структуру, что существенно снижает вероятность срыва подач, при этом диспергированная газожидкостная смесь подается на вход рабочего колеса, минуя переходные узлы (направляющий аппарат и пр.), где возможно обратное укрупнение газовых пузырей.
При этом диспергирующие лопасти оказываются размещены в наиболее узком сечении проточной части ступени, однако размещение лопастей в несколько рядов, расположенных с поворотом относительно друг друга и с относительно небольшим количеством лопастей в каждом ряду (количество лопаток в каждом ряду равно числу лопастей, которое необходимо для обеспечения требуемой степени диспергации смеси, разделенному на число рядов лопастей, оптимально – две или три) позволяет уменьшить общее гидравлическое сопротивление и снизить до минимума потери в КПД и подаче насоса при сохранении эффективности диспергации, соответствующей одному ряду лопастей с большим числом лопастей. Кроме того, наличие нескольких рядов последовательно расположенных диспергирующих лопастей обеспечивает дополнительное повышение эффективности диспергации за счет увеличения суммарного объема зон дробления пузырей газа на единице длины диспергирующей части ступени.
Возможность осуществления изобретения, охарактеризованного приведенной выше совокупностью признаков, подтверждается описанием конструкции и действия погружного центробежного многоступенчатого насоса для добычи нефти со ступенями, выполненными в соответствии с настоящим изобретением, сопровождаемым графическими материалами, на которых изображено следующее.
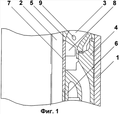
На Фиг.1 – часть ступени насоса.
На Фиг.2 – диспергирующее колесо на виде сбоку.
На Фиг.3 – диспергирующее колесо на виде сверху.
Погружной центробежный многоступенчатый насос для добычи нефти, содержащий корпус 1, внутри которого размещен вал 2 и ступени напорного типа, каждая из которых состоит из рабочего колеса 3 и направляющего аппарата 4. Рабочее колесо включает в себя ступицу 5, предназначенную для закрепления рабочего колеса на валу 2, и жестко связанный со ступицей ведущий диск, на нижней стороне которого расположены рабочие лопасти, соединенные с ведомым диском рабочего колеса. В кольцевой проточке ведомого диска установлена опорная шайба. Рабочие колеса могут быть выполнены с отверстиями 9 в ведущем диске и лопатках, что обеспечивает повышенную защиту насоса от срыва подачи. Направляющий аппарат представляет собой стакан с верхним диском, на котором выполнен опорный буртик для установки ведомого диска рабочего колеса, на нижней стороне верхнего диска направляющего аппарата расположены лопатки, соединенные с нижним диском 6, который выполнен с отверстием для вала 1 насоса.
Между ступицей 5 и нижним диском 6 направляющего аппарата установлено дополнительное диспергирующее центробежное колесо осевого типа 7 (или два отдельных колеса), на ступице которого выполнены два ряда радиальных лопастей 8. Каждый ряд состоит из трех лопастей, расположенных под углом 120° относительно друг друга, при этом средние линии лопастей одного ряда расположены посередине между средними линиями лопастей другого ряда в осевой проекции. Таким образом общее число диспергирующих лопаток будет равно шести, а эффективность диспергации смеси, обеспечиваемая таким колесом, соответствует или превышает эффективность диспергации обычного шестилопастного колеса, и при этом создается существенно меньшее сопротивление движению потока в узком сечении проточной части насоса, где расположено диспергирующее колесо.
Формула изобретения
1. Ступень погружного центробежного многоступенчатого насоса для добычи нефти, включающая в себя рабочее колесо и направляющий аппарат, при этом рабочее колесо содержит ступицу, предназначенную для закрепления рабочего колеса на валу насоса, и жестко связанный со ступицей ведущий диск, на нижней стороне которого расположены рабочие лопасти, соединенные с ведомым диском рабочего колеса, направляющий аппарат представляет собой стакан с верхним диском, выполненным с возможностью установки ведомого диска рабочего колеса, на нижней стороне верхнего диска направляющего аппарата расположены лопатки, соединенные с нижним диском, который выполнен с отверстием для размещения вала насоса, при этом ступень включает в себя, по меньшей мере, один диспергирующий орган, приводимый во вращение валом насоса и расположенный в проточной части ступени между верхним диском рабочего колеса и нижним диском направляющего аппарата, отличающаяся тем, что диспергирующий орган содержит, по меньшей мере, два ряда радиальных лопастей, при этом средние линии лопастей каждого ряда расположены между средними линиями лопастей других рядов в осевой проекции.
2. Ступень по п.1, отличающаяся тем, что диспергирующий орган представляет собой закрепляемое на валу центробежное колесо, на ступице которого расположены ряды радиальных лопастей.
3. Ступень по п.1, отличающаяся тем, что диспергирующий орган включает в себя, по меньшей мере, два закрепляемых на валу центробежных колеса, на ступице каждого из которых выполнен один ряд радиальных лопастей.
4. Ступень по п.1, отличающаяся тем, что радиальные лопасти, образующие диспергирующий орган, выполнены в нижней части ступицы рабочего колеса.
РИСУНКИ
|
|