Патент на изобретение №2380526

Published by on




РОССИЙСКАЯ ФЕДЕРАЦИЯ



ФЕДЕРАЛЬНАЯ СЛУЖБА
ПО ИНТЕЛЛЕКТУАЛЬНОЙ СОБСТВЕННОСТИ,
ПАТЕНТАМ И ТОВАРНЫМ ЗНАКАМ
(19) RU (11) 2380526 (13) C1
(51) МПК

E21B43/14 (2006.01)

(12) ОПИСАНИЕ ИЗОБРЕТЕНИЯ К ПАТЕНТУ

Статус: по данным на 17.09.2010 – действует

(21), (22) Заявка: 2008134594/03, 22.08.2008

(24) Дата начала отсчета срока действия патента:

22.08.2008

(46) Опубликовано: 27.01.2010

(56) Список документов, цитированных в отчете о
поиске:
RU 2253009 C1, 27.05.2005. RU 66777 U1, 27.09.2007. RU 2305170 C2, 27.08.2007. RU 2289012 C2, 10.12.2006. RU 2203385 C2, 27.04.2003. US 3059699 A, 23.10.1962.

Адрес для переписки:

628616, Тюменская обл., г. Нижневартовск, ОПС 16, а/я 1089, М.З.о Шарифову

(72) Автор(ы):

Шарифов Махир Зафар оглы (RU),
Леонов Василий Александрович (RU),
Маркин Александр Иванович (RU),
Сливка Петр Игоревич (RU),
Ибадов Гахир Гусейн оглы (AZ),
Гусейнов Руслан Чингиз оглы (AZ),
Шыхыев Руслан Муршуд оглы (RU)

(73) Патентообладатель(и):

Шарифов Махир Зафар оглы (RU)

(54) СПОСОБ ОДНОВРЕМЕННО-РАЗДЕЛЬНОЙ ЭКСПЛУАТАЦИИ СКВАЖИНЫ МНОГОПЛАСТОВЫХ МЕСТОРОЖДЕНИЙ

(57) Реферат:

Группа изобретений относится к технологии и технике добычи углеводородов и может быть использовано при исследовании и одновременно – раздельной, в том числе и поочередной эксплуатации нескольких пластов одной нагнетательной, пьезометрической или добывающей скважиной. Обеспечивает повышение эффективности способа при монтаже многопакерной компоновки и эксплуатации с помощью его нескольких пластов одной нагнетательной, пьезометрической или добывающей скважиной. Сущность изобретения: способ включает спуск в скважину с несколькими пластами на колонне труб без или с заглушенным нижним концом, по меньшей мере, пакеров механического, импульсного, опорного, гидравлического, гидромеханического или электрического действия с разъединителем колонны труб или без него. При этом пакер состоит, по крайней мере, из корпуса, ствола и набора манжет. А разъединитель колонны труб состоит, по меньшей мере, из корпуса и ствола, разобщенных между собой уплотнительными элементами, и срезных винтов. По одному из вариантов между двумя призабойными зонами пластов размещают два пакера в любой из комбинаций и между ними спускают перепускной элемент в виде скважинной камеры или патрубка, или клапана, с циркуляционными каналами. После одновременной или раздельной посадки этих пакеров в скважине проверяют их герметичность, подавая жидкость между пакерами через перепускной элемент путем создания избыточного давления в колонне труб. При остановке подачи жидкости, если происходит падение значения последнего, принимают посадку пакеров между пластами негерметичными и при этом поднимают их из скважины. При непадении избыточного давления принимают посадку пакеров герметичными и запускают скважину в эксплуатацию. По второму варианту устанавливают пакер с двумя наборами манжет, между которыми на стволе выполняют циркуляционные каналы и на нем размещают опорную втулку с перепускными каналами. Жидкость для проверки герметичности подают между двумя наборами манжет. По третьему варианту разъединитель колонны труб устанавливают, по меньшей мере, над пакером, расположенным между двумя призабойными зонами пластов. При этом его ствол выполняют, по меньшей мере, с одной или двумя канавками под срезные винты и соответственно на корпусе обеспечивают два ряда отверстий со срезными винтами. При отсоединении корпуса от ствола срезают два ряда срезных винтов последовательно при повышении избыточной нагрузки на колонну труб при срыве пакера или пакеров. 3 н. и 14 з.п. ф-лы, 7 ил.

Изобретение относится к технологии и технике добычи углеводородов и может быть использовано при исследовании и одновременно – раздельной, в том числе и поочередной эксплуатации нескольких пластов одной нагнетательной, пьезометрической или добывающей скважиной.

Известен способ одновременно – раздельной разработки нескольких эксплуатационных объектов (патент 2211311), включающий их разведку, бурение, исследование, выделение, перфорацию, спуск на колонне труб скважинной установки, состоящей из нескольких секций, разделенных пакером, освоение и эксплуатацию, при этом для каждого из выделенного эксплуатационного объекта изменяют и/или определяют его геолого-промысловые характеристики, подбирают технические параметры соответствующей ему секции, исследуют и регулируют режимы работы скважины и эксплуатационного объекта путем изменения его геолого-промысловых характеристик и/или технических параметров соответствующих ему или другим эксплуатационным объектам секций, и/или технико-технологических параметров всей скважинной установки; повторяют этот процесс до достижения оптимального режима, обеспечивающего максимальную добычу углеводородов или соответствующего максимальной углеводородоотдаче.

Известен способ одновременно-раздельной и поочередной эксплуатации нескольких пластов одной нагнетательной скважиной (патент 2253009), включающий спуск в скважину, по крайней мере, одной колонны труб с постоянным или переменным диаметром без или с заглушенным концом, по меньшей мере, с одним спущенным ниже верхнего пласта пакером гидравлического и/или механического действия без или с разъединителем колонны, ниже и выше которого спущены, по крайней мере, по одному посадочному узлу в виде скважинной камеры или ниппелю со съемным клапаном для подачи через них рабочего агента соответственно в нижний и верхний пласты, посадку пакера и опрессовку его снизу и/или сверху, определение при опрессовке минимального давления поглощения каждого пласта, закачку рабочего агента с устья в полость колонны труб при заданном давлении, направляя его в верхний и/или нижний пласты через соответствующие съемные клапаны в посадочных узлах, измеряют на поверхности общий расход рабочего агента, устьевое давление и/или температуру в полости колонны труб и затрубном пространстве скважины, определяют забойное давление верхнего пласта, давление в колонне труб и затрубном пространстве на глубине съемного клапана в посадочном узле выше пакера, находят расход рабочего агента, закачиваемого в верхний пласт через съемный клапан, вычитают его из общего и определяют расход рабочего агента, закачиваемого в нижний пласт, сопоставляют фактические расходы рабочего агента для пластов с проектными их значениями, причем при их отличии изменяют устьевое давление и/или извлекают для одного или обоих пластов съемные клапаны из посадочных узлов с помощью канатной техники, определяют и изменяют их характеристики и/или параметры, после чего повторно устанавливают каждый съемный клапан в соответствующий посадочный узел с помощью канатной техники и продолжают закачку рабочего агента через них в соответствующие пласты.

Известен также способ раздельной эксплуатации объектов нагнетательной или добывающей скважины (патент 2328590), включающий спуск последовательно в нагнетательную или фонтанную, или насосную, или газлифтную скважину двух колонн труб большего и меньшего диаметра, размещенных одна в другой концентрично, причем колонна труб большего диаметра оснащена, по меньшей мере, одним пакером и одним перепускным узлом или элементом для потока среды – рабочего агента или добываемого флюида, и эксплуатацию, по меньшей мере, двух объектов одной скважины, при этом разобщают герметично проходные полости колонны труб меньшего и большего диаметра между собой на глубине или ниже, или выше верхнего объекта для раздельного движения по ним сред и гидравлически связывают одну из полостей с призабойной зоной верхнего объекта через перепускной узел или элемент, а другую – с призабойной зоной нижнего объекта, при этом перепускной узел или элемент либо выполняют с осевым посадочным каналом, либо снизу снабжают посадочным узлом, а колонну труб меньшего диаметра оснащают разобщающим элементом, который спускают и устанавливают или в осевой посадочный канал перепускного узла, или же в посадочный узел ниже перепускного элемента.

Эти способы не позволяют при низких пластовых давлениях определять герметичность посадки пакеров, поскольку пласты интенсивно поглощают воду, закачиваемую агрегатом, и соответственно уровень воды в стволе скважины не поднимается до устья, и соответственно поднять избыточное давление в колонне труб до нужного значения не удается.

Целью изобретения является повышение эффективности способа при монтаже многопакерной компоновки и эксплуатации с помощью его нескольких пластов одной нагнетательной, пьезометрической или добывающей скважиной.

Технологический, технический результат и экономический эффект от использования предлагаемых решений для добывающей, нагнетательной и пьезометрической скважин достигается, в частности, за счет: сокращения затрат на проведение мероприятий; сокращения времени на проведение ремонтных работ на скважине; увеличения срока службы скважины и подземного оборудования; повышения добычи продукции; сокращения капитальных затрат на бурение дополнительных скважин.

Способ включает в себя спуск в скважину с несколькими пластами на колонне труб без или с заглушенным нижним концом, по меньшей мере, пакеров (механического, импульсного, опорного, гидравлического, гидромеханического или электрического действия) с разъединителем колонны труб или без него. При этом пакер состоит, по крайней мере, из корпуса, ствола и набора манжет. А разъединитель колонны труб состоит, по меньшей мере, из корпуса и ствола, разобщенных между собой уплотнительными элементами, и срезных винтов.

Цель изобретения по варианту 1 достигается тем, что, по меньшей мере, между двумя призабойными зонами пластов размещают два пакера в любой из комбинаций и между ними спускают перепускной элемент в виде скважинной камеры или патрубка, или клапана, с циркуляционными каналами, причем после одновременной или раздельной посадки этих пакеров в скважине проверяют их герметичность, подавая жидкость между пакерами через перепускной элемент путем создания избыточного давления в колонне труб, причем при остановке подачи жидкости, если происходит падение значения последнего, то принимают посадку пакеров между пластами негерметичными и при этом поднимают их из скважины, а если, наоборот, при непадении избыточного давления – принимают посадку пакеров герметичными и запускают скважину в эксплуатации.

Для варианта 1 в зависимости от условия эксплуатации скважины также выполняют следующие технические решения:

– над верхним пластом устанавливают один пакер с гидравлическим якорем или без него и проверяют его герметичность только сверху, подавая жидкость в затрубное пространство скважины;

– над верхним пластом устанавливают два пакера без или с гидравлическим якорем;

– над верхним пластом с низким пластовым давлением устанавливают один пакер и проверяют его герметичность только сверху, подавая жидкость в затрубное пространство скважины;

– над верхним пластом устанавливают два пакера для надежности разобщения затрубного пространство от пластов скважины;

– между пакерами над верхним пластом размещают перепускной элемент, при этом проверяют их герметичность как сверху, так и снизу соответственно путем подачи избыточного давления в затрубное пространство и колонну труб;

– между всеми призабойными зонами пластов с низкими пластовыми давлениями устанавливают по два пакера и между ними размещают соответствующие перепускные элементы;

– при наличии герметичности пакеров между призабойными зонами пластов разобщают циркуляционные каналы перепускного элемента путем установки в скважинной камере глухой пробки с помощью канатной техники;

– при наличии герметичности пакеров между призабойными зонами пластов разобщают циркуляционные каналы перепускного элемента путем перемещения втулки в клапане с помощью полого или неполого штока, или канатного инструмента;

– заглушенный нижний конец колонны труб выполняют в виде срезного узла с возможностью срабатывания его как от механического удара, так и от избыточного давления, для открытия прохода колонны труб для нижнего пласта после посадки и проверки герметичности пакеров;

– под нижним пакером выше заглушенного нижнего конца колонны труб устанавливают ниппель для установки в него опрессовочного клапана;

– между пакерами или выше верхнего пакера на колонне труб спускают посадочное устройство и в него устанавливают разобщитель без или с посадочным гнездом под шар или опрессовочный клапан с помощью колонны труб малого диаметра для разделения полости колонн труб между собой и обеспечения разных независимых каналов для движения в них потока среды для пластов;

– выше верхнего пакера установлен большего диаметра ниппель для опрессовочного клапана и/или скважинная камера со съемной глухой пробкой или клапаном;

– в нижний конец колонны труб устанавливают срезной башмачный обратный клапан и его срезают после посадки и опрессовки пакеров путем создания избыточного давления в колонне труб.

Цель изобретения по варианту 2 достигается тем, что, по меньшей мере, между двумя призабойными зонами пластов с низкими пластовыми давлениями устанавливают пакер, без или с гидравлическим якорем, выполненный с двумя наборами манжет, между которыми на стволе выполняют циркуляционные каналы и на нем размещают опорную втулку с перепускными каналами, при этом после посадки пакера между призабойными зонами пластов проверяют его герметичность, подавая жидкость между двумя наборами манжет через циркуляционные и перепускные каналы ствола и опорной втулки. При наличии герметичности пакера между призабойными зонами пластов, в частности, разобщают циркуляционные каналы ствола путем перемещения втулки в стволе с помощью полого или неполого штока, или канатного инструмента.

Цель изобретения по варианту 3 достигается тем, что, разъединитель колонны труб устанавливают, по меньшей мере, над пакером, расположенным между двумя призабойными зонами пластов, причем его ствол выполняют, по меньшей мере, с одной или двумя канавками под срезные винты и соответственно на корпусе обеспечивают два ряда отверстий со срезными винтами, причем при отсоединении корпуса от ствола срезают два ряда срезных винтов последовательно при повышении избыточной нагрузки на колонну труб при срыве пакера или пакеров.

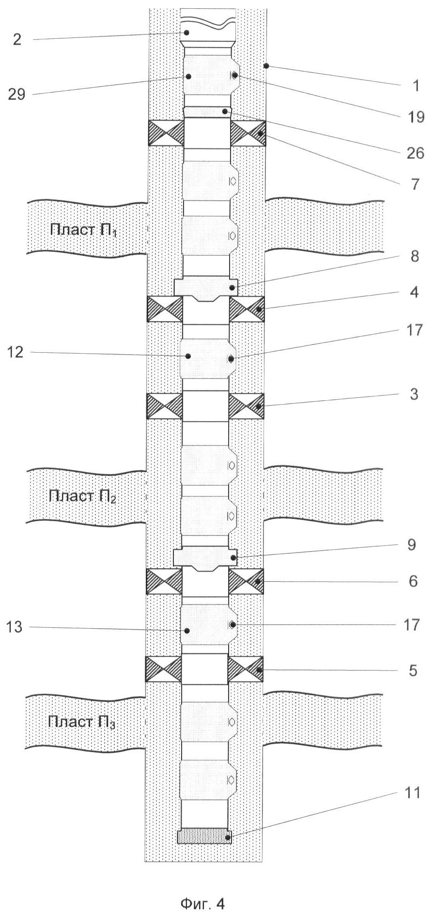
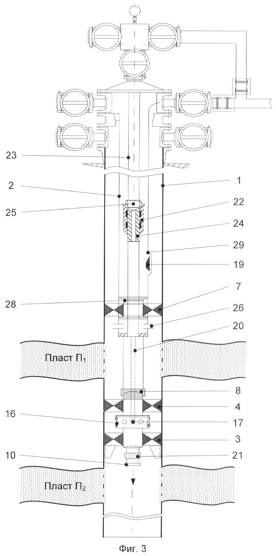
Варианты установки для реализации способа приводятся на фигурах 1-5, в частности на фиг.1, 2 и 3 – установка двухтрубная с перепускным элементом между пакерами в виде соответственно скважинной камеры, патрубка и клапана, с циркуляционными каналами; на фиг.4 – установка однотрубная с перепускным элементом между пакерами в виде скважинной камеры; на фиг.5 – установка однотрубная с циркуляционными каналами между наборами манжет пакеров; на фиг.6 – пакер с циркуляционными каналами между двух наборов манжет; на фиг.7 – разъединитель колонны.

Способ включает в себя спуск в скважину 1 (фиг.1-5) с несколькими пластами (например, двух П1 и П2 или трех П1, П2 и П3) на колонне труб 2 пакеров 3, 4 (фиг.1, 2, 3) или 3, 4, 5 и 6 (фиг.4, 5), а также, в частном случае, пакера 7 (без или с якорем). Выше одного 3 или 4 (фиг.1-3), или нескольких 4 и 6 (фиг.4, 5) пакеров могут быть установлены разъединители колонны труб 8 и/или 9, для возможности отдельного спуска и посадки этих пакеров, а также исключения обрыва колонны труб 2 при повышении избыточной нагрузки при срыве пакеров. Колонны труб 2 спускают в скважину 1 без (например, см. фиг.1)10 или с (фиг.2, 4, 5) 11 заглушенным нижним концом.

Для реализации способа по варианту 1 и опрессовки герметичности посадки пакеров 3, 4 (фиг.1, 2, 3) и/или 5, 6 (фиг.4, 5) располагают их соответственно между П1, П2 и/или П2, П3 призабойными зонами пластов с низкими пластовыми давлениями. При этом между пакерами 3, 4 и/или 5, 6 спускают перепускной элемент либо в виде скважинной камеры 12 (фиг.1) и/или 13 (фиг.4), либо в виде патрубка 14 (фиг.3) и/или 15 (фиг.5), либо же в виде клапана 16 (фиг.3), выполненными с циркуляционными каналами 17.

После одновременной или раздельной посадки пакеров 3 и 4, и/или 5 и 6 в скважине 1 проверяют их герметичность, подавая жидкость между этими пакерами через перепускной элемент путем создания избыточного давления в колонне труб 2, причем при остановке подачи жидкости, если происходит падение значения последнего, то принимают посадку пакеров 3 и 4, и/или 5 и 6 между пластами П1 и П2, и/или П2 и П3 негерметичными, и при этом поднимают их из скважины 1 для ревизии, а если, наоборот, при непадении избыточного давления – принимают посадку этих пакеров герметичными и далее запускают скважину 1 в эксплуатацию.

Также при монтаже установки над верхним пластом П1, в частном случае, устанавливают один 7 (фиг.1-4) или, для надежности, два 7 и 18 пакера (фиг.5), и проверяют его или их на герметичность, сверху и/или снизу, подавая жидкость в затрубное пространство скважины 1 и/или в колонну труб 2. При этом между пакерами 7 и 18 может быть также установлен перепускной элемент для опрессовки их на герметичность.

После проверки герметичности пакеров 4, 5 и/или 6, 7 для их надежности могут быть циркуляционные каналы 17 разобщены от полости колонны труб 2 путем установки, с помощью канатной техники, в соответствующей скважинной камере 12 и/или 13 (фиг.1, 4) глухой пробки (например, типа позиции 19) или же путем перемещения втулки в клапане 16 (фиг.3) с помощью полого или неполого штока 20, или канатного инструмента.

При монтаже установки заглушенный нижний конец 11 (например, см. фиг.2) колонны труб 2, в частном случае, выполняют в виде срезного узла с возможностью срабатывания его как от механического удара (штангой и ясом), так и от избыточного давления, для открытия прохода труб под пакером 3 после посадки и проверки герметичности пакеров 3, 4, 7. Также для возможности повторной опрессовки герметичности компоновки под нижним пакером 3 выше заглушенного 11 нижнего конца колонны труб 2 устанавливают ниппель 21 для установки в него опрессовочного клапана меньшего диаметра. Кроме того, между пакерами 3 и 4 (фиг.1, 2) или выше (фиг.3) верхнего пакера 7 на колонне труб 2 спускают посадочное устройство 22, причем после герметичной посадки этих пакеров спускают на дополнительной колонне труб 23 малого диаметра и устанавливают в посадочное устройство 22 разобщитель 24, без или с посадочным гнездом 25 под шар или клапан, тем самым разделяют полости колонн труб 2 и 23 между собой, и обеспечивают разные независимые каналы для движения в них потока среды для пластов П1 и П2. При этом для потока верхнего пласта П2 между пакерами 4 и 7 устанавливают либо перепускной узел 26 (фиг.3), либо скважинную камеру 27 (фиг.1, 2). Причем в скважинной камере 27 при монтаже колонны труб 2 с пакерами 3, 4 и 5 находится глухая пробка (подобно позиции 19), которая извлекается с помощью канатной техники пред спуском колонны труб 23 в скважину 1.

Выше верхнего пакера 7, в частном случае, устанавливают ниппель 28 большего диаметра для опрессовочного клапана и/или скважинную камеру 29 со съемной глухой пробкой или клапаном 19. Также в нижнем конце колонны труб 2 под нижним пакером 3 может быть установлен срезной башмачный обратный клапан 11 (фиг.2), который срезают после посадки и опрессовки пакеров путем создания избыточного давления в колонне труб 23.

Для варианта 2 между двумя призабойными зонами пластов П1 и П2 устанавливают один пакер 3 (например, см. фиг.1), который состоит, по крайней мере, из корпуса 30 и ствола 31 (фиг.6). При этом на стволе 31 устанавливают два набора 32 и 33 манжет, а между ними выполняют циркуляционные каналы 34 и размещают опорную втулку 35 с перепускными каналами 36, причем после посадки пакера 3 между призабойными зонами пластов П1 и П2 проверяют его герметичность, подавая жидкость между двумя наборами манжет 32 и 33 через циркуляционные 34 и перепускные 36 каналы ствола 31 и опорной втулки 35. При наличии герметичности пакера 3 между призабойными зонами пластов П1 и П2, в частности, разобщают циркуляционные каналы 34 ствола 31 путем перемещения втулки 37 в стволе 31 с помощью полого или неполого штока, или канатного инструмента.

Для варианта 3 разъединитель колонны труб состоит, по крайней мере, из корпуса 38 и ствола 39, разобщенных между собой уплотнительными элементами 40, и срезных винтов 41, 42 (фиг.7). Разъединитель колонны труб 8 (фиг.1-5) устанавливают, по меньшей мере, над пакером 3 или 4, или 6, или 8, расположенным между двумя призабойными зонами пластов П1 и П2 или П2 и П3, причем его ствол 39 выполняют, по меньшей мере, с одной 43 или двумя 43 и 44 канавками под срезные винты 41 и 42, и соответственно на корпусе 38 обеспечивают два ряда отверстий 45 и 46 со срезными винтами 41 и 42, причем при отсоединении корпуса 38 от ствола 39 срезают два ряда 41 и 42 срезных винтов последовательно при повышении избыточной нагрузки на колонну труб 2 при срыве пакера или пакеров 3, 4, 5, 6.

Формула изобретения

1. Способ одновременно-раздельной эксплуатации скважины многопластовых месторождений, включающий спуск в скважину с несколькими пластами на колонне труб, без или с заглушенным нижним концом, по меньшей мере, пакеров механического, импульсного, опорного, гидравлического, гидромеханического или электрического действия, без или с разъединителем колонны труб, отличающийся тем, что, по меньшей мере, между двумя призабойными зонами пластов размещают два пакера и между ними спускают перепускной элемент в виде скважинной камеры, или патрубка, или клапана, с циркуляционными каналами, причем после одновременной или раздельной посадки этих пакеров в скважине проверяют их герметичность, подавая жидкость между пакерами через перепускной элемент путем создания избыточного давления в колонне труб, причем при остановке подачи жидкости, если происходит падение значения последнего, то принимают посадку пакеров между пластами негерметичными и поднимают их из скважины, а если, наоборот, при не падении избыточного давления – принимают посадку пакеров герметичными и запускают скважину в эксплуатации.

2. Способ по п.1, отличающийся тем, что над верхним пластом устанавливают один пакер с гидравлическим якорем или без него и проверяют его герметичность только сверху, подавая жидкость в затрубное пространство скважины.

3. Способ по п.1 или 2, отличающийся тем, что над верхним пластом устанавливают два пакера без или с гидравлическим якорем.

4. Способ по п.1, отличающийся тем, что над верхним пластом с низким пластовым давлением устанавливают один пакер и проверяют его герметичность только сверху, подавая жидкость в затрубное пространство скважины.

5. Способ по п.1 или 2, отличающийся тем, что над верхним пластом устанавливают два пакера.

6. Способ по п.3, отличающийся тем, что между пакерами над верхним пластом размещают перепускной элемент, при этом проверяют их герметичность как сверху, так и снизу, соответственно, путем подачи избыточного давления в затрубное пространство и колонну труб.

7. Способ по п.1 или 2, отличающийся тем, что между всеми призабойными зонами пластов с низкими пластовыми давлениями устанавливают по два пакера и между ними размещают соответствующие перепускные элементы.

8. Способ по п.1, отличающийся тем, что при наличии герметичности пакеров между призабойными зонами пластов разобщают циркуляционные каналы перепускного элемента путем установки в скважинной камере глухой пробки с помощью канатной техники.

9. Способ по п.1 или 6, отличающийся тем, что при наличии герметичности пакеров между призабойными зонами пластов разобщают циркуляционные каналы перепускного элемента путем перемещения втулки в клапане с помощью полого или неполого штока или канатного инструмента.

10. Способ по п.1 или 2, отличающийся тем, что заглушенный нижний конец колонны труб выполняют в виде срезного узла с возможностью срабатывания его как от механического удара, так и от избыточного давления, для открытия прохода колонны труб после посадки и проверки герметичности пакеров.

11. Способ по п.1 или 10, отличающийся тем, что под нижним пакером выше заглушенного нижнего конца колонны труб устанавливают ниппель для установки в него опрессовочного клапана.

12. Способ по п.1 или 2, отличающийся тем, что между пакерами или выше верхнего пакера на колонны труб спускают посадочное устройство и в него устанавливают разобщитель, без или с посадочным гнездом под шар или опрессовочный клапан, с помощью колонны труб малого диаметра для разделения полости колонн труб между собой и обеспечения разных независимых каналов для движения в них потока среды для пластов.

13. Способ по п.1 или 2, отличающийся тем, что выше верхнего пакера установлен большего диаметра ниппель для опрессовочного клапана и/или скважинная камера со съемной глухой пробкой или клапаном.

14. Способ по п.1 или 2, отличающийся тем, что в нижний конец колонны труб устанавливают срезной башмачный обратный клапан и его срезают после посадки и опрессовки пакеров путем создания избыточного давления в колонне труб.

15. Способ одновременно-раздельной эксплуатации скважины многопластовых месторождений, включающий спуск в скважину с несколькими пластами, по крайней мере, на одной колонне труб, без или с заглушенным нижним концом, по меньшей мере, пакеров механического, импульсного, опорного, гидравлического, гидромеханического или электрического действий, без или с разъединителем колонны труб, при этом пакеры состоят, по крайней мере, из корпуса, ствола и набора манжет, отличающийся тем, что, по меньшей мере, между двумя призабойными зонами пластов с низкими пластовыми давлениями устанавливают пакер, без или с гидравлическим якорем, выполненный с двумя наборами манжет, между которыми на стволе выполняют циркуляционные каналы и на нем размещают опорную втулку с перепускными каналами, при этом после посадки пакера между призабойными зонами пластов проверяют его герметичность, подавая жидкость между двумя наборами манжет через циркуляционные и перепускные каналы ствола и опорной втулки.

16. Способ по п.14, отличающийся тем, что при наличии герметичности пакера между призабойными зонами пластов разобщают циркуляционные каналы ствола путем перемещения втулки в стволе с помощью полого или неполого штока или канатного инструмента.

17. Способ одновременно-раздельной эксплуатации скважины многопластовых месторождений, включающий спуск в скважину с несколькими пластами, по крайней мере, на одной колонне труб, без или с нижним заглушенным концом, по меньшей мере, пакеров механического, импульсного, опорного, гидравлического, гидромеханического или электрического действий, по меньшей мере, одного разъединителя колонны труб, состоящего, по крайней мере, из корпуса и ствола, разобщенных между собой уплотнительными элементами, и срезных винтов, отличающийся тем, что разъединитель колонны труб устанавливают, по меньшей мере, над пакером, расположенным между двумя призабойными зонами пластов, причем его ствол выполняют, по меньшей мере, с одной или двумя канавками под срезные винты и, соответственно, на корпусе обеспечивают два ряда отверстий со срезными винтами, причем при отсоединении корпуса от ствола срезают два ряда срезных винтов последовательно при повышении избыточной нагрузки на колонну труб при срыве пакера или пакеров.

РИСУНКИ

Categories: BD_2380000-2380999