Патент на изобретение №2380514

Published by on




РОССИЙСКАЯ ФЕДЕРАЦИЯ



ФЕДЕРАЛЬНАЯ СЛУЖБА
ПО ИНТЕЛЛЕКТУАЛЬНОЙ СОБСТВЕННОСТИ,
ПАТЕНТАМ И ТОВАРНЫМ ЗНАКАМ
(19) RU (11) 2380514 (13) C2
(51) МПК

E21B25/00 (2006.01)

(12) ОПИСАНИЕ ИЗОБРЕТЕНИЯ К ПАТЕНТУ

Статус: по данным на 17.09.2010 – действует

(21), (22) Заявка: 2008116270/03, 28.04.2008

(24) Дата начала отсчета срока действия патента:

28.04.2008

(46) Опубликовано: 27.01.2010

(56) Список документов, цитированных в отчете о
поиске:
SU 1328477 A1, 07.08.1987. SU 734393 A1, 15.05.1980. SU 905423 A1, 15.02.1982. SU 1439203 A1, 23.11.1988. RU 20532 U1, 10.11.2001. CN 2177797 Y, 21.09.1994.

Адрес для переписки:

121351, Москва, ул. Кунцевская, 9, корп.2, Геомаш-центр

(72) Автор(ы):

Шумов Лев Алексеевич (RU),
Первухин Александр Васильевич (RU),
Рогов Евгений Михайлович (RU)

(73) Патентообладатель(и):

Закрытое акционерное общество “Геомаш-центр” (RU)

(54) УСТРОЙСТВО ДЛЯ ВЫДАВЛИВАНИЯ КЕРНА

(57) Реферат:

Изобретение относится к области бурения скважин с отбором керна, в частности к устройствам для извлечения керна из керноприемной трубы. Техническим результатом является расширение функциональных возможностей устройства. Устройство для выдавливания керна из керноприемной трубы включает гидроцилиндр со штоком и корпусом, станину, скрепленную с корпусом гидроцилиндра, ложемент под керноприемную трубу, связанный со станиной, и ограничитель продольного перемещения керноприемной трубы. При этом устройство снабжено выполненным с возможностью вертикального перемещения относительно станины дополнительным съемно-устанавливаемым ложементом и центрирующим устройством. Причем станина выполнена со смещенными по высоте рядами отверстий, а дополнительный съемно-устанавливаемый ложемент выполнен в виде размещенных в соответствующих рядах отверстий станины пальцев. 1 з.п. ф-лы, 5 ил.

Изобретение относится к области бурения скважин с отбором керна.

Известно устройство для выдавливания керна из керноприемной трубы, включающее гидроцилиндр со штоком и корпусом, скрепленную с корпусом гидроцилиндра станину, связанный со станиной ложемент под керноприемную трубу и ограничитель продольного перемещения керноприемной трубы [1].

Однако известное устройство применимо только для бурения с применением керноприемной трубы определенного диаметра, что не позволяет применять данное устройство в случаях, когда требуется производить бурение скважин различными диаметрами для получения необходимого для проведения достоверных разведочных работ объема кернового материала.

Технический результат, для достижения которого направлено данное техническое решение, заключается в расширении области применения устройства.

Указанный результат достигается за счет того, что устройство для выдавливания керна из керноприемной трубы, включающее гидроцилиндр со штоком и корпусом, скрепленную с корпусом гидроцилиндра станину, связанный со станиной ложемент под керноприемную трубу и ограничитель продольного перемещения керноприемной трубы, снабжено выполненным с возможностью вертикального установочного перемещения относительно станины дополнительным съемно-устанавливаемым ложементом и центрирующим устройством керноприемной трубы.

Указанный результат достигается также за счет того, что станина выполнена с расположенными горизонтальными, смещенными по высоте рядами отверстий, а дополнительный съемно-устанавливаемый ложемент выполнен в виде размещенных в соответствующих рядах отверстий станины пальцев.

Изобретение поясняется чертежами, где на фиг.1 представлено заявляемое устройство, на фиг.2-5 показано положение ложементов при применении керноприемных труб различных диаметров.

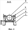
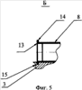
Устройство для выдавливания керна из керноприемной трубы включает в себя гидроцилиндр со штоком 1 и корпусом 2, скрепленную с корпусом гидроцилиндра станину 3, связанный со станиной 3 ложемент 4 под керноприемную трубу максимального диаметра 5 и дополнительный съемно-устанавливаемый ложемент 6. Ложемент 6 выполнен с возможностью вертикального установочного перемещения относительно станины 3 при применении керноприемных труб 7 и 8 различного диаметра и снабжен центрирующим устройством 9 керноприемной трубы. Дополнительный съемно-устанавливаемый ложемент 6 может быть выполнен следующим образом.

В станине 3 выполняют по высоте несколько рядов отверстий 10, 11. В соответствующий ряд отверстий (в зависимости от диаметра керноприемной труб) вставляют пальцы 12, на которые опирается керноприемная труба. Для удержания керноприемной трубы от продольного перемещения при выдавливании керна с последней свинчивают переходник на бурильную штангу и вместо него навинчивают выполненную под каждый из диаметров втулку 13 с кольцевым буртиком 14, а в станине выполняют соответствующие прорези 15, в которые помещают указанный выше буртик 14 втулки 13. Для центрирования керноприемной трубы служат центраторы 9.

Работает устройство следующим образом. Пальцы 12 ложемента устанавливают в отверстия станины (10 или 11) на соответствующую высоту в зависимости от диаметра керноприемной трубы, выступ буртика 14 втулки 13 размещают в соответствующие прорези 15 станины 3. При применении керноприемной трубы максимального диаметра керноприемную трубу размещают на ложемент 4.

Таким образом, ложемент, на котором размещают керноприемную трубу, в зависимости от диаметра керноприемной трубы может быть размещен на различной высоте относительно станины, то есть выполнен с возможностью вертикального установочного перемещения относительно станины.

Посредством центраторов 9 производят центрацию керноприемной трубы. Затем, создавая рабочее давление в гидроцилиндре, выдвигают его шток 1, который выдавливает керн из керноприемной трубы. Рабочее давление в гидроцилиндре может быть создано ручным насосом.

Таким образом, предложенное техническое решение позволит:

– уменьшить время на вспомогательные операции по выдавливанию керна;

– облегчить бурение различными диаметрами скважин с отбором керна для получения необходимого объема кернового материала и обеспечения достоверности разведочных работ.

Источники информации

1. Проспект фирмы Durham Geo Slope Indicator «S-240 Series Power Extruder, User Manual. Version 2.2».

Формула изобретения

1. Устройство для выдавливания керна из керноприемной трубы, включающее гидроцилиндр со штоком и корпусом, скрепленную с корпусом гидроцилиндра станину, связанный со станиной ложемент под керноприемную трубу и ограничитель продольного перемещения керноприемной трубы, отличающееся тем, что оно снабжено выполненным с возможностью вертикального установочного перемещения относительно станины дополнительным съемно-устанавливаемым ложементом и центрирующим устройством керноприемной трубы.

2. Устройство для выдавливания керна по п.1, отличающееся тем, что станина выполнена с расположенными горизонтальными, смещенными по высоте рядами отверстий, а дополнительный съемно-устанавливаемый ложемент выполнен в виде размещенных в соответствующих рядах отверстий станины пальцев.

РИСУНКИ

Categories: BD_2380000-2380999