|
|
(21), (22) Заявка: 2008113000/09, 07.04.2008
(24) Дата начала отсчета срока действия патента:
07.04.2008
(46) Опубликовано: 20.01.2010
(56) Список документов, цитированных в отчете о поиске:
SU 246595 А1, 01.01.1969. SU 1149277 А1, 07.04.1985. SU 1280387 А1, 30.12.1986. US 5930157 А, 27.07.1999. GB 1318341 А, 31.05.1973.
Адрес для переписки:
111397, Москва, Зеленый пр-кт, 39, корп.4, кв.56, Г.С.Любчикову
|
(72) Автор(ы):
Любчиков Геннадий Сергеевич (RU), Любчиков Сергей Геннадьевич (RU), Любчиков Алексей Геннадьевич (RU)
(73) Патентообладатель(и):
Любчиков Геннадий Сергеевич (RU)
|
(54) СПОСОБ ФОРМИРОВАНИЯ СЛОЖНЫХ КВАЗИОПТИМАЛЬНЫХ СИГНАЛОВ И УСТРОЙСТВО ДЛЯ ОСУЩЕСТВЛЕНИЯ СПОСОБА
(57) Реферат:
Изобретение относится к радиотехнике и может быть использовано в космических командных радиолиниях. Техническим результатом изобретения является повышение помехоустойчивости сигналов, упрощение и повышение надежности при декодировании с исправлением ошибок. Способ формирования сложных квазиоптимальных сигналов включает преобразование двоичной информации в последовательно расположенных n ступенях, различающихся генерируемыми сигналами. Продвижение информации в каждой ступени формирования реализаций псевдошумовых кодов сложного квазиоптимального сигнала осуществляют синхронно сформированными тактовыми импульсами. Устройство формирования сложных квазиоптимальных сигналов включает последовательно расположенные n ступеней, каждая из которых различается генерируемыми сигналами. Каждая ступень включает информационные входы «1» и «0», i-й генератор псевдошумового кода, первую, вторую, третью и четвертую схему «И», а также первую и вторую схему «ИЛИ», соединенные между собой. Изобретение обеспечит использование сложных псевдошумовых сигналов, обладающих повышенной помехозащищенностью, для передачи информации в космических радиолиниях при оптимальной обработке на приемной стороне с помощью каскада дискретных согласованных фильтров. 2 н.п. ф-лы, 3 ил.
Предложенное изобретение предназначено для использования в радиотехнике, а именно в устройствах формирования сложных составных квазиоптимальных сигналов, допускающих оптимальный прием на согласованные фильтры. Предпочтительным является использование предложенного изобретения в космических командных радиолиниях.
В настоящее время известны шумоподобные сигналы различного вида (коды Баркера, М-последовательности, коды Голда, дополнительные коды и т.п.) с хорошими автокорреляционными и взаимокорреляционными свойствами, широко описанные в технической литературе (Л.Е.Варакин. Теория сложных сигналов. М.: Советское Радио, 1970; Алексеев А.И. и др. Теория и применение псевдослучайных сигналов. М.: Наука, 1969). Подобные сигналы нашли широкое применение в космических командно-измерительных системах с оптимальным корреляционным приемом, требующим значительные временные затраты на обязательный этап вхождения сигнала в синхронизм.
Также широко известны способы формирования шумоподобных сигналов с помощью многотактных линейных фильтров (В.Д.Колесник, Е.Т.Мирончиков. Декодирование циклических кодов. М.: Связь, 1968, рис.3.3, стр.64; А.И.Алексеев и др. Теория и применение псевдослучайных сигналов. М.: Наука, 1969, §4.3; У.Питернсон, Э.Уэлдон. Коды, исправляющие ошибки. М.: Мир, 1976 г, глава 7).
При использовании шумоподобных сигналов, формируемых известными способами, в космических командных радиолиниях с обработкой с помощью согласованных фильтров и учитывая условия работы с большими радиальными скоростями, разработчики наталкиваются на большие трудности, связанные с рассогласованием между принимаемым сигналом и импульсной характеристикой согласованного фильтра. Для уменьшения потерь необходимо расширять функцию неопределенности по оси частот, что приводит к сокращению длительности псевдошумового сигнала и, как следствие, к сокращению значения его базы. Даже при очень точном прогнозе орбиты космического аппарата, к целесообразности формирования сложных составных квазиоптимальных сигналов приводит минимизация аппаратных средств при сложении сигнала с помощью согласованных фильтров по сравнению с псевдослучайными сигналами. (При одинаковых значениях кодового расстояния оптимального и квазиоптимального сигналов, считая что 
где Ni Bi и

аппаратные затраты можно представить как

где i – число ступеней предлагаемого сложного квазиоптимального сигнала, k – коэффициент сложности реализации аппаратных средств).
Технический результат, ожидаемый от использования предложенного технического решения, заключается в создании помехоустойчивого сигнала, допускающего оптимальную обработку с помощью согласованных фильтров, для чего предлагается формировать сложный составной квазиоптимальный сигнал, построенный по принципу “один в одном”. Также предложенное техническое решение обеспечит выделение АКФ в дискретном согласованном фильтре не только на этапе обработки сигнальной ступени сложного сигнала, но и на этапе обработки последующих ступеней, увеличивая тем самым простоту исполнения, следовательно, и надежность относительно обычной операции декодирования с исправлением ошибок. В целом, техническое решение обеспечит использование сложных квазиоптимальных сигналов в космических командных радиолиниях.
Ожидаемый технический результат достигается тем, что предложены способ и устройство формирования сложных квазиоптимальных сигналов.
Способ формирования сложных квазиоптимальных сигналов включает преобразование поступающей на вход блочной двоичной информации в формате NRZ-L в последовательно расположенных n ступенях, различающихся качеством генерируемого сигнала. В каждой из ступеней по каналу «0» и по каналу «1» генерируются первая и вторая комбинации псевдошумового кода. Сигналы формируются с темпом, равным периоду генератора псевдошумовой последовательности i-ой ступени. Продвижение информации в каждой ступени формирования реализаций псевдошумовых кодов сложного квазиоптимального сигнала осуществляется синхронно сформированными тактовыми импульсами. Значения логических «1» и «0» входной информации i-ой ступени псевдошумового кода открывает на время ее действия прохождение единиц и нулей, соответственно, первой и второй кодовых комбинаций псевдошумового кода i-ой ступени. Значения логических «1» и «0» выходной информации i-ой ступени псевдошумового кода открывает на время ее действия прохождение единиц и нулей, соответственно, первой и второй кодовых комбинаций псевдошумового кода последующей (i+1) либо последней (сигнальной) ступени.
Устройство формирования сложных квазиоптимальных сигналов включает последовательно расположенные n ступеней, каждая из которых различается качеством генерируемого сигнала, генерирует первую и вторую комбинации i псевдошумового кода, и включает информационные входы «1» и «0», i-ый генератор псевдошумового кода, первую, вторую, третью и четвертую схему «И», а также, первую и вторую схему «ИЛИ». Информационный вход «1» является первым входом для первой и второй схем «И». Информационный вход «0» является первым входом для третьей и четвертой схем «И». На вход генератора псевдошумового кода подаются тактовые импульсы с выбранными для каждой ступени частотами. Прямой и инверсный выходы первой комбинации псевдошумового кода соединены со вторым входом, соответственно, первой и второй схем «И». Прямой и инверсный выход второй комбинации псевдошумового кода соединены со вторым входом, соответственно, третьей и четвертой схем «И». Выходы первой и четвертой схем «И» соединены, соответственно, с первым и вторым входами первой схемы «ИЛИ». Выходы второй и третьей схем «И» соединены, соответственно, с первым и вторым входами второй схемы «ИЛИ». Выходы первой и второй схем «ИЛИ» являются, соответственно, информационными выходами «1» и «0». При наличии последующих ступеней выходы первой и второй схем «ИЛИ» также соединены, соответственно, с информационными входами «1» и «0».
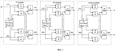
Предложенное техническое решение поясняется чертежами:
Фиг.1 – структурная схема устройства формирования сложных квазиоптимальных сигналов;
Фиг.2 – временная диаграмма формирования квазиоптимального псевдошумовго кода;
Фиг.3 – примеры форматов данных.
Структурная схема устройства формирования сложных квазиоптимальных сигналов приведена на фиг.1, процесс формирования сложного квазиоптимального сигнала пояснен временной диаграммой, приведенной на фиг.2 и иллюстрирующей вид кодовых комбинаций на входе устройства формирования сигналов, а также на выходе каждой из ступеней. В качестве генератора кодовой комбинации псевдошумового кода в каждой ступени формирования квазиоптимальных сигналов может выступать генератор М-последовательности, генератор кодов Баркера, генератор кода Голда и т.п., для выходной ступени целесообразно использовать обладающие более равномерными спектральными характеристиками при сдвиге по оси частот М-последовательности. Для построения устройства формирования сложных сигналов может быть использовано любое число ступеней, каждая из которых может формировать псевдошумовые сигналы с помощью различных классов кодов, обладающих оптимальными автокорреляционными и взаимокорреляционными функциями.
Первая ступень устройства формирования сложных квазиоптимальных сигналов включает информационные входы «1» и «0». На вход генератора псевдошумового кода первой ступени 1 подаются тактовые импульсы T1 и генерируются первая и вторая комбинации псевдошумового кода, которые с прямого QI, QII и инверсного Q I, Q II выхода генератора 1 подаются на схемы «И» 2, 3, 4, 5 первой ступени. Информационный вход «1» соединен с первыми входами первой 2 и второй 3 схем «И». Информационный вход «0» соединен с первыми входами третьей 4 и четвертой 5 схем «И». Прямой выход первой комбинации псевдошумового кода QI генератора 1 соединен со вторым входом первой схемы «И» 2. Инверсный выход первой комбинации псевдошумового кода Q I генератора 1 соединен со вторым входом второй схемы «И» 3. Прямой выход второй комбинации псевдошумового кода Q II генератора 1 соединен со вторым входом третьей схемы «И». Инверсный выход второй комбинации псевдошумового кода Q II генератора 1 соединен со вторым входом четвертой схемы «И». Выходы первой 2 и четвертой 5 схем «И» соединены, соответственно, с первым и вторым входами первой схемы «ИЛИ» 6. Выходы третьей 4 и второй 3 схем «И» соединены, соответственно, с первым и вторым входами второй схемы «ИЛИ» 7. Выход первой схемы «ИЛИ» 6 является выходом «1» первой ступени формирования сложного квазиоптимального сигнала и входом второй ступени формирования сигнала. Выход второй схемы «ИЛИ» 7 является выходом «0» первой ступени формирования сложного квазиоптимального сигнала и входом второй ступени формирования сигнала.
Вторая и последующие ступени устройства формирования сложных квазиоптимальных сигналов построены по аналогичной схеме. Информационные входы «1» и «0» соединены с соответствующими информационными выходами «1» и «0» предшествующих ступеней. На вход генераторов 8, 15 псевдошумового кода второй и последующих ступеней подаются тактовые импульсы Т2, Tn и генерируются первая и вторая комбинации псевдошумового кода. Комбинации псевдошумового кода с прямых QI, QII и инверсных Q I, Q II выходов генераторов 8, 15 подаются на схемы «И» 9, 10, 11, 12 второй и 16, 17, 18, 19 последующих ступеней. Информационные входы «1» второй и последующих ступеней соединены с первыми входами первой 9, 16 и второй 10, 17 схем «И». Информационные входы «0» второй и последующих ступеней соединены с первыми входами третьей 11, 18 и четвертой 12, 19 схем «И». Прямые выходы первой комбинации псевдошумового кода QI генераторов 8, 15 соединены со вторыми входами первых схем «И» 9, 16. Инверсные выходы первой комбинации псевдошумового кода Q I генераторов 8, 15 соединены со вторыми входами вторых схем «И» 10, 17. Прямые выходы второй комбинации псевдошумового кода QII генераторов 8, 15 второй комбинации соединены со вторыми входами третьих схем «И» 11, 18. Инверсные выходы второй комбинации псевдошумового кода Q II генераторов 8, 15 соединены со вторыми входами четвертях схем «И» 12, 19. Во второй и последующих ступенях выходы первых 9, 16 и четвертых 12, 19 схем «И» соединены, соответственно, с первым и вторым входами первых схем «ИЛИ» 13, 20. Также, во второй и последующих ступенях выходы третьих 11, 18 и вторых 10, 17 схем «И» соединены, соответственно, с первым и вторым входами вторых схем «ИЛИ» 14, 21. Выходы первых схем «ИЛИ» 13, 20 являются выходами «1» для второй и последующих ступеней формирования сложного квазиоптимального сигнала. Выходы вторых схем «ИЛИ» 14, 21 являются выходами «0» для второй и последующих ступеней формирования сложного квазиоптимального сигнала и входом второй ступени формирования сигнала. При наличии последующих ступеней выходы «1» и «0» являются также и входами ступеней формирования сигнала. Для последней ступени выходы «1» и «0» являются выходами устройства формирования сигнала.
При работе устройства формирования сложных квазиоптимальных сигналов на вход устройства поступает блочная двоичная информация в формате NRZ-L которая далее преобразуется в последовательно расположенных n ступенях, различающихся по качеству сигнала. В первой, второй и последующих ступенях устройства по каналам «0» и «1» генерируются первая и вторая комбинации псевдошумового кода. Сигналы формируются с темпом, равным периоду установленного для генераторов псевдошумовой последовательности 1, 8, 15 первой, второй и последующей ступеней. Продвижение информации в каждой ступени формирования реализаций псевдошумовых кодов сложного квазиоптимального сигнала осуществляется синхронно сформированными тактовыми импульсами Т1, Т2, Tn. В каждой из ступеней устройства «1» и «0» входной информации открывает на время действия ступени прохождение единиц и нулей, соответственно, первой и второй кодовой комбинации псевдошумового кода ступени. При этом «1» и «0» выходной информации каждой ступени открывает на время ее действия ступени прохождение единиц и нулей, соответственно, первой и второй кодовой комбинации псевдошумового кода последующей либо последней (сигнальной) ступени.
Таким образом, предложенное техническое решение обеспечит формирование помехоустойчивого квазиоптимального сигнала, допускающего оптимальную обработку с помощью согласованных фильтров, а также обеспечит выделение АКФ в дискретном согласованном фильтре как на этапе обработки сигнальной ступени сложного сигнала, так и на этапе декодирования последующих ступеней. В предпочтительной реализации предложенного технического решения предложенное техническое решение обеспечит использование сложных псевдошумовых сигналов для передачи информации в космических радиолиниях, в том числе с отложенной ОС, так и без ОС, повышая помехозащищенность системы в целом.
Формула изобретения
1. Способ формирования сложных квазиоптимальных сигналов, согласно которому поступающий на вход код двоичной информации в формате NRZ-L преобразуют в n последовательно расположенных ступенях, различающихся генерируемыми сигналами, в каждой из которых по каналу «0» и по каналу «1» генерируют первую и вторую комбинацию псевдошумового кода, при этом сигналы формируют с темпом, равным периоду генератора псевдошумовой последовательности i-й ступени, продвижение информации из i-й в (i+1) ступень формирования псевдошумовых кодов сложного квазиоптимального сигнала осуществляют синхронно сформированными тактовыми импульсами, причем «1» и «0» или «0» и «1» входной информации соответственно по каналу «1» и по каналу «0» i-й ступени открывают на время действия входной информации прохождение «1» или «0» на выходы канала «1» и соответственно «0» или «1» на выходы канала «0» первой или второй кодовой комбинации псевдошумового кода, генератора псевдошумовой последовательности i-й ступени.
2. Устройство формирования сложных квазиоптимальных сигналов, включающее последовательно расположенные n ступеней, каждая из которых генерирует первую и вторую комбинации псевдошумового кода, и включает информационные входы «1» и «0», 1-й генератор псевдошумового кода, первую, вторую, третью и четвертую схему «И», а также, первую и вторую схему «ИЛИ», при этом информационный вход «1» является первым входом для первой и второй схем «И», а информационный вход «0» является первым входом для третьей и четвертой схем «И», а на вход генератора псевдошумового кода подаются тактовые импульсы с выбранными для каждой ступени частотами, прямой и инверсный выходы первой комбинации псевдошумового кода соединены со вторым входом, соответственно, первой и второй схем «И», а прямой и инверсный выход второй комбинации псевдошумового кода соединены со вторым входом соответственно третьей и четвертой схем «И», выходы первой и четвертой схем «И» соединены соответственно с первым и вторым входами первой схемы «ИЛИ», выходы второй и третьей схем «И» соединены соответственно с первым и вторым входами второй схемы «ИЛИ», выходы первой и второй схем «ИЛИ» являются соответственно информационными выходами «1» и «0» и, при наличии последующих ступеней, также соединены соответственно с информационными входами «1» и «0».
РИСУНКИ
|
|