|
(21), (22) Заявка: 2007128389/09, 23.07.2007
(24) Дата начала отсчета срока действия патента:
23.07.2007
(43) Дата публикации заявки: 27.01.2009
(46) Опубликовано: 20.01.2010
(56) Список документов, цитированных в отчете о поиске:
RU 270765 C1, 20.12.1996. SU 1111239 A, 30.08.1984. SU 163508 A, 22.06.1964. JP 51121122 A, 22.10.1976.
Адрес для переписки:
117997, Москва, В-342, ГСП-7, ул. Профсоюзная, 65, ИПУ, патентный отдел
|
(72) Автор(ы):
Торшин Владимир Викторович (RU), Бусыгин Борис Павлович (RU), Пащенко Федор Федорович (RU), Круковский Леонид Ефимович (RU)
(73) Патентообладатель(и):
Институт проблем управления им В.А. Трапезникова РАН (RU)
|
(54) СПОСОБ ГЕНЕРИРОВАНИЯ ЭЛЕКТРИЧЕСКОГО ПОТЕНЦИАЛА ПО В.В. ТОРШИНУ И УСТРОЙСТВО ДЛЯ ЕГО РЕАЛИЗАЦИИ
(57) Реферат:
Изобретение относится к электротехнике и предназначено для преобразования постоянного тока в постоянный ток и может найти применение в электронике, измерительной и вычислительной технике, а также в медицине для диагностики различных заболеваний и т.д. Технический результат состоит в повышении генерируемого электрического потенциала. Сердечник из электропроводящего материала 1 размещают в магнитопроводе 2 в виде спирали. Спираль снабжена обмоткой 3 возбуждения постоянного тока. Один конец сердечника а соединяют с концом электрической обмотки, а электрический потенциал получают на концах проводника а и b. На проводник 1 и/или магнитопровод 2 воздействуют внешним воздействием, и результирующий электрический потенциал используют для определения величины этого воздействия. 2 н. и 9 з.п. ф-лы, 8 ил.
Заявленный способ генерирования электрического потенциала по В.В.Торшину предназначен для преобразования постоянного тока в постоянный ток, а устройства, реализующие данный способ, могут найти применение в электронике, измерительной и вычислительной технике для проведения испытаний, а также в медицине для диагностики различных заболеваний и т.д.
Известен способ генерирования электрического потенциала, получивший название «датчик Холла», основанный на получении выходного напряжения при воздействии на полупроводниковую пластину – сердечник магнитным полем. (См., например. Политехнический словарь / А.Ф.Белов и др. – М.: Советская энциклопедия, 1989 г., стр. 583).
Недостаток известного способа генерирования электрического потенциала заключается в том, что величина выходного потенциала зависит от внешнего магнитного поля, которое не всегда можно контролировать.
Более близким и принятым за прототип является способ Бусыгина генерирования электрического потенциала и устройство для его реализации (см., например, патент РФ 2070765, кл. Н02М 3/02, опубл. 20.12.96 в БИ 35).
Способ заключается в том, что в область магнитопровода, сформированного в виде спирали, снабженной обмоткой возбуждения постоянного тока, и образующего спиралеобразное пространственное магнитное поле, помещают электропроводящий сердечник, а напряжение получают на концах сердечника.
Способ позволяет при некоторых соотношениях витков спирали, длины сердечника и напряженности магнитного поля получать на концах проводника разность потенциалов.
Недостаток способа заключается в том, что потенциал на выходе устройств, реализующих известный способ, невелик, сам способ имеет ограниченное применение и поэтому его практическое использование не получило развитие.
Заявленное изобретение направлено на повышение генерируемого электрического потенциала и повышение его утилитарных свойств.
Для достижения указанного результата в способе для генерирования электрического потенциала по В.В.Торшину в сердечнике, выполненном из электропроводящего материала и помещенном в пространство магнитного поля, сформированного с помощью спиралеобразного магнитопровода, снабженного питаемой от источника тока обмоткой возбуждения, согласно изобретению, в пространство магнитопровода в качестве сердечника помещают вещество, область этого вещества, сосредоточенную в одной точке, соединяют с источником тока, питающим обмотку возбуждения, в результате чего получают электрический потенциал с двух точек вещества, разделенных промежутком, причем на вещество и/или магнитопровод воздействуют внешним физическим параметром, и результирующий генерируемый электрический потенциал используют для определения величины этого параметра.
В варианте способа магнитопровод выполняют из пружинящего материала, воздействующим физическим параметром является механическая сила, приложенная к магнитопроводу, а результирующий электрический потенциал используют для определения величины механической силы.
В варианте способа сердечник выполняют из электропроводящего материала, внешним физическим параметром является нагрев от внешнего источника тепла, а результирующий электрический потенциал используют для определения температуры источника тепла.
В варианте способа в качестве сердечника используют тело биологического объекта, внешним физическим параметром является метаболический процесс, проходящий в биологическом объекте, а результирующий электрический потенциал используют для диагностических целей.
В варианте способа в качестве сердечника используют фотоэлемент, внешним физическим параметром является свет, а результирующий потенциал используют для определения величины освещенности.
В варианте способа в качестве сердечника в магнитное поле помещают трубку электронно-лучевого прибора, внешним физическим параметром, воздействующим на магнитопровод, является электрическое напряжение в обмотке возбуждения, а результирующий потенциал используют для определения этого напряжения по световыми сигналам на экране дисплея.
В варианте технического решения в качестве сердечника в магнитное поле помещают неметаллическую трубку, снабженную по краям металлическими ободами, наполняют ее водой, один обод трубки соединяют с источником тока, физическим параметром являются растворенные в ней вещества, а результирующий потенциал измеряют на ободах трубки, и по результатам измерения определяют содержание растворенных в воде веществ.
Если в пространство магнитопровода в качестве сердечника помещают обладающее электропроводностью вещество, область этого вещества, сосредоточенную в одной точке, соединяют с источником тока, а электрический потенциал получают с двух точек вещества, разделенных промежутком, то получаемый с двух точек сердечника электрический потенциал, в сравнении с прототипом, многократно увеличивается.
Воздействие на вещество и/или магнитопровод внешними физическими параметрами приводит к изменению и результирующего генерируемого электрического потенциала. Эти изменения можно использовать для определения величины этого внешнего параметра.
При этом внешним параметром, воздействующим на магнитопровод, может являться, в частности, и подводимое к обмотке возбуждения напряжение, а электрический потенциал на концах сердечника используют для измерения подводимого напряжения.
Выполнение магнитопровода из пружинящего материала и воздействие на него внешними силами позволяет использовать данный способ для регистрации, например, величины нагрузки на весах, измерять давление в различных физических приборах и т.д.
При нагревании сердечника, выполненного из электропроводящего материала, внешним источником тепла способ позволяет измерять температуру нагревающего элемента.
Если в качестве сердечника применено тело биологического объекта, например, человека, то, после накопления определенных экспериментальных статистических данных, изменение в величинах выходного напряжения на отдельных участках тела может быть использовано для получения различных медицинских диагностических показателей, например, для определения состояние пациента при исследовании с помощью аппарата «полиграф».
Если в качестве сердечника в магнитное поле помещена трубка электронно-лучевого прибора, то, изменяя напряжение в обмотке возбуждения, можно воздействовать на поток электронов в трубке и, тем самым, управлять световыми сигналами на экране дисплея или определять величину напряжения, приложенного к обмотке возбуждения.
Если в качестве сердечника в магнитное поле помещают неметаллическую трубку и наполняют ее водой, то, по результатам измерения и при накоплении определенных опытных данных, можно определять загрязненность воды теми или иными компонентами.
Если в качестве сердечника используется фотоэлемент, то внешним параметром, влияющим на результирующий потенциал, будет являться свет. Результирующий потенциал на концах сердечника используют для определения величины освещенности. При этом получаемый с фотоэлемента ток будет значительно выше за счет того, что появляются дополнительные носители электрического заряда. Т.е. фотоэфффект будет усилен.
В устройстве для генерирования электрического потенциала, содержащем электропроводящий сердечник, расположенный в области магнитопровода, выполненного в виде спирали, снабженной обмоткой возбуждения постоянного тока, согласно изобретению, один конец сердечника соединен с концом обмотки возбуждения магнитопровода, и оба конца сердечника служат для получения электрического тока.
В варианте устройства спираль магнитопровода выполнена в виде замкнутой тороидальной линии, а сердечник выполнен из нескольких витков.
В варианте устройства спираль магнитопровода выполнена из магнитно-мягкого материала.
В варианте устройства спираль магнитопровода выполнена из неферромагнитного материала.
В варианте устройства в качестве сердечника использован электропроводящий материал.
В варианте устройства в качестве сердечника использован постоянный магнит.
В варианте устройства в качестве сердечника использован полупроводниковый материал, состоящий из двух параллельных стержней p- и n- типа, изолированных друг от друга, с одной стороны, стержни имеют электрически связанную общую точку, причем с обмоткой возбуждения соединен общий конец стержней, а для получения электрического тока служат оба свободных конца.
В варианте устройства в качестве сердечника применен соленоид, намотанный на стержень, и концами проводника служат оба конца соленоида.
При выполнении магнитопровода из магнитно-мягкого материала повышается потенциал на выходе системы.
Если магнитопровод выполняют из неферромагнитного материала, то генератор имеет более гибкую конструкцию и ему можно придавать различные конфигурации.
Выполнение спирали по замкнутой линии, а сердечника в виде нескольких витков, позволяет повысить электрический потенциал на выходе генератора.
Использование в качестве сердечника, полупроводникового материала способствует повышению величины выходного напряжения.
Если в качестве сердечника применяют соленоид, то генератор, реализующий предложенный способ, имитирует трансформатор постоянного тока, при котором напряжение получают на выходе соленоида.
Способ и устройства, реализующие способ В.В.Торшина, иллюстрируются 8 фигурами.
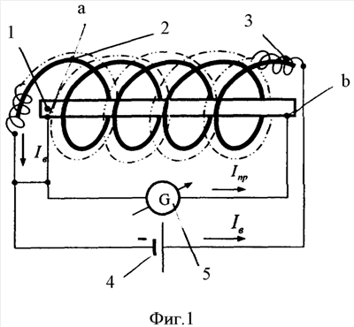
На фиг.1 представлена принципиальная электрическая схема, поясняющая способ В.В.Торшина.
На фиг.2 изображен график зависимости между напряжением питания обмотки возбуждения и током проводника.
На фиг.3 видна электрическая схема, в которой в качестве сердечника использован полупроводниковый материал.
На фиг.4 показан вариант, в котором спираль магнитопровода выполнена из пружинящего материала.
На фиг.5 показана диаграмма изменения напряжения на выходе сердечника при изменении длины магнитопровода под воздействием внешних сил.
На фиг.6. изображена принципиальная электрическая схема, в которой спираль магнитопровода расположена по замкнутой линии, а сердечник состоит из нескольких витков.
На фиг.7 имеется электрическая схема, в которой в качестве сердечника имеется электронно-лучевая трубка.
На фиг.8 представлена схема, где в качестве сердечника применен соленоид.
Устройство для генерирования электрического потенциала (генератор) по способу В.В.Торшина состоит из сердечника 1, выполненного из электропроводящего материала (фиг.1), вокруг которого намотана спираль магнитопровода 2, выполненная из магнитно-мягкого материала и образующая спиралеобразное магнитное поле. На спираль 2 намотана обмотка возбуждения 3, выполненная из электропроводящего материала. Обмотка 3 получает питание от источника постоянного тока 4. Один конец (а) сердечника 1, соединенный с источником тока, соединяют с концом электрической обмотки 3, а электрический потенциал получают на обоих концах (а, b) сердечника 1 и измеряют его с помощью гальванометра 5 (G).
График выходного тока сердечника 1 в зависимости от напряжения питания U источника 4, подведенного к обмотке возбуждения 2, имеет вид прямой линии 6 (фиг.2). При этом чем выше напряжение питания, тем больше величина тока на выходе.
В варианте технического решения в качестве сердечника использован полупроводниковый материал (фиг.3), состоящий из двух изолированных стержней 1′ и 1”.Стержень 1′ имеет структуру n-типа, а стержень 1” имеет структуру p-типа. Стержни с одной стороны электрически соединены между собой в точке а’. Эта точка соединена с одним концом обмотки возбуждения 3. Между стержнями имеется изолированный слой 7. Гальванометр 5 или любой другой измеритель электрического сигнала подключен к свободным концам а и b стержней 1′ и 1”.
В варианте технического решения спираль 2 магнитопровода выполнена из неферромагнитного материала.
В варианте технического решения магнитопровод 2 выполнен из пружинящего материала (фиг.3). На магнитопровод воздействуют внешними силами 8 (F). При этом в верхней части на спираль магнитопровода 2 насажена нажимная шайба 9. В нижней части спираль магнитопровода упирается в неподвижную шайбу 10 с углублением 11 для фиксации сердечника 1. В шайбах 9 и 10 предусмотрены выемки 12 и 13 для расположения подводящих проводов 14 и 15.
График тока I в зависимости от длины L сердечника, расположенного внутри спирали 2 (фиг.4), имеет вид линии 16, восходящей по мере увеличения высоты магнитопровода, в пределах расположения сердечника 1 внутри спирали 2 магнитопровода.
В варианте технического решения спираль 2 магнитопровода выполнен в виде замкнутой линии (фиг.6), а сердечник 1 выполнен из нескольких витков, расположенных внутри общей спирали 2. Схема соединений выводных концов аналогична фиг.1.
В варианте технического решения в качестве сердечника в магнитное поле спирали 2 помещена трубка 17 электронно-лучевого прибора 18 (фиг.7). Одни конец а трубки соединен с концом обмотки возбуждения 3. Вторым концом b служит край поверхности дисплея (на фиг. не обозначен).
В варианте технического решения в качестве сердечника в магнитное поле помещают неметаллическую трубку, снабженную по краям металлическими ободами, наполняют ее водой. Обода имеют электрический контакт с водой. Один обод трубки соединяют с источником тока, физическим параметром являются растворенные в ней вещества, а результирующий потенциал измеряют на ободах трубки и по результатам измерения определяют содержание растворенных в воде веществ. Электрическая схема соединений аналогична фиг.7.
В варианте технического решения в качестве сердечника 1 использован постоянный магнит (на фиг. не показан). Электрическая схема будет иметь вид, аналогичный фиг.1.
В варианте технического решения в качестве сердечника используется тело биологического объекта. Электрическая схема будет иметь вид, аналогичный фиг.7. При этом вместо электронно-лучевой трубки будет находиться элемент биологического объекта, например рука или нога человека или лапа животного, на которой будет закреплен конец а. Результирующий потенциал получают с зажимов а и b.
В варианте устройства на сердечник 1 намотана катушка 19 соленоида (фиг.8). Одни конец c катушки 19 соленоида соединена с концом а сердечника и концом обмотки 3 магнитопровода 1. При этом разностный потенциал получают на зажимах катушки соленоида а и b.
В варианте технического решения сердечник нагревают от внешнего источника тепла. Принципиальная электрическая схема аналогична фиг.1. Результирующий потенциал получают с зажимов а и b.
В варианте способа в качестве сердечника используется фотоэлемент (на фиг. не показан). Схема соединения аналогична фиг.1, с той разницей, что в качестве сердечника 1 будет располагаться фотоэлемент в виде удлиненной пластины, часть которой будет подвергаться освещению, а внешним параметром является свет. При этом результирующий потенциал используют для определения величины освещенности.
Зависимость напряжения от величины светового потока будет иметь вид прямой линии (на фиг. не показано), восходящей по мере увеличения светового потока.
Устройство согласно способу генерирования электрического потенциала по В.В.Торшину действует следующим образом. Возникновение электрического тока в полностью разомкнутом сердечнике при воздействии на него постоянным спиралевидным магнитным полем было установлено Бусыгиным Б.П. еще в 1990 г. Этот эффект в некотором роде напоминает эффект Холла и, видимо, связан с некоторыми особенностями перемещения электронов в сердечнике под влиянием специфически распределенного магнитного поля. Однако в запатентованном способе Бусыгина Б.П. ток в сердечнике был невелик и мог быть обнаружен только высокочувствительными приборами. Что касается эффекта Торшина В.В., то в опытах, согласно электрическим схемам, приведенным на фиг.1, 3, 6, приборы показывают устойчивый и достаточно высокий ток, который можно записать виде функциональной зависимости I=Tv (В, w1, w2, Iv, L), где Iv – ток в обмотке возбуждения 3 (фиг.1), I – ток, регистрируемый прибором G (5), Tv – постоянная Торшина, В – индукция спирального магнитного поля, w1 – число витков спирали магнитопровода 2 w2 – число витков обмотки возбуждения 3, L – длина сердечника 1, размещенного внутри спирали. При этом на концах сердечника а и b регистрируется ток (фиг.2), величина которого прямолинейно зависит от напряжения питания обмотки 3.
Достоинством способа является то, что на сердечник 1 и (или) магнитопровод 2 можно воздействовать различными внешними физическими параметрами и результирующий электрический потенциал использовать для определения величины этих параметров. Иными словами, предложенный способ может быть применен в устройствах для регистрации различных физических величин. В частности, с помощью устройства, показанного на фиг.1, можно измерять величину тока, протекающего по обмотке возбуждения 3.
При выполнении магнитопровода 2 (фиг.1) из магнитно-мягкого материала повышается потенциал на выходе системы зажим а и b.
Если магнитопровод 2 выполняют из неферромагнитного материала, то генератор имеет более гибкую конструкцию и ему можно придавать различные конфигурации.
Выполнение спирали магнитопровода 2 в виде замкнутой линии (фиг.6), а сердечника 1 в виде нескольких витков, позволяет повысить электрический потенциал на выходе генератора.
Выполнение магнитопровода 2 из пружинящего материала и воздействие на него внешними силами (фиг.4) позволяет использовать эффект В.В.Торшина для регистрации, например, величины нагрузки на весах измерять давление в различных физических приборах и т.д. При этом достаточно регистрировать изменение разности потенциалов между зажимами а и b.
Если в качестве сердечника в магнитное поле помещают неметаллическую трубку и наполняют ее водой, то, по результатам измерения и при накоплении определенных опытных данных, можно определять загрязненность воды теми или иными компонентами.
Использование в качестве сердечника постоянного магнита позволяет повысить потенциал на выходе и изменять его величину в зависимости от расположения выходного зажима относительно поверхности постоянного магнита. При этом величина и полярность разности потенциалов определяется положением точки b на поверхности магнита.
Использование в качестве сердечника полупроводникового материала (фиг.3) способствует повышению величины выходного напряжения.
Если в качестве сердечника применено тело биологического объекта, например, человека, то после накопления определенных экспериментальных статистических данных различие в величинах выходного напряжения на отдельных участках тела может быть использовано для получения некоторых медицинских диагностических показателей. Например, изменение выходного напряжения можно использовать для регистрации состояния человека при подключении его к аппарату «полиграф».
Если в качестве сердечника в магнитном поле установлена трубка электронно-лучевого прибора, то, изменяя напряжение в обмотке возбуждения 2 (фиг.7), можно воздействовать на поток электронов в трубке и, тем самым, управлять световыми сигналами на экране или регистрировать незначительные колебания напряжения, подводимого к обмотке возбуждения.
При нагревании сердечника, выполненного из электропроводящего материала, от внешнего источника тепла генератор позволяет измерять температуру нагревающего элемента.
Если внутрь спиралевидного магнитопровода в качестве сердечника использовать фотоэлемент, то внешним физическим параметром будет являться свет, а результирующий потенциал используют для определения величины освещенности. При этом полученная ЭДС будет выше, чем обычная фотоЭДС.
Формула изобретения
1. Способ генерировании электрического потенциала в сердечнике, выполненном из электропроводящего материала и помещенном в магнитное поле, сформированное с помощью спиралеобразного магнитопровода, снабженного питаемой от источника тока обмоткой возбуждения, отличающийся тем, что один конец сердечника соединяют с концом обмотки возбуждения и источником тока, а электрический потенциал снимают с обоих концов сердечника, причем оказывая внешнее воздействие на магнитопровод и/или сердечник, изменяют величину этого электрического потенциала.
2. Способ по п.1, отличающийся тем, что магнитопровод выполняют из пружинящего материала, внешним воздействием является механическая сила, приложенная к магнитопроводу, а результирующий электрический потенциал используют для определения величины механической силы.
3. Способ по п.1, отличающийся тем, что внешнее воздействие выражается в нагреве сердечника, а результирующий электрический потенциал используют для определения температуры.
4. Способ по п.1, отличающийся тем, что в качестве сердечника используют тело биологического объекта, внешним воздействием является процесс, происходящий в биологическом объекте, а результирующий электрический потенциал используют для диагностических целей.
5. Способ по п.1, отличающийся тем, что в качестве сердечника в магнитное поле помещают неметаллическую трубку, снабженную по краям металлическими ободами, наполняют ее водой, один обод трубки соединяют с источником тока, внешним воздействием являются растворенные в ней вещества, а результирующий потенциал измеряют на ободах трубки и по результатам измерения определяют содержание растворенных в воде веществ.
6. Устройство для генерирования электрического потенциала, содержащее сердечник, выполненный из материала, проводящего электрический ток, помещенный в магнитное поле магнитопровода, выполненного в виде спирали, снабженной обмоткой возбуждения, питаемой от источника постоянного тока, отличающееся тем, что один конец сердечника соединен с одним концом обмотки возбуждения магнитопровода и источником постоянного тока, и оба конца проводника подключены к гальванометру.
7. Устройство по п.6, отличающееся тем, что спираль магнитопровода выполнена в виде замкнутой тороидальной линии, а сердечник выполнен из нескольких витков.
8. Устройство по любому из пп.6 и 7, отличающееся тем, что спираль магнитопровода выполнена из магнитомягкого материала.
9. Устройство по любому из пп.6 и 7, отличающееся тем, что спираль магнитопровода выполнена из неферромагнитного материала.
10. Устройство по любому из пп.6 и 7, отличающееся тем, что в качестве сердечника использован постоянный магнит.
11. Устройство по п.6, отличающееся тем, что сердечник снабжен соленоидом, один конец соленоида соединен с одним из концов сердечника, а гальванометр подключен к обоим концам соленоида.
РИСУНКИ
|