|
|
(21), (22) Заявка: 2008143534/09, 23.04.2007
(24) Дата начала отсчета срока действия патента:
23.04.2007
(30) Конвенционный приоритет:
05.05.2006 EP 06113562.0 08.09.2006 EP 06120357.6
(46) Опубликовано: 20.01.2010
(56) Список документов, цитированных в отчете о поиске:
RU 2258287 C2, 10.08.2005. RU 33833 U1, 10.11.2003. RU 33465 U1, 20.10.2003. SU 1817165 A1, 23.05.1993. DE 202005012484 U1, 20.10.2005. DE 202004008950 U1, 13.10.2005. JP 11069594 A, 09.03.1999. US 5393932 A, 28.02.1995. US 6454598 B1, 24.09.2002.
(85) Дата перевода заявки PCT на национальную фазу:
05.12.2008
(86) Заявка PCT:
US 2007/067174 20070423
(87) Публикация PCT:
WO 2007/130811 20071115
Адрес для переписки:
105215, Москва, Щелковское ш., 48, стр. 1, а/я 26, Н.А.Рыбиной
|
(72) Автор(ы):
КРАБС Раймонд (DE)
(73) Патентообладатель(и):
3М ИННОВЕЙТИВ ПРОПЕРТИЗ КОМПАНИ (US)
|
(54) ТРУБЧАТЫЙ КОНТАКТНЫЙ УЗЕЛ ДЛЯ КАБЕЛЯ
(57) Реферат:
Трубчатый контактный узел для кабеля, в частности для кабеля промежуточного или высокого напряжения, содержит первый соединитель, имеющий по меньшей мере один наконечник для присоединения к по меньшей мере одному сопряженному второму соединителю, приспособленному для соединения с кабелем и для сцепления с первым соединителем, чтобы обеспечить электрический контакт с ним при присоединении второго соединителя к по меньшей мере одному наконечнику первого соединителя. Далее, трубчатый контактный узел содержит усаживающуюся муфту, имеющую первую трубчатую часть и вторую трубчатую часть, проходящую от первой трубчатой части. Первая трубчатая часть усаживающейся муфты фиксированно размещена вокруг первого соединителя. Вторая трубчатая часть усаживающейся муфты приспособлена проходить за по меньшей мере один наконечник первого соединителя для покрытия сопряженного второго соединителя и прикрепленного к нему кабеля, когда второй соединитель присоединен к по меньшей мере одному наконечнику первого соединителя. Предложенная конструкция обеспечивает надежное соединение кабелей промежуточного или высокого напряжения, в которых наконечник для кабеля снабжен улучшенной герметизирующей функцией и позволяет облегчить его применение. 2 н. и 13 з.п. ф-лы, 23 ил.
Область техники, к которой относится изобретение
Настоящее изобретение относится к трубчатому контактному узлу для кабеля, в частности кабеля промежуточного или высокого напряжения. Кроме того, настоящее изобретение относится к набору для соединения кабелей, в частности кабелей промежуточного или высокого напряжения. Далее, настоящее изобретение относится к размещению по меньшей мере трех трубчатых контактных узлов для кабелей.
Уровень техники
Общеизвестно использование усаживающихся в радиальном направлении муфт для схватывания электрического кабеля, соединенного с другим электрическим кабелем, или заглушенного конца. Пример известной усаживающейся в радиальном направлении муфты для покрытия кабельных наконечников либо кабельных соединителей или заглушенных концов описан в патенте ЕПВ 0435569. Эта усаживающаяся муфта содержит диэлектрический материал в качестве промежуточного изолирующего слоя, управляющий электрическим полем внутренний слой, объединенный с частично покрытым внутренним проводящим слоем, и электропроводный наружный слой. Такая многослойная муфта предпочтительно изготавливается экструзией и предпочтительно содержит силикон или ЭПМД (этилен-пропилен-монодиен, EPDM).
При выполнении кабельных стыков или кабельных наконечников посредством известной усаживающейся муфты необходимо, чтобы на одной стороне соединителя было предусмотрено свободное пространство (установочное положение), которое соответствует полной длине усаживающейся муфты. После того как кабельное соединение установлено, усаживающаяся муфта центрируется на кабельном соединении, а затем стягивается либо применением тепла, либо удалением внешней или внутренней опоры, поддерживающей усаживающуюся муфту в расширенном в радиальном направлении состоянии. Патент ЕПВ 0541000 раскрывает усаживающуюся в радиальном направлении муфту, которая удерживается в своем расширенном в радиальном направлении состоянии двумя удаляемыми опорными сердечниками, расположенными один рядом с другим. Другая усаживающаяся в радиальном направлении муфта с отдельными опорными сердечниками для разных секций муфты раскрыта в патенте ЕПВ 0966780. В этом известном сборочном узле разные секции муфты размещаются концентрически путем отгибания муфты назад, при этом отдельные секции поддерживаются в своем соответствующем расширенном в радиальном направлении состоянии посредством удаляемых опорных сердечников или аналогичных опорных элементов.
Одна проблема с известными усаживающимися в радиальном направлении муфтами состоит в том, что пользователь должен центрировать муфту при ее размещении на кабельном соединении. Патент ЕПВ 1158639 раскрывает электрический соединительный элемент, к которому два подлежащих соединению кабеля можно присоединить винтами. Проводники этих подлежащих соединению кабелей вводятся в соединительный элемент и закрепляются в нем крепежными винтами. Соединительный элемент охватывается эластичной муфтой, которая проходит за два наконечника соединительного элемента, чтобы окружить кабели при прикреплении к соединительному элементу. Когда винты закреплены, два отверстия закрываются уплотнительными крышками. В этой известной конструкции имеется риск того, что через крышки в трубчатую муфту проникнет влага.
Наконец, из заявок Германии  2939600 и 3813001 известно использование штепсельных соединителей для соединения кабелей промежуточного или высокого напряжения, в которых после установления электрического соединения на кабельное соединение помещается усаживающаяся муфта.
Соответственно, имеется необходимость в усовершенствованном кабельном наконечнике либо при соединения кабеля с кабелем, либо в применении для заглушенного конца, в частности, для кабелей промежуточного или высокого напряжения, в которых наконечник для кабеля снабжен улучшенной герметизирующей функцией и позволяет облегчить его применение.
Сущность изобретения
Настоящее изобретение обеспечивает трубчатый контактный узел для кабеля, в частности для кабеля промежуточного или высокого напряжения, содержащий:
– первый соединитель, имеющий по меньшей мере один наконечник для соединения с по меньшей мере одним сопряженным вторым соединителем, приспособленным для соединения с кабелем и сцепленным с первым соединителем для осуществления электрического контакта между ними при соединении второго соединителя с по меньшей мере одним наконечником первого соединителя, и
– усаживающуюся муфту, имеющую первую трубчатую часть и вторую трубчатую часть, отходящую от первой трубчатой части,
при этом первая трубчатая часть усаживающейся муфты фиксированно размещена вокруг первого соединителя, и
при этом вторая трубчатая часть усаживающейся муфты приспособлена проходить за по меньшей мере один наконечник первого соединителя, чтобы покрывать сопряженный второй соединитель и прикрепленный к нему кабель, когда второй соединитель присоединен к по меньшей мере одному наконечнику первого соединителя.
Трубчатый контактный узел для кабеля согласно изобретению содержит первый соединитель для соединения с по меньшей мере одним сопряженным вторым соединителем. Второй соединитель приспособлен для соединения с кабелем и сцеплен с первым соединителем для осуществления электрического контакта между ними. Усаживающаяся муфта окружает первый соединитель и содержит первую и вторую трубчатые части. В первой трубчатой части усаживающаяся муфта фиксированно размещена вокруг первого соединителя, тогда как вторая трубчатая часть усаживающейся муфты проходит от первой трубчатой части и, соответственно, за по меньшей мере один наконечник первого соединителя, на каковом наконечнике сопряженный второй соединитель может быть присоединен к первому соединителю. Вторая трубчатая часть усаживающейся муфты приспособлена проходить за по меньшей мере один наконечник первого соединителя, чтобы покрывать сопряженный второй соединитель и прикрепленный к нему кабель, когда второй соединитель присоединен к по меньшей мере одному наконечнику первого соединителя.
Соответственно, в настоящем изобретении усаживающаяся муфта целиком и полностью охватывает первый соединитель. Этот первый соединитель посредством штепсельного стыковочного устройства может быть присоединен ко второму соединителю. Поэтому электрический контакт между обоими соединителями устанавливается штепсельным включением одного соединителя в другой соединитель. Не нужно никаких винтов или аналогичных крепежных элементов, к которым нужен доступ извне, чтобы установить электрический контакт между обоими соединителями. Поэтому усаживающаяся муфта в своем первом соединителе, жестко и полностью размещенная вокруг первого соединителя, обеспечивает полностью закрытое уплотнение вокруг первого соединителя. Поскольку усаживающаяся муфта заранее собрана с первым соединителем, ее положение относительно первого соединителя всегда является точным и безошибочным, что необходимо для соответствующего применения заранее собранного трубчатого контактного узла в качестве соединения кабеля с кабелем или соединения кабеля с заглушенным концом.
Первый соединитель трубчатого контактного узла согласно изобретению может иметь один или несколько наконечников, выполненных как гнезда или штырьки, либо и то и другое, т.е. один наконечник содержит гнездо, тогда как другой наконечник содержит штырек. Первый соединитель, как правило, содержит два наконечника для подключения к двум сопряженным вторым соединителям или для соединения с одним сопряженным вторым соединителем и заглушенным концевым элементом, соответственно. Первый соединитель может также быть разветвленным соединителем. Далее, в данном приложении соединения между первым соединителем и по меньшей мере тремя сопряженными соединителями выполнены как штепсельные соединения. Чтобы гарантировать, что штепсельное соединение способно проводить большие электрические токи, уровень техники предлагает разные методы соединения, как, к примеру, описанные в заявке ЕПВ 0716474 и заявках Германии  3813001 и 2939600.
Первый соединитель может быть гибким, частично гибким или жестким. Гибкий или частично гибкий соединитель служит для облегчения приложения подлежащего соединению кабеля к первому соединителю. Это дает преимущество при использовании заранее собранного трубчатого стыка в узком пространстве.
Механическое и электрическое соединение между кабелем и сопряженным вторым соединителем, который в свою очередь должен соединяться с первым соединителем, согласно одному варианту осуществления настоящего изобретения осуществляется опрессовкой или крепежными винтами, либо аналогичными крепежными элементами. Предпочтительно, крепежные винты выполнены как срезные винты. Примеры крепежных элементов, пригодных для соединения между кабелем (или заглушенным концевым элементом) и вторым соединителем раскрыты в международных заявках WO 95/25229, WO 96/31706, патентах ЕПВ  0470388, 0688960, 0692643, 0769825, 0819222, 0984176 и патенте США 6045373.
В трубчатом контактном узле по настоящему изобретению кабель можно соединять с первым соединителем очень легко. Первый соединитель жестко присоединен к и размещен в усаживающейся муфте. Кабель, прикрепленный к сопряженному второму соединителю, можно легко соединить с первым соединителем тем, что сопряженный второй соединитель вводится во вторую трубчатую часть усаживающейся муфты, чтобы осуществить электрическое соединение с первым соединителем путем простого вставления второго соединителя в первый соединитель или наоборот. Соответственно, усаживающейся муфте не нужно установочного положения или какого-либо свободного пространства на одной из сторон первого соединителя. Если заранее собранный трубчатый контактный узел используется для соединения двух электрических кабелей, оба кабеля со своими связанными сопряженными вторыми соединителями, прикрепленными к ним, вводятся с противоположных сторон в соответствующие вторые трубчатые части усаживающейся муфты или усаживающихся муфт. А именно, если первый соединитель на своих противоположных сторонах снабжен двумя наконечниками, соответствующие вторые трубчатые части проходят за оба наконечника первого соединителя. В качестве альтернативы, две перекрывающих друг друга усаживающихся муфты могут быть фиксированно размещены на первом соединителе, а их соответствующие вторые трубчатые части проходят за наконечники первого соединителя.
В одном варианте осуществления настоящего изобретения первая трубчатая часть усаживающейся муфты усаживается на первый соединитель так, чтобы фиксированно размещаться вокруг первого соединителя.
В общем, для заранее собранного трубчатого контактного узла по изобретению можно использовать усаживающиеся муфты как с горячей, так и с холодной усадкой. Однако, чтобы избежать применения тепла при усадке муфты, предпочтительными для этой муфты являются материалы с холодной усадкой. Эти материалы в общем известны в уровне техники, и предпочтительно используются силикон или ЭПМД. В случае муфты с холодной усадкой по меньшей мере вторая часть этой муфты удерживается в расширенном в радиальном направлении состоянии посредством опоры, удаляемой из второй трубчатой части. Эта опора может быть размещена внутри второй трубчатой части или снаружи второй трубчатой части для удержания второй трубчатой части усаживающейся муфты в расширенном в радиальном направлении состоянии. Подходящие опоры в общем известны специалистам. В частности, известно использование по меньшей мере одного сердечника, приспособленного для введения в муфту с холодной усадкой для удержания ее в расширенном в радиальном направлении состоянии и удаляемого из муфты с холодной усадкой для усаживания этой муфты. В настоящем изобретении сердечник используется для удержания второй трубчатой части в расширенном в радиальном направлении состоянии. Как правило, этот сердечник содержит спирально навитую ленту, причем эта лента на осевом конце сердечника, проксимальном к наконечнику первого соединителя, приспособлена для удаления из второй трубчатой части муфты с холодной усадкой путем срывания или стягивания этой ленты с осевого конца сердечника, обращенного от наконечника первого соединителя, посредством чего лента отделяется от остального сердечника виток за витком. Примеры для различных опор, а также сердечников для удержания второй трубчатой части в расширенном в радиальном направлении состоянии раскрыты в заявках Германии  3943296, 4233202, международных заявках  WO 95/11542, WO 95/318845, заявках ЕПВ  0291213, 0399263, 0500216, 0631117, 0631357, 0702444, 0966780, патентах США  3515798, 4135553, 4179320, 4503105, 4656070, 5098752 и 4585607.
Вторая трубчатая часть муфты может быть размещена так, чтобы проходить за наконечник еще до ее приложения к кабелю, соединенному с первым соединителем, и, соответственно, чтобы удерживаться в расширенном в радиальном направлении состоянии, как упомянуто ранее. В альтернативном варианте осуществления вторая трубчатая часть перед ее наложением на кабель, подлежащий соединению с соединителем, может быть отогнута назад по соединителю и, если она сделана из материала с холодной усадкой, может удерживаться в расширенном в радиальном направлении состоянии. В еще одном варианте осуществления вторая трубчатая часть может быть навита вокруг наконечника, чтобы образовать рулон или виток, охватывающий по окружности соединитель с его наконечником.
В другом варианте осуществления по настоящему изобретению вторая трубчатая часть усаживающейся муфты удерживается в расширенном в радиальном направлении состоянии по меньшей мере двумя сердечниками, размещенными рядом друг с другом. Эти два сердечника могут быть раздельными или гибко соединенными, чтобы обеспечить гибкость второй трубчатой части усаживающейся муфты для облегчения соединения между первым и вторым соединителями. Эти по меньшей мере два сердечника могут иметь различные внутренние диаметры, что далее может облегчать применение и использование собранного трубчатого контактного узла согласно настоящему изобретению.
Для применения в кабельном сращении или кабельном заглушенном конце необходимо обычно использовать две усаживающиеся муфты, размещенные концентрически и одна поверх другой. Первая или внутренняя усаживающаяся муфта покрывает первый соединитель, любой второй соединитель и изоляционный слой вокруг проводника кабеля или кабелей. Первая усаживающаяся муфта обычно снабжена электродными слоями для управления полем, которые являются электропроводными или полупроводниковыми. Вокруг первой или внутренней муфты размещается вторая или наружная усаживающаяся муфта, которая расширяется в радиальном направлении за первую усаживающуюся муфту и усаживается на наружный кожух кабеля или кабелей. Эту конфигурацию используют для кабелей промежуточного или высокого напряжения, при этом электропроводный слой из, к примеру, металлического материала под наружной усаживающейся муфтой электрически соединяет металлический экранный и наружный электроэкранирующий слои под наружным кожухом кабеля или кабелей. Вторая усаживающаяся муфта размещена вокруг первой усаживающейся муфты и проходит за вторую трубчатую часть первой усаживающейся муфты.
В одном варианте осуществления по настоящему изобретению вторая усаживающаяся трубка содержит первую трубчатую часть, фиксированно размещенную и, в частности, усаженную на первой трубчатой части первой усаживающейся муфты, тогда как вторая трубчатая часть второй усаживающейся муфты размещена на второй трубчатой части первой усаживающейся муфты и приспособлена проходить за по меньшей мере один наконечник первого соединителя, чтобы покрывать вторую трубчатую часть первой усаживающейся муфты, а также наружный кожух кабеля. Вторая усаживающаяся муфта может изготавливаться из материалов с холодной или горячей усадкой. Вторая усаживающаяся муфта удерживается по всей своей длине или по меньшей мере по долям своей второй трубчатой части в расширенном в радиальном направлении состоянии посредством опоры, размещенной внутри или снаружи второй усаживающейся муфты и удаляемой из ее второй трубчатой части. Опора, используемая для второй усаживающейся муфты, может в общем случае иметь ту же самую конструкцию и конфигурацию, как пояснено и описано выше в отношении опоры для второй трубчатой части первой усаживающейся муфты.
В одном варианте осуществления настоящего изобретения вторая усаживающаяся муфта может содержать две муфтовых части, перекрывающих друг друга на или вокруг первой трубчатой части первой усаживающейся муфты.
В другом варианте осуществления настоящего изобретения вторая усаживающаяся муфта имеет вторую трубчатую часть, в которой вторая усаживающаяся муфта навита так, чтобы образовать проходящий по окружности рулон, размещенный на первой трубчатой части первой усаживающейся муфты и (или) ее второй трубчатой части. Если первая усаживающаяся муфта содержит третью трубчатую часть, вторая усаживающаяся муфта также может содержать третью трубчатую часть, которая навита аналогично ее второй трубчатой части и размещена на первой трубчатой части и (или) третьей трубчатой части первой усаживающейся муфты. Каждый проходящий по окружности рулон второй усаживающейся муфты может быть зафиксирован и прикреплен, чтобы предотвратить разматывание рулона. В частности, если вторая (и третья, если она предусмотрена) трубчатая часть первой усаживающейся муфты удерживается в расширенном в радиальном направлении состоянии, расширяющаяся часть между первой и второй (и третьей, если она предусмотрена) трубчатыми частями первой усаживающейся муфты предотвратит или поможет предотвратить случайное разматывание рулона или рулонов.
В еще одном варианте осуществления настоящего изобретения трубчатый контактный узел может быть собран заранее, чтобы первый соединитель был размещен в первой трубчатой части (первой) усаживающейся муфты до использования трубчатого контактного узла для присоединения кабеля.
Как описано ранее, усаживающаяся муфта содержит в своем установленном состоянии внутренний слой, который является электропроводным или полупроводниковым, и диэлектрический слой из, к примеру, кремнийорганического или этилен-пропилен-монодиенового (ЭПМД) каучука. Эти усаживающиеся муфты, которые могут быть изготовлены из материалов с холодной или горячей усадкой, обычно известны специалистам, их можно изготавливать при отливке в экструзионном процессе. Для получения муфты с двумя слоями можно использовать стандартный экструзионный процесс: формование выдавливанием, к примеру, внутреннего электропроводного или полупроводникового слоя и поверх него – наружного диэлектрического слоя. Возможно также получать усаживающуюся муфту на первом этапе с электропроводным или полупроводниковым слоем поверх диэлектрического слоя. В этом случае нужно на втором этапе вывернуть муфту, по меньшей мере частично, перед ее установкой на соединитель.
В еще одном варианте осуществления изобретения в трубчатый контактный узел можно встраивать маркер высокочастотной идентификации (ВЧИ) (RFID). Такой маркер ВЧИ может хранить информацию о частях, к которым он относится, и можно записывать информацию в маркер ВЧИ в течение срока службы этих частей, к которым он относится, и считывать информацию, хранящуюся в маркере ВЧИ. Маркер ВЧИ можно встраивать в трубчатый контактный узел по изобретению во время его изготовления. В это время в маркер можно добавить первую информацию, наподобие информации о соединителе, дате изготовления и т.п. Предпочтительным местоположением для встраивания маркера ВЧИ была бы зона над первым соединителем, особенно там, где первая и вторая усаживающиеся муфты фиксированно размещены вокруг первого соединителя, что означает, что имеется постоянное давление в радиальном направлении между усаживающейся муфтой и соединителем. Это имело бы то преимущество, что механическое давление, такое как расширение, растяжение или сжатие будет приложено к маркеру во время установки и что не нужно никаких дополнительных операций во время установки для встраивания маркера. Маркер можно встраивать в одну из муфт либо первой, либо второй усаживающихся муфт. Важно, что маркер не нужно встраивать под слой с экранирующими характеристиками.
Краткое описание чертежей
Полное и всеобъемлющее раскрытие настоящего изобретения, в том числе его наилучший режим, позволяющее специалисту осуществить изобретение, изложено более подробно в нижеследующем описании со ссылками на сопровождающие чертежи, на которых:
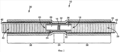
Фиг.1 представляет собой вид в поперечном сечении первого варианта осуществления заранее собранного трубчатого контактного узла для электрического соединения двух кабелей;
Фиг.2 представляет собой вид в поперечном сечении устройства по фиг.1 с двумя кабелями, электрически соединенными друг с другом, но с усаживающейся муфтой в ее второй трубчатой части, все еще удерживаемой в расширенном в радиальном направлении состоянии;
Фиг.3 представляет собой вид в поперечном сечении полного сращения кабеля с внутренней муфтой, усаженной на кабельный соединитель, и внутренними изолирующими слоями кабелей и наружной муфтой, усаженными на внутреннюю муфту, а также на наружные кожухи кабелей;
Фиг.4 представляет собой вид в поперечном сечении другого варианта осуществления настоящего изобретения с двумя отдельными сердечниками для поддержания каждой из соответствующих вторых трубчатых частей усаживаемой муфты;
Фиг.5 показывает третий вариант осуществления настоящего изобретения с внутренней муфтой и наружной муфтой, усаженной на внутреннюю муфту и имеющей концевые доли, отогнутые назад, чтобы каждая была обращена к другой и удерживалась в расширенном в радиальном направлении состоянии отдельными опорами;
Фиг.6-10 показывают отдельно другие варианты осуществления различных комбинаций заранее собранного трубчатого контактного узла для сращения кабеля, имеющего внутреннюю муфту и наружную муфту, причем наружная муфта имеет различные конфигурации;
Фиг.11 показывает еще один вариант осуществления комбинации заранее собранного трубчатого контактного узла для сращения кабеля, включающего в себя наружную муфту, причем внутренняя муфта содержит два опорных сердечника для каждой из ее вторых трубчатых частей, а наружная муфта в отдельных плоскостях соответствующих пар опорных сердечников для внутренней муфты отогнута назад отогнутыми назад долями второй или наружной муфты, удерживаемой в расширенном в радиальном направлении состоянии отдельными опорными сердечниками;
Фиг.12 представляет собой вид в поперечном сечении заранее собранного трубчатого контактного узла для разветвленного сращения кабеля;
Фиг.13 представляет собой вид в поперечном сечении заранее собранного трубчатого контактного узла для применения в заглушенном конце кабеля с внутренней и наружной усаживаемой муфтой, полностью усаженной на кабель, и заглушенного концевого элемента;
Фиг.14 представляет собой вид в поперечном сечении еще одного варианта осуществления трубчатого контактного узла для кабеля, имеющего соединитель с гнездовым наконечником и штепсельным наконечником;
Фиг.15 является еще одним вариантом осуществления заранее собранного трубчатого контактного узла для кабеля с соединителем, имеющим штепсели на обоих его наконечниках;
Фиг.16 является еще одним вариантом осуществления заранее собранного трубчатого контактного узла для сращения кабелей по изобретению с наружной усаживающейся муфтой, навитой на его противоположные концы, чтобы обеспечить два проходящих по окружности рулона или две намотки, размещенных на первой трубчатой части внутренней усаживающейся муфты, с металлическим трубчатым плетением, размещенным между рулонами и усаживающейся муфтой и собранным в осевом направлении;
Фиг.17 является видом в изометрии размещения трех трубчатых наконечников для соединения трехфазного кабельного размещения;
Фиг.18 представляет собой вид в поперечном сечении, взятом по линии XVIII-XVIII по фиг.17;
Фиг.19 является другим вариантом осуществления трубчатого контактного узла для сращения кабеля аналогично тому, как изображено на фиг.1-3, имеющего гибкий первый соединитель;
Фиг.20 является еще одним вариантом осуществления заранее собранного трубчатого контактного узла для сращения кабеля аналогично тому, как изображено на фиг.1-3, где одна из трубчатых частей внутренней муфты, приспособленная проходить за связанный с нею наконечник первого соединителя, отогнута назад, чтобы окружать первый соединитель, и в своей отогнутой назад части удерживается в расширенном в радиальном направлении состоянии опорным сердечником;
Фиг.21 представляет собой еще один вариант осуществления заранее собранного трубчатого контактного узла для сращения кабеля аналогично фиг.20, причем трубчатые части внутренней муфты, приспособленные проходить за соответствующие связанные с ними наконечники первого соединителя, отогнуты назад и вложены в ее отогнутые назад части, которые удерживаются в расширенном в радиальном направлении состоянии соответствующими опорными сердечниками;
Фиг.22 представляет собой другой вариант осуществления заранее собранного трубчатого контактного узла для сращения кабеля, имеющего свои части внутренней муфты, приспособленные проходить за связанные с ними соответствующие наконечники, намотанные так, чтобы обеспечить два проходящих по окружности рулона или две катушки, размещенные на первом соединителе; и
Фиг.23 представляет собой еще один вариант осуществления заранее собранного трубчатого контактного узла для сращения кабеля, аналогичного показанному на фиг.22 и содержащего наружную муфту, также навитую на его концы с проводящим плетением, размещенным между внутренней и наружной муфтами и собранным между соседними рулонами или витками на каждом конце внутренней и наружной муфт.
Описание предпочтительных вариантов осуществления
Ниже разнообразные варианты осуществления настоящего изобретения описаны и показаны на чертежах, где подобные элементы снабжены одними и теми же ссылочными позициями.
Фиг.1-3 показывают первый вариант осуществления трубчатого контактного узла согласно заранее собранному трубчатому узлу 10 для сращения кабеля для соединения двух кабелей 12, 14 промежуточного или высокого напряжения. Заранее собранный трубчатый контактный узел 10 содержит первый соединитель 16 с двумя наконечниками 18, 20 на его противоположных сторонах. Эти наконечники 18, 20 содержат гнезда 22, 24, образующие приемные пространства 26, 28. Соответственно, первый соединитель 16 в этом варианте осуществления представляет собой гнездовой соединитель. На чертежах трубчатые контактные узлы показаны в заранее собранном состоянии, которое как таковое относится к предпочтительному варианту осуществления изобретения.
Первый соединитель 16 размещен внутри (первой) усаживающейся муфты 30, имеющей диэлектрический слой 32 из, к примеру, кремния или ЭПДМ с внутренним слоем 33, который является электропроводным или полупроводниковым. Эти усаживающиеся муфты 30, которые могут быть изготовлены из материалов с холодной или горячей усадкой, в общем известны специалистам.
Усаживающаяся муфта 30 содержит первую трубчатую часть 34 и вторую и третью трубчатые части 36, 38, размещенные на обеих сторонах от первой трубчатой части 34. В своей первой трубчатой части 34 муфта 30 фиксированно соединена с первым соединителем 16 так, что в данном варианте осуществления усаживающаяся муфта 30 с первой трубчатой частью 34 усажена на первый соединитель 16. Вторая и третья трубчатые части 36, 38 проходят за второй и третий наконечники 18, 20 и удерживаются в расширенном в радиальном направлении состоянии посредством опорных сердечников 39, 40. Каждый опорный сердечник 39, 40 содержит спирально навитую ленту 42, причем эта лента 42 на осевом конце соответствующего опорного сердечника 39, 40, проксимальном к соответствующему наконечнику 18, 20 первого соединителя 16, приспособлена для удаления из соответствующей второй или третьей трубчатой части 36, 38 усаживающейся муфты 30 путем вытягивания ленты 42 из осевого конца соответствующего опорного сердечника 39, 40, обращенного от наконечника 18, 20. Благодаря этому ленты 42 отделяются виток за витком от остальной части соответствующих опорных сердечников 39, 40. Этот метод опорных сердечников в общем известен специалистам.
Для присоединения двух кабелей 12, 14 к первому соединителю 16 сопряженные второй и третий соединители 44, 46 прикрепляются к соответствующим проводникам 48 кабелей 12, 14. Как показано на фиг.2, каждый из второго и третьего соединителей 44, 46 содержит штепсель 50 для введения в гнезда 22, 24 первого соединителя 16 и приемные пространства 52 для приема кабельных соединителей 48. После введения в приемные пространства 52 соединители 48 могут быть зафиксированы, т.е. механически и, соответственно, электрически присоединены ко второму и третьему соединителям 44, 46 посредством срезных винтов 54 или посредством опрессовки частей второго и третьего соединителей 44, 46, окружающих кабельные проводники 48.
Для соединения кабелей 12 и 14 их различные слои должны быть счищены известным специалистам образом. В частности, внутренний изоляционный слой 56 следует счистить так, чтобы открыть проводник 48 на конце каждого кабеля 12, 14. Кроме того, проводящий кабельный экран 58, окружающий кабельный изоляционный слой 56, металлический кабельный экран 60, размещенный вокруг проводящего кабельного экрана 58, и наружный кабельный кожух 62 очищаются соответственно, как в общем известно в области кабелей промежуточного или высокого напряжения. Когда второй и третий соединители 44, 46 прикреплены к проводникам 48 кабелей 12, 14, эти кабели 12,14 вводятся с противоположных сторон в муфту 30 до тех пор, пока второй и третий соединители 44, 46 не соединятся с первым соединителем 16. Для этой процедуры не нужно никакого установочного положения для муфты 30 ни на одной из сторон первого соединителя 16.
Когда соединители подогнаны друг к другу, как показано на фиг.2, опорные сердечники 39, 40 удаляются из второй и третьей трубчатых частей 36, 38 усаживающейся муфты 30 за счет вытягивания лент 42. При вытягивании за ленту 42 соответствующая трубчатая часть усаживающейся муфты начинает усаживаться на первый соединитель и его соответствующий наконечник 18, 20, соответственно, это выгодно, т.к. воздух внутри расширенных в радиальном направлении частей муфты 30 будет выталкиваться из усаживающейся муфты, начиная с внутреннего конца соответствующей второй или третьей трубчатой части, так что никакого воздуха не остается во второй и третьей трубчатых частях 36, 38 усаживающейся муфты при усаживании этих частей. После этого вторую усаживающуюся муфту 64 помещают на (первую) усаживающуюся муфту 30. Вторая усаживающаяся муфта 64 содержит наружный диэлектрический слой 66, который окружает металлическую экранную муфту 68, размещенную между внутренней усаживающейся муфтой 30 и наружной усаживающейся муфтой 64. Внутренняя усаживающаяся муфта 30 может включать в себя наружный проводящий слой (не показан). Полностью установленное кабельное сращение, содержащее все описанные ранее элементы, показано на фиг.3. За счет внутреннего электропроводного слоя 33 муфты 30, который является внутренним управляющим напряженностью слоем, соединяются кабельные проводящие экраны или экранирующие слои 59 двух кабелей 12, 14. Кабельные металлические экраны 60 двух кабелей 12, 14 электрически соединяются посредством металлической экранной муфты 68, размещенной под наружной или второй усаживающейся муфтой 64.
Фиг.4 показывает альтернативный вариант осуществления заранее собранного трубчатого контактного узла 10 по фиг.1. В варианте осуществления по фиг.4 заранее собранный трубчатый контактный узел 10А отличается от показанного на фиг.1-3 в том, что каждый из опорных сердечников 39, 40 имеет отдельные элементы 39′, 39″, 40′, 40″ сердечника. Каждый из этих элементов сердечника содержит спирально навитую ленту, которую можно вытягивать по отдельности, как показано на фиг.4. Эта конструкция дает некоторую гибкость для второй и третьей трубчатых частей 36, 38 усаживающейся муфты 30, что облегчает введение подлежащих соединению кабелей в противоположные концы усаживающейся муфты 30. Вместо того чтобы иметь два отдельных элемента сердечника для каждой трубчатой части 36 и 38 усаживающейся муфты 30, оба элемента сердечника могут быть спирально навиты посредством одной и той же ленты, так что отдельные намотки этой ленты в каждом из элементов сердечника соединены друг с другом, тогда как лента в своей секции, соединяющей два элемента сердечника на своих боковых сторонах, отделена от соответствующих первый намоток смежных элементов сердечника.
Фиг.5 показывает вид в поперечном сечении еще одного варианта осуществления заранее собранного трубчатого контактного узла 10В для сращения кабеля. В данном варианте осуществления наружную или вторую усаживающуюся муфту 64 непосредственно усаживают на первую усаживающуюся муфту 30 за исключением осевых концов усаживающейся муфты 64, которые проходят за внутреннюю усаживающуюся муфту 30. Наружная усаживающаяся муфта 64 содержит первую трубчатую часть 70, которая усажена на первую трубчатую часть 34 внутренней усаживающейся муфты 30. Кроме того, наружная усаживающаяся муфта 64 содержит вторую и третью трубчатые части 72, 74, имеющие каждая первую долю 76, 78 и вторую долю 80, 82. Внутри первой доли 76, 78 наружную усаживающуюся муфту 64 усаживают на соответствующие вторую и третью трубчатые части 36, 38 внутренней усаживающейся муфты 30. Вторые доли 80, 82 отогнуты назад по отношению к первым долям 76, 78 и удерживаются в расширенном в радиальном направлении состоянии отдельными опорными сердечниками 84, 86. Вторые доли 80, 82 наружной усаживающейся муфты 64 образуют концевые секции, посредством которых наружная усаживающаяся муфта 64 проходит за внутреннюю усаживающуюся муфту 30. Заранее собранный трубчатый контактный узел 10В по фиг.5 обеспечивает достаточно компактную конфигурацию, хотя внутренняя и наружная усаживающиеся муфты 30, 64 уже собраны друг с другом. Поэтому наружная усаживающаяся муфта 64 также не требует никакого установочного положения ни на одном из кабелей 12,14 и ни на одной из сторон кабельного соединения.
При использовании заранее собранного трубчатого контактного узла 10В после подготовки подлежащих соединению кабелей 12, 14 второй и третий соединители 44, 46 присоединяются к первому соединителю 16. После этого второй и третьей трубчатым частям 36, 38 внутренней усаживающейся муфты 30 дают возможность сократиться, для чего соответствующие опорные сердечники 39, 40 удаляются посредством вытягивания за ленты 42. После этого опорные сердечники 84 и 86 удаляются из вторых долей 80, 82 наружной усаживающейся муфты 64, при этом после удаления соответствующей ленты 42 опорного сердечника соответствующая вторая доля 80, 82 должна быть смещена и будет смещена к кабелям 12, 14, чтобы завершить сращение.
Фиг.6-10 показывают различные варианты осуществления размещения наружной усаживающейся муфты 64 относительно внутренней усаживающейся муфты 30. Согласно фиг.6, наружная усаживающаяся муфта 64 поддерживается опорным элементом 88, поддерживающим первую трубчатую часть 70, а также первые доли 76, 78 наружной усаживающейся муфты 64, при этом вторые доли 80, 82 поддерживаются таким же образом, как показано на фиг.5. На фиг.6, как и на фиг.7-10, отдельные опорные сердечники и соответствующие части второй усаживающейся муфты 64 показаны лишь условно.
Согласно фиг.7 наружная усаживающаяся муфта 64 сконструирована как прямая трубка без отогнутых назад ее осевых концов. По всей ей осевой длине наружная усаживающаяся муфта 64 поддерживается опорным сердечником 88.
Согласно фиг.8 наружная усаживающаяся муфта 64 усажена на первую усаживающуюся муфту 30 и поддерживается ею только в своей первой трубчатой части 70. Вторую и третью трубчатые части второй усаживающейся муфты 64 удерживают в расширенном в радиальном направлении состоянии опорными сердечниками 84, 86, которые проходят за концы внутренней усаживающейся муфты 30.
На фиг.9 наружная усаживающаяся муфта 64 поддерживается внутренней усаживающейся муфтой 30 в ее первой, второй и третьей трубчатых частях 34, 36, 38, тогда как вторые доли 80, 82 второй усаживающейся муфты 64 проходят за обе стороны внутренней усаживающейся муфты 30 и поддерживаются опорными сердечниками 84, 86.
Наконец, на фиг.10 показана еще одна альтернатива наружной усаживающейся муфты 64. В этом варианте осуществления наружная усаживающаяся муфта 64 содержит две трубчатых части 90, которые перекрывают друг друга в своих первых трубчатых частях 70 и поддерживаются второй и третьей трубчатыми частями внутренней усаживающейся муфты 30, и поддерживаются опорными сердечниками 84, 86 во вторых долях 80, 82, в которых наружная усаживающаяся муфта 64 проходит за концы внутренней усаживающейся муфты 30.
Следует здесь отметить, что возможно несколько различных размещений внутренней и наружной усаживающихся муфт 30, 64. Показанные примеры не должны иметь ограничивающего аспекта. В частности, следует отметить, что перекрывающаяся конфигурация двух муфтовых частей может также использоваться для внутренней усаживающейся муфты 30.
Фиг.11 показывает другое относительное размещение двух усаживающихся муфт 30 и 64, которые удерживаются в расширенном в радиальном направлении состоянии. Вариант осуществления по фиг.11 содержит комбинацию признаков заранее собранного трубчатого контактного узла 10А по фиг.4 и признаков наружной усаживающейся муфты 64, как показано на фиг.5. В частности, плоскости 92 разделения между двумя элементами 39 , 39 и 40 , 40 сердечника, соответственно, практически совпадают с плоскостью, в которой вторые доли 80, 82 наружной усаживающейся муфты 64 отогнуты назад. В частности, как показано на фиг.11, вторая усаживающаяся муфта 64 в своем состоянии перед ее наложением не проходит за плоскости 92. Соответственно, заранее собранный трубчатый контактный узел по фиг.11 обеспечивает достаточно компактную конструкцию с концевыми частями внутренней усаживающейся муфты 30, проходящими за плоскости 92 и являющимися изгибаемыми, что облегчает введение кабелей в расширенные в радиальном направлении концы внутренней усаживающейся муфты 30.
Фиг.12 показывает вариант осуществления заранее собранного трубчатого контактного узла 10С для использования в разветвлении. Первый соединитель 16 содержит три наконечника 18, 20, 18 , причем два наконечника 18, 18 расположены на одном конце первого соединителя, тогда как третий наконечник 20 размещен на другом конце первого соединителя 16. Усаживающаяся муфта 30 фиксированно размещается на и присоединяется к первому соединителю 16 в первой трубчатой части 34 и проходит за первый соединитель 16 во второй и третьей трубчатых частях 36, 38. В этих частях усаживающаяся муфта 30 удерживается в расширенном в радиальном направлении состоянии посредством опорных сердечников 39, 40. Соответственно, два смежных наконечника 18, 18′ окружены одним и тем же опорным сердечником 39. Как известно специалистам, адаптер (не показан) размещен между и вокруг двух кабелей, подлежащих введению через опорный сердечник 39 в наконечники 18, 18′. После этого опорный сердечник 39 можно удалить вытягиванием ленты 42 из второй трубчатой части 36 усаживающейся муфты 30, чтобы вторая трубчатая часть 36 усаживалась на кабели, в том числе и на этот адаптер. Примеры кабельного ветвления можно найти в патенте Германии 19817219 и в международной заявке WO 99/21259.
На фиг.13 показан вариант осуществления заранее собранного трубчатого контактного узла 10D для использования в применении к кабельному заглушенному концу. Общая конфигурация заранее собранного трубчатого контактного узла 10D идентична показанной на фиг.1. Однако на фиг.13 диэлектрический элемент 94 заглушенного конца вводится во второй соединитель 44, который, в свою очередь, вводится в наконечник 18 первого соединителя 16. На фиг.13 показан заранее собранный трубчатый контактный узел в его полностью собранном состоянии, включая наружную усаживающуюся муфту 64.
Фиг.14 показывает пример заранее собранного трубчатого контактного узла 10Е, который аналогичен показанному на фиг.1 за исключением конструкции соединителей 16 , 44, 46. В варианте осуществления по фиг.14 первый соединитель 16′ снабжен гнездовым наконечником 18 и штепсельным наконечником 18 . Соответственно, второй соединитель 44 содержит штепсель 50, тогда как третий соединитель 46 включает в себя гнездо для приема штепсельного наконечника первого соединителя 16. Второй соединитель 44, а также третий соединитель 46 содержат оба приемные пространства 52 для приема проводников 48 двух подлежащих соединению кабелей 12, 14. В качестве альтернативы, как показано на фиг.13, один из кабелей можно заменить заглушенным концевым элементом, если заранее собранный трубчатый контактный узел 10Е используется для приложения к заглушенному концу.
Фиг.15 показывает заранее собранный трубчатый контактный узел 10F, имеющий первый соединитель 16 , к которому фиксированно прикреплена усаживающаяся муфта 30. Соответственно, конфигурация заранее собранного трубчатого контактного узла 10F аналогична показанной на фиг.1 за исключением конструкции соединителей 16 , 44 и 46. А именно, на фиг.15 первый соединитель 16 содержит два штепселя, образующие наконечники 18, 20. Поэтому второй и третий соединители 44, 46 содержат приемные пространства 96 и гнезда 98 для приема штепселей первого соединителя 16.
Другой вариант осуществления заранее собранного трубчатого контактного узла 10G показан на фиг.16. В этом варианте осуществления диэлектрический слой 66 второй усаживающейся муфты 64 навит в своих второй и третьей трубчатых частях 72, 74 так, чтобы размещаться в первой трубчатой части 34 первой усаживающейся муфты 30. Расширяющие переходы секции между первой трубчатой частью 34 и каждой из второй и третьей трубчатых частей 36, 38 первой усаживающейся муфты 30 помогают предотвратить случайное разматывание второй и третьей трубчатых частей 72, 74 второй усаживающейся муфты 64. Металлическая экранная муфта 68 под диэлектрическим слоем 66 второй усаживающейся муфты 64 проходит между первыми трубчатыми частями 34 и 70 первой и второй усаживающихся муфт 30, 64, соответственно, и собрана в своих остальных частях, размещенных на обеих сторонах двух навитых трубчатых частей 72 и 74, как показано на фиг.16.
Для применения трубчатого контактного узла 10G по фиг.16 два кабеля сначала вводят в опорные сердечники 39 и 40, так что вторые соединители, прикрепленные к кабелям, обеспечат электрический контакт с первым соединителем 16. После этого или перед этим металлическая экранная муфта 68 растягивается в осевом направлении, чтобы покрыть вторую и третью трубчатые части 36, 38 первой усаживающейся муфты 30, а также протянуться за осевые концы первой усаживающейся муфты 30. После этого ленты 42 вытягиваются, чтобы первая трубчатая муфта 30 в своих второй и третьей трубчатых частях 36, 38 последовательно усаживалась на кабели. Одновременно с эти процессом две навитые вторая и третья трубчатые части 72 и 74 второй усаживающейся муфты 64 будут автоматически развиваться вследствие внутреннего натяжения материала диэлектрического слоя 66. Этим процессом разматывания можно управлять вручную, удерживая рулоны или выборочно прикладывая и удаляя стопорные элементы (не показаны), которые предотвращают случайное разматывание рулонов.
На фиг.17 и 18 показано размещение по меньшей мере трех трубчатых контактных узлов 10Н. Эти трубчатые контактные узлы 10Н могут быть идентичны показанным на фиг.1, 4, 14 или 15. Данное размещение по меньшей мере трех трубчатых контактных узлов 10Н можно использовать для размещения трехфазного силового кабеля. Как показано на фиг.18, в их узких средних частях, где первые усаживающиеся муфты 30 трех трубчатых контактных узлов 10Н усажены на соответствующие первые соединители 16, три трубчатых контактных узла 10Н соединены и расположены посредством позиционирующего элемента 100, имеющего три выходящих наружу приемных части 102 для приема трубчатых контактных узлов 10Н в первых трубчатых частях 34 первых усаживающихся муфт 30. Эти три трубчатых контактных узла 10Н размещены рядом друг с другом и соприкасаются друг с другом во вторых и третьих трубчатых частях их усаживающихся муфт 30. Соответственно, три трубчатых контактных узла 10Н размещены треугольным образом. Муфта 104 из ленты окружает позиционирующий элемент 100, а также первые трубчатые части 34 усаживающейся муфты 30 трех трубчатых контактных узлов 10Н, так что эти три трубчатых контактных узла 10Н размещены фиксированно. Вследствие заранее собранного состояния трех трубчатых контактных узлов 10Н можно разместить их так, как показано на фиг.17 и 18, чтобы соединять силовые кабели трехфазной сети, при этом трехфазные кабели можно размещать рядом друг с другом и лишь небольшое пространство нужно вокруг этих трехфазных кабелей при применении размещения трубчатых наконечников по фиг.17 и 18.
Фиг.19 показывает другой вариант осуществления заранее собранного трубчатого контактного узла 10К для сращения кабеля, аналогичного показанному на фиг.1-3 и имеющего гибкий первый соединитель 16. В этом варианте осуществления первый соединитель 16 содержит гибкую среднюю часть 16 , образованную, к примеру, из многопроводного кабеля, к концам которого фиксированно присоединены элементы 16 и 16  гнездового соединителя, к примеру, опрессовкой. Два элемента 16″ и 16″‘ гнездового соединителя содержат приемные пространства 26, 28 для приема штепселей кабелей (не показано), подлежащих присоединению к соединительным элементам 16  , 16 для электрического соединения этих кабелей.
Фиг.20 показывает другой вариант осуществления заранее собранного трубчатого контактного узла 10L для сращения кабеля аналогично показанному на фиг.1-3, при этом одна из трубчатых частей 36, 38 внутренней муфты 30, приспособленная проходить за связанные наконечники 22, 24 первого соединителя 16, отогнута назад, чтобы окружать первый соединитель 16, и в своем отогнутом назад положении поддерживается в расширенном в радиальном направлении состоянии опорным сердечником 39. В данном варианте осуществления одна из второй и третьей трубчатых частей (в данном случае, вторая трубчатая часть 36) отогнута назад поверх первого соединителя 16 и частично другой из второй и третьей трубчатых частей (в данном случае, третьей трубчатой части 38). Эта сложенная конструкция служит для укорочения растяжения в продольном направлении заранее собранного контактного узла, который может иметь преимущество при применении в узких и малых пространствах.
Фиг.21 показывает еще один вариант осуществления заранее собранного трубчатого контактного узла 10М для сращения кабеля аналогично показанному на фиг.20, причем трубчатые части 36, 38 внутренней муфты 30, приспособленные проходить за соответствующие связанные наконечники 22, 24 первого соединителя, отогнуты назад и вложены в свою отогнутую назад часть, которая удерживается в расширенном в радиальном направлении состоянии соответствующими опорными сердечниками 39, 40. Опорный сердечник 40 для третьей трубчатой части 38 муфты 30 размещен так, чтобы отделять части 39′ и 39″ сердечника, поддерживающие соответствующие коаксиально размещенные доли третьей трубчатой части 38. За счет размещения с укладкой отогнутых назад частей обеих второй и третьей трубчатых частей 36 и 38 усаживающейся муфты 30 полную протяженность заранее собранного трубчатого контактного узла в продольном направлении можно еще уменьшить.
Фиг.22 показывает другой вариант осуществления заранее собранного трубчатого контактного узла 10N для сращения кабеля, имеющего свои части внутренней муфты 30, приспособленные проходить за связанные соответствующие наконечники 22, 24 и навитые так, чтобы обеспечить два проходящих по окружности рулона или витка, размещенных на первом соединителе 16. Вторая и третья трубчатые части 36 и 38 внутренней муфты 30 скатаны, как показано на фиг.16 для концевых частей наружной муфты, и могут закрепляться в своих состояниях посредством стопорных элементов, к примеру, образованных как кольцевые элементы, имеющие секции, помещенные между рулонами, и соединитель на своих наконечниках.
Наконец, фиг.23 показывает еще один вариант осуществления заранее собранного трубчатого контактного узла 10Р для сращения кабеля, аналогичного показанному на фиг.22 и содержащего наружную муфту 64, также навитую на его концах проводящей сеткой 68, размещенной между внутренней и наружной муфтами 30, 64 и собранной между соседними рулонами или витками на каждом конце внутренней и наружной муфт 30, 64. Здесь обе из внутренней и наружной муфт 30, 64 навиты на их соответствующих концах. Рулоны наружной усаживающейся муфты 64 размещены в зоне, образованной рулонами внутренней усаживающейся муфты 30. Обе пары рулонов или по меньшей мере наружная пара рулонов внутренней муфты 30 могут крепиться стопорными элементами, как описано выше для варианта осуществления по фиг.22.
Со ссылкой на описанные варианты осуществления, но особенно со ссылкой на вариант осуществления, описанный на фиг.20, следует упомянуть, что внутреннюю муфту 30, содержащую наружный диэлектрический слой 32 и внутренний электропроводный слой, можно получать двумя разными путями. В этом контексте слова внутренняя и наружная относятся к установочному состоянию трубчатого контактного узла. Согласно первому пути выдавливают диэлектрический слой поверх электропроводного или полупроводникового слоя 32. Чтобы привести внутреннюю муфту 30 к виду, показанному на фиг.20, вторую трубчатую часть 38 муфты 30 отгибают назад поверх третьей трубчатой части 38 внутренней муфты 30, чтобы окружить первый соединитель 16. Вторую и третью трубчатые части 36 и 38 муфты 30 удерживают в их расширенных в радиальном направлении состояниях опорными сердечниками 39 и 40. Во время установки после введения кабелей в наконечник и удаления опорных сердечников 39 и 40 вторую трубчатую часть 36 отгибают назад в ее исходное состояние.
Согласно второму пути получения внутренней муфты 30 (обратное получение) выдавливают электропроводный или полупроводниковый слой 32 поверх диэлектрического слоя 33. Чтобы привести внутреннюю муфту к виду, показанному на фиг.20, третью трубчатую часть 38 внутренней муфты 30 отгибают назад во вторую трубчатую часть 36 внутренней муфты 30 поверх соединителя 16. Вторую и третью трубчатые части 36 и 38 муфты 30 удерживают в их расширенных в радиальном направлении состояниях опорными сердечниками 39 и 40. Во время установки после введения кабелей в контактный узел и удаления опорных сердечников 39 и 40 вторую трубчатую часть 36 отгибают по введенному кабелю. Таким образом, вся внутренняя муфта 30 выворачивается наизнанку (после производства внутренней муфты проводящий слой был обращен наружу; после установки трубочного контактного узла проводящий слой обращен внутрь).
Хотя изобретение описано и проиллюстрировано со ссылкой на конкретные иллюстративные варианты его осуществления, это не подразумевает ограничения изобретения этими иллюстративными вариантами осуществления. Специалистам будет понятно, что можно сделать варианты и модификации без отхода от истинного объема изобретения, если они попадают в объем приложенной формулы изобретения и ее эквивалентов.
Формула изобретения
1. Трубчатый контактный узел для кабеля, в частности для кабеля промежуточного или высокого напряжения, содержащий: первый соединитель, включающий по меньшей мере один наконечник для соединения с по меньшей мере одним сопряженным вторым соединителем, приспособленным для соединения с кабелем и сцепленным с первым соединителем для осуществления электрического контакта между ними при присоединении второго соединителя к по меньшей мере одному наконечнику первого соединителя, и усаживающаяся муфта, включающая первую трубчатую часть и вторую трубчатую часть, выступающую от первой трубчатой части, при этом первая трубчатая часть усаживающейся муфты фиксированно размещена вокруг первого соединителя, а вторая трубчатая часть усаживающейся муфты выполнена с возможностью выступать за по меньшей мере один наконечник первого соединителя, чтобы покрывать сопряженный второй соединитель и прикрепленный к нему кабель, когда второй соединитель присоединен к по меньшей мере одному наконечнику первого соединителя.
2. Трубчатый контактный узел по п.1, отличающийся тем, что усаживающаяся муфта содержит материал с холодной усадкой.
3. Трубчатый контактный узел по п.1, отличающийся тем, что вторая трубчатая часть усаживающейся муфты выполнена с возможностью удержания в расширенном в радиальном направлении состоянии опорой, которая выполнена с возможностью удаления из второй трубчатой части.
4. Трубчатый контактный узел по п.3, отличающийся тем, что сердечник содержит спирально навитую ленту, причем эта лента на осевом конце сердечника, проксимальном к наконечнику первого соединителя, выполнена с возможностью удаления из второй трубчатой части усаживающейся муфты путем вытягивания ленты из осевого конца сердечника, обращенного от наконечника первого соединителя, благодаря чему лента способна отделяться виток за витком от остальной части сердечника.
5. Трубчатый контактный узел по п.3, отличающийся тем, что по меньшей мере два сердечника размещены в непосредственной близости друг к другу во второй трубчатой части усаживающейся муфты.
6. Трубчатый контактный узел по п.5, отличающийся тем, что упомянутые по меньшей мере два сердечника имеют разные диаметры.
7. Трубчатый контактный узел по п.1, отличающийся тем, что первый соединитель содержит по меньшей мере один дополнительный наконечник для присоединения к по меньшей мере одному сопряженному третьему соединителю, а усаживающаяся муфта содержит третью трубчатую часть, выступающую от ее первой трубчатой части и выполненную с возможностью выступать за по меньшей мере один дополнительный наконечник первого соединителя для покрытия сопряженного третьего соединителя и присоединенного к нему кабеля или изолятора, когда третий соединитель присоединен к по меньшей мере одному дополнительному наконечнику первого соединителя.
8. Трубчатый контактный узел по п.1, отличающийся тем, что усаживающаяся муфта является первой усаживающейся муфтой, а вторая усаживающаяся муфта размещена вокруг первой усаживающейся муфты, при этом вторая усаживающаяся муфта содержит первую и вторую трубчатые части, причем первая трубчатая часть второй усаживающейся муфты размещена вокруг первой трубчатой части первой усаживающейся муфты, а вторая трубчатая часть второй усаживающейся муфты выполнена с возможностью выступать за по меньшей мере один наконечник первого соединителя для покрытия второй трубчатой части первой усаживающейся муфты и наружного кожуха кабеля.
9. Трубчатый контактный узел по п.1, отличающийся тем, что вторая трубчатая часть второй усаживающейся муфты содержит первый участок, расположенный вблизи первого соединителя, и второй участок, расположенный вблизи первого участка, причем первый участок размещен на второй трубчатой части первой усаживающейся муфты, а второй участок выступает вокруг первого участка, и при этом второй участок выполнен с возможностью удержания в расширенном в радиальном направлении состоянии опорой, которая выполнена с возможностью удаления из второго участка.
10. Трубчатый контактный узел по п.9, отличающийся тем, что третья трубчатая часть второй усаживающейся муфты содержит первый участок, расположенный вблизи первого соединителя, и второй участок, расположенный вблизи первого участка, причем первый участок размещен на третьей трубчатой части первой усаживающейся муфты, а второй участок выступает вокруг первого участка, и при этом второй участок выполнен с возможностью удержания в расширенном в радиальном направлении состоянии опорой, которая выполнена с возможностью удаления из второго участка.
11. Трубчатый контактный узел по п.10, отличающийся тем, что усаживающаяся муфта является первой усаживающейся муфтой, а вокруг первой трубчатой части первой усаживающейся муфты размещена вторая усаживающаяся муфта, при этом вторая усаживающаяся муфта содержит первую трубчатую часть, размещенную вокруг первой трубчатой части первой трубчатой муфты, и вторую трубчатую часть, навитую как рулон, охватывающий первую трубчатую часть первой усаживающейся муфты и/или ее вторую трубчатую часть.
12. Трубчатый контактный узел по п.11, отличающийся тем, что вторая усаживающаяся муфта содержит третью трубчатую часть, навитую как рулон, охватывющий первую трубчатую часть первой усаживающейся муфты и/или ее третью трубчатую часть.
13. Трубчатый контактный узел по п.1, отличающийся тем, что усаживающаяся муфта, первая усаживающаяся муфта и/или вторая усаживающаяся муфта, если они предусмотрены, содержит каждая многослойную усаживающуюся муфту, имеющую по меньшей мере один слой электроизоляционного материала и по меньшей мере один слой электропроводного или полупроводникового материала, протяженного полностью или частично в осевом направлении по длине муфты.
14. Трубчатый контактный узел по п.1, отличающийся тем, что первый соединитель содержит по меньшей мере два наконечника, один из которых содержит соединительное гнездо, имеющее приемное пространство, а другой наконечник содержит соединительный штепсель, и при этом предусмотрены сопряженные второй и третий соединители, причем второй соединитель содержит соединительный штепсель для введения в приемное пространство на одном наконечнике первого соединителя, а третий соединитель содержит соединительное гнездо, имеющее приемное пространство для приема соединительного штепселя на другом наконечнике первого соединителя.
15. Приспособление для соединения кабелей, содержащее по меньшей мере три трубчатых контактных узла по п.1, при этом два трубчатых контактных узла размещены бок о бок, а третий трубчатый контактный узел размещен над и между двумя трубчатыми контактными узлами, причем между ними размещен позиционирующий элемент, имеющий обращенные наружу приемные части для приема первых трубчатых частей усаживающихся муфт по меньшей мере трех трубчатых контактных узлов.
РИСУНКИ
|
|