|
|
(21), (22) Заявка: 2008147640/09, 02.12.2008
(24) Дата начала отсчета срока действия патента:
02.12.2008
(46) Опубликовано: 20.01.2010
(56) Список документов, цитированных в отчете о поиске:
SU 340001 A1, 24.05.1972. RU 2032254 C1, 27.03.1995. RU 1426371 С, 15.10.1994. RU 37877 U1, 10.05.2004. GB 1181953 A, 18.02.1970. JP 2006246203 A, 14.09.2006. GB 864800 A, 06.04.1961.
Адрес для переписки:
140180, Московская обл., г. Жуковский, Гагарина, 3, Открытое акционерное общество “Научно-исследовательский институт Приборостроения имени В.В. Тихомирова”
|
(72) Автор(ы):
Синани Анатолий Исакович (RU), Старшинова Елена Ивановна (RU), Чалых Александр Евгеньевич (RU)
(73) Патентообладатель(и):
Открытое акционерное общество “Научно-исследовательский институт Приборостроения имени В.В. Тихомирова” (RU)
|
(54) ОТРАЖАТЕЛЬНЫЙ СВЧ-ФАЗОВРАЩАТЕЛЬ
(57) Реферат:
Изобретение относится к технике сверхвысокой частоты (СВЧ) и может быть использовано в качестве управляющего элемента фазированной антенной решетки (ФАР) с электронным сканированием луча. Техническим результатом является расширение рабочей полосы частот отражательного фазовращателя в диапазоне температур от -50 до +70°С. Устройство содержит отрезок запредельного прямоугольного волновода с короткозамыкателем и магнитной системой управления полем СВЧ-энергии, а также расположенный внутри отрезка прямоугольного волновода продольно намагниченный ферритово-диэлектрический вкладыш. Для достижения поставленного результата перед короткозамыкателем установлен дополнительный отрезок прямоугольного волновода, причем длина, высота и ширина его выбраны из условия наилучшего согласования основного типа СВЧ-волны и полного затухания высших типов СВЧ-волн. Дополнительный отрезок прямоугольного волновода может быть выполнен полым, а длина и высота дополнительного отрезка прямоугольного волновода могут быть выбраны равными (0,15±0,05) 0, а ширина равной (0,6±0,05) 0, где
0 – длина СВЧ-волны в свободном пространстве. 2 з.п. ф-лы, 2 ил.
Предлагаемое техническое решение относится к технике сверхвысокой частоты (СВЧ) и может быть использовано в качестве управляющего элемента фазированной антенной решетки (ФАР) с электронным сканированием луча.
Известен СВЧ-фазовращатель (см. патент RU 1426371, МПК Н01Р 1/19, опубл. 15.10.1994), содержащий переход от прямоугольного волновода к круглому, подключенный к нему волноводный тройник с Е-плечом, взаимный преобразователь поляризации, фазовую секцию и невзаимный преобразователь поляризации, выполненные на отрезке круглого волновода, заполненного ферритом, магнитную систему фазовой секции, переход от круглого волновода к прямоугольному, причем взаимный преобразователь поляризации, фазовая секция, невзаимный преобразователь поляризации и переход от круглого волновода к прямоугольному последовательно соединены, причем вход взаимного преобразователя поляризации подключен к выходу волноводного тройника с Е-плечом, а магнитная система фазовой секции выполнена в виде соленоида, намотанного на входной части отрезка круглого волновода.
Известен СВЧ-фазовращатель (см. патент RU 2032254, МПК Н01Р 1/185, опубл. 27.03.1995), содержащий управляемый фазосдвигатель и первый и второй 3-дБ мосты, соединенные через первый и второй проходные фазосдвигатели, причем одно выходное плечо второго 3-дБ моста является первым выходом СВЧ-фазовращателя, проходные фазовращатели выполнены с фазовым сдвигом 0-180°, управляемый фазосдвигатель подключен к первому входному плечу первого моста – первому входу СВЧ-фазовращателя, второе входное плечо первого моста является вторым выходом СВЧ-фазовращателя.
Наиболее близким по технической сущности к заявляемому изобретению является «Отражающий ферритовый фазовращатель СВЧ с импульсным управлением» (AC SU 340001, МПК Н01Р 01/18, публикация 24.05.72), содержащий отрезок короткозамкнутой передающей линии, катушку управления, ферритовый вкладыш и короткозамкнутую перемычку, причем ферритовый элемент разделен короткозамкнутой перемычкой, а большая его часть расположена вне поля СВЧ.
Недостатками известных СВЧ ферритовых фазовращателей является узкая рабочая полоса частот в диапазоне температур от – 50 до +70°С.
Технический результат предлагаемого решения заключается в расширении рабочей полосы частот отражательного фазовращателя в диапазоне температур от -50 до +70°С. Сущность предлагаемого технического решения состоит в том, что отражательный СВЧ-фазовращатель содержит отрезок запредельного прямоугольного волновода с короткозамыкателем и магнитной системой управления полем СВЧ-энергии, а также расположенный внутри отрезка прямоугольного волновода продольно намагниченный ферритово-диэлектрический вкладыш.
Новыми признаками предлагаемого изобретения является то, что перед короткозамыкателем установлен дополнительный отрезок прямоугольного волновода, причем длина, высота и ширина его выбраны из условия наилучшего согласования основного типа СВЧ-волны и полного затухания высших типов СВЧ-волн. Кроме того, дополнительный отрезок прямоугольного волновода может быть выполнен полым, а длина и высота дополнительного отрезка прямоугольного волновода выбраны равными (0,15±0,05) 0, ширина равной (0,6±0,05) 0, где 0 – длина СВЧ-волны в свободном пространстве.
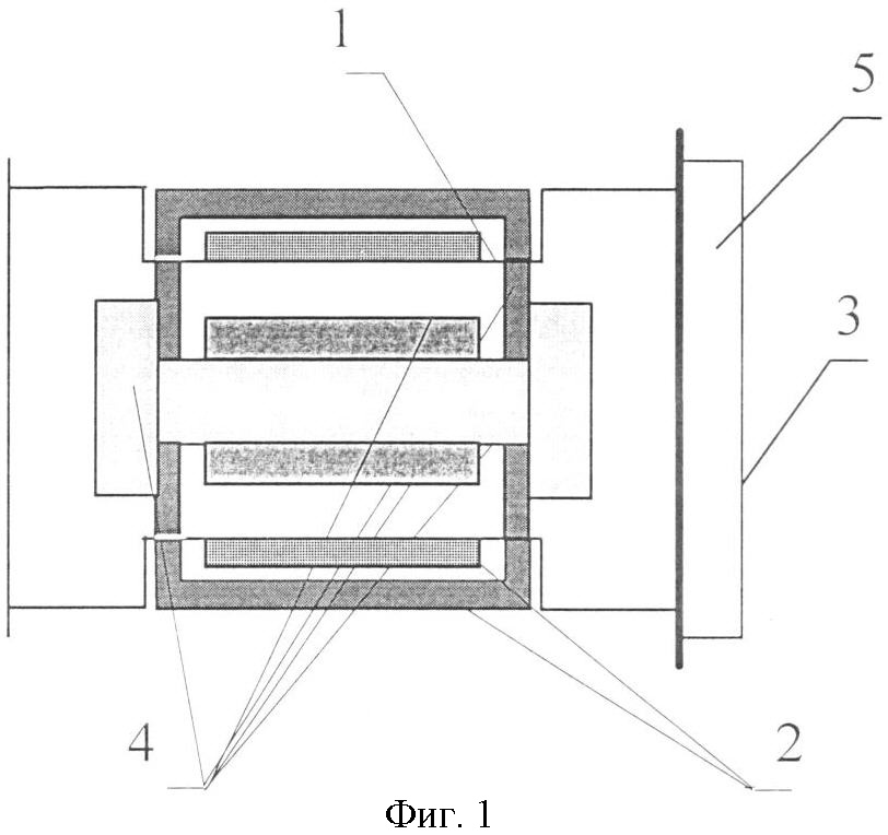
Отражательный СВЧ-фазовращатель состоит из отрезка запредельного прямоугольного волновода 1 с магнитной системой управления полем СВЧ-энергии 2, короткозамыкателя 3, расположенного внутри отрезка запредельного прямоугольного волновода продольно-намагниченного ферритово-диэлектрического вкладыша 4, дополнительного отрезка прямоугольного волновода 5.
На фиг.1 представлен отражательный СВЧ-фазовращатель.
На фиг.2 – частотная зависимость потерь.
Отражательный СВЧ-фазовращатель работает следующим образом: в отрезке запредельного прямоугольного волновода 1, внутри которого установлен продольно намагниченный ферритово-диэлектрический вкладыш 4, распространяются три волны: рабочая волна квази Н10 и паразитные квази H01 и Е11. Изменяя размеры ферритово-диэлектрического вкладыша 4 можно передвинуть начало распространения волны H01 за пределы рабочей полосы частот, однако условия распространения волн квази Н10 и Е11 близки, поэтому паразитная волна Е11 присутствует во всей полосе работы фазовращателя. Постоянные распространения волн квази Н10 и H01 сильно зависят от подмагничивания, а постоянная распространения волны квази Е11 от подмагничивания практически не зависит. Частотная зависимость потерь фазовращателя имеет вид (фиг.2), где
f1 – частота отсечки волны квази Н10,
f2 и f3 – частоты, на которых резонирует волна квази Е11,
f4 – частота, на которой начинается распространение волны квази Н01.
Рабочая полоса частот заключена между резонансами f2 и f3, которые при изменении подмагничивания пропадают и появляются вновь, но положения своего по частоте не меняют, поскольку постоянная распространения волны квази Е11 не меняется с подмагничиванием и, следовательно, волна квази Е11 не изменяет своего фазового сдвига.
Полоса частот между резонансами f2 и f3 обратно пропорциональна длине ферритово-диэлектрического вкладыша 4.
В предлагаемом отражательном СВЧ-фазовращателе перед короткозамыкателем устанавливается дополнительный отрезок прямоугольного волновода 5, согласованного с фазовращателем по рабочей волне квази Н10. Размеры второго отрезка прямоугольного волновода: ширина, высота и длина выбраны таким образом, чтобы волна квази Е11, проходя через этот отрезок волновода, практически полностью затухла, например, длина и высота дополнительного отрезка прямоугольного волновода равными (0,15±0,05) 0, а ширина равной (0,6±0,05) 0, где 0 – длина СВЧ-волны в свободном пространстве, а дополнительный отрезок прямоугольного волновода полым.
Следовательно, волна Е11 уже не отражается от короткозамыкателя и не проходит через ферритово-диэлектрический сердечник дважды, а это значит, что рабочая полоса частот становится шире. Это расширение рабочей полосы частот в зависимости от диапазона частот составляет (1,3-2,0) раза, на более низких частотах расширение рабочей полосы больше, на более высоких – меньше, т.к. на более высоких частотах фазовращатель имеет более широкую рабочую полосу частот. Несмотря на то, что резонансы f3 и f4 смещаются в сторону рабочего диапазона при плюсовых температурах, а резонанс f2 и запредельность f1 – при минусовых, предлагаемый отражательный СВЧ-фазовращатель обеспечивает расширение рабочей полосы частот в широком диапазоне температуре в (1,3-2,0) раза.
Формула изобретения
1. Отражательный СВЧ-фазовращатель, содержащий отрезок запредельного прямоугольного волновода с короткозамыкателем и магнитной системой управления полем СВЧ-энергии, а также расположенный внутри отрезка запредельного прямоугольного волновода продольно намагниченный ферритово-диэлектрический вкладыш, отличающийся тем, что перед короткозамыкателем установлен дополнительный отрезок прямоугольного волновода, причем длина, высота и ширина его выбраны из условия наилучшего согласования основного типа СВЧ-волны и полного затухания высших типов СВЧ-волн.
2. Отражательный СВЧ-фазовращатель по п.1, отличающийся тем, что дополнительный отрезок прямоугольного волновода выполнен полым.
3. Отражательный СВЧ-фазовращатель по п.1, отличающийся тем, что длина и высота дополнительного отрезка прямоугольного волновода выбраны равными (0,15±0,05) 0, а ширина, равной (0,6±0,05) 0, где 0 – длина СВЧ-волны в свободном пространстве.
РИСУНКИ
|
|