|
|
(21), (22) Заявка: 2008122553/09, 11.12.2006
(24) Дата начала отсчета срока действия патента:
11.12.2006
(30) Конвенционный приоритет:
12.12.2005 JP 2005-357543 16.03.2006 JP 2006-073071 22.11.2006 JP 2006-316178
(46) Опубликовано: 20.01.2010
(56) Список документов, цитированных в отчете о поиске:
US 2005097917 А1, 12.05.2005. RU 2192356 C2, 10.11.2002. US 2005039959 А1, 24.02.2005. US 2002184908 А1, 12.12.2002.
(85) Дата перевода заявки PCT на национальную фазу:
14.07.2008
(86) Заявка PCT:
IB 2006/003552 20061211
(87) Публикация PCT:
WO 2007/069022 20070621
Адрес для переписки:
125009, Москва, а/я 332, ЗАО “Инэврика”, С.О.Шолоховой
|
(72) Автор(ы):
ИШИКАВА Томотака (JP)
(73) Патентообладатель(и):
ТОЙОТА ДЗИДОСЯ КАБУСИКИ КАЙСЯ (JP)
|
(54) СИСТЕМА И СПОСОБ ОХЛАЖДЕНИЯ ТОПЛИВНОГО ЭЛЕМЕНТА
(57) Реферат:
Изобретение относится к системе и способу охлаждения топливного элемента. Согласно изобретению система (100) охлаждения топливного элемента снабжена основным каналом (102) для охлаждающего вещества и перепускным каналом (104) для охлаждающего вещества, который расположен параллельно основному каналу (102) для охлаждающего вещества и отводит охлаждающее вещество, протекающее через каналы для охлаждающего вещества. В основном канале (102) для охлаждающего вещества устанавливаются радиатор (110) и циркуляционный насос WP (130) и подобные устройства. Охлаждающее вещество из основного канала (102) для охлаждающего вещества поступает в перепускной канал (104) для охлаждающего вещества и достигает второго теплообменника (120) через корпус двигателя (50) воздушного компрессора (АСР) 48 и т.д. Во втором теплообменнике (120) осуществляется теплообмен с каналом (80) для питающего газа, после чего охлаждающее вещество возвращается в основной канал (102) для охлаждающего вещества. Способ, посредством которого охлаждающее вещество распределяется, может изменяться в зависимости от того, где охлаждающее вещество отводится из основного канала (102) для охлаждающего вещества и месторасположения циркуляционного насоса (130). Техническим результатом является упрощение конструкции, эффективное использование охлаждающего вещества, согласованное управление системой охлаждения батареи топливных элементов и другой системой теплообмена системы охлаждения топливного элемента. 9 н. и 2 з.п. ф-лы, 19 ил.
ПРЕДПОСЫЛКИ СОЗДАНИЯ ИЗОБРЕТЕНИЯ
1. Область техники, к которой относится изобретение
[0001] Настоящее изобретение имеет отношение к системе и способу охлаждения топливного элемента, который вырабатывает электричество посредством электрохимической реакции, осуществляемой за счет подачи топливного газа на сторону анода и подачи окисляющего газа на сторону катода.
2. Описание соответствующего уровня техники
[0002] Топливные элементы используются в транспортных средствах, поскольку они оказывают малое воздействие на окружающую среду. Топливный элемент вырабатывает требуемую энергию путем, например, подачи топливного газа, такого как водород, на сторону анода батареи топливных элементов и окисляющего газа, содержащего кислород, как, например, воздух, на сторону катода и осуществления реакции между ними через электролитическую мембрану. Во время этой реакции в топливном элементе выделяется тепло, так что для его охлаждения охлаждающее вещество, такое как охлаждающая вода, циркулирует через батарею топливных элементов, а затем охлаждается посредством радиатора или аналогичного устройства. Для подогрева холодного топливного элемента при запуске охлаждающее вещество подогревается до соответствующей температуры с помощью, например, нагревателя. Таким образом, охлаждающее вещество циркулирует через батарею топливных элементов, и его температура регулируется.
[0003] Кроме того, для соответствующего повышения давления окисляющего газа, подаваемого на сторону катода батареи топливных элементов, используется газовый компрессор, такой как воздушный компрессор (АСР). Когда воздушный компрессор (АСР) работает, он также выделяет тепло, и поэтому охлаждается посредством теплообменника, называемого промежуточным охладителем. В дополнение к этому транспортные средства оснащаются также теплообменником для кондиционирования воздуха в кабине. Таким образом, транспортные средства оборудуются различными теплообменниками для различных целей, то есть было бы целесообразно рассмотреть их совместное использование.
[0004] Например, в публикации японской патентной заявки JP-A-2005-79007 дается описание системы топливных элементов, которая предотвращает засорение и в то же время способствует подпитке при недостаточной влажности из увлажнителя, предусмотренного на стороне катода топливного элемента. Здесь и охлаждающее вещество для охлаждения подаваемого на катод газа, и охлаждающее вещество для охлаждения батареи топливных элементов используются совместно, и батарея топливных элементов подсоединяется последовательно к каналу для охлаждающего вещества. В середине этого канала для охлаждающего вещества размещаются два трехходовых клапана, которые изменяют направление потока охлаждающего вещества в зависимости от того, высокой или низкой является температура топливного элемента.
[0005] Кроме того, в опубликованной заявке 2005-514261 при переходе на национальную фазу в Японии заявки РСТ дано описание способа нагрева и охлаждения транспортного средства, имеющего топливный элемент в качестве кондиционера и источника нагрева, который легко компенсирует недостаток тепла при низкой наружной температуре и который также обеспечивает достаточное охлаждение топливного элемента и комфортное кондиционирование воздуха при высокой наружной температуре. Согласно изложенной в данной публикации технологии для охлаждения источника нагрева и обеспечения кондиционирования воздуха в транспортном средстве используется общее охлаждающее вещество, то есть используется только один контур охлаждающего вещества. Этот контур охлаждающего вещества разветвляется на первый подконтур и второй подконтур. Первый подконтур направляет охлаждающее вещество в устройство с топливными элементами, а второй подконтур направляет охлаждающее вещество в кондиционер транспортного средства. Пройдя через эти устройства, раздельные потоки охлаждающего вещества снова сливаются вместе в точке слияния. Таким образом, теплообменник устройства с топливными элементами и теплообменник кондиционера устанавливаются последовательно в одном контуре.
[0006] В известном уровне техники при независимом управлении этими теплообменниками контур охлаждающего вещества и система управления им независимы друг от друга, что неудобно. Когда система охлаждения батареи топливных элементов и система охлаждения подаваемого на катод газа регулируются независимо, температура подаваемого на катод газа, входящего в батарею топливных элементов, определяется системой охлаждения подаваемого на катод газа, а температура подаваемого на катод газа, выходящего из батареи топливных элементов (так называемого катодного отходящего газа), определяется главным образом системой охлаждения батареи топливных элементов. Если две эти системы охлаждения регулируются независимо друг от друга, то разность температур подаваемого на катод газа, входящего в батарею топливных элементов, и катодного отводящего газа может оказаться слишком большой, что может привести к следующим проблемам.
[0007] Например, параллельно батарее топливных элементов предусматривается увлажнитель для соответствующего увлажнения подаваемого на катод газа и подачи этого увлажненного газа в батарею топливных элементов, но разность температур между двумя концами увлажнителя может стать слишком большой. Используемый увлажнитель может иметь общеизвестную трубчатую конструкцию, однако, если разность температур между концами увлажнителя становится слишком большой, то эта трубчатая конструкция может оказаться поврежденной и не работать должным образом. Поэтому наличие независимых друг от друга контуров охлаждающего вещества и систем управления ими для каждого из теплообменников топливных элементов не только усложняет подобную конструкцию, но также приводит к неэффективному использованию охлаждающего вещества и может привести к описанным выше неполадкам.
[0008] В публикации японской патентной заявки JP-A-2005-79007 и в опубликованной заявке 2005-514261 при переходе заявки РСТ на национальную фазу в Японии описывается известный уровень техники, в котором совместно используются охлаждающее вещество для охлаждения подаваемого на катод газа и охлаждающее вещество для охлаждения батареи топливных элементов, и общее охлаждающее вещество используется для охлаждения топливного элемента, т.е. источника нагрева, и для обеспечения кондиционирования воздуха в салоне транспортного средства. В этих технологиях батарея топливных элементов и другой теплообменник для охлаждения устанавливаются последовательно в канал для охлаждающего вещества и используют одно и то же охлаждающее вещество. В результате регулирование температуры батареи топливных элементов и регулирование температур подаваемого на катод газа и салона транспортного средства являются независимыми. Соответственно, хотя охлаждающее вещество в этих технологиях используется более эффективно, соответствующие температуры невозможно регулировать независимо. Т.е. регулировать должным образом эти температуры также трудно, как и тогда, когда соответствующие системы управления являются независимыми.
[0009] Таким образом, в известном уровне техники регулирование температуры батареи топливных элементов и регулирование температуры подаваемого на катод газа и салона транспортного средства осуществляются несогласованно.
КРАТКОЕ ИЗЛОЖЕНИЕ СУЩНОСТИ ИЗОБРЕТЕНИЯ
[0010] В свете вышеизложенных проблем настоящим изобретением предусматривается система охлаждения топливного элемента, которая согласованно управляет системой охлаждения батареи топливных элементов и другой системой теплообмена.
[0011] Один из аспектов изобретения относится к системе охлаждения топливного элемента, вырабатывающего электроэнергию посредством электрохимической реакции, осуществляемой за счет подачи топливного газа на сторону анода и окисляющего газа на сторону катода, которая характеризуется тем, что она включает канал для охлаждающего вещества, по которому охлаждающее вещество циркулирует между батареей топливных элементов и радиатором, и второй теплообменник, который предусмотрен параллельно батарее топливных элементов и использует охлаждающее вещество, отводимое из канала для охлаждающего вещества.
[0012] Кроме того, другой аспект изобретения относится к системе охлаждения топливного элемента, вырабатывающего электроэнергию посредством электрохимической реакции, осуществляемой за счет подачи топливного газа на сторону анода и окисляющего газа на сторону катода, которая характеризуется тем, что она включает канал для охлаждающего вещества, по которому охлаждающее вещество циркулирует между батареей топливных элементов и радиатором, и второй теплообменник, который предусмотрен параллельно радиатору и использует охлаждающее вещество, отводимое из канала для охлаждающего вещества.
[0013] Кроме того, второй теплообменник может также служить в качестве устройства охлаждения газового компрессора для подачи окисляющего газа.
[0014] Кроме того, топливный элемент может быть топливным элементом для транспортного средства, смонтированным на транспортном средстве, параллельно батарее топливных элементов может быть предусмотрен теплообменник системы кондиционирования воздуха для кондиционирования салона транспортного средства, и в теплообменнике системы кондиционирования воздуха может быть использовано охлаждающее вещество, отводимое из канала для охлаждающего вещества.
[0015] Также система охлаждения топливного элемента может включать циркуляционный насос для охлаждающего вещества, установленный последовательно в канале для охлаждающего вещества, и увлажнитель, установленный параллельно относительно впуска на сторону катода батареи топливных элементов, через который окисляющий газ подается на сторону катода топливного элемента, и выпуска со стороны катода батареи топливных элементов, через который происходит выпуск газа. Увлажнитель может быть установлен между выходом циркуляционного насоса для охлаждающего вещества и входом батареи топливных элементов, а второй теплообменник может использовать охлаждающее вещество, отбираемое между выходом из радиатора и входов в циркуляционный насос для охлаждающего вещества.
[0016] Также система охлаждения топливного элемента может включать циркуляционный насос для охлаждающего вещества, установленный последовательно в канале для охлаждающего вещества, и увлажнитель, установленный параллельно относительно впуска на сторону катода батареи топливных элементов, через который окисляющий газ подается на сторону катода топливного элемента, и выпуска из стороны катода батареи топливных элементов, через который происходит выпуск газа. Увлажнитель может быть установлен между выходом циркуляционного насоса для охлаждающего вещества и входом батареи топливных элементов, а второй теплообменник может использовать охлаждающее вещество, отбираемое между выходом из циркуляционного насоса для охлаждающего вещества и входом в увлажнитель.
[0017] Также система охлаждения топливного элемента может включать циркуляционный насос для охлаждающего вещества, установленный последовательно в канале для охлаждающего вещества, и увлажнитель, установленный параллельно относительно впуска на сторону катода батареи топливных элементов, через который окисляющий газ подается на сторону катода топливного элемента, и выпуска из стороны катода батареи топливных элементов, через который происходит выпуск газа. Увлажнитель может быть установлен между входом циркуляционного насоса для охлаждающего вещества и выходом радиатора, а второй теплообменник может использовать охлаждающее вещество, отбираемое между выходом из радиатора и входом в увлажнитель.
[0018] Также система охлаждения топливного элемента может включать циркуляционный насос для охлаждающего вещества, установленный последовательно в канале для охлаждающего вещества, и увлажнитель, установленный параллельно относительно впуска на сторону катода батареи топливных элементов, через который окисляющий газ подается на сторону катода топливного элемента, и выпуска из стороны катода батареи топливных элементов, через который происходит выпуск газа. Увлажнитель может быть установлен между выходом циркуляционного насоса для охлаждающего вещества и входом батареи топливных элементов, а теплообменник системы кондиционирования воздуха может использовать охлаждающее вещество, отбираемое между выходом из увлажнителя и входом в батарею топливных элементов.
[0019] Также система охлаждения топливного элемента может включать циркуляционный насос для охлаждающего вещества, установленный последовательно в канале для охлаждающего вещества, и увлажнитель, установленный параллельно относительно впуска на сторону катода батареи топливных элементов, через который окисляющий газ подается на сторону катода топливного элемента, и выпуска со стороны катода батареи топливных элементов, через который происходит выпуск газа. Увлажнитель может быть установлен между выходом циркуляционного насоса для охлаждающего вещества и входом батареи топливных элементов, а теплообменник системы кондиционирования воздуха может использовать охлаждающее вещество, отбираемое между выходом из радиатора и входом в циркуляционный насос для охлаждающего вещества.
[0020] Также система охлаждения топливного элемента может включать циркуляционный насос для охлаждающего вещества, установленный последовательно в канале для охлаждающего вещества, увлажнитель, установленный параллельно относительно впуска на сторону катода батареи топливных элементов, через который окисляющий газ подается на сторону катода топливного элемента, и выпуска из стороны катода батареи топливных элементов, через который происходит выпуск газа, и средство переключения положения перепуска для переключения в положение по крайней мере впуска или выпуска перепускного канала, который отводит охлаждающее вещество из канала для охлаждающего вещества во второй теплообменник.
[0021] Также система охлаждения топливного элемента может включать циркуляционный насос для охлаждающего вещества, установленный последовательно в канале для охлаждающего вещества, увлажнитель, установленный параллельно относительно впуска на сторону катода батареи топливных элементов, через который окисляющий газ подается на сторону катода топливного элемента, и выпуска из стороны катода батареи топливных элементов, через который происходит выпуск газа, и средство переключения положения перепуска для переключения положения по крайней мере впуска или выпуска перепускного канала, который отводит охлаждающее вещество из канала для охлаждающего вещества в теплообменник системы кондиционирования воздуха.
[0022] Также система охлаждения топливного элемента может включать первый циркуляционный насос для охлаждающего вещества, установленный последовательно в канале для охлаждающего вещества; перепускной канал системы кондиционирования воздуха, который представляет собой перепускной канал, по которому протекает охлаждающее вещество, отводимое из канала для охлаждающего вещества, и в котором предусмотрены теплообменник системы кондиционирования воздуха, нагреватель и второй циркуляционный насос для охлаждающего вещества; циркуляционный канал, предусмотренный параллельно с перепускным каналом системы кондиционирования воздуха; и средство переключения перепуска системы кондиционирования воздуха для переключения соединения между перепускным каналом системы кондиционирования воздуха и каналом для охлаждающего вещества и соединения между перепускным каналом системы кондиционирования воздуха и циркуляционным каналом.
[0023] Кроме того, средство переключения перепуска системы кондиционирования воздуха может производить переключение между подключением замкнутого контура, когда перепускной канал системы кондиционирования воздуха и циркуляционный канал соединяются в замкнутый контур и отключаются от канала для охлаждающего вещества, и прямым подключением, когда перепускной канал системы кондиционирования воздуха и канал для охлаждающего вещества соединяются напрямую и отключаются от циркуляционного канала.
[0024] Второй циркуляционный насос может быть насосом, который работает более эффективно, чем первый циркуляционный насос, когда расход охлаждающего вещества невелик, и также может быть предусмотрено средство управления работой насосов для управления работой первого циркуляционного насоса и работой второго циркуляционного насоса согласованно друг с другом в соответствии с рабочим состоянием топливного элемента и для остановки первого циркуляционного насоса и обеспечения циркуляции охлаждающего вещества в батарею топливных элементов с использованием второго циркуляционного насоса, когда топливный элемент работает с малой нагрузкой.
[0025] Кроме того, система охлаждения топливного элемента согласно настоящему изобретению может включать циркуляционный насос для охлаждающего вещества, установленный последовательно в канале для охлаждающего вещества, а второй теплообменник может отбирать охлаждающее вещество между входом радиатора и выходом батареи топливных элементов и возвращать охлаждающее вещество между выходом радиатора и входом батареи топливных элементов.
[0026] Кроме того, система охлаждения топливного элемента согласно настоящему изобретению может включать циркуляционный насос для охлаждающего вещества, установленный последовательно в канале для охлаждающего вещества, а второй теплообменник может отбирать охлаждающее вещество между выходом циркуляционного насоса для охлаждающего вещества и входом батареи топливных элементов.
[0027] Кроме того, система охлаждения топливного элемента согласно настоящему изобретению может включать циркуляционный насос для охлаждающего вещества, установленный последовательно в канале для охлаждающего вещества, а теплообменник системы кондиционирования воздуха может отбирать охлаждающее вещество между выходом циркуляционного насоса для охлаждающего вещества и входом батареи топливных элементов.
[0028] Кроме того, система охлаждения топливного элемента согласно настоящему изобретению может включать циркуляционный насос для охлаждающего вещества, установленный последовательно в канале для охлаждающего вещества, а теплообменник системы кондиционирования воздуха может отбирать охлаждающее вещество между выходом батареи топливных элементов и входом радиатора.
[Результаты изобретения]
[0029] По крайней мере одна из вышеописанных конструкций включает канал для охлаждающего вещества, по которому охлаждающее вещество циркулирует между батареей топливных элементов и радиатором, и второй теплообменник, предусмотренный параллельно батарее топливных элементов и использующий охлаждающее вещество, которое отводится из канала для охлаждающего вещества. Кроме того, по крайней мере одна из вышеописанных конструкций включает канал для охлаждающего вещества, по которому охлаждающее вещество циркулирует между батареей топливных элементов и радиатором, и второй теплообменник, предусмотренный параллельно радиатору и использующий охлаждающее вещество, которое отводится из канала для охлаждающего вещества. Таким образом, охлаждающее вещество используется совместно батареей топливных элементов и вторым теплообменником. Поскольку основной канал для охлаждающего вещества, который проходит через радиатор, и перепускной канал для охлаждающего вещества, который проходит через второй теплообменник, параллельны друг другу, систему охлаждения батареи топливных элементов и систему второго теплообменника можно регулировать согласовано посредством регулирования коэффициента распределения (т.е. соотношения между охлаждающим веществом, протекающим через основной канал для охлаждающего вещества, и охлаждающим веществом, протекающим через перепускной канал для охлаждающего вещества). Этот коэффициент распределения можно также регулировать путем настройки или изменения отношения сопротивлений основного канала для охлаждающего вещества и перепускного канала для охлаждающего вещества, места установки насоса подачи охлаждающего вещества и места установки циркуляционного насоса для охлаждающего вещества. Альтернативно коэффициент распределения можно регулировать посредством определения количества охлаждающего вещества, используя управляющий клапан, который регулирует коэффициент распределения. Отношение сопротивлений каналов может также быть настроено в соответствии с местом, где перепускной канал для охлаждающего вещества отделяется от основного канала для охлаждающего вещества, и формой каналов, и т.п.
[0030] Кроме того, второй теплообменник служит также в качестве устройства охлаждения газового компрессора для подачи окисляющего газа. Поэтому можно согласовано управлять системой охлаждения батареи топливных элементов и системой охлаждения газового компрессора для подачи окисляющего газа в сочетании.
[0031] Более того, параллельно с батареей топливных элементов предусмотрен теплообменник системы кондиционирования воздуха для кондиционирования воздуха в салоне транспортного средства, и охлаждающее вещество отбирается из канала для охлаждающего вещества. Поэтому можно согласовано управлять системой охлаждения батареи топливных элементов и системой кондиционирования воздуха в салоне транспортного средства в сочетании. Дополнительно можно согласовано управлять в комбинации системой охлаждения батареи топливных элементов, системой охлаждения газового компрессора для подачи окисляющего газа и системой кондиционирования воздуха в салоне транспортного средства.
[0032] Кроме того, в системе охлаждения топливного элемента коэффициент распределения охлаждающего вещества различается в зависимости от конструкции системы охлаждения, в особенности от места, в котором установлен циркуляционный насос. Поэтому конструкцию системы охлаждения можно выбрать в соответствии с тем, каким образом охлаждающее вещество должно распределяться между батареей топливных элементов, вторым теплообменником и теплообменником системы кондиционирования воздуха.
[0033] В соответствии по крайней мере с одной из вышеизложенных конструкций увлажнитель устанавливается между выходом циркуляционного насоса для охлаждающего вещества и входом батареи топливных элементов, а второй теплообменник использует охлаждающее вещество, отбираемое между выходом радиатора и входом циркуляционного насоса для охлаждающего вещества. В соответствии с этой конструкцией (количество охлаждающего вещества, протекающего через радиатор) + (количество охлаждающего вещества, протекающего через второй теплообменник) = полному количеству охлаждающего вещества = (количеству охлаждающего вещества, протекающего через батарею топливных элементов) + (количество охлаждающего вещества, протекающего через увлажнитель). Таким образом, если (количество охлаждающего вещества, протекающего через увлажнитель) уменьшается, то значительное количество охлаждающего вещества может быть подано в батарею топливных элементов.
[0034] Кроме того, в соответствии, по крайней мере, с одной из вышеизложенных конструкций увлажнитель установлен между выходом циркуляционного насоса для охлаждающего вещества и входом батареи топливных элементов, а второй теплообменник использует охлаждающее вещество, отбираемое между выходом циркуляционного насоса для охлаждающего вещества и входом увлажнителя. В соответствии с этой конструкцией (количество охлаждающего вещества, протекающего через радиатор) = полному количеству охлаждающего вещества = (количество охлаждающего вещества, протекающего через второй теплообменник) + (количество охлаждающего вещества, протекающего через батарею топливных элементов) + (количество охлаждающего вещества, протекающего через увлажнитель). Таким образом, в радиатор может быть подано максимальное количество охлаждающего вещества.
[0035] Кроме того, в соответствии, по крайней мере, с одной из вышеизложенных конструкций увлажнитель установлен между входом циркуляционного насоса для охлаждающего вещества и выходом радиатора, а второй теплообменник использует охлаждающее вещество, отбираемое между выходом радиатора и входом увлажнителя. В соответствии с этой конструкцией (количество охлаждающего вещества, протекающего через радиатор) + (количество охлаждающего вещества, протекающего через второй теплообменник) + (количество охлаждающего вещества, протекающего через увлажнитель) = полному количеству охлаждающего вещества = (количеству охлаждающего вещества, протекающего через батарею топливных элементов). Таким образом, в батарею топливных элементов может быть подано максимальное количество охлаждающего вещества.
[0036] Кроме того, в соответствии, по крайней мере, с одной из вышеизложенных конструкций циркуляционный насос для охлаждающего вещества установлен последовательно в канал для охлаждающего вещества, увлажнитель устанавливается между выходом циркуляционного насоса для охлаждающего вещества и входом батареи топливных элементов, а теплообменник системы кондиционирования воздуха использует охлаждающее вещество, отбираемое между выходом увлажнителя и входом батареи топливных элементов. В соответствии с этой конструкцией (количество охлаждающего вещества, протекающего через радиатор)+(количество охлаждающего вещества, протекающего через второй теплообменник) = полному количеству охлаждающего вещества = (количество охлаждающего вещества, протекающего через увлажнитель) + (количество охлаждающего вещества, протекающего через батарею топливных элементов) + (количество охлаждающего вещества, протекающего через теплообменник системы кондиционирования воздуха). Таким образом, охлаждающее вещество может быть подано в теплообменник системы кондиционирования воздуха, в то время как соответствующее количество охлаждающего вещества подается в батарею топливных элементов.
[0037] Кроме того, в соответствии, по крайней мере, с одной из вышеизложенных конструкций циркуляционный насос для охлаждающего вещества установлен последовательно в канал для охлаждающего вещества, увлажнитель установлен между выходом циркуляционного насоса для охлаждающего вещества и входом батареи топливных элементов, а теплообменник системы кондиционирования воздуха использует охлаждающее вещество, отбираемое между выходом радиатора и входом циркуляционного насоса для охлаждающего вещества. В соответствии с этой конструкцией (количество охлаждающего вещества, протекающего через радиатор) + (количество охлаждающего вещества, протекающего через теплообменник системы кондиционирования воздуха) + (количество охлаждающего вещества, протекающего через второй теплообменник) = полному количеству охлаждающего вещества = (количество охлаждающего вещества, протекающего через увлажнитель) + (количество охлаждающего вещества, протекающего через батарею топливных элементов). Таким образом, охлаждающее вещество может быть подано в другие элементы, в то время как значительное количество охлаждающего вещества подается в батарею топливных элементов.
[0038] Более того, для переключения положения впуска и выпуска перепускного канала, который отводит охлаждающее вещество из канала для охлаждающего вещества во второй теплообменник, предусмотрено средство переключения положения перепуска. Таким образом, например, посредством переключения положения перепуска в соответствии с рабочим состоянием батареи топливных элементов в батарею топливных элементов может быть подано количество охлаждающего вещества, соответствующее рабочему состоянию батареи топливных элементов.
[0039] Кроме того, предусмотрено средство переключения положения перепуска для переключения положения в канале для охлаждающего вещества впуска и выпуска перепускного канала, который отводит охлаждающее вещество из канала для охлаждающего вещества в теплообменник системы кондиционирования воздуха. Таким образом, посредством переключения положения перепуска в соответствии с температурой в салоне транспортного средства и т.п. в теплообменник системы кондиционирования воздуха может быть подано количество охлаждающего вещества, соответствующее температуре в салоне транспортного средства.
[0040] Кроме того, предусмотрены перепускной канал системы кондиционирования воздуха с установленными в нем теплообменником системы кондиционирования воздуха, нагревателем и вторым циркуляционным насосом для охлаждающего вещества, а также циркуляционный канал, который установлен параллельно перепускному каналу системы кондиционирования воздуха, а соединение между перепускным каналом системы кондиционирования воздуха и каналом для охлаждающего вещества, а также соединение между перепускным каналом системы кондиционирования воздуха и циркуляционным каналом переключателя тогда, когда охлаждающее вещество из канала для охлаждающего вещества отводится в теплообменник системы кондиционирования воздуха. В результате переключение соединения между перепускным каналом системы кондиционирования воздуха и каналом для охлаждающего вещества, относящимся к охлаждению батареи топливных элементов, может быть произведено либо согласовано, либо независимо, благодаря чему увеличивается степень свободы системы охлаждения. Например, можно не допустить протекания холодного охлаждающего вещества в перепускной канал системы кондиционирования воздуха, когда батарея топливных элементов является холодной, а после прогрева батареи топливных элементов теплое охлаждающее вещество может быть подано в теплообменник системы кондиционирования воздуха.
[0041] Кроме того, перепускной канал системы кондиционирования воздуха может быть отключен от канала для охлаждающего вещества и соединен с циркуляционным каналом в замкнутом контуре. Перепускной канал системы кондиционирования воздуха может также быть отключен от циркуляционного канала и напрямую подсоединен к каналу для охлаждающего вещества. Первое соединение позволяет охлаждающему веществу только циркулировать между теплообменником системы кондиционирования воздуха и нагревателем, так что салон транспортного средства может быть нагрет независимо. Последнее соединение позволяет каналу для охлаждающего вещества совместно и согласовано использовать охлаждающее.
[0042] Кроме того, второй циркуляционный насос при малом расходе работает более эффективно, чем первый циркуляционный насос. Поэтому, когда батарея топливных элементов работает с малой нагрузкой, первый циркуляционный насос останавливается, и охлаждающее вещество циркулирует через батарею топливных элементов с использованием второго циркуляционного насоса. Когда батарея топливных элементов работает с малой нагрузкой, ей не требуется охлаждение с помощью радиатора, так что нередко охлаждающему веществу достаточно циркулировать с небольшим расходом. В этом случае благодаря использованию второго циркуляционного насоса потребляется меньшая мощность, вследствие чего улучшаются характеристики расхода топлива общей системой.
[0043] Кроме того, в соответствии по крайней мере с одной из вышеизложенных конструкций второй теплообменник использует охлаждающее вещество, отбираемое между входом радиатора и выходом батареи топливных элементов и возвращаемое между выходом радиатора и входом батареи топливных элементов. В соответствии с этой конструкцией (количество охлаждающего вещества, протекающего через радиатор) + (количество охлаждающего вещества, протекающего через второй теплообменник) = полному количеству охлаждающего вещества = (количество охлаждающего вещества, протекающего через батарею топливных элементов). Таким образом, в батарею топливных элементов может быть подано значительное количество охлаждающего вещества.
[0044] Кроме того, в соответствии по крайней мере с одной из вышеизложенных конструкций, второй теплообменник использует охлаждающее вещество, отбираемое между выходом циркуляционного насоса для охлаждающего вещества и входом батареи топливных элементов. В соответствии с этой конструкцией (количество охлаждающего вещества, протекающего через радиатор) = полному количеству охлаждающего вещества = (количество охлаждающего вещества, протекающего через второй теплообменник) + (количество охлаждающего вещества, протекающего через батарею топливных элементов). Таким образом, в радиатор может быть подано максимальное количество охлаждающего вещества.
[0045] Кроме того, в соответствии по крайней мере с одной из вышеизложенных конструкций циркуляционный насос для охлаждающего вещества установлен последовательно в канал для охлаждающего вещества, а теплообменник системы кондиционирования воздуха использует охлаждающее вещество, отбираемое между выходом циркуляционного насоса для охлаждающего вещества и входом батареи топливных элементов. В соответствии с этой конструкцией (количество охлаждающего вещества, протекающего через радиатор) + (количество охлаждающего вещества, протекающего через второй теплообменник) = полному количеству охлаждающего вещества = (количество охлаждающего вещества, протекающего через батарею топливных элементов) + (количество охлаждающего вещества, протекающего через теплообменник системы кондиционирования воздуха). Таким образом, охлаждающее вещество может быть подано в теплообменник системы кондиционирования воздуха, в то время как соответствующее количество охлаждающего вещества подается в батарею топливных элементов.
[0046] Кроме того, в соответствии по крайней мере с одной из вышеизложенных конструкций циркуляционный насос для охлаждающего вещества установлен последовательно в канал для охлаждающего вещества, а теплообменник системы кондиционирования воздуха использует охлаждающее вещество, отбираемое между выходом батареи топливных элементов и входом радиатора. В соответствии с этой конструкцией (количество охлаждающего вещества, протекающего через радиатор) + (количество охлаждающего вещества, протекающего через теплообменник системы кондиционирования воздуха) + (количество охлаждающего вещества, протекающего через второй теплообменник) = полному количеству охлаждающего вещества = (количеству охлаждающего вещества, протекающего через батарею топливных элементов). Таким образом, охлаждающее вещество может быть подано в другие элементы, в то время как значительное количество охлаждающего вещества подается в батарею топливных элементов.
[0047] Как описано выше, система охлаждения топливного элемента в соответствии с настоящим изобретением позволяет согласовано регулировать систему охлаждения батареи топливных элементов и другую систему теплообмена.
КРАТКОЕ ОПИСАНИЕ ЧЕРТЕЖЕЙ
[0048] Вышеизложенные и дальнейшие объекты, особенности и преимущества изобретения будут понятны из последующего описания предпочтительных примеров осуществления со ссылками на прилагаемые чертежи, на которых для представления одинаковых элементов используются одинаковые номера и где:
ФИГ.1 – блок-схема рабочей системы топливного элемента, в которой использована система охлаждения топливного элемента в соответствии с первым примером осуществления изобретения;
ФИГ.2 – вид, на котором показана конструкция системы охлаждения топливного элемента в соответствии с первым примером осуществления настоящего изобретения;
ФИГ.3 – вид, на котором показан модифицированный пример системы охлаждения топливного элемента в соответствии с первым примером осуществления изобретения;
ФИГ.4 – вид, на котором показан другой модифицированный пример системы охлаждения топливного элемента в соответствии с первым примером осуществления изобретения;
ФИГ.5 – вид, иллюстрирующий согласованное управление теплообменником системы кондиционирования воздуха в соответствии со вторым примером осуществления изобретения;
ФИГ.6 – вид, на котором показан модифицированный пример согласованного управления теплообменником системы кондиционирования воздуха в соответствии со вторым примером осуществления изобретения;
ФИГ.7 – вид, на котором показан еще один модифицированный пример согласованного управления теплообменником системы кондиционирования воздуха в соответствии со вторым примером осуществления;
ФИГ.8 – вид, на котором показан пример соединения перепускного канала системы кондиционирования воздуха в модифицированном примере, показанном на ФИГ.7;
ФИГ.9 – вид, на котором показан другой пример соединения перепускного канала системы кондиционирования воздуха в модифицированном примере, показанном на ФИГ.7;
ФИГ.10 – вид, иллюстрирующий работу циркуляционного насоса в модифицированном примере, показанном на ФИГ.7;
ФИГ.11 – вид, на котором показана конструкция системы охлаждения топливного элемента в соответствии с другим примером осуществления;
ФИГ.12 – вид, на котором показан еще один пример осуществления;
ФИГ.13 – вид, на котором показан еще один пример осуществления;
ФИГ.14 – вид, на котором показан еще один пример осуществления согласованного управления с теплообменником системы кондиционирования воздуха;
ФИГ.15 – вид, на котором показан еще один пример осуществления согласованного управления с теплообменником системы кондиционирования воздуха;
ФИГ.16 – вид, на котором показан еще один пример осуществления согласованного управления с теплообменником системы кондиционирования воздуха;
ФИГ.17 – вид, на котором показан пример подключенного состояния перепускного канала для охлаждающего вещества системы кондиционирования воздуха в примере осуществления, изображенном на ФИГ.16;
ФИГ.18 – вид, на котором показан еще один пример подключенного состояния перепускного канала для охлаждающего вещества системы кондиционирования воздуха в примере осуществления, изображенном на ФИГ.16;
ФИГ.19 – вид, иллюстрирующий работу циркуляционного насоса в примере осуществления, изображенном на ФИГ.16.
ПОДРОБНОЕ ОПИСАНИЕ ПРЕДПОЧТИТЕЛЬНЫХ ПРИМЕРОВ ОСУЩЕСТВЛЕНИЯ
[0049] В последующем описании и прилагаемых чертежах настоящее изобретение будет описано более подробно в терминах предпочтительных примеров осуществления. В системе управления топливным элементом применяется описываемая ниже система охлаждения топливного элемента. Поэтому сначала будет описана конструкция системы управления топливным элементом, а затем система охлаждения. На ФИГ.1 представлена блок-схема системы 10 управления топливным элементом, в которой применена система охлаждения топливного элемента в соответствии с первым примером осуществления изобретения. Система 10 управления топливным элементом включает основную часть 20 системы и управляющую часть 70, которая управляет различными элементами основной части 20 системы как единой системой.
[0050] Основная часть 20 системы включает основной блок топливного элемента, называемый батареей 22 топливных элементов, который состоит из множества уложенных вместе топливных элементов, различных элементов для подачи газообразного водорода, расположенных на анодной стороне батареи 22 топливных элементов, и различных элементов для подачи воздуха, расположенных на катодной стороне батареи 22 топливных элементов.
[0051] На анодной стороне предусмотрен источник 24 подачи газообразного водорода, который представляет собой бак, откуда подается водород в качестве топливного газа. Этот источник подачи газообразного водорода подключен к регулятору 26, который служит для надлежащего регулирования давления и расхода газа, подаваемого из источника 24 подачи газообразного водорода. На выходе регулятора 26 предусмотрен манометр 28. Этот манометр 28 является измерительным устройством для измерения давления подаваемого водорода. Выпуск регулятора 26 подсоединен к впуску анодной стороны батареи 22 топливных элементов, так что в батарею 22 топливных элементов подается топливный газ, который был отрегулирован на соответствующие давление и расход.
[0052] Газ, выходящий из выпуска анодной стороны батареи 22 топливных элементов, имеет малое содержание водорода, потому что водород потребляется для выработки электроэнергии, и большое содержание примесного газа в виде газообразного азота, который является компонентом воздуха на катодной стороне и проходит через мембранную электродную сборку МЕА (МЕА – Membrane Electrode Assembly). Вода, являющаяся продуктом реакции, также проходит через мембранную электродную сборку МЕА.
[0053] Когда содержание примесного газа в газе, выходящем из выпуска анодной стороны, становится высоким, отклонитель 32 потока, подключенный к выпуску анодной стороны батареи 22 топливных элементов, отклоняет выпускаемый газ в глушитель 64 через газовыпускной клапан 34. В этом случае выпускаемый газ представляет собой газообразный водород, который в дополнение к азоту содержит также воду, которая является продуктом реакции. Кроме того, после отклонителя 32 потока и между ним и впуском анодной стороны предусмотрено устройство 30 повышения циркуляционного давления. Это устройство 30 повышения циркуляционного давления представляет собой водородный насос, который повышает парциальное давление водорода в газе, возвращаемом из выпуска анодной стороны, и возвращает этот водород обратно на впуск анодной стороны, тем самым используя его повторно.
[0054] Источник 40 подачи кислорода на катодную сторону фактически способен использовать окружающий воздух. Этот окружающий воздух (т.е. газ) из источника 40 подачи кислорода подается на катодную сторону через фильтр 42. После фильтра 42 предусмотрен расходомер 44, который измеряет полный расход газа, подаваемого из источника 40 подачи кислорода. После фильтра 42 предусмотрен также указатель 46 температуры, который измеряет температуру газа, поступающего из источника 40 подачи кислорода.
[0055] Воздушный компрессор (АСР) 48 повышает давление’ подаваемого газа путем его объемного сжатия, используя электродвигатель 50. Кроме того, воздушный компрессор (АСР) 48 изменяет свою частоту вращения (т.е. число оборотов в минуту) в соответствии с управлением управляющей частью 70 таким образом, чтобы подавать заданное количество газа. Так что когда требуется большой расход газа, частота вращения электродвигателя 50 увеличивается. И наоборот, когда требуется малый расход газа, частота вращения электродвигателя 50 уменьшается. Предусмотрена часть 52 измерения потребляемой воздушным компрессором (АСР) мощности, которая представляет собой измерительное устройство, измеряющее мощность, потребляемую воздушным компрессором (АСР) 48, или, более конкретно, мощность, потребляемую электродвигателем 50. Электродвигатель 50 потребляет тем большую мощность, чем быстрее он вращается, и тем меньшую мощность, чем медленнее он вращается. Поэтому потребляемая мощность тесно связана с частотой вращения электродвигателя или расходом подаваемого газа.
[0056] Поскольку воздушный компрессор (АСР) 48 таким образом под управлением управляющей частью 70 подает на катодную сторону батареи 22 топливных элементов воздух, содержащий кислород, этот воздух, который содержит кислород, далее будет называться газом, питающим катодную сторону, или просто питающим газом. Поэтому элементы от источника 40 кислорода до воздушного компрессора (АСР) 48 можно называть устройствами подачи кислорода.
[0057] Увлажнитель 54 надлежащим образом увлажняет питающий газ, так что в батарее 22 топливных элементов эффективно протекает соответствующая реакция. Питающий газ, должным образом увлажненный посредством увлажнителя 54, затем поступает на впуск катодной стороны батареи 22 топливных элементов и выходит из выпуска катодной стороны. В это время вместе с выпускаемым газом выходит также вода, являющаяся продуктом реакции. Из-за протекания реакции температура батареи 22 топливных элементов повышается, и вследствие этого выходящая вода превращается в водяной пар. Затем этот водяной пар поступает в увлажнитель 54 и используется для соответствующего увлажнения питающего газа. Таким образом, увлажнитель 54 служит для соответствующей передачи влаги из водяного пара в питающий газ, так что он может быть использован как газообменник, в котором используется так называемая воздушная система. Т.е. конструкция увлажнителя 54 позволяет осуществлять газообмен между каналом, по которому проходит газ от воздушного компрессора (АСР) 48, и каналом, по которому проходит водяной пар. Например, если внутренним каналом воздушной системы сделать канал, по которому проходит газ от воздушного компрессора (АСР) 48, а наружным каналом воздушной системы сделать канал, по которому проходит водяной пар из выпуска катодной стороны батареи 22 топливных элементов, то газ, подаваемый на впуск катодной стороны батареи 22 топливных элементов, может быть соответственно увлажнен.
[0058] Далее канал, который соединяет вышеописанные устройства подачи кислорода с впуском катодной стороны батареи 22 топливных элементов, будет называться каналом впускной стороны. Соответственно канал, который соединяет выпуск катодной стороны батареи 22 топливных элементов с выпускной стороной, будет называться каналом выпускной стороны.
[0059] Манометр 56, предусмотренный на выпуске катодной стороны канала выпускной стороны, измеряет давление газа на выпуске катодной стороны. Кроме того, клапан 60 регулирования давления, называемый также обратным клапаном, который предусмотрен в канале выпускной стороны, регулирует расход питающего газа, подаваемого в батарею 22 топливных элементов, путем регулирования давления газа на выпуске катодной стороны. Здесь используется один из клапанов, способных регулировать эффективное сечение канала, например дроссельный клапан.
[0060] Выпуск клапана 60 регулирования давления подсоединяется к увлажнителю 54. Затем, после того, как газ пройдет через клапан 60 регулирования давления и послужит источником водяного пара в увлажнителе 54, он поступает в глушитель 64, после которого выпускается за пределы системы.
[0061] В перепускном канале, соединяющем канал впускной стороны с каналом выпускной стороны и проходящем параллельно батарее 22 топливных элементов, предусмотрен перепускной клапан 62. Этот перепускной клапан 62 в основном подает воздух для снижения содержания водорода в газе, сбрасываемом в глушитель 64. Т.е., когда перепускной клапан 62 открыт, в глушитель 64 по перепускному каналу из воздушного компрессора (АСР) 48 отдельно от части газа, протекающей в батарею 22 топливных элементов, поступает питающий газ, не прошедший через батарею 22 топливных элементов. Этот перепускной клапан 62 может иметь такую же конструкцию, как выхлопной перепускной клапан, используемый для разбавления выхлопных газов из двигателя внутреннего сгорания. Такой перепускной клапан для выхлопных газов называется также клапаном EGR (EGR – exhaust gas recirculation – рециркуляции отработавших газов).
[0062] Глушитель 64 представляет собой буферную камеру, которая собирает содержащий воду водород, выпускаемый из газовыпускного клапана 34 анодной стороны, а также выпускаемый из катодной стороны газ, содержащий не только воду, но также водород, просачивающийся через мембранную электродную сборку МЕА, доводит содержание водорода до надлежащего уровня и затем выпускает его за пределы системы. Когда содержание водорода превышает соответствующий уровень, открывается перепускной клапан 62, так что содержание водорода может быть соответственно понижено за счет питающего газа, не прошедшего через батарею 22 топливных элементов.
[0063] Управляющая часть 70 управляет различными элементами основной части системы 20 как единой системой и может также быть названа центральным процессором ЦП (central processor unit – CPU) топливного элемента. Например, управляющая часть 70 согласовано управляет клапаном регулирования давления и перепускным клапаном в соответствии с рабочим состоянием топливного элемента. Управляющая часть 70 управляет также системой охлаждения, которая будет описана позже, с целью поддержания батареи 22 топливных элементов, воздушного компрессора (АСР) 48, питающего газа катодной стороны и т.п. при соответствующих температурах. Эти функции могут быть реализованы программными средствами. Более конкретно, эти функции могут быть реализованы путем выполнения соответствующей программы управления топливным элементом, программы охлаждения топливного элемента и т.д. Некоторые из этих функций могут также быть реализованы аппаратными средствами.
[0064] В подобной системе 10 управления топливным элементом в батарее 22 топливных элементов выделяется тепло за счет реакции между топливным газом и питающим газом. Кроме того, тепло также выделяется электродвигателем 50 и т.п. при работе воздушного компрессора (АСР) 48. Помимо этого, питающий газ, подаваемый на катодную сторону батареи 22 топливных элементов, предпочтительно имеет соответствующую температуру. Кроме того, хотя может быть предусмотрена система кондиционирования воздуха в салоне транспортного средства, но когда на транспортном средстве установлена система 10 управления топливным элементом, то, например, для быстрого повышения температуры салона в холодную погоду предпочтительно, по возможности, использовать тепло отработавших газов от батареи топливных элементов 22. Таким образом, температура элементов, составляющих систему 10 управления топливным элементом, должна быть регулируемой, т.е. охлаждаемой, и именно поэтому предусматривается система охлаждения топливного элемента.
[0065] В последующем описании канал для охлаждающего вещества, по которому протекает охлаждающее вещество, которое с помощью радиатора охлаждает батарею топливных элементов, будет называться основным каналом для охлаждающего вещества, а канал для охлаждающего вещества, который отводит поток охлаждающего вещества и проходит параллельно основному каналу для охлаждающего вещества, будет называться перепускным каналом для охлаждающего вещества. Теплообменник для охлаждения воздушного компрессора (АСР) 48 и теплообменник, используемый для кондиционирования воздуха в салоне, будут описываться как теплообменники, предусмотренные в перепускном канале для охлаждающего вещества. Радиатор считается первым теплообменником, теплообменник для охлаждения воздушного компрессора (АСР) 48 будет называться втором теплообменником, и теплообменник, используемый для кондиционирования воздуха в салоне, будет называться теплообменником системы кондиционирования воздуха. Второй теплообменник в этом случае может быть объединен с промежуточным охладителем для независимого охлаждения воздушного компрессора (АСР) 48 в качестве системы охлаждения путем теплообмена с использованием отводимого охлаждающего вещества. Разумеется, промежуточный охладитель может также быть оставлен как независимая система охлаждения, а второй теплообменник может использоваться для охлаждения других элементов.
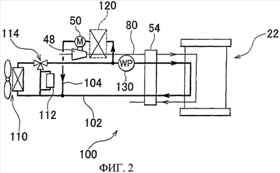
[0066] На ФИГ. 2 показана конструкция системы 100 охлаждения топливного элемента. На этом чертеже показана система охлаждения катодной стороны системы управления топливным элементом. Канал 80 питающего газа, который входит в батарею 22 топливных элементов из воздушного компрессора 48 (АСР) через увлажнитель 54 и затем выходит из батареи 22 топливных элементов, показан тонкой линией, а канал, по которому протекает охлаждающее вещество, показан жирной линией. Систему 100 охлаждения топливного элемента образуют каналы, по которым протекает охлаждающее вещество, а именно основной канал 102 для охлаждающего вещества и перепускной канал 104 для охлаждающего вещества, который проходит параллельно основному каналу 102 для охлаждающего вещества и отбирает из него это охлаждающее вещество. В качестве охлаждающего вещества может быть использовано какое-либо долговечное охлаждающее вещество LLC (LLC – Long Life Coolant), главным образом вода.
[0067] В основном канале 102 для охлаждающего вещества устанавливаются радиатор 110, имеющий охлаждающий вентилятор, нагреватель 112 для нагрева, трехходовой клапан 114 для соответствующего отвода охлаждающего вещества в нагреватель 112, и циркуляционный насос (WP) для перекачки охлаждающего вещества. Охлаждающее вещество, протекающее через основной канал 102 для охлаждающего вещества, циркулирует между радиатором 110 и батареей 22 топливных элементов, отводит тепло от теплой или горячей батареи 22 топливных элементов, а затем охлаждается радиатором 110 и снова возвращается в батарею 22 топливных элементов. Кроме того, параллельно впуску катодной стороны батареи топливных элементов, через который к катодной стороне батареи 22 топливных элементов подается окисляющий газ, и выпуску катодной стороны батареи топливных элементов, через который газ выпускается, как описано выше, и затем охлаждается в основном канале 102 для охлаждающего вещества, устанавливается увлажнитель 54.
[0068] Перепускной канал 104 для охлаждающего вещества проходит параллельно основному каналу 102 для охлаждающего вещества. Охлаждающее вещество отбирается в этот перепускной канал 104 для охлаждающего вещества из канала впускной стороны основного канала 102 для охлаждающего вещества, по которому охлаждающее вещество протекает из радиатора 110 к батарее 22 топливных элементов, и возвращается в канал выпускной стороны основного канала 102 для охлаждающего вещества, по которому охлаждающее вещество протекает из батареи 22 топливных элементов к радиатору 110. Перепускной канал 104 для охлаждающего вещества подходит к корпусу и т.д. электродвигателя 50 воздушного компрессора (АСР) 48 через второй теплообменник 120, который осуществляет теплообмен с каналом 80 сжатого питающего газа, подаваемого из воздушного компрессора (АСР) 48 в увлажнитель 54 и батарею 22 топливных элементов, и затем возвращается в основной канал для охлаждающего вещества 102. Соответственно, второй теплообменник 120 отводит тепло от электродвигателя 50 воздушного компрессора (АСР) 48, а также регулирует температуру питающего газа. Эту функцию может также выполнять независимая система охлаждения, называемая промежуточным охладителем, но в конструкции, изображенной на ФИГ. 2, функцию промежуточного охладителя выполняют охлаждающее вещество и система охлаждения, проходящая от радиатора 110 к батарее 22 топливных элементов.
[0069] В канале впускной стороны основного канала 102 для охлаждающего вещества между входной стороной увлажнителя и выходной стороной в месте, где охлаждающее вещество входит в перепускной канал 104 для охлаждающего вещества, устанавливается циркуляционный насос 130. Как показано на ФИГ.2, увлажнитель 54 располагается на выходе циркуляционного насоса 130 и входе батареи 22 топливных элементов, а охлаждающее вещество, используемое теплообменником 120, отбирается на выходе радиатора 110 и входе циркуляционного насоса 130.
[0070] Соответственно, в данной конструкции (количество охлаждающего вещества, протекающего через радиатор 110) + (количество охлаждающего вещества, протекающего через второй теплообменник 120) = полному количеству охлаждающего вещества = (количество охлаждающего вещества, протекающего через батарею 22 топливных элементов) + (количество охлаждающего вещества, протекающего через увлажнитель 54). Таким образом, если (количество охлаждающего вещества, протекающего через увлажнитель 54) невелико, то тогда довольно большое количество охлаждающего вещества может поступать в батарею 22 топливных элементов. Отношение количества охлаждающего вещества, протекающего через увлажнитель 54, к количеству охлаждающего вещества, протекающего через батарею 22 топливных элементов, может быть определено посредством процентного соотношения гидравлических сопротивлений указанных двух веществ или подобных. Например, если отношение (количество охлаждающего вещества, протекающего через увлажнитель 54): (количество охлаждающего вещества, протекающего через батарею топливных элементов 22)=2: 98, то тогда в батарею 22 топливных элементов может поступать 98% от полного количества охлаждающего вещества. В результате, когда температура батареи 22 топливных элементов становится слишком высокой, это тепло может быть быстро отведено на сторону радиатора 110. Кроме того, отношение (количества охлаждающего вещества, протекающего через радиатор 110) к (количеству охлаждающего вещества, протекающего через второй теплообменник 120) также может быть определено посредством процентного соотношения гидравлических сопротивлений указанных двух или подобных веществ. Альтернативно количество охлаждающего вещества, протекающего через них, может быть определено с помощью управляющего клапана, который регулирует соотношение распределения потоков, так что радиатор 110 и второй теплообменник 120 могут работать согласовано.
[0071] Кроме того, параллельно основному каналу 102 для охлаждающего вещества предусмотрен перепускной канал 104 для охлаждающего вещества, который позволяет уменьшить разницу между температурой охлаждающего вещества, выпускаемого из второго теплообменника 120, и температурой охлаждающего вещества, выпускаемого из батареи 22 топливных элементов. Первая температура определяет температуру питающего газа на впускной стороне увлажнителя 54, а вторая температура определяет температуру питающего газа на выпуске увлажнителя 54. Следовательно, может быть уменьшена разность температур между двумя впусками газа в увлажнитель 54, так что повреждения, вызываемые разностью температур на этих двух концах, могут быть исключены даже при использовании конструкции воздушного типа.
[0072] В данной системе охлаждения топливного элемента способ распределения охлаждающего вещества можно изменять в зависимости от того, в каком месте перепускной канал охлаждающего вещества отделяется от основного канала охлаждающего вещества, и от местонахождения циркуляционного насоса 130. На ФИГ.3 показана конструкция системы 140 охлаждения топливного элемента, которая может подавать наибольшее количество охлаждающего вещества в радиатор 110 в соответствии с модификацией первого примера осуществления. Элементы на этом чертеже, одинаковые с элементами на чертеже на ФИГ.2, обозначаются теми же номерами и подробно описываться не будут.
[0073] В системе 140 охлаждения топливного элемента, показанного на ФИГ.3, циркуляционный насос 130 располагается в канале впускной стороны основного канала 102 для охлаждающего вещества за радиатором 110 и перед тем местом, где охлаждающее вещество отводится в перепускной канал 144 для охлаждающего вещества. Как показано на ФИГ.3, увлажнитель 54 располагается за циркуляционным насосом 130 и перед батареей 22 топливных элементов, а охлаждающее вещество, используемое вторым теплообменником 120, отбирается за радиатором 110 и циркуляционным насосом 130 и перед увлажнителем 54. Т.е. на вход циркуляционного насоса 130 охлаждающее вещество поступает только из радиатора 110, в то время как на выход циркуляционного насоса 130 охлаждающее вещество протекает через второй теплообменник 120, увлажнитель 54 и батарею 22 топливных элементов.
[0074] Таким образом, в соответствии с данной конструкцией (количество охлаждающего вещества, протекающего через радиатор 110) = полному количеству охлаждающего вещества = (количество охлаждающего вещества, протекающего через второй теплообменник 120) + (количество охлаждающего вещества, протекающего через батарею 22 топливных элементов) + (количество охлаждающего вещества, протекающего через увлажнитель 54), так что (количество охлаждающего вещества, протекающего через радиатор 110) может быть максимизировано. В результате, когда разность температур между стороной впуска питающего газа и стороной выпуска батареи 22 топливных элементов велика, эту разность температур можно эффективно уменьшить путем направления максимального количества охлаждающего вещества из батареи 22 топливных элементов в радиатор 110.
[0075] На ФИГ.4 показана конструкция системы 150 охлаждения топливного элемента, которая может отводить наибольшее количество охлаждающего вещества в батарею 22 топливных элементов в соответствии с еще одной модификацией первого примера осуществления. Элементы на этом чертеже, одинаковые с элементами на чертеже на ФИГ.2 и 3, обозначаются теми же номерами и подробно описываться не будут.
[0076] В системе 150 охлаждения топливного элемента, показанной на ФИГ.4, циркуляционный насос 130 предусмотрен в канале впускной стороны основного канала 102 для охлаждающего вещества после места, где охлаждающее вещество отбирается в перепускной канал 144 для охлаждающего вещества и увлажнитель 54, и непосредственно перед входом в батарею 22 топливных элементов. Как показано на ФИГ.4, увлажнитель 54 устанавливается на входе циркуляционного насоса 130 и на выходе радиатора 110, а охлаждающее вещество, используемое вторым теплообменником 120, отбирается на выходе радиатора 110 и на входе увлажнителя 54. Т.е. на вход циркуляционного насоса 130 охлаждающее вещество протекает через радиатор 110, второй теплообменник 120 и увлажнитель 54, в то время как с выхода циркуляционного насоса 130 охлаждающее вещество поступает только в батарею 22 топливных элементов.
[0077] Таким образом, в соответствии с данной конструкцией (количество охлаждающего вещества, протекающего через радиатор 110) + (количество охлаждающего вещества, протекающего через второй теплообменник 120) + (количество охлаждающего вещества, протекающего через увлажнитель 54) = полному количеству охлаждающего вещества = (количество охлаждающего вещества, протекающего через батарею 22 топливных элементов), так что (количество охлаждающего вещества, протекающего через батарею 22 топливных элементов) может быть максимизировано. В результате тепло из батареи 22 топливных элементов может быть эффективно отведено путем отвода максимального количества охлаждающего вещества в эту батарею 22 топливных элементов.
[0078] В данной системе охлаждения топливного элемента охлаждающее вещество также может быть отведено из основного канала для охлаждающего вещества в теплообменник системы кондиционирования воздуха в салоне транспортного средства. На ФИГ.5 показана конструкция системы 160 охлаждения топливного элемента, в которой охлаждающее вещество отводится в теплообменник системы кондиционирования воздуха в соответствии со вторым примером осуществления изобретения. Элементы на этом чертеже, одинаковые с элементами на чертеже на ФИГ.2, обозначаются теми же номерами и подробно описываться не будут.
[0079] В дополнение к системе охлаждения, содержащей перепускной канал 104 для охлаждающего вещества и второй теплообменник 120, описанной со ссылками на ФИГ.2, система 160 охлаждения топливного элемента, показанная на ФИГ.5, снабжена также перепускным каналом 164 для охлаждающего вещества системы кондиционирования воздуха, по которому охлаждающее вещество из основного канала 102 для охлаждающего вещества отводится в теплообменник 170 системы кондиционирования воздуха для кондиционирования салона 162 транспортного средства. В перепускном канале 164 для охлаждающего вещества системы кондиционирования воздуха предусмотрены нагреватель 166, в случае необходимости и запорный клапан 168, который управляет (избирательно разрешает или блокирует) отводом охлаждающего вещества в перепускной канал 164 для охлаждающего вещества системы кондиционирования воздуха.
[0080] Охлаждающее вещество из основного канала 102 для охлаждающего вещества отводится в теплообменник 170 системы кондиционирования воздуха непосредственно перед впуском охлаждающего вещества в батарею 22 топливных элементов. Как показано на ФИГ.5, увлажнитель 54 установлен на выходе циркуляционного насоса 130 и на входе батареи 22 топливных элементов, а охлаждающее вещество, используемое в теплообменнике 170 системы кондиционирования воздуха, отбирается на выходе увлажнителя 54 и на входе батареи 22 топливных элементов. Кроме того, когда запорный клапан 168 открыт, охлаждающее вещество, которое было отведено из основного канала 120 для охлаждающего вещества, поступает в теплообменник 170 системы кондиционирования воздуха через нагреватель 166 и затем возвращается в основной канал 102 охлаждающего вещества. Место возврата охлаждающего вещества располагается непосредственно у выпуска охлаждающего вещества из батареи 22 топливных элементов.
[0081] В соответствии с данной конструкцией (количество охлаждающего вещества, протекающего через радиатор 110) + (количество охлаждающего вещества, протекающего через второй теплообменник 120) = полному количеству охлаждающего вещества = (количество охлаждающего вещества, протекающего через увлажнитель 54) + (количество охлаждающего вещества, протекающего через батарею 22 топливных элементов)+(количество охлаждающего вещества, протекающего через теплообменник 170 системы кондиционирования воздуха). Таким образом, охлаждающее вещество может поступать в теплообменник системы кондиционирования воздуха, в то время как соответствующее количество охлаждающего вещества подается также в батарею 22 топливных элементов.
[0082] Таким образом, в соответствии с данной конструкцией, в то время как радиатор 110 поддерживает соответствующую температуру охлаждающего вещества, охлаждающее вещество, нагретое за счет работы батареи 22 топливных элементов и циркулирующее в системе, может быть подано в теплообменник 170 системы кондиционирования воздуха, так что обогрев салона 162 транспортного средства и надлежащее кондиционирование среды могут быть достигнуты без специально предусмотренной отдельной системы кондиционирования воздуха. При необходимости могут также быть использованы нагреватель 112 или нагреватель 166. Кроме того, когда батарея 22 топливных элементов прогрета недостаточно, можно недопустить поступления холодного охлаждающего вещества в теплообменник 170 системы кондиционирования воздуха, закрыв запорный вентиль 168.
[0083] Таким образом, открывая запорный вентиль 168 только тогда, когда требуется обогрев салона транспортного средства, можно уменьшить мощность, потребляемую циркуляционным насосом 130. Кроме того, если установлен нагреватель 166, который помогает обогревать салон транспортного средства в системе с теплообменником 170 системы кондиционирования воздуха, как показано на ФИГ. 5, то в режиме нормального охлаждения батареи 22 топливных элементов в случае, когда запорный вентиль 168 закрыт, расход топлива может быть уменьшен благодаря отсутствию потери давления в нагревателе 166.
[0084] Как описано выше, благодаря совместному использованию охлаждающего вещества системой охлаждения батареи 22 топливных элементов и системой кондиционирования воздуха в салоне и избирательному открыванию и закрыванию запорного вентиля 168 в зависимости от температуры 22 батареи топливных элементов и температуры в салоне транспортного средства, система охлаждения батареи 22 топливных элементов и система кондиционирования воздуха в салоне могут быть объединены при условии согласованного управления. На ФИГ. 5 предусмотрен перепускной канал 104 для охлаждающего вещества, содержащий второй теплообменник 120, при этом радиатор 110, второй теплообменник 120 и теплообменник 170 системы кондиционирования воздуха управляются согласовано. Альтернативно, однако, второй теплообменник 120 может отсутствовать, и согласованное управление может распространяться на радиатор 110 и теплообменник 170 системы кондиционирования воздуха.
[0085] В системе охлаждения, включающей теплообменник системы кондиционирования воздуха, способ распределения охлаждающего вещества может меняться в зависимости от того, где перепускной канал охлаждающего вещества для системы кондиционирования воздуха ответвляется от основного канала для охлаждающего вещества и где располагается циркуляционный насос 130. На ФИГ.6 показана конструкция системы 180 охлаждения топливного элемента в соответствии с модификацией второго примера осуществления. В данной системе охлаждающее вещество в основном канале 102 для охлаждающего вещества отводится в теплообменник 170 системы кондиционирования воздуха непосредственно после радиатора 110. Элементы на этом чертеже, одинаковые с элементами на чертеже на ФИГ. 5, обозначаются теми же номерами и подробно описываться не будут.
[0086] В системе 180 охлаждения топливного элемента, показанной на ФИГ.6, охлаждающее вещество в основном канале охлаждающего вещества отводится в теплообменник 170 системы кондиционирования воздуха непосредственно на выходе радиатора 110. Как показано на чертеже, увлажнитель 54 располагается на выходе циркуляционного насоса 130 и на входе батареи 22 топливных элементов, а охлаждающее вещество, используемое теплообменником 170 системы кондиционирования воздуха, отбирается на выходе радиатора 110 и на входе циркуляционного насоса 130. Кроме того, когда запорный вентиль 168 открыт, охлаждающее вещество, которое было отведено из основного канала 102 для охлаждающего вещества, поступает в теплообменник 170 системы кондиционирования воздуха через нагреватель 166, а затем возвращается в основной канал 102 для охлаждающего вещества. Место возврата охлаждающего вещества располагается непосредственно после выпуска охлаждающего вещества из батареи 22 топливных элементов.
[0087] В соответствии с данной конструкцией (количество охлаждающего вещества, протекающего через радиатор 110) + (количество охлаждающего вещества, протекающего через теплообменник 170 системы кондиционирования воздуха) + (количество охлаждающего вещества, протекающего через второй теплообменник 120) = полному количеству охлаждающего вещества = (количество охлаждающего вещества, протекающего через увлажнитель 54) + (количество охлаждающего вещества, протекающего через батарею 22 топливных элементов). Следовательно, охлаждающее вещество может поступать в другие элементы, в то время как значительное количество охлаждающего вещества подается также в батарею 22 топливных элементов.
[0088] Таким образом, в соответствии с данной конструкцией охлаждающее вещество, нагретое за счет работы батареи 22 топливных элементов и циркулирующее в системе, в то время как радиатор 110 поддерживает соответствующую температуру охлаждающего вещества, может быть подано в теплообменник 170 системы кондиционирования воздуха, так что обогрев салона 162 транспортного средства и надлежащее кондиционирование среды могут быть достигнуты без специально предусмотренной отдельной системы кондиционирования воздуха. При необходимости могут также быть использованы нагреватель 112 или нагреватель 166. Кроме того, когда батарея 22 топливных элементов прогрета недостаточно, можно не допустить отвода холодного охлаждающего вещества в теплообменник 170 системы кондиционирования воздуха, закрыв запорный вентиль 168. Поскольку в батарею 22 топливных элементов может быть подано значительное количество охлаждающего вещества, тепло может быстро отводиться от батареи 22 топливных элементов.
[0089] Как описано выше, в системе охлаждения батареи топливных элементов способ распределения охлаждающего вещества может меняться в зависимости от того, где перепускной канал охлаждающего вещества для второго теплообменника и перепускной канал охлаждающего вещества для теплообменника системы кондиционирования воздуха ответвляются от основного канала для охлаждающего вещества, а также от местонахождения циркуляционного насоса. Следовательно, путем переключения места, где поток отводится из основного канала для охлаждающего вещества, и места расположения циркуляционного насоса можно согласовано регулировать охлаждение батареи топливных элементов, теплообмен между питающим газом и воздушным компрессором (АСР) 48 посредством второго теплообменника и кондиционирование воздуха в салоне транспортного средства посредством теплообменника системы кондиционирования воздуха и т.п., так что в каждую из этих систем охлаждения будут подаваться соответствующие количества охлаждающего вещества в соответствии с рабочим состоянием системы 10 управления топливным элементом или рабочим состоянием транспортного средства.
[0090] Например, применение средства переключения места перепуска для переключения местонахождения в основном канале для охлаждающего вещества точек впуска и выпуска перепускного канала, который отводит охлаждающее вещество из основного канала для охлаждающего вещества во второй теплообменник, обеспечивает подачу в батарею топливных элементов охлаждающего вещества в количестве, соответствующем рабочему состоянию батареи топливных элементов, путем переключения места перепуска в зависимости от рабочего состояния батареи топливных элементов.
[0091] Кроме того, применение средств переключения места перепуска для переключения местонахождения в основном канале для охлаждающего вещества точек впуска и выпуска перепускного канала, который отводит охлаждающее вещество из основного канала для охлаждающего вещества в теплообменник системы кондиционирования воздуха, обеспечивает подачу в теплообменник системы кондиционирования воздуха охлаждающего вещества в количестве, соответствующем температуре в салоне транспортного средства, путем переключения места перепуска в зависимости от температуры в салоне и т.п.
[0092] На ФИГ.7 показана конструкция системы 200 охлаждения топливного элемента в соответствии с модификацией второго примера осуществления. Здесь конструкция перепускного канала охлаждающего вещества для системы кондиционирования воздуха была изменена таким образом, что охлаждающее вещество, поступающее в теплообменник 170 системы кондиционирования воздуха, может использоваться либо совместно с основным каналом 102 для охлаждающего вещества, либо только для теплообменника 170 системы кондиционирования воздуха. Элементы на этом чертеже, одинаковые с элементами на чертеже на ФИГ.5 и т.д., обозначаются теми же номерами и подробно описываться не будут.
[0093] В системе 200 охлаждения топливного элемента, показанной на ФИГ.7, перепускной канал 202 для охлаждающего вещества системы кондиционирования воздуха содержит три элемента. Т.е. весь перепускной канал 202 для охлаждающего вещества системы кондиционирования воздуха состоит из входного/выходного канала 204, через который охлаждающее вещество отбирается из основного канала 102 для охлаждающего вещества и возвращается в него, перепускного канала 206 системы кондиционирования воздуха, по которому охлаждающее вещество протекает через теплообменник 170 системы кондиционирования воздуха, и циркуляционного канала 208, который проходит параллельно перепускному каналу 206 системы кондиционирования воздуха.
[0094] Как показано на ФИГ.7, в точках соединения этих трех каналов, т.е. входного/выходного канала 204, перепускного канала 206 системы кондиционирования воздуха и циркуляционного канала 208, устанавливаются трехходовые клапаны 210 и 212. Таким образом, соединения между входным/выходным каналом 204, перепускным каналом 206 системы кондиционирования воздуха и циркуляционным каналом 208 можно переключать с помощью двух трехходовых клапанов 210 и 212. В этом смысле два трехходовых клапана 210 и 212 являются средствами переключения для переключения соединения между перепускным каналом 206 системы кондиционирования воздуха и входным/выходным каналом 204, который подсоединен к основному каналу 102 для охлаждающего вещества, и соединения между перепускным каналом 206 системы кондиционирования воздуха и циркуляционным каналом 208. Несколько режимов переключения будут описаны ниже.
[0095] В перепускном канале 206 системы кондиционирования воздуха предусмотрен насос для перекачки охлаждающего вещества, кроме циркуляционного насоса 130, предусмотренного в основном канале 102 для охлаждающего вещества. Для того, чтобы отличать этот насос от циркуляционного насоса 130, он будет называться вторым циркуляционным насосом 220. В перепускном канале 206 системы кондиционирования воздуха последовательно устанавливаются этот второй циркуляционный насос 220, нагреватель 222 и теплообменник системы кондиционирования воздуха 170. На ФИГ.7 эти элементы расположены в следующем порядке: трехходовой клапан 210, второй циркуляционный насос 220, нагреватель 222, теплообменник 170 системы кондиционирования воздуха и трехходовой клапан 212. Однако альтернативно различные элементы могут быть расположены между трехходовыми клапанами 210 и 212 в другом порядке и, в зависимости от конкретного случая, могут дополнительно включать переключающий или аналогичный клапан и быть расположены параллельно.
[0096] Второй циркуляционный насос 220 является циркуляционным насосом для охлаждающего вещества, который меньше, чем циркуляционный насос 130 в основном канале 102 для охлаждающего вещества. Циркуляционный насос 130 в основном канале 102 для охлаждающего вещества имеет такую производительность, которая обеспечивает надежную работу даже при большом расходе, так что охлаждающее вещество может прокачиваться через канал для охлаждающего вещества, который содержит радиатор 110, увлажнитель 54 и батарею 22 топливных элементов, быстро осуществлять теплообмен и поддерживаться при соответствующей температуре. В отличие от этого, второй циркуляционный насос 220 предназначен для перекачки охлаждающего вещества главным образом через теплообменник 170 системы кондиционирования воздуха, и поэтому может быть насосом небольшой производительности. Поскольку этот второй циркуляционный насос 220 является небольшим, при малом расходе эффективность его эксплуатации выше, чем у циркуляционного насоса 130 в основном канале 102 для охлаждающего вещества. Кроме того, второй циркуляционный насос 220 предпочтительно является таким, что охлаждающее вещество может проходить через него, даже когда он не работает. Благодаря этому предотвращается понижение кпд циркуляции охлаждающего вещества, даже когда второй циркуляционный насос 220 не работает.
[0097] Входной/выходной канал 204 является каналом охлаждающего вещества, который проходит от основного канала 102 для охлаждающего вещества до трехходовых клапанов 210 и 212, так что в этом смысле его можно рассматривать как ответвление основного канала 102 для охлаждающего вещества. Циркуляционный канал 208 образует замкнутый канал, т.к. он подсоединяется параллельно перепускному каналу 206 системы кондиционирования воздуха.
[0098] Далее будет описано переключение каналов для охлаждающего вещества посредством трехходовых клапанов 210 и 212. Операция переключения трехходовых клапанов 210 и 212 выполняется посредством управляющей охлаждением части (не показана) в соответствии с рабочим состоянием батареи 22 топливных элементов. Управляющая охлаждением часть может также быть объединена с управляющей частью 70 системы 10 управления топливным элементом, изображенной ФИГ.1. На ФИГ.8 показан перепускной канал 206 системы кондиционирования воздуха, соединенный с циркуляционным каналом 208 в виде замкнутого контура, что достигается путем переключения трехходовых клапанов 210 и 212. В этом случае входной/выходной канал 204 отсоединен от замкнутого канала. Для большей наглядности трехходовые клапаны 210 и 212 на ФИГ.8 были опущены. Более конкретно, этот замкнутый канал образуется путем такого переключения трехходового клапана 210, чтобы он соединял одну сторону перепускного канала 206 системы кондиционирования воздуха с одной стороной циркуляционного канала 208, и такого переключения трехходового клапана 212, чтобы он соединял другую сторону перепускного канала 206 системы кондиционирования воздуха с другой стороной циркуляционного канала 208.
[0099] Образование такого замкнутого канала позволяет осуществлять перекачку охлаждающего вещества по этому замкнутому каналу вторым циркуляционным насосом 220 независимо от основного канала 102 для охлаждающего вещества. Т.е. охлаждающее вещество может циркулировать между нагревателем 222 и теплообменником 170 системы кондиционирования воздуха. Такое соединенное состояние предпочтительно использовать тогда, когда батарея топливных элементов 22 все еще работает при низкой температуре. В результате можно предотвратить поступление холодного охлаждающего вещества, которое еще не было достаточно нагрето батареей 22 топливных элементов, в теплообменник 170 системы кондиционирования воздуха. Кроме того, применение нагревателя 222 и второго циркуляционного насоса 220 позволяет достаточно нагреть охлаждающее вещество в замкнутом канале и подать его в теплообменник 170 системы кондиционирования воздуха, так что можно эффективно и быстро обогреть салон 162 транспортного средства.
[0100] На ФИГ.9 показано состояние, в котором трехходовые клапаны 210 и 212 были переключены на отсоединение циркуляционного канала 208 и соединение входного/выходного канала 204 с перепускным каналом 206 системы кондиционирования воздуха. Здесь так же, как и на ФИГ. 8, трехходовые клапаны 210 и 212 были опущены, чтобы более наглядно показать канал. Более конкретно, трехходовой клапан 210 включен так, чтобы он соединял ту сторону входного/выходного канала 204, которая подсоединяется к впуску охлаждающего вещества в основной канал 102 для охлаждающего вещества, с одной стороной перепускного канала 206 системы кондиционирования воздуха, а трехходовой клапан 212 включен так, чтобы он соединял другую сторону перепускного канала 206 системы кондиционирования воздуха с другой стороной входного/выходного канала 204, которая подсоединяется к возврату охлаждающего вещества в основой канал 102 для охлаждающего вещества. В результате циркуляционный канал 208 отсоединен, в то время как входной/выходной канал 204 и перепускной канал 206 системы кондиционирования воздуха непосредственно соединены друг с другом, так что перепускной канал 206 системы кондиционирования воздуха может располагаться параллельно основному каналу 102 для охлаждающего вещества, проходящему через батарею 22 топливных элементов.
[0101] Это соединение в основном аналогично конструкции, показанной на ФИГ.5. Т.е. перепускной канал 202 системы кондиционирования воздуха использует охлаждающее вещество совместно с основным каналом 102 для охлаждающего вещества, и осуществляется так называемое согласованное управление. Таким образом, трехходовые клапаны 210 и 212 переключают подсоединение перепускного канала 206 системы кондиционирования воздуха между соединением для управления, согласованного с основным каналом 102 для охлаждающего вещества, и соединением для независимого управления. Когда перепускной канал 206 системы кондиционирования воздуха подключен для согласованного управления, второй циркуляционный насос 220 останавливается. Однако, как описано выше, даже когда работа второго циркуляционного насоса остановлена, охлаждающее вещество может по-прежнему свободно протекать через второй циркуляционный насос 220, так что кпд циркуляции охлаждающего вещества через перепускной канал 206 системы кондиционирования воздуха не снижается.
[0102] Согласованное управление реализуется тогда, когда охлаждающее вещество, которое было нагрето за счет работы батареи 22 топливных элементов и поддерживается при соответствующей температуре посредством радиатора 110, циркулирует так, как описано со ссылками на ФИГ.5. Поэтому переключение между соединением для получения замкнутого канала, показанным на ФИГ.8, и соединением для согласованного управления (прямое соединение, показанное на ФИГ.9) зависит от рабочего состояния батареи 22 топливных элементов. Например, когда батарея 22 топливных элементов еще не прогрета, реализуется соединение для получения замкнутого канала, показанное на ФИГ.8, и нагреватель 222, и второй циркуляционный насос 220 работают для повышения температуры охлаждающего вещества, поступающего в теплообменник 170 системы кондиционирования воздуха. Когда батарея 22 топливных элементов прогрета, и температура охлаждающего вещества в основном канале 102 для охлаждающего вещества возрастает, соединение переключается на прямое соединение, показанное на ФИГ.9, и нагреватель 222 прекращает работу. В результате мощность, требуемая для обогрева салона 162 транспортного средства, может быть уменьшена, вследствие чего уменьшается расход топлива.
[0103] Когда температура охлаждающего вещества в батарее 22 топливных элементов достигает заданного значения температуры охлаждающего вещества, может быть произведено переключение между соединением для получения замкнутого канала, показанным на ФИГ.8, и прямым соединением, показанным на ФИГ.9. Альтернативно для дополнительного улучшения расхода топлива переключение может быть произведено даже раньше, тогда, когда становится возможен теплообмен, и охлаждающее вещество достигает температуры 50 градусов Цельсия, которая близка к заданной температуре охлаждающего вещества.
[0104] На ФИГ.10 показан случай, при котором второй циркуляционный насос 220 работает, а циркуляционный насос 130 основного канала 102 для охлаждающего вещества остановлен, когда организуется соединение, показанное на ФИГ.9, т.е. когда перепускной канал 206 системы кондиционирования воздуха и основной канал 102 для охлаждающего вещества соединены напрямую. Циркуляционный насос 130 основного канала 102 для охлаждающего вещества и второй циркуляционный насос 220 подключаются посредством части, управляющей системой охлаждения (не показана), в соответствии с рабочим состоянием батареи 22 топливных элементов. Когда циркуляционный насос 130 основного канала 102 для охлаждающего вещества не работает, охлаждающее вещество не циркулирует через основной канал 102 для охлаждающего вещества. В этих условиях, если второй циркуляционный насос 220 работает и установлено соединение, показанное на ФИГ.9, охлаждающее вещество циркулирует по замкнутому контуру, протекая от второго циркуляционного насоса 220 через нагреватель 222 и теплообменник 170 системы кондиционирования воздуха в батарею 22 топливных элементов, а затем возвращаясь обратно во второй циркуляционный насос 220.
[0105] Рабочее состояние, описанное выше со ссылками на ФИГ.10, может быть использовано, когда батарея 22 топливных элементов работает при малой нагрузке, например, когда батарея 22 топливных элементов находится в режиме холостого хода или работает периодически. Поскольку, когда батарея 22 топливных элементов работает при малой нагрузке, выделяется небольшое количество тепла, охлаждения посредством радиатора 110 зачастую не требуется. Поэтому циркуляционный насос 130 основного канала 102 для охлаждающего вещества останавливается, и охлаждающее вещество вместо него перекачивается меньшим вторым циркуляционным насосом 220. Когда расход невелик, второй циркуляционный насос 220 работает с более высоким кпд, чем имеющий большую производительность циркуляционный насос 130. Так что меньший второй циркуляционный насос 220 способен эффективно перекачивать охлаждающее вещество при меньшей мощности, чем высокопроизводительный циркуляционный насос 130, что позволяет уменьшить расход топлива, когда батарея 22 топливных элементов работает при малой нагрузке. Когда батарея 22 топливных элементов работает при средней или большой нагрузке, второй циркуляционный насос 220 останавливается, и охлаждающее вещество перекачивается только циркуляционным насосом 130 основного канала 102 для охлаждающего вещества, как описано со ссылками на ФИГ.9. Соответственно, мощность, требуемую для привода второго циркуляционного насоса 220, можно уменьшить, что в свою очередь позволяет сократить расход топлива при средней или большой нагрузке.
[0106] Далее, когда пользователь выключает кондиционирование воздуха в салоне 162 транспортного средства после того, как охлаждающее вещество было нагрето при соединении для получения замкнутого контура, показанном на ФИГ.8, и салон 162 транспортного средства обогревается теплообменником 170 системы кондиционирования воздуха, соединение переключается на прямое соединение, показанное на ФИГ.9 или 10, в то время как нагреватель 222 продолжает работать. Когда кондиционер выключается, вентилятор и т.п., которые подают теплый воздух из теплообменника 170 системы кондиционирования воздуха в салон транспортного 162 средства, также выключаются. Однако, поскольку, нагреватель 222 по-прежнему работает, нагретое охлаждающее вещество может быть подано в батарею 22 топливных элементов, что позволяет быстро прогреть батарею 22 топливных элементов.
[0107] На ФИГ.5-10 канал для охлаждающего вещества, который содержит теплообменник 170 системы кондиционирования воздуха, предпочтительно изолирован с помощью соответствующего теплоизоляционного средства. Например, труба канала охлаждающего вещества может быть покрыта соответствующим теплоизоляционным материалом. В результате при запуске системы эксплуатации топливного элемента в теплообменнике 170 системы кондиционирования воздуха может выполняться эффективный теплообмен, так что можно быстро прогреть салон 162 транспортного средства. Таким образом, салон 162 транспортного средства может быть быстро прогрет с использованием небольшой мощности, благодаря чему снижается расход топлива.
[0108] Вышеописанная конструкция является одной из тех, в которых основной канал 102 для охлаждающего вещества проходит через увлажнитель 54. Однако конструкция может быть также такой, что основной канал 102 для охлаждающего вещества не проходит через увлажнитель 54. Кроме того, впуск охлаждающего вещества и возврат охлаждающего вещества во второй теплообменник 120 в основном канале 102 для охлаждающего вещества можно поменять местами по сравнению с вышеописанной конструкцией, так что охлаждающее вещество протекает из электродвигателя 50 во второй теплообменник 120. Кроме того, впуск охлаждающего вещества и возврат охлаждающего вещества для теплообменника 170 системы кондиционирования воздуха в основном канале 102 для охлаждающего вещества также можно поменять местами по сравнению с вышеописанной конструкцией. Далее будет описана такая конструкция. При этом элементы, которые имеют такие же номера, как на ФИГ.1-10 обозначаются теми же номерами и подробно описываться не будут.
[0109] На ФИГ.11 показана конструкция системы 300 охлаждения топливного элемента. Эта система 300 охлаждения топливного элемента отличается от системы 100 охлаждения топливного элемента, описанной со ссылками на ФИГ.2, тем, что основной канал 102 для охлаждающего вещества не проходит через увлажнитель 54, а впуск охлаждающего вещества и возврат охлаждающего вещества во второй теплообменник 120 в основном канале 102 для охлаждающего вещества реверсированы. Здесь так же, как описано со ссылками на ФИГ.2, система 300 охлаждения топливного элемента имеет каналы, по которым протекает охлаждающее вещество, а именно основной канал 102 для охлаждающего вещества и перепускной канал 104 для охлаждающего вещества, который располагается параллельно основному каналу 102 для охлаждающего вещества и отводит из него то же самое охлаждающее вещество.
[0110] В основном канале 102 для охлаждающего вещества располагаются радиатор 110, который имеет охлаждающий вентилятор, нагреватель 112 для нагрева и трехходовой клапан 114 для соответствующего отвода охлаждающего вещества в нагреватель 112, а также циркуляционный насос (WP) 130 для перекачки охлаждающего вещества. Охлаждающее вещество, протекающее через основной канал 102 для охлаждающего вещества, циркулирует между радиатором 110 и батареей 22 топливных элементов, отводя тепло от теплой или горячей батареи 22 топливных элементов, а затем охлаждается радиатором 110 и снова возвращается в батарею 22 топливных элементов. Кроме того, увлажнитель 54 располагается параллельно впуску, через который окисляющий газ подается на катодную сторону батареи 22 топливных элементов, и выпуску, через который газ выпускается, как описано выше. Однако основной канал 102 для охлаждающего вещества не проходит через увлажнитель 54, так что увлажнитель 54 не охлаждается охлаждающим веществом из основного канала 102 охлаждающего вещества.
[0111] Ионообменник 132 на ФИГ.11 представляет собой устройство, которое служит для удаления ионов из охлаждающего вещества, используемого в качестве охлаждающей среды. Дело в том, что ионы элементов, образующих циркуляционные каналы для охлаждающего вещества, растворяются в охлаждающем веществе. Ионообменник 132 удаляет эти ионы, поддерживая высоким сопротивление охлаждающего вещества, используемого в качестве охлаждающей среды. Ионообменник 132 располагается параллельно основному каналу 102 для охлаждающего вещества, как показано на ФИГ.11, однако, в зависимости от ситуации, он может также располагаться последовательно с основным каналом 102 для охлаждающего вещества. Кроме того, в ионообменнике 132 также может быть предусмотрено средство для измерения содержания ионов в охлаждающем веществе.
[0112] Перепускной канал 104 для охлаждающего вещества располагается параллельно основному каналу 102 для охлаждающего вещества. Охлаждающее вещество отбирается в этот перепускной канал 104 для охлаждающего вещества из канала выпускной стороны основного канала 102 для охлаждающего вещества, по которому охлаждающее вещество возвращается из батареи топливных элементов 22 в радиатор 110, и возвращается в канал впускной стороны основного канала 102 для охлаждающего вещества, по которому охлаждающее вещество протекает из радиатора 110 к батарее 22 топливных элементов. Перепускной канал 104 для охлаждающего вещества ведет во второй теплообменник 120 воздушного компрессора (АСР) 48, где выполняется теплообмен с каналом 80 для сжатого питающего газа, подаваемого из воздушного компрессора (АСР) 48 в батарею 22 топливных элементов через увлажнитель 54, после которого охлаждающее вещество возвращается в основной канал 102 для охлаждающего вещества. Соответственно, второй теплообменник 120 регулирует температуру питающего газа. Эта функция обычно выполняется независимой системой охлаждения, называемой промежуточным охладителем, однако в конструкции ФИГ. 11, аналогичной ФИГ.2, функция обычного промежуточного охладителя выполняется совместно охлаждающим веществом и системой охлаждения, которая проходит от радиатора 110 в батарею 22 топливных элементов.
[0113] Здесь циркуляционный насос 130 располагается в канале впускной стороны основного канала 102 для охлаждающего вещества на выходной стороне того места, где охлаждающее вещество возвращается в основной канал 102 для охлаждающего вещества из перепускного канала 104 для охлаждающего вещества. Как показано на ФИГ.11, охлаждающее вещество, которое протекает через второй теплообменник 120, отбирается на входе радиатора 110 и на выходе батареи 22 топливных элементов. Таким образом, охлаждающее вещество протекает через радиатор 110 и второй теплообменник 120 на входе циркуляционного насоса 130 и через батарею 22 топливных элементов на выходе циркуляционного насоса 130.
[0114] Соответственно, в данной конструкции (количество охлаждающего вещества, протекающего через радиатор 110) + (количество охлаждающего вещества, протекающего через второй теплообменник 120) = полному количеству охлаждающего вещества = (количеству охлаждающего вещества, протекающего через батарею 22 топливных элементов). Поэтому в батарею 22 топливных элементов может быть подано достаточно большое количество охлаждающего вещества. В результате, когда температура батареи 22 топливных элементов слишком высока, это тепло может быть быстро отведено на сторону радиатора 110. Кроме того, отношение (количества охлаждающего вещества, протекающего через радиатор 110) к (количеству охлаждающего вещества, протекающего через второй теплообменник 120) может быть отрегулировано посредством процентного соотношения гидравлических сопротивлений указанных двух или подобных. Альтернативно количество охлаждающего вещества, протекающего через указанные, может быть задано с помощью управляющего клапана, который регулирует соотношение распределения, при этом радиатор 110 и второй теплообменник 120 могут работать согласовано.
[0115] Кроме того, перепускной канал 104 для охлаждающего вещества располагается параллельно основному каналу 102 для охлаждающего вещества, что позволяет уменьшить разницу между температурой охлаждающего вещества, выпускаемого из второго теплообменника 120, и температурой охлаждающего вещества, выпускаемого из батареи 22 для топливных элементов. Первая температура определяется температурой питающего газа на впускной стороне увлажнителя 54, а вторая температура определяется температурой питающего газа на выпуске увлажнителя 54. Следовательно, может быть уменьшена разность температур между двумя впусками газа в увлажнитель 54 так, что повреждения, вызываемые разностью температур на этих двух концах, могут быть исключены даже при использовании конструкции воздушного типа.
[0116] В системе 340 охлаждения топливного элемента, показанной на ФИГ.12, способ распределения охлаждающего вещества можно изменять в зависимости от того, в каком месте перепускной канал охлаждающего вещества отделяется от основного канала охлаждающего вещества, и от местонахождения циркуляционного насоса 130. На ФИГ.12 показана конструкция системы 340 охлаждения топливного элемента, которая может подавать наибольшее количество охлаждающего вещества в радиатор 110.
[0117] В системе 340 охлаждения топливного элемента, показанной на ФИГ.12, циркуляционный насос 130 предусмотрен в канале впускной стороны основного канала 102 для охлаждающего вещества за радиатором 110 и перед тем местом, где охлаждающее вещество возвращается в основной канал 102 для охлаждающего вещества из перепускного канала 144 для охлаждающего вещества. Как показано на ФИГ.12, охлаждающее вещество, используемое во втором теплообменнике 120, отбирается перед радиатором 110 и за батареей 22 топливных элементов. Таким образом, на входе циркуляционного насоса 130 охлаждающее вещество протекает только через радиатор 110, в то время как на выходе циркуляционного насоса 130 охлаждающее вещество протекает через второй теплообменник 120 и батарею 22 топливных элементов.
[0118] Следовательно, в соответствии с данной конструкцией (количество охлаждающего вещества, протекающего через радиатор 110) = полному количеству охлаждающего вещества = (количество охлаждающего вещества, протекающего через второй теплообменник 120) + (количество охлаждающего вещества, протекающего через батарею 22 топливных элементов), так что (количество охлаждающего вещества, протекающего через радиатор 110) может быть максимизировано. В результате, когда разность температур между стороной впуска питающего газа и выпускной стороной батареи 22 топливных элементов велика, эта разность температур может быть эффективно уменьшена путем подачи из батареи 22 топливных элементов в радиатор 110 максимального количества охлаждающего вещества.
[0119] На ФИГ.13 показана конструкция системы 350 охлаждения топливного элемента, которая может подавать максимальное количество охлаждающего вещества в батарею 22 топливных элементов.
[0120] В системе 350 охлаждения топливного элемента, показанной на ФИГ.13, циркуляционный насос 130 располагается в канале впускной стороны основного канала 102 для охлаждающего вещества на выходе того места, где охлаждающее вещество возвращается из перепускного канала 154 для охлаждающего вещества и непосредственно на входе батареи 22 топливных элементов. Как показано на ФИГ.13, охлаждающее вещество, используемое во втором теплообменнике 120, отбирается на входе радиатора 110 и на выходе батареи топливных элементов 22. Таким образом, на входе циркуляционного насоса 130 охлаждающее вещество протекает через радиатор 110 и второй теплообменник 120, в то время как на выходе циркуляционного насоса 130 охлаждающее вещество протекает только через батарею 22 топливных элементов.
[0121] Следовательно, в соответствии с данной конструкцией (количество охлаждающего вещества, протекающего через радиатор 110) + (количество охлаждающего вещества, протекающего через второй теплообменник 120) = полному количеству охлаждающего вещества = (количеству охлаждающего вещества, протекающего через батарею 22 топливных элементов), так что (количество охлаждающего вещества, протекающего через батарею 22 топливных элементов) может быть максимизировано. В результате тепло от батареи 22 топливных элементов может быть эффективно отведено путем отвода в батарею 22 топливных элементов максимального количества охлаждающего вещества.
[0122] В данной системе охлаждения топливного элемента охлаждающее вещество можно также отводить из основного канала для охлаждающего вещества в теплообменник системы кондиционирования воздуха в салоне транспортного средства. На ФИГ.14 показана конструкция системы 360 охлаждения топливного элемента, в которой охлаждающее вещество отводится в теплообменник системы кондиционирования воздуха.
[0123] В дополнение к системе охлаждения, содержащей перепускной канал 104 для охлаждающего вещества и второй теплообменник 120, которая описана со ссылками на ФИГ.11, система 360 охлаждения топливного элемента, показанная на ФИГ.14, также снабжена перепускным каналом 164 для системы кондиционирования воздуха, посредством которого охлаждающее вещество из основного канала 102 для охлаждающего вещества отводится в теплообменник 170 системы кондиционирования воздуха в салоне 162 транспортного средства. В перепускном канале 164 для охлаждающего вещества системы кондиционирования воздуха предусмотрены в случае необходимости нагреватель 166 и запорный клапан 168, который управляет (избирательно разрешает или блокирует) отведение охлаждающего вещества в перепускной канал 164 для охлаждающего вещества системы кондиционирования воздуха.
[0124] Охлаждающее вещество в основном канале 102 для охлаждающего вещества отводится в теплообменник 170 системы кондиционирования воздуха в месте непосредственно перед впуском охлаждающего вещества в батарею 22 топливных элементов. Как показано на ФИГ.14, охлаждающее вещество, используемое в теплообменнике 170 системы кондиционирования воздуха, отбирается перед батарей 22 топливных элементов. Кроме того, когда запорный клапан 168 открыт, охлаждающее вещество, которое было отведено из основного канала 102 для охлаждающего вещества, поступает в теплообменник 170 системы кондиционирования воздуха через нагреватель 166, а затем возвращается в основной канал 102 охлаждающего вещества. Место возврата охлаждающего вещества располагается непосредственно после выпуска охлаждающего вещества из батареи 22 топливных элементов.
[0125] В соответствии с данной конструкцией (количество охлаждающего вещества, протекающего через радиатор 110) + (количество охлаждающего вещества, протекающего через второй теплообменник 120) = полному количеству охлаждающего вещества = (количество охлаждающего вещества, протекающего через батарею 22 топливных элементов) + (количество охлаждающего вещества, протекающего через теплообменник 170 системы кондиционирования воздуха). Следовательно, охлаждающее вещество может подаваться в теплообменник системы кондиционирования воздуха, в то время как соответствующее количество охлаждающего вещества поступает также в батарею 22 топливных элементов.
[0126] Таким образом, в соответствии с данной конструкцией циркулирующее охлаждающее вещество, которое было нагрето за счет работы батареи 22 топливных элементов и поддерживается при соответствующей температуре посредством радиатора 110, может подаваться в теплообменник 170 системы кондиционирования воздуха, так что обогрев салона 162 транспортного средства и соответствующее кондиционирование могут быть достигнуты без применения специально предусмотренной отдельной системы кондиционирования воздуха. При необходимости могут также быть использованы нагреватель 112 или нагреватель 166. Кроме того, когда батарея 22 топливных элементов прогрета недостаточно, можно не допустить подачи охлаждающего вещества в теплообменник 170 системы кондиционирования воздуха, перекрыв запорный клапан 168.
[0127] Таким образом, открывая запорный клапан 168 только тогда, когда необходимо нагреть салон транспортного средства, можно уменьшить мощность, потребляемую циркуляционным насосом 130. Кроме того, как показано на ФИГ.14, за счет применения в системе теплообменника 170 системы кондиционирования воздуха нагревателя 166, который способствует обогреву салона транспортного средства, можно уменьшить расход топлива без потери давления в нагревателе 166 во время нормального режима охлаждения батареи 22 топливных элементов, когда запорный клапан 168 закрыт.
[0128] Как описано выше, за счет совместного использования охлаждающего вещества системой охлаждения батареи 22 топливных элементов и системой кондиционирования воздуха в салоне и посредством избирательного открывания и закрывания запорного клапан 168 в зависимости от температуры батареи 22 топливных элементов и температуры в салоне транспортного средства, система охлаждения батареи 22 топливных элементов и система кондиционирования воздуха в салоне могут быть объединены с использованием согласованного управления. На ФИГ.14 предусмотрен перепускной канал 104 для охлаждающего вещества, который включает второй теплообменник 120 и радиатор 110, при этом второй теплообменник 120 и теплообменник 170 системы кондиционирования воздуха управляются согласовано. Однако, альтернативно, второй теплообменник 120 может отсутствовать, и согласованное управление может распространяться на радиатор 110 и на теплообменник 170 системы кондиционирования воздуха.
[0129] В системе охлаждения, которая включает теплообменник системы кондиционирования воздуха, способ распределения охлаждающего вещества можно изменять в зависимости от того, в каком месте перепускной канал системы кондиционирования воздуха отделяется от основного канала для охлаждающего вещества, и от местонахождения циркуляционного насоса 130. На ФИГ.15 показана конструкция системы 380 охлаждения топливного элемента в соответствии с двенадцатым примером осуществления изобретения. В этой системе охлаждающее вещество возвращается в основной канал 102 для охлаждающего вещества из теплообменника 170 системы кондиционирования воздуха непосредственно после радиатора 110.
[0130] В системе 380 охлаждения топливного элемента, показанной на ФИГ.15, охлаждающее вещество из основного канала 102 для охлаждающего вещества отводится в теплообменник 170 системы кондиционирования воздуха за батареей 22 топливных элементов и перед радиатором 110. Как показано на ФИГ.15, охлаждающее вещество, используемое в теплообменнике 170 системы кондиционирования воздуха, отбирается непосредственно на выходе охлаждающего вещества из батареи 22 топливных элементов и на входе радиатора 110. Кроме того, когда запорный клапан 168 открыт, охлаждающее вещество, которое было отведено из основного канала 102 для охлаждающего вещества, подается в теплообменник 170 системы кондиционирования воздуха и нагреватель 166, а затем возвращается в основной канал 102 для охлаждающего вещества. Место возврата охлаждающего вещества располагается за выходом радиатора 110 и перед входом циркуляционного насоса 130.
[0131] В соответствии с данной конструкцией (количество охлаждающего вещества, протекающего через радиатор 110) + (количество охлаждающего вещества, протекающего через теплообменник 170 системы кондиционирования воздуха) + (количество охлаждающего вещества, протекающего через второй теплообменник 120) = полному количеству охлаждающего вещества = (количеству охлаждающего вещества, протекающего через батарею 22 топливных элементов). Следовательно, охлаждающее вещество можно подавать в другие элементы, в то время как значительное количество охлаждающего вещества поступает также в батарею 22 топливных элементов.
[0132] Таким образом, в соответствии с данной конструкцией циркулирующее охлаждающее вещество, которое было нагрето за счет работы батареи 22 топливных элементов и поддерживается при соответствующей температуре посредством радиатора 110, может подаваться в теплообменник 170 системы кондиционирования воздуха, так что обогрев салона 162 транспортного средства и соответствующее кондиционирование могут быть достигнуты без применения специально предусмотренной отдельной системы кондиционирования воздуха. При необходимости также может быть использован нагреватель 166. Кроме того, когда батарея 22 топливных элементов прогрета недостаточно, можно не допустить подачи холодного охлаждающего вещества в теплообменник 170 системы кондиционирования воздуха, перекрыв запорный клапан 168. Поскольку в батарею 22 топливных элементов можно подавать значительное количество охлаждающего вещества, тепло может быть быстро отведено из батареи 22 топливных элементов.
[0133] Как описано выше, даже в системе охлаждения батареи топливных элементов, в которой охлаждающее вещество из основного канала для охлаждающего вещества не протекает через увлажнитель 54, способ распределения охлаждающего вещества можно изменять в зависимости от того, в каком месте перепускной канал второго теплообменника и перепускной канал системы кондиционирования воздуха отделяются от основного канала для охлаждающего вещества, а также от местонахождения циркуляционного насоса. Следовательно, путем переключения места, где поток отводится из основного канала для охлаждающего вещества, и места расположения циркуляционного насоса можно согласовано регулировать охлаждение батареи топливных элементов, теплообмен между питающим газом и воздушным компрессором (АСР) 48 посредством второго теплообменника и кондиционирование воздуха в салоне транспортного средства посредством теплообменника системы кондиционирования воздуха и т.п., так что в каждую из этих систем охлаждения будут подаваться соответствующие количества охлаждающего вещества в соответствии с рабочим состоянием системы 10 управления топливным элементом или рабочим состоянием транспортного средства.
[0134] Например, применение средства переключения положения перепуска для переключения местонахождения в основном канале охлаждающего вещества впуска и выпуска перепускного канала, который отводит охлаждающее вещество из основного канала для охлаждающего вещества во второй теплообменник, обеспечивает подачу в батарею топливных элементов охлаждающего вещества в количестве, соответствующем рабочему состоянию батареи топливных элементов, путем переключения места перепуска в зависимости от рабочего состояния батареи топливных элементов.
[0135] Кроме того, применение средства переключения места перепуска для переключения местонахождения в основном канале охлаждающего вещества впуска и выпуска перепускного канала, который отводит охлаждающее вещество из основного канала охлаждающего вещества в теплообменник системы кондиционирования воздуха, обеспечивает подачу в теплообменник системы кондиционирования воздуха охлаждающего вещества в количестве, соответствующем температуре в салоне транспортного средства, путем переключения места перепуска в зависимости от температуры в салоне.
[0136] На ФИГ.16 показана конструкция системы 400 охлаждения топливного элемента в соответствии с четырнадцатым предпочтительным примером осуществления изобретения. Здесь конструкция перепускного канала охлаждающего вещества системы кондиционирования воздуха была изменена таким образом, что охлаждающее вещество, протекающее в теплообменник 170 системы кондиционирования воздуха, можно использовать либо совместно с каналом 102 для охлаждающего вещества, либо только для теплообменника 170 системы кондиционирования воздуха.
[0137] В системе 400 охлаждения топливного элемента, показанной на ФИГ. 16, перепускной канал 202 системы кондиционирования воздуха включает три элемента. Т.е. весь перепускной канал 202 для охлаждающего вещества системы кондиционирования воздуха состоит из входного/выходного канала 204, через который охлаждающее вещество отбирается из основного канала 102 для охлаждающего вещества и возвращается в него, перепускного канала 206 системы кондиционирования воздуха, по которому охлаждающее вещество протекает через теплообменник 170 системы кондиционирования воздуха, и циркуляционного канала 208, который проходит параллельно перепускному каналу 206 системы кондиционирования воздуха.
[0138] Как показано на ФИГ.16, в точке соединения этих трех каналов, т.е. входного/выходного канала 204, перепускного канала 206 системы кондиционирования воздуха и циркуляционного канала 208, устанавливается трехходовой клапан 212. Таким образом, соединение между входным/выходным каналом 204, перепускным каналом 206 системы кондиционирования воздуха и циркуляционным каналом 208 можно переключать с помощью трехходового клапана 212. В этом смысле трехходовой клапан 212 является средством переключения соединения между перепускным каналом 206 системы кондиционирования воздуха и входным/выходным каналом 204, который подсоединен к основному каналу 102 для охлаждающего вещества, и соединения между перепускным каналом 206 системы кондиционирования воздуха и циркуляционным каналом 208. Несколько режимов переключения будут описаны ниже.
[0139] В перепускном канале 206 системы кондиционирования воздуха, кроме циркуляционного насоса 130, установленного в главном канале охлаждающего вещества 102, предусмотрен насос для перекачки охлаждающего вещества. Для того, чтобы отличать этот насос от циркуляционного насоса 130, он будет называться вторым циркуляционным насосом 220. В перепускном канале 206 системы кондиционирования воздуха последовательно установлены этот второй циркуляционный насос 220, нагреватель 222 и теплообменник 170 системы кондиционирования воздуха. На ФИГ.16 эти элементы расположены в следующем порядке: трехходовой клапан 212, второй циркуляционный насос 220, нагреватель 222 и теплообменник 170 системы кондиционирования воздуха. Однако, альтернативно, различные элементы могут быть расположены между впуском и выпуском трехходового клапана 212 в другом порядке и, в зависимости от конкретного случая, могут дополнительно включать переключающий или аналогичный клапан и быть расположены параллельно.
[0140] Второй циркуляционный насос 220 является циркуляционным насосом для охлаждающего вещества, который меньше, чем циркуляционный насос 130 в основном канале 102 для охлаждающего вещества. Циркуляционный насос 130 в основном канале 102 для охлаждающего вещества имеет такую производительность, которая обеспечивает надежную работу даже при большом расходе, так что охлаждающее вещество может прокачиваться через канал охлаждающего вещества, который содержит радиатор 110, увлажнитель 54 и батарею 22 топливных элементов, быстро осуществлять теплообмен и поддерживаться при соответствующей температуре. В отличие от этого, второй циркуляционный насос 220 предназначен для перекачки охлаждающего вещества главным образом через теплообменник 170 системы кондиционирования воздуха, и поэтому может быть насосом небольшой производительности. Поскольку этот второй циркуляционный насос 220 является небольшим, при малом расходе эффективность его эксплуатации выше, чем у циркуляционного насоса 130 в основном канале 102 для охлаждающего вещества. Кроме того, второй циркуляционный насос 220 предпочтительно является таким, что охлаждающее вещество может проходить через него, даже когда он не работает. Благодаря этому предотвращается понижение кпд циркуляции охлаждающего вещества, даже когда второй циркуляционный насос 220 не работает.
[0141] Входной/выходной канал 204 является каналом охлаждающего вещества, который проходит от основного канала 102 для охлаждающего вещества до трехходового клапана 212, так что в этом смысле его можно рассматривать как ответвление основного канала 102 охлаждающего вещества. Циркуляционный канал 208 образует замкнутый канал, т.к. он подсоединяется параллельно перепускному каналу 206 системы кондиционирования воздуха.
[0142] Далее будет описано переключение каналов охлаждающего вещества посредством трехходового клапана 212. Операция переключения трехходового клапана 212 выполняется посредством управляющей охлаждением части (не показана) в соответствии с рабочим состоянием батареи 22 топливных элементов. Управляющая охлаждением часть может также быть объединена с управляющей частью 70 системы 10 управления топливным элементом. На ФИГ.17 показан перепускной канал 206 системы кондиционирования воздуха, соединенный с циркуляционным каналом 208 в виде замкнутого контура, что достигается путем переключения трехходового клапана 212. В этом случае входной/выходной канал 204 отсоединен от замкнутого канала. Для большей наглядности трехходовой клапан 212 на ФИГ.17 показан пунктиром. Более конкретно, этот замкнутый канал образуется путем такого переключения трехходового клапана 212, чтобы он соединял одну сторону перепускного канала 206 системы кондиционирования воздуха с одной стороной циркуляционного канала 208.
[0143] При образовании такого замкнутого канала охлаждающее вещество может перекачиваться по этому замкнутому каналу вторым циркуляционным насосом 220 независимо от основного канала 102 для охлаждающего вещества. Т.е. охлаждающее вещество может циркулировать между нагревателем 222 и теплообменником 170 системы кондиционирования воздуха. Такое состояние предпочтительно используется тогда, когда батарея 22 топливных элементов все еще работает при низкой температуре. В результате можно предотвратить поступление холодного охлаждающего вещества, которое еще не было достаточно нагрето батареей 22 топливных элементов, в теплообменник 170 системы кондиционирования воздуха. Кроме того, применение нагревателя 222 и второго циркуляционного насоса 220 позволяет достаточно нагреть охлаждающее вещество в замкнутом канале и подать его в теплообменник 170 системы кондиционирования воздуха, так что можно эффективно и быстро обогреть салон 162 транспортного средства.
[0144] На ФИГ.18 показано состояние, в котором трехходовой клапан 212 был переключен на отсоединение циркуляционного канала 208 и соединение входного/выходного канала 204 с перепускным каналом 206. Здесь так же, как и на ФИГ. 17, трехходовой клапан 212 изображен пунктиром, чтобы более наглядно показать канал. Более конкретно, трехходовой клапан 212 включен так, чтобы он соединял одну сторону перепускного канала 206 системы кондиционирования воздуха с той стороной входного/выходного канала 204, которая подсоединяется к впуску охлаждающего вещества из основного канала 102 для охлаждающего вещества. В результате циркуляционный канал 208 отсоединен, в то время как входной/выходной канал 204 и перепускной канал 206 системы кондиционирования воздуха соединены друг с другом, так что перепускной канал 206 системы кондиционирования воздуха может располагаться параллельно основному каналу 102 для охлаждающего вещества, проходящему через батарею 22 топливных элементов.
[0145] Это соединение в основном аналогично конструкции, показанной на ФИГ.6 и 15. Т.е. перепускной канал 202 системы кондиционирования воздуха использует охлаждающее вещество совместно с основным каналом 102 для охлаждающего вещества, и осуществляется так называемое согласованное управление. Таким образом, трехходовой клапан 212 переключает подсоединение перепускного канала 206 системы кондиционирования воздуха между соединением для управления, согласованного с основным каналом 102 для охлаждающего вещества, и соединением для независимого управления. Когда перепускной канал 206 системы кондиционирования воздуха подключен для согласованного управления, второй циркуляционный насос 220 останавливается. Однако, как описано выше, даже когда работа второго циркуляционного насоса остановлена, охлаждающее вещество может по-прежнему свободно протекать через второй циркуляционный насос 220, так что кпд циркуляции охлаждающего вещества через перепускной канал 206 системы кондиционирования воздуха не снижается.
[0146] Согласованное управление реализуется тогда, когда охлаждающее вещество, которое было нагрето за счет работы батареи 22 топливных элементов и поддерживается при соответствующей температуре посредством радиатора 110, циркулирует так, как описано со ссылками на ФИГ.6 и 15. Поэтому переключение между соединением для получения замкнутого канала, показанным на ФИГ.17, и соединением для согласованного управления зависит от рабочего состояния батареи 22 топливных элементов. Например, когда батарея 22 топливных элементов еще не прогрета, реализуется соединение для получения замкнутого канала, показанное на ФИГ.17, а нагреватель 222 и второй циркуляционный насос 220 работают для повышения температуры охлаждающего вещества, поступающего в теплообменник 170 системы кондиционирования воздуха. Когда батарея 22 топливных элементов прогрета, и температура охлаждающего вещества в основном канале 102 для охлаждающего вещества возрастает, соединение переключается на прямое соединение, показанное на ФИГ.18, и нагреватель 222 прекращает работу. В результате мощность, требуемая для обогрева салона 162 транспортного средства, может быть уменьшена, вследствие чего уменьшается расход топлива
[0147] Переключение между соединением для получения замкнутого канала, показанным на ФИГ.17, и прямым соединением, показанным на ФИГ.18, может быть произведено тогда, когда температура охлаждающего вещества в батарее 22 топливных элементов достигает заданного значения температуры охлаждающего вещества. Альтернативно для дополнительного улучшения расхода топлива переключение может быть произведено даже раньше, тогда, когда охлаждающее вещество достигает температуры 50 градусов Цельсия, при которой становится возможен теплообмен и которая близка к заданной температуре охлаждающего вещества.
[0148] На ФИГ.19 показан модифицированный пример соединения, изображенного на ФИГ.18. Здесь охлаждающее вещество, протекающее через перепускной канал 206 системы кондиционирования воздуха, возвращается в основный канал 102 для охлаждающего вещества на входе батареи 22 топливных элементов. Кроме того, трехходовой клапан 212 переключается так, что он соединяет ту сторону входного/выходного канала 204, которая соединена с местом, где охлаждающее вещество отбирается из основного канала 102 для охлаждающего вещества, с одной из сторон перепускного канала 206. В результате циркуляционный канал 208 отсоединяется, а входной/выходной канал 204 напрямую соединяется с перепускным каналом 206; при этом второй циркуляционный насос 220 работает, а циркуляционный насос 130 главного канала 102 для охлаждающего вещества останавливается. Часть, управляющая охлаждением (не показана), в соответствии с рабочим состоянием батареи топливных элементов 22 осуществляет управление работой циркуляционного насоса 130 основного канала 102 для охлаждающего вещества и второго циркуляционного насоса 220.
[0149] Когда циркуляционный насос 130 основного канала 102 для охлаждающего вещества не работает, охлаждающее вещество не циркулирует через основной канал 102 для охлаждающего вещества. При этих условиях, когда второй циркуляционный насос 220 работает, а соединение установлено так, как показано на ФИГ.19, охлаждающее вещество циркулирует по замкнутому контуру, протекая из второго циркуляционного насоса 220 в нагреватель 222, в теплообменник 170 системы кондиционирования воздуха и в батарею 22 топливных элементов, а затем возвращается обратно во второй циркуляционный насос 220.
[0150] Рабочее состояние, описанное выше со ссылками на ФИГ. 19, может быть использовано, когда батарея 22 топливных элементов работает при малой нагрузке, например, когда батарея 22 топливных элементов работает на холостом ходу или периодически. Поскольку, когда батарея 22 топливных элементов работает при малой нагрузке, выделяется небольшое количество тепла, охлаждения посредством радиатора 110 зачастую не требуется. Поэтому циркуляционный насос 130 основного канала 102 для охлаждающего вещества останавливается, и охлаждающее вещество вместо него перекачивается меньшим вторым циркуляционным насосом 220. Когда расход невелик, второй циркуляционный насос 220 работает с более высоким кпд, чем имеющий большую производительность циркуляционный насос 130. Т.е. меньший второй циркуляционный насос 220 способен эффективно перекачивать охлаждающее вещество при меньшей мощности, чем высокопроизводительный циркуляционный насос 130, что позволяет уменьшить расход топлива, когда батарея 22 топливных элементов работает при малой нагрузке. Когда батарея 22 топливных элементов работает при средней или большой нагрузке, второй циркуляционный насос 220 останавливается, и охлаждающее вещество перекачивается только циркуляционным насосом 130 основного канала 102 для охлаждающего вещества, как описано со ссылками на ФИГ.9. Соответственно, мощность, требуемую для привода второго циркуляционного насоса 220, можно уменьшить, что в свою очередь позволяет сократить расход топлива при средней или большой нагрузке.
[0151] Далее, когда пользователь выключает кондиционирование воздуха в салоне 162 транспортного средства после того, как охлаждающее вещество было нагрето при соединении для получения замкнутого канала, показанном на ФИГ.17, и салон 162 транспортного средства обогревается теплообменником 170 системы кондиционирования воздуха, соединение переключается на прямое соединение, показанное на ФИГ.18 или 19, в то время как нагреватель 222 продолжает работать. Когда кондиционер выключается, вентилятор и т.п., которые подают теплый воздух из теплообменника 170 системы кондиционирования воздуха в салон 162 транспортного средства, также выключаются. Однако, поскольку, нагреватель 222 по-прежнему работает, нагретое охлаждающее вещество может быть подано в батарею 22 топливных элементов, что позволяет быстро прогреть батарею 22 топливных элементов.
[0152] Хотя изобретение было описано со ссылками на примеры осуществления, рассматриваемые как предпочтительные, понятно, что изобретение не ограничено описанными примерами осуществления или конструкциями. Наоборот, изобретение рассчитано на охват всевозможных модификаций и эквивалентных конструкций. Кроме того, хотя различные элементы описанного изобретения показаны в различных сочетаниях и конфигурациях, которые являются примерными, в рамках настоящего изобретения возможны также другие сочетания и конфигурации, включающие большее число элементов, меньшее число или только один элемент.
Формула изобретения
1. Система охлаждения топливного элемента, который вырабатывает электроэнергию посредством электрохимической реакции, осуществляемой за счет подачи топливного газа на анодную сторону и окисляющего газа на катодную сторону, содержащая: канал (102) для охлаждающего вещества, по которому охлаждающее вещество циркулирует между батареей (22) топливных элементов и радиатором (110); второй теплообменник (120), который предусмотрен параллельно батарее (22) топливных элементов или радиатору (110) и использует охлаждающее вещество, отводимое из канала (102) для охлаждающего вещества; циркуляционный насос (130) для охлаждающего вещества, установленный последовательно в канале (102) для охлаждающего вещества; и увлажнитель (54), установленный параллельно относительно впуска катодной стороны батареи (22) топливных элементов, через который на катодную сторону топливного элемента подается окисляющий газ, и выпуска катодной стороны батареи (22) топливных элементов, через который происходит выпуск газа, при этом увлажнитель (54) расположен на выходе циркуляционного насоса (130) для охлаждающего вещества и на входе батареи (22) топливных элементов, а второй теплообменник использует охлаждающее вещество, отбираемое на выходе радиатора (110) и на входе циркуляционного насоса (130) для охлаждающего вещества.
2. Система охлаждения топливного элемента, который вырабатывает электроэнергию посредством электрохимической реакции, осуществляемой за счет подачи топливного газа на анодную сторону и окисляющего газа на катодную сторону, содержащая: канал (102) для охлаждающего вещества, по которому охлаждающее вещество циркулирует между батареей (22) топливных элементов и радиатором (110); второй теплообменник, который предусмотрен параллельно батарее (22) топливных элементов или радиатору (110) и использует охлаждающее вещество, отводимое из канала (102) для охлаждающего вещества, при этом второй теплообменник служит в качестве устройства охлаждения газового компрессора, подающего окисляющий газ; циркуляционный насос (130) для охлаждающего вещества, установленный последовательно в канале (102) для охлаждающего вещества; и увлажнитель (54), установленный параллельно относительно впуска катодной стороны батареи (22) топливных элементов, через который окисляющий газ подается на катодную сторону топливного элемента, и выпуска катодной стороны батареи (22) топливных элементов, через который происходит выпуск газа, при этом увлажнитель (54) расположен на выходе циркуляционного насоса (130) для охлаждающего вещества и на входе батареи (22) топливных элементов, а второй теплообменник использует охлаждающее вещество, отбираемое на выходе циркуляционного насоса (130) для охлаждающего вещества и на входе увлажнителя (54).
3. Система охлаждения топливного элемента, который вырабатывает электроэнергию посредством электрохимической реакции, осуществляемой за счет подачи топливного газа на анодную сторону и окисляющего газа на катодную сторону, содержащая: канал (102) для охлаждающего вещества, по которому охлаждающее вещество циркулирует между батареей (22) топливных элементов и радиатором (110); второй теплообменник, который предусмотрен параллельно батарее (22) топливных элементов или радиатору (110) и использует охлаждающее вещество, отводимое из канала (102) для охлаждающего вещества, при этом второй теплообменник служит в качестве устройства охлаждения газового компрессора, подающего окисляющий газ; циркуляционный насос (130) для охлаждающего вещества, установленный последовательно в канале (102) для охлаждающего вещества; и увлажнитель (54), установленный параллельно относительно впуска катодной стороны батареи (22) топливных элементов, через который окисляющий газ подается на катодную сторону топливного элемента, и выпуска катодной стороны батареи (22) топливных элементов, через который происходит выпуск газа, при этом увлажнитель (54) расположен на входе циркуляционного насоса (130) для охлаждающего вещества и на выходе радиатора (110), а во втором теплообменнике используется охлаждающее вещество, отбираемое на выходе радиатора (110) и на входе увлажнителя (54).
4. Система охлаждения топливного элемента, который вырабатывает электроэнергию посредством электрохимической реакции, осуществляемой за счет подачи топливного газа на анодную сторону и окисляющего газа на катодную сторону, содержащая: канал (102) для охлаждающего вещества, по которому охлаждающее вещество циркулирует между батареей (22) топливных элементов и радиатором (110); второй теплообменник, который предусмотрен параллельно батарее (22) топливных элементов или радиатору (110) и использует охлаждающее вещество, отводимое из канала (102) для охлаждающего вещества, при этом второй теплообменник служит в качестве устройства охлаждения газового компрессора, подающего окисляющий газ; при этом топливный элемент является автомобильным топливным элементом, установленным на транспортном средстве, теплообменник системы кондиционирования воздуха для кондиционирования салона транспортного средства предусмотрен параллельно батарее (22) топливных элементов, а в теплообменнике системы кондиционирования воздуха используется охлаждающее вещество, отводимое из канала (102) для охлаждающего вещества; циркуляционный насос (130) для охлаждающего вещества, установленный последовательно в канале (102) для охлаждающего вещества; и увлажнитель (54), установленный параллельно относительно впуска катодной стороны батареи (22) топливных элементов, через который на катодную сторону топливного элемента подается окисляющий газ, и выпуска катодной стороны батареи (22) топливных элементов, через который происходит выпуск газа, при этом увлажнитель (54) расположен на выходе циркуляционного насоса (130) для охлаждающего вещества и на входе батареи (22) топливных элементов, а в теплообменнике системы кондиционирования воздуха используется охлаждающее вещество, отбираемое на выходе увлажнителя (54) и на входе батареи (22) топливных элементов.
5. Система охлаждения топливного элемента, который вырабатывает электроэнергию посредством электрохимической реакции, осуществляемой за счет подачи топливного газа на анодную сторону и окисляющего газа на катодную сторону, содержащая: канал (102) для охлаждающего вещества, по которому охлаждающее вещество циркулирует между батареей (22) топливных элементов и радиатором (110); второй теплообменник, который предусмотрен параллельно батарее (22) топливных элементов или радиатору (110) и использует охлаждающее вещество, отводимое из канала (102) для охлаждающего вещества, при этом второй теплообменник служит в качестве устройства охлаждения газового компрессора, подающего окисляющий газ; при этом топливный элемент является автомобильным топливным элементом, установленным на транспортном средстве, теплообменник системы кондиционирования воздуха для кондиционирования салона транспортного средства предусмотрен параллельно батарее (22) топливных элементов, а в теплообменнике системы кондиционирования воздуха используется охлаждающее вещество, отводимое из канала (102) для охлаждающего вещества; циркуляционный насос (130) для охлаждающего вещества, установленный последовательно в канале (102) для охлаждающего вещества; и увлажнитель (54), установленный параллельно относительно впуска катодной стороны батареи (22) топливных элементов, через который на катодную сторону топливного элемента подается окисляющий газ, и выпуска катодной стороны батареи (22) топливных элементов, через который происходит выпуск газа, при этом увлажнитель (54) расположен на выходе циркуляционного насоса (130) для охлаждающего вещества и на входе батареи (22) топливных элементов, а в теплообменнике системы кондиционирования воздуха используется охлаждающее вещество, отбираемое на выходе радиатора (110) и на входе циркуляционного насоса (130) для охлаждающего вещества.
6. Система охлаждения топливного элемента, который вырабатывает электроэнергию посредством электрохимической реакции, осуществляемой за счет подачи топливного газа на анодную сторону и окисляющего газа на катодную сторону, содержащая: канал (102) для охлаждающего вещества, по которому охлаждающее вещество циркулирует между батареей (22) топливных элементов и радиатором (110); второй теплообменник, который предусмотрен параллельно батарее (22) топливных элементов или радиатору (110) и использует охлаждающее вещество, отводимое из канала (102) для охлаждающего вещества, при этом второй теплообменник служит в качестве устройства охлаждения газового компрессора, подающего окисляющий газ; циркуляционный насос (130) для охлаждающего вещества, установленный последовательно в канале (102) для охлаждающего вещества; и увлажнитель (54), установленный параллельно относительно впуска катодной стороны батареи (22) топливных элементов, через который на катодную сторону топливного элемента подается окисляющий газ, и выпуска катодной стороны батареи (22) топливных элементов, через который происходит выпуск газа; и средство переключения положения перепуска для переключения местоположения по крайней мере впуска или выпуска перепускного канала, по которому охлаждающее вещество отводится из канала (102) для охлаждающего вещества во второй теплообменник.
7. Система охлаждения топливного элемента, который вырабатывает электроэнергию посредством электрохимической реакции, осуществляемой за счет подачи топливного газа на анодную сторону и окисляющего газа на катодную сторону, содержащая: канал (102) для охлаждающего вещества, по которому охлаждающее вещество циркулирует между батареей (22) топливных элементов и радиатором (110); второй теплообменник, который предусмотрен параллельно батарее (22) топливных элементов или радиатору (110) и использует охлаждающее вещество, отводимое из канала (102) для охлаждающего вещества, при этом второй теплообменник служит в качестве устройства охлаждения газового компрессора, подающего окисляющий газ; при этом топливный элемент является автомобильным топливным элементом, установленным на транспортном средстве, теплообменник системы кондиционирования воздуха для кондиционирования салона транспортного средства предусмотрен параллельно батарее (22) топливных элементов, а в теплообменнике системы кондиционирования воздуха используется охлаждающее вещество, отводимое из канала (102) для охлаждающего вещества; циркуляционный насос (130) для охлаждающего вещества, установленный последовательно в канале (102) для охлаждающего вещества; увлажнитель (54), установленный параллельно относительно впуска катодной стороны батареи (22) топливных элементов, через который на катодную сторону топливного элемента подается окисляющий газ, и выпуска катодной стороны батареи (22) топливных элементов, через который происходит выпуск газа; и средство переключения положения перепуска для переключения местоположения по крайней мере впуска или выпуска перепускного канала, по которому охлаждающее вещество отводится из канала (102) для охлаждающего вещества в теплообменник системы кондиционирования воздуха.
8. Система охлаждения топливного элемента, который вырабатывает электроэнергию посредством электрохимической реакции, осуществляемой за счет подачи топливного газа на анодную сторону и окисляющего газа на катодную сторону, содержащая: канал (102) для охлаждающего вещества, по которому охлаждающее вещество циркулирует между батареей (22) топливных элементов и радиатором (110); второй теплообменник, который предусмотрен параллельно батарее (22) топливных элементов или радиатору (110) и использует охлаждающее вещество, отводимое из канала (102) для охлаждающего вещества, при этом второй теплообменник служит в качестве устройства охлаждения газового компрессора, подающего окисляющий газ; при этом топливный элемент является автомобильным топливным элементом, установленным на транспортном средстве, теплообменник системы кондиционирования воздуха для кондиционирования салона транспортного средства предусмотрен параллельно батарее (22) топливных элементов, а в теплообменнике системы кондиционирования воздуха используется охлаждающее вещество, отводимое из канала (102) для охлаждающего вещества; первый циркуляционный насос для охлаждающего вещества, установленный последовательно в канале (102) для охлаждающего вещества; перепускной канал системы кондиционирования воздуха, который является перепускным каналом, по которому протекает охлаждающее вещество, отводимое из канала (102) для охлаждающего вещества, и в котором устанавливаются теплообменник системы кондиционирования воздуха, нагреватель и второй циркуляционный насос для охлаждающего вещества; циркуляционный канал, расположенный параллельно перепускному каналу системы кондиционирования воздуха; а средство переключения перепускного канала системы кондиционирования воздуха для переключения соединения между перепускным каналом системы кондиционирования воздуха и каналом (102) для охлаждающего вещества и соединения между перепускным каналом системы кондиционирования воздуха и циркуляционным каналом.
9. Система охлаждения топливного элемента по п.8, в которой средство переключения перепускного канала системы кондиционирования воздуха производит переключение между соединением для получения замкнутого контура, при котором перепускной канал системы кондиционирования воздуха и циркуляционный канал соединены в виде замкнутого контура и отсоединены от канала (102) для охлаждающего вещества, и прямым соединением, при котором перепускной канал системы кондиционирования воздуха и канал (102) для охлаждающего вещества соединены напрямую и отсоединены от циркуляционного канала.
10. Система охлаждения топливного элемента по п.9, в которой второй циркуляционный насос является насосом, который работает с более высоким кпд, чем первый циркуляционный насос, когда расход охлаждающего вещества является малым; и дополнительно предусмотрено средство управления работой насоса для управления работой первого циркуляционного насоса и работой второго циркуляционного насоса, соединенных друг с другом в соответствии с рабочим состоянием топливного элемента, и для остановки работы первого циркуляционного насоса и перекачки охлаждающего вещества в батарею (22) топливных элементов с использованием второго циркуляционного насоса, когда топливный элемент работает при малой нагрузке.
11. Система охлаждения топливного элемента, который вырабатывает электроэнергию посредством электрохимической реакции, осуществляемой за счет подачи топливного газа на анодную сторону и окисляющего газа на катодную сторону, содержащая: канал (102) для охлаждающего вещества, по которому охлаждающее вещество циркулирует между батареей (22) топливных элементов и радиатором (110); второй теплообменник (120), который предусмотрен параллельно батарее (22) топливных элементов или радиатору (110) и использует охлаждающее вещество, отводимое из канала (102) для охлаждающего вещества, при этом второй теплообменник служит в качестве устройства охлаждения газового компрессора, подающего окисляющий газ; и циркуляционный насос (130) для охлаждающего вещества, установленный последовательно в канале (102) для охлаждающего вещества; при этом второй теплообменник отбирает охлаждающее вещество на входе радиатора и на выходе батареи топливных элементов и возвращает охлаждающее вещество на выходе радиатора и на входе батареи топливных элементов.
РИСУНКИ
|
|