|
|
(21), (22) Заявка: 2008150719/28, 22.12.2008
(24) Дата начала отсчета срока действия патента:
22.12.2008
(46) Опубликовано: 20.01.2010
(56) Список документов, цитированных в отчете о поиске:
RU 2338298 C1, 10.11.2008. RU 2269184 C2, 27.01.2006. RU 2282277 C2, 20.08.2006. US 5038569 A, 13.08.1991.
Адрес для переписки:
367015, Республика Дагестан, г.Махачкала, пр-кт имама Шамиля, 70, ДГТУ, отдел интеллектуальной собственности
|
(72) Автор(ы):
Исмаилов Тагир Абдурашидович (RU), Евдулов Олег Викторович (RU), Агаев Магомед Улубиевич (RU), Евдулов Денис Викторович (RU)
(73) Патентообладатель(и):
ГОСУДАРСТВЕННОЕ ОБРАЗОВАТЕЛЬНОЕ УЧРЕЖДЕНИЕ ВЫСШЕГО ПРОФЕССИОНАЛЬНОГО ОБРАЗОВАНИЯ ДАГЕСТАНСКИЙ ГОСУДАРСТВЕННЫЙ ТЕХНИЧЕСКИЙ УНИВЕРСИТЕТ (ДГТУ) (RU)
|
(54) ТЕРМОЭЛЕКТРИЧЕСКАЯ БАТАРЕЯ
(57) Реферат:
Изобретение относится к термоэлектрическому приборостроению, в частности к конструкциям термоэлектрических батарей (ТЭБ). Технический результат: повышение эффективности отвода (подвода) теплоты. Сущность: поверхность структуры, образованной ветвями ТЭБ, за исключением областей близлежащих к выступающим частям коммутационных пластин, покрыта слоем теплоизоляционного диэлектрического материала. Площадь, не покрытая слоем теплоизоляционного диэлектрического материала, равна произведению толщины ветви термоэлемента на 1/4 ее высоты. Поверхность, не покрытая слоем теплоизоляции, выполнена с поперечными канавками. Съем теплоты с горячих коммутационных пластин, а также с близлежащих к ним областей осуществляется за счет принудительного воздушного теплообмена посредством вентилятора. Съем теплоты с охлажденных коммутационных пластин и близлежащих к ним областей производится за счет прокачивания жидкости в контактирующем с ними жидкостном теплообменнике. 3 ил.
Изобретение относится к термоэлектрическому приборостроению, в частности к конструкциям термоэлектрических батарей (ТЭБ).
Прототипом изобретения является ТЭБ, описанная в [1]. ТЭБ состоит из последовательно соединенных в электрическую цепь полупроводниковых термоэлементов, каждый из которых образован двумя ветвями (столбиками, выполненными либо цилиндрическими, либо в виде прямоугольного параллелепипеда), изготовленными из полупроводника соответственно p- и n-типа. Ветви термоэлементов соединяются между собой посредством коммутационных пластин, причем ветви p-типа и n-типа контактируют торцевыми поверхностями соответственно с двумя противоположными поверхностями коммутационной пластины. Коммутационные пластины имеют несколько большую площадь, чем площадь поперечного сечения ветвей, вследствие чего они выступают за поверхность структуры, образованной ветвями ТЭБ, причем нечетные коммутационные пластины выступают за одну поверхность структуры, а четные коммутационные пластины – за другую. Соответственно отвод и подвод теплоты осуществляется с выступающих частей коммутационных пластин за счет воздушного или жидкостного теплообмена.
Недостатком известной конструкции является отвод (подвод) теплоты только с поверхности выступающих частей коммутационных пластин, тогда как вследствие теплопроводности имеет место также нагрев (охлаждение) близлежащих к ним областей ветвей термоэлементов.
Целью изобретения является повышение эффективности отвода (подвода) теплоты с горячих (холодных) контактов ТЭБ за счет отвода (подвода) теплоты также и с близлежащих к ним областей ветвей термоэлементов.
Цель достигается тем, что поверхность структуры, образованной ветвями ТЭБ, за исключением областей близлежащих к выступающим частям коммутационных пластин, покрыта слоем теплоизоляционного диэлектрического материала. Площадь, не покрытая слоем теплоизоляционного диэлектрического материала, определяется произведением толщины ветви термоэлемента на 1/4 ее высоты. Указанная поверхность, не покрытая слоем теплоизоляции, имеет профилированную боковую поверхность, выполненную с поперечными канавками. Съем теплоты с горячих коммутационных пластин, а также с близлежащих к ним областей осуществляется за счет принудительного воздушного теплообмена посредством вентилятора, а съем теплоты с охлажденных коммутационных пластин и близлежащих к ним областей производится за счет прокачивания жидкости в контактирующем с ними жидкостном теплообменнике.
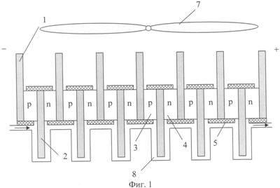
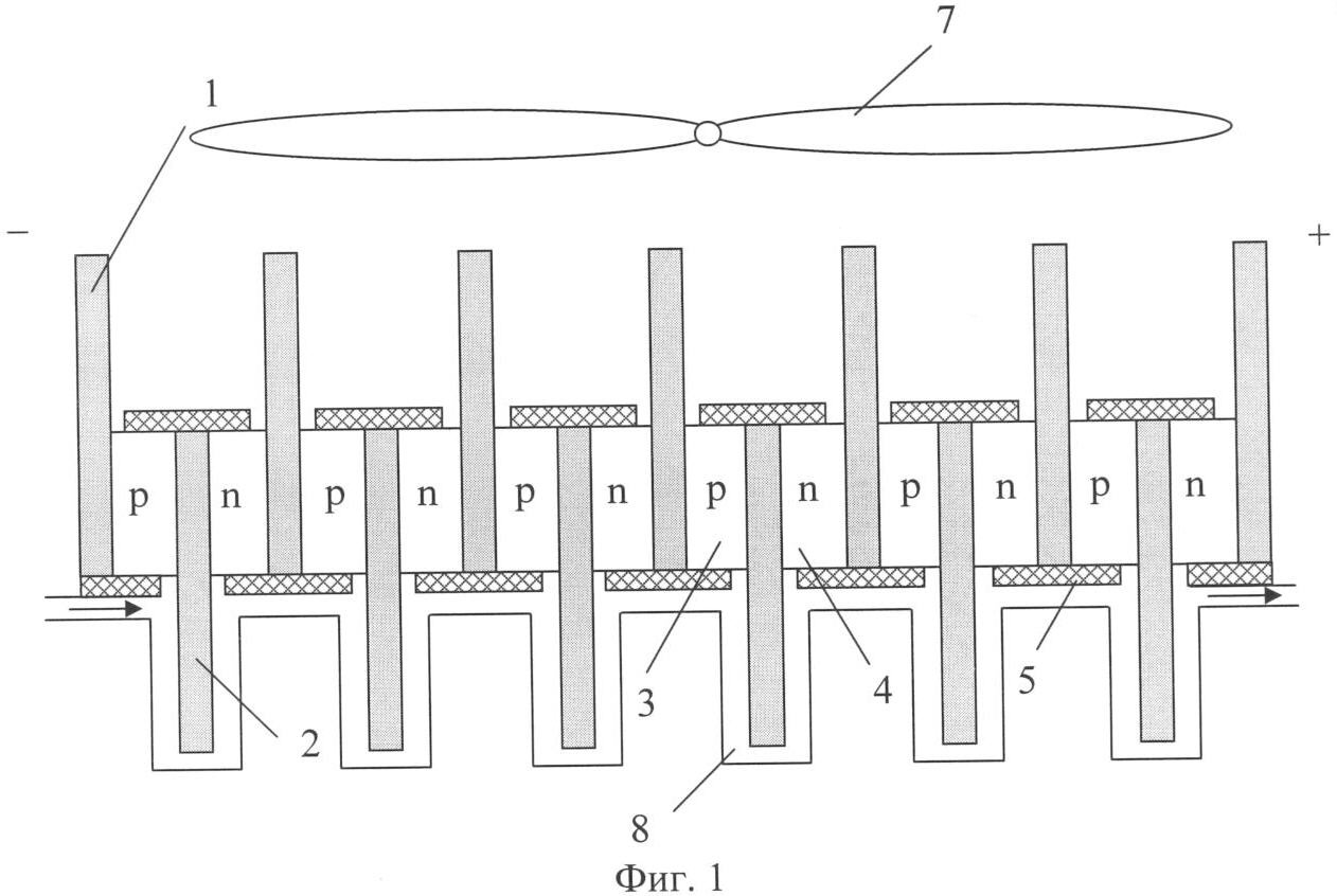
Конструкция термоэлектрической батареи приведена на фиг.1-3. ТЭБ состоит из последовательно соединенных в электрическую цепь посредством коммутационных пластин 1 и 2 чередующихся ветвей, изготовленных соответственно из полупроводника p-типа 3 и n-типа 4. Электрическое соединение ветвей осуществляют посредством контакта ветвь p-типа 3 – коммутационная пластина 1 или 2 – ветвь n-типа 4, где ветвь p-типа 3 контактирует торцевой поверхностью с одной из поверхностей коммутационной пластины, а ветвь n-типа 4 – с другой. Каждая ветвь в ТЭБ контактирует противоположными торцевыми поверхностями с двумя коммутационными пластинами 1 и 2. Коммутационные пластины 1 и 2 имеют площадь, несколько большую, чем площадь поперечного сечения ветвей p- и n-типа 3 и 4, вследствие чего их концы выступают за поверхность структуры, образованной ветвями ТЭБ. Концы нечетных коммутационных пластин 1 выступают за одну поверхность структуры, а концы четных коммутационных пластин 2 – за другую.
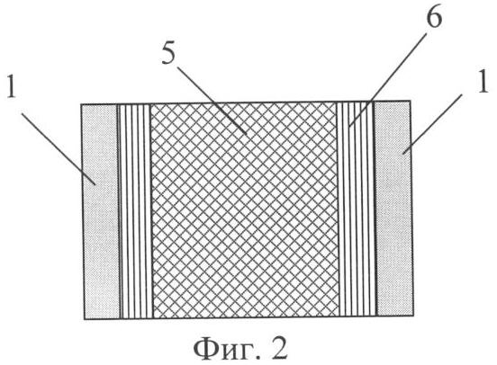
Поверхность структуры, образованной ветвями ТЭБ, за исключением областей близлежащих к выступающим частям коммутационных пластин 1 и 2, покрыта слоем теплоизоляционного диэлектрического материала 5. Площадь, не покрытая слоем теплоизоляционного диэлектрического материала 5, определяется произведением толщины ветви термоэлемента на 1/4 ее высоты. Указанная поверхность, не покрытая слоем теплоизоляции, имеет профилированную боковую поверхность, выполненную с поперечными канавками 6 (вид сверху единичного термоэлемента с профилированной поверхностью показан на фиг.2).
Съем теплоты с горячих коммутационных пластин, а также с близлежащих к ним областей осуществляется за счет принудительного воздушного теплообмена посредством вентилятора 7, а съем теплоты с охлажденных коммутационных пластин и близлежащих к ним областей производится за счет прокачивания жидкости в контактирующем с ними жидкостном теплообменнике 8.
ТЭБ функционирует следующим образом.
При прохождении через ТЭБ постоянного электрического тока, подаваемого от источника электрической энергии, между коммутационными пластинами 1 и 2, представляющими собой контакты ветвей p- и n-типа 3 и 4, возникает разность температур, обусловленная выделением и поглощением теплоты Пельтье. При указанной на фиг.1 полярности электрического тока происходит нагрев нечетных коммутационных пластин 1 и охлаждение четных 2. Съем теплоты с горячих коммутационных пластин, а также с близлежащих к ним областей осуществляется за счет принудительного воздушного теплообмена посредством вентилятора 7, а съем теплоты с охлажденных коммутационных пластин и близлежащих к ним областей производится за счет прокачивания жидкости в контактирующем с ними жидкостном теплообменнике 8.
Повышение эффективности отвода теплоты с горячих и холодных контактов ТЭБ осуществляется за счет ее съема также и с близлежащих к коммутационным пластинам областей поверхности структуры, образованной ветвями ТЭБ. Причем за счет профилирования поверхности ветви термоэлемента, с которой осуществляется съем тепла, увеличивается коэффициент теплопередачи от нее к приемникам холода и тепла. Теплоизоляция 5 служит для уменьшения теплопритока из окружающей среды.
Литература
1. Поздняков Б.С., Коптелов Е.А. Термоэлектрическая энергетика. М.: Атомиздат, 1974.
Формула изобретения
Термоэлектрическая батарея, состоящая из последовательно соединенных в электрическую цепь посредством коммутационных пластин полупроводниковых термоэлементов, каждый из которых образован двумя ветвями, изготовленными из полупроводника соответственно p- и n-типа, причем ветви p-типа и n-типа контактируют торцевыми поверхностями соответственно с двумя, противоположными поверхностями коммутационной пластины, коммутационные пластины имеют несколько большую площадь, чем площадь поперечного сечения ветвей, вследствие чего они выступают за поверхность структуры, образованной ветвями термоэлектрической батареи, отличающаяся тем, что поверхность структуры, образованной ветвями ТЭБ, за исключением областей близлежащих к выступающим частям коммутационных пластин, покрыта слоем теплоизоляционного диэлектрического материала, а площадь, не покрытая слоем теплоизоляционного диэлектрического материала, имеющая профилированную боковую поверхность, выполненную с поперечными канавками, определяется произведением толщины ветви термоэлемента на 1/4 ее высоты, при этом съем теплоты с горячих коммутационных пластин, а также с близлежащих к ним областей осуществляется за счет принудительного воздушного теплообмена посредством вентилятора, а съем теплоты с охлажденных коммутационных пластин и близлежащих к ним областей производится за счет прокачивания жидкости в контактирующем с ними жидкостном теплообменнике.
РИСУНКИ
|
|