|
(21), (22) Заявка: 2008117767/09, 04.05.2008
(24) Дата начала отсчета срока действия патента:
04.05.2008
(46) Опубликовано: 20.01.2010
(56) Список документов, цитированных в отчете о поиске:
RU 2178947 C1, 27.01.2002. RU 2278439 C1, 20.06.2006. US 7116051 А, 03.10.2006. US 67474112 А, 04.06.2004. JP 7085804, 31.03.1995.
Адрес для переписки:
141190, Московская обл., г. Фрязино, ул. Вокзальная, 2А, ФГУП “Научно-производственное предприятие “Исток”, ПАТЕНТНЫЙ ОТДЕЛ
|
(72) Автор(ы):
Галдецкий Анатолий Васильевич (RU), Королев Александр Николаевич (RU), Мамонтов Алексей Викторович (RU), Морозов Олег Александрович (RU), Симонов Карл Георгиевич (RU)
(73) Патентообладатель(и):
Федеральное государственное унитарное предприятие “Научно-производственное предприятие “Исток” (ФГУП “НПП “Исток”) (RU)
|
(54) УСТРОЙСТВО ДЛЯ ГЕНЕРИРОВАНИЯ ЭЛЕКТРИЧЕСКИХ ИМПУЛЬСОВ НАПРЯЖЕНИЯ
(57) Реферат:
Изобретение относится к радиоэлектронике, в частности к электровакуумным приборам СВЧ, предназначенным для генерирования сверхкоротких электрических импульсов напряжения со сверхвысокой частотой повторения, и может быть использовано, например, в радиолокации, радиопротиводействии и в других областях техники. Устройство содержит электронную пушку, группирователь электронных сгустков с вводом СВЧ-энергии, устройство преобразования энергии электронов (УПЭЭ) в СВЧ-энергию, коллектор и вывод СВЧ-энергии в виде коаксиальной линии передачи. УПЭЭ выполнено в виде полуволнового коаксиального резонатора, внешний и внутренний полые проводники которого отделены высокочастотным зазором, образованным между расположенными со стороны группирователя первыми торцевыми стенками проводников резонатора. Между расположенными со стороны вывода СВЧ-энергии вторыми торцевыми стенками проводников резонатора размещена и вакуумно-плотно соединена с ними диэлектрическая втулка. Коллектор расположен в полости внутреннего проводника резонатора со стороны высокочастотного зазора. Коаксиальная линия вывода СВЧ-энергии расположена соосно резонатору с внешней его стороны. Техническим результатом является уменьшение длительности и увеличение амплитуды электрических импульсов напряжения выходного СВЧ-сигнала при сохранении сверхвысокой частоты повторения импульсов, а также обеспечение простоты, компактности, электрической прочности, возможности подстройки частот выходного коаксиального резонатора, уменьшение вероятности возникновения в нем паразитных видов колебаний и обеспечение эффективного отвода тепла от коллектора и теплонагруженных элементов выходного коаксиального резонатора устройств с высоким уровнем мощности. 9 з.п. ф-лы, 4 ил.
Изобретение относится к радиоэлектронике, в частности к электровакуумным приборам СВЧ, предназначенным для генерирования сверхкоротких электрических импульсов напряжения со сверхвысокой частотой повторения, и может быть использовано, например, в радиолокации, радиопротиводействии и в других областях техники.
Известно устройство для генерирования импульсов напряжения типа пролетный клистрон, содержащее размещенные в вакуумном объеме электронную пушку, многорезонаторный группирователь электронных сгустков, устройство преобразования энергии электронных сгустков в СВЧ-энергию, выполненное в виде выходного тороидального резонатора, ввод и вывод СВЧ-энергии и коллектор, а также размещенную снаружи устройства магнитную систему для создания продольного магнитного поля [1].
Недостатком этого устройства является то, что оно генерирует импульсы напряжения только синусоидальной формы, что ограничивает область его применения из-за невозможности создания сверхкоротких электрических импульсов напряжения со сверхвысокой частотой повторения.
При создании генератора сверхкоротких импульсов предлагается использовать тот факт, что в электровакуумных приборах О-типа, в том числе в клистронах, при группировке электронного потока создаются сгустки электронного тока с частотой повторения, равной частоте входного СВЧ-сигнала, подаваемого на прибор, и длительностью около 0,1 периода повторения, причем сгустки электронного тока содержат широкий спектр гармоник тока. Однако в обычных клистронах такие сгустки, выйдя из группирователя, попадают в высокодобротный выходной резонатор, использующий в качестве рабочей частоты только первую гармонику, которая наводит в выходном резонаторе значительную амплитуду СВЧ-напряжения первой гармоники. Далее выходной сигнал на частоте той же первой гармоники передается через вывод СВЧ-энергии в нагрузку.
Если при построении генератора сверхкоротких импульсов на основе электровакуумного СВЧ-прибора пролетного типа создать выходную электродинамическую систему (то есть устройство для преобразования энергии электронов в СВЧ-энергию) с очень широкой (порядка декады) полосой частот, то это позволит осуществить эффективный отбор энергии у электронного пучка не на одной, а на нескольких гармониках, что в свою очередь позволит сформировать выходной сигнал в виде сверхкоротких импульсов со сверхвысокой частотой повторения, а не монохроматический сигнал на первой гармонике.
Наиболее близкими по технической сущности к предлагаемому изобретению (прототипом изобретения) является устройство для генерирования электрических импульсов напряжения, выполненное на основе СВЧ-прибора пролетного типа [2].
Устройство содержит последовательно размещенные в вакуумном объеме генератор электронных сгустков (включающий электронную пушку и многорезонаторный группирователь электронных сгустков с вводом СВЧ-энергии), устройство преобразования энергии электронных сгустков в СВЧ-энергию и коллектор, а также вывод СВЧ-энергии и размещенную в вакуумном объеме устройства магнитную систему для создания в устройстве продольного магнитного поля.
Устройство преобразования энергии электронов в СВЧ-энергию выполнено в виде двух параллельно расположенных плоских электродов, размещенных в вакуумном объеме устройства перпендикулярно его продольной оси и снабженных каналами для прохождения электронов. Эти два плоских электрода образуют начальный участок согласованной полосковой линии передачи, по которой СВЧ-энергия передается из устройства преобразования энергии во внешнюю нагрузку. Для удобства вывода СВЧ-энергии согласованная полосковая линия на выходе из вакуумного объема устройства переходит в коаксиальную линию передачи, являющуюся выводом СВЧ-энергии.
Однако выполнение устройства преобразования энергии электронов в СВЧ-энергию в виде двух параллельных плоских электродов имеет ряд существенных недостатков:
1. При расчете такого устройства преобразования необходимо учитывать не только его погонные характеристики, но и концевую емкость полосковой линии, образованной плоскими электродами (емкость в области прохождения электронного потока).
Эквивалентную схему устройства преобразования можно представить в виде параллельного соединения трех компонент: In, nC, R,
где In – амплитуда n-й гармоники тока (n=1, 2, 3, ),
n – частота n-й гармоники тока ( n=n ),
С – концевая емкость параллельных плоских электродов полосковой линии передачи,
R – волновое сопротивление полосковой линии передачи.
Импеданс нагрузки Zn устройства преобразования определяется как Zn=R/(1+jn RC), а амплитуда Un напряжения n-й гармоники определяется как Un=In|Zn|.
Для реального многолучевого электровакуумного прибора, в том числе для прототипа, работающего на частоте сигнала 1 ГГц, при ускоряющем напряжении 15 кВ и импульсе сгруппированного тока 100 А концевая емкость С составляет около 1 пФ, а волновое сопротивление полосковой линии передачи R выбирается равным 50 Ом. Из анализа частотной зависимости импеданса |Zn|, полученной при этих заданных параметрах полосковой линии передачи следует, что если частота первой гармоники составляет 1 ГГц, то |Zn| на первой гармонике составляет 45 Ом, а на восьмой гармонике с частотой 8 ГГц |Zn| составляет всего 7 Ом. Это приводит к существенному снижению амплитуды напряжения Un всех высших гармоник, начиная со второй.
На более высоких частотах происходит дальнейшее уменьшение амплитуды высших гармоник – вплоть до полного их исчезновения, что приводит к обеднению спектра частот выходного СВЧ-сигнала и, как следствие этого, к размытости фронтов и увеличению протяженности импульсов напряжения выходного СВЧ-сигнала.
Таким образом, наличие значительной концевой емкости (порядка 1 пФ) устройства преобразования, выполненного в виде двух параллельных плоских электродов, существенно снижает амплитуды высших гармоник и, следовательно, амплитуду импульса напряжения на выходе генераторного устройства и КПД устройства. Для получения большой амплитуды импульсов напряжения выходного сигнала можно увеличивать напряжение питания, то есть использовать высоковольтные источники питания, но это значительно увеличит энергозатраты и габариты оборудования, используемого при эксплуатации устройства.
2. В устройстве-прототипе СВЧ электрическое поле существует не только в зазоре между параллельными плоскими электродами, но и в промежутке между выходным торцом генератора электронных сгустков и расположенным со стороны этого генератора плоским электродом устройства преобразования энергии электронов в СВЧ-энергию, причем СВЧ-электрические поля в указанном промежутке и в зазоре между плоскими электродами имеют противоположную направленность. Это приводит к размыванию электронного сгустка, увеличению его длительности и уменьшению амплитуд гармоник тока, что, в свою очередь, приводит к ухудшению выходных характеристик устройства: к понижению амплитуды и увеличению длительности импульсов гармоник выходного напряжения. В результате этого увеличивается длительность и уменьшается амплитуда импульса напряжения на выходе генераторного устройства, что также снижает КПД устройства.
3. Размещение фокусирующей магнитной системы в вакуумном объеме устройства нежелательно, так как при этом увеличиваются габариты вакуумной части устройства и затрудняется настройка магнитной системы, кроме того, при высокотемпературной обработке прибора во время его откачки свойства магнитов существенно ухудшаются.
Таким образом, использование в прототипе полосковой линии в качестве устройства для преобразования энергии электронов в СВЧ-энергию, то есть использование линии нерезонансного типа, не позволяет получить на выходе СВЧ-прибора сверхкороткие импульсы напряжения с большой амплитудой.
Актуальной задачей в настоящее время является получение сверхкоротких электрических импульсов напряжения с большой амплитудой и сверхвысокой частотой повторения.
В предлагаемом изобретении эта задача решается путем создания устройства для генерирования электрических импульсов напряжения на основе СВЧ-прибора пролетного типа, обеспечивающего по сравнению с прототипом уменьшение длительности и увеличение амплитуды электрических импульсов напряжения выходного СВЧ-сигнала при сохранении сверхвысокой частоты повторения импульсов.
Предлагается устройство для генерирования электрических импульсов напряжения на основе СВЧ-прибора пролетного типа, содержащее последовательно расположенные вдоль общей оси электронную пушку, многорезонаторный группирователь электронных сгустков с вводом СВЧ-энергии, устройство преобразования энергии электронов в СВЧ-энергию и коллектор электронов, а также вывод СВЧ-энергии в виде коаксиальной линии передачи, при этом устройство преобразования энергии электронов в СВЧ-энергию выполнено в виде полуволнового коаксиального резонатора, содержащего расположенные соосно внешний и внутренний полые цилиндрические проводники, отделенные друг от друга высокочастотным зазором, образованным между расположенными со стороны группирователя электронных сгустков первыми торцевыми стенками внешнего и внутреннего проводников полуволнового коаксиального резонатора, в которых выполнены сквозные отверстия для пролета электронов, расположенные соосно пролетным каналам многорезонаторного группирователя электронных сгустков, при этом между расположенными со стороны вывода СВЧ-энергии вторыми торцевыми стенками внешнего и внутреннего проводников полуволнового коаксиального резонатора и соосно ему размещена диэлектрическая втулка из вакуумно-плотной керамики, противоположные торцы которой вакуумноплотно соединены со вторыми торцевыми стенками внешнего и внутреннего проводников резонатора, коллектор электронов расположен в полости внутреннего проводника полуволнового коаксиального резонатора со стороны высокочастотного зазора, коаксиальная линия вывода СВЧ-энергии расположена соосно полуволновому коаксиальному резонатору, причем ее внешний проводник соединен со второй торцевой стенкой внешнего проводника полуволнового коаксиального резонатора, а внутренний проводник коаксиальной линии соединен со второй торцевой стенкой внутреннего проводника полуволнового коаксиального резонатора через центральное сквозное отверстие во второй торцевой стенке внешнего проводника этого резонатора.
В предлагаемом устройстве в вакуумной части полуволнового коаксиального резонатора может быть установлен диэлектрический держатель, расположенный соосно резонатору и жестко соединенный с его проводниками.
Диэлектрический держатель может быть расположен между центральными участками первых торцевых стенок внешнего и внутреннего проводников полуволнового коаксиального резонатора, при этом сквозные отверстия для пролета электронов в этих торцевых стенках расположены с внешней стороны диэлектрического держателя. В этом случае диэлектрический держатель выполнен в виде стержня или трубки.
Диэлектрический держатель может быть выполнен в виде трубки, расположенной в полости внешнего проводника полуволнового коаксиального резонатора и коаксиально окружающей внутренний проводник этого резонатора.
В вакуумной части полуволнового коаксиального резонатора могут быть установлены диэлектрические держатели в виде стержней, расположенных параллельно оси резонатора в промежутке между его внешним и внутренним проводниками и жестко соединенных с ними.
В предлагаемом устройстве в полости внутреннего проводника полуволнового коаксиального резонатора с внешней стороны коллектора могут быть расположены каналы охлаждения. При этом каналы охлаждения соединены с размещенными с внешней стороны полуволнового коаксиального резонатора патрубками через сквозные отверстия во внутреннем проводнике этого резонатора и расположенные перпендикулярно продольной оси резонатора и проходящие при этом через сквозные отверстия во внешнем проводнике резонатора диэлектрические трубки из вакуумно-плотной керамики, противоположные торцы каждой из которых вакуумно-плотно соединены с внутренним проводником резонатора и с соответствующим патрубком, причем каждый из патрубков вакуумно-плотно соединен с внешним проводником резонатора.
В предлагаемом устройстве с внутренней стороны внешнего проводника полуволнового коаксиального резонатора могут быть выполнены продольные пазы, в которых размещены поглотители СВЧ-энергии.
В предлагаемом устройстве первые торцевые стенки внутреннего и внешнего проводников полуволнового коаксиального резонатора могут быть снабжены расположенными со стороны высокочастотного зазора соосно резонатору выступами в виде диска или кольца с отверстиями для пролета электронов.
Устройство преобразования энергии электронов в СВЧ-энергию выполнено в виде полуволнового коаксиального резонатора, то есть является устройством резонансного типа, что позволяет (в отличие от прототипа) возбуждать в нем колебания с высокими амплитудами одновременно на многих частотах и, тем самым, сформировать на выходе устройства сверхкороткие импульсы напряжения с высокой амплитудой при сохранении сверхвысокой частоты повторения импульсов.
Расположение высокочастотного зазора полуволнового коаксиального резонатора между первыми торцевыми стенками внешнего и внутреннего проводников этого резонатора, то есть вблизи группирователя электронных сгустков устройства, позволяет максимально приблизить к группирователю коллектор и тем самым значительно сократить продольные размеры устройства.
Расположение коллектора в полости внутреннего проводника резонатора обеспечивает компактность предлагаемой конструкции и позволяет разместить в этой полости систему охлаждения коллектора и внутреннего проводника коаксиального резонатора, а также его второй торцевой стенки, что, в свою очередь способствует отводу тепла от диэлектрического держателя, через который выходная СВЧ-мощность из коаксиального резонатора поступает в коаксиальную линию передачи вывода СВЧ-энергии.
Выполнение вывода СВЧ-энергии в виде коаксиальной линии передачи обеспечивает (так же, как и в прототипе) возможность передачи выходных импульсов напряжения в нагрузку в широкой полосе. При этом расположение коаксиальной линии соосно резонатору существенно сокращает поперечные размеры устройства и не вносит существенных искажений в структуру полей резонатора, что позволяет осуществлять более эффективный отбор энергии от электронного потока СВЧ-полем и передачу энергии в нагрузку.
Диэлектрическая втулка, размещенная между расположенными со стороны вывода СВЧ-энергии вторыми торцевыми стенками внешнего и внутреннего проводников коаксиального резонатора, выполняет ряд функций, а именно:
во-первых, диэлектрическая втулка электрически изолирует внешний проводник резонатора от внутреннего проводника (с коллектором). Она выполнена из вакуумно-плотной керамики и вакуумно-плотно соединена своими торцами с торцевыми стенками внешнего и внутреннего проводников резонатора, при этом она образует часть вакуумной оболочки устройства и разделяет резонатор на вакуумную часть (которая включает в себя промежуток между внешним и внутренним цилиндрическими проводниками резонатора, высокочастотный зазор и полость коллектора) и невакуумную часть резонатора (центральную часть промежутка между вторыми торцевыми стенками резонатора);
во-вторых, диэлектрическая втулка является элементом крепления внутреннего проводника вместе с коллектором к внешнему проводнику резонатора, причем размещение диэлектрической втулки не в боковой, а в торцевой части коаксиального резонатора позволяет существенно сократить его поперечные размеры.
Вследствие размещения диэлектрической втулки вдали от высокочастотного зазора резонатора она вносит несущественные искажения в распределение электрических полей в высокочастотном зазоре и в прилегающей к нему области резонатора, что позволяет осуществить эффективное взаимодействие электронного потока с СВЧ-полями резонатора. При этом значительная часть резонатора (включая промежутки между внутренним и внешним проводниками резонатора) расположена в вакуумной части устройства, что существенно повышает его электрическую прочность.
Расположение центральной части промежутка между вторыми торцевыми стенками резонатора вне вакуумной части устройства позволяет разместить элементы настройки резонатора с внешней стороны второй торцевой стенки внутреннего проводника резонатора, что позволяет осуществлять подстройку частот резонатора после откачки устройства.
Размещение диэлектрической втулки соосно резонатору между вторыми торцевыми стенками его проводников позволяет осуществлять торцевой спай диэлектрической втулки с резонатором, что обеспечивает получение прочного вакуумно-плотного соединения (по сравнению со спаями по цилиндрическим поверхностям).
Кроме того, расположение высокочастотного зазора с одной стороны коаксиального резонатора и диэлектрической втулки с другой стороны резонатора (что создает несимметричность конструкции коаксиального резонатора в продольном направлении), а также наличие в мощных устройствах элементов подвода охлаждающей среды к коллектору и самой этой среды может привести к возникновению в резонаторе нежелательных (паразитных) видов колебаний, электрические поля которых имеют продольные составляющие, причем количество паразитных колебаний существенно возрастает при увеличении поперечных габаритов резонатора. Однако в предлагаемой конструкции устройства вследствие размещения диэлектрической втулки в торцевой части резонатора поперечные размеры коаксиального резонатора относительно малы и определяются только размерами коллектора и пробивной прочностью промежутка между проводниками коаксиального резонатора. Значительное сокращение поперечных размеров коаксиального резонатора в предлагаемой конструкции позволяет существенно уменьшить вероятность возникновения паразитных видов колебаний в резонаторе. Для предотвращения возможности возникновения в коаксиальном резонаторе паразитных колебаний в предлагаемой конструкции с внутренней стороны внешнего проводника резонатора могут быть выполнены продольные пазы, в каждом из которых размещен поглотитель СВЧ-энергии.
Изобретение поясняется чертежами.
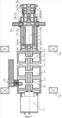
На фиг.1 показан один из возможных вариантов выполнения предлагаемого устройства для генерирования электрических импульсов напряжения.
На фиг.2 показан фрагмент второго из возможных вариантов выполнения предлагаемого устройства для генерирования электрических импульсов напряжения.
На фиг.3 показан фрагмент третьего из возможных вариантов выполнения предлагаемого устройства для генерирования электрических импульсов напряжения.
На фиг.4 показан фрагмент предлагаемого устройства с поглотителем СВЧ-энергии.
Устройство, показанное на фиг.1, содержит последовательно расположенные вдоль общей оси многолучевую электронную пушку 1, многорезонаторный группирователь электронных сгустков 2, устройство преобразования энергии электронов в СВЧ-энергию, выполненное в виде полуволнового коаксиального резонатора 3, и вывод СВЧ-энергии в виде коаксиальной линии передачи 4.
Многорезонаторный группирователь электронных сгустков 2 включает несколько (четыре или пять) тороидальных резонаторов 5 с пролетными трубами 6, в которых выполнены сквозные отверстия 7, образующие пролетные каналы. Расположенный со стороны электронной пушки 1 входной тороидальный резонатор 5 снабжен коаксиальным вводом СВЧ-энергии 8.
Полуволновый коаксиальный резонатор 3, являющийся выходным резонатором устройства, содержит расположенные соосно внешний 9 и внутренний 10 проводники, каждый из которых выполнен в виде полого цилиндра, снабженного на концах торцевыми стенками. В полости внутреннего проводника 10 со стороны группирователя электронных сгустков 2 размещен коллектор 11, токоприемная часть которого обращена к электронной пушке 1. Расположенные со стороны группирователя электронных сгустков 2 первые торцевые стенки 12 и 13 внешнего 9 и внутреннего 10 проводников снабжены кольцевыми выступами 14 и 15 соответственно. В торцевых стенках 12, 13 с кольцевыми выступами 14, 15 выполнены сквозные отверстия 16, образующие пролетные каналы резонатора 3, расположенные соосно сквозным отверстиям (пролетным каналам) 7 группирователя 2. Выступы 14 и 15 отделены друг от друга высокочастотным зазором 17.
Между расположенными со стороны вывода СВЧ-энергии 4 вторыми торцевыми стенками 18 и 19 внешнего 9 и внутреннего 10 проводников резонатора 3 соответственно расположена диэлектрическая втулка 20, выполненная из вакуумноплотной керамики и вакуумноплотно соединенная с этими торцевыми стенками. Диэлектрическая втулка 20 может быть выполнена в виде полого цилиндра (фиг.1) или в виде полого усеченного конуса (не показано на чертеже).
Расположенная соосно резонатору 3 коаксиальная линия 4 вывода СВЧ-энергии содержит внешний 21 и внутренний 22 проводники, причем внешний проводник 21 соединен со второй торцевой стенкой 18 внешнего проводника 9 резонатора 3, а внутренний проводник 22 соединен со второй торцевой стенкой 19 внутреннего проводника 10 резонатора 3 через сквозное отверстие 23 в торцевой стенке 18.
В полости внутреннего проводника 10 резонатора 3 с внешней стороны коллектора 11 расположены каналы охлаждения 24, соединенные через диэлектрические трубки 25 с размещенными с внешней стороны резонатора 2 патрубками 26, которые расположены соосно диэлектрическим трубкам 25 и предназначены для подвода охлаждающей среды в каналы охлаждения 24 и последующего вывода охлаждающей среды из устройства. Охлаждающая среда, подводимая к одному из патрубков 26, проходит через соединенную с ним диэлектрическую трубку 25 и расположенное соосно трубке 25 сквозное отверстие 27 во внутреннем проводнике 10 резонатора 3, а затем поступает канал охлаждения 24 и омывает поверхность коллектора 11. Вывод охлаждающей среды из устройства осуществляется следующим образом: охлаждающая среда из канала охлаждения 24 проходит через второе сквозное отверстие 27 во внутреннем проводнике 10 резонатора 3 и через вторую диэлектрическую трубку 25, расположенную соосно этому отверстию 27, а затем поступает в соединенный с трубкой 25 второй патрубок 26. Диэлектрические трубки 25 расположены перпендикулярно продольной оси резонатора 2 и проходят через сквозные отверстия 28 во внешнем проводнике 9 и через промежуток между внешним 9 и внутренним 10 проводниками резонатора 3, то есть диэлектрические трубки 25 пересекают вакуумную часть резонатора 3. Для сохранения вакуума в этой части резонатора 3 каждая диэлектрическая трубка 25 выполнена из вакуумно-плотного керамического материала и вакуумно-плотно соединена одним торцом с внутренним проводником 10 резонатора 3, а другим торцом – с соответствующим патрубком 26, при этом все патрубки 26 вакуумно-плотно соединены с внешним проводником 9 резонатора 3. Для снижения вносимых искажений в распределение электрического СВЧ-поля резонатора 3 диэлектрические трубки 25 и патрубки 26 целесообразно размещать как можно дальше от высокочастотного зазора 17, иначе говоря, их лучше размещать вблизи торцевой стенки 19 резонатора 3.
Для обеспечения фокусировки электронных пучков устройство снабжено фокусирующей магнитной системой 29. Магнитная система размещена вне вакуумной части устройства снаружи многорезонаторного группирователя электронных сгустков 2 и может быть выполнена на постоянных магнитах или в виде соленоида. Размещение фокусирующей магнитной системы вне вакуумного объема устройства обеспечивает простоту и удобство настройки магнитной системы. При этом не увеличиваются габариты вакуумной части устройства и при высокотемпературной обработке прибора во время его откачки используют прибор без магнитной системы.
Устройство, фрагмент которого показан на фиг.2, дополнительно содержит (в отличие от устройства, показанного на фиг.1) диэлектрический держатель 30, расположенный вдоль оси резонатора 3 между центральными участками первых торцевых стенок 12 и 13 соответственно внешнего 9 и внутреннего 10 проводников резонатора 3, причем сквозные отверстия 16 в торцевых стенках 12 и 13, образующие пролетные каналы резонатора 3, расположены с внешней стороны диэлектрического держателя 30. Введение в конструкцию устройства диэлектрического держателя 30 необходимо в случае использования протяженного коаксиального резонатора 3 для дополнительного крепления внутреннего проводника 10 резонатора 3, что обеспечивает жесткость конструкции и повышает ее надежность. Диэлектрический держатель 30 может быть выполнен в виде стержня (фиг.2) или трубки (не показано). Такое конструктивное выполнение диэлектрического держателя 30 и размещение его вдоль оси резонатора 3 может быть использовано только в многолучевых устройствах.
В устройстве, фрагмент которого показан на фиг.3 (в отличие от устройства, показанного на фиг.2) диэлектрический держатель 30 выполнен в виде цилиндрической трубки, расположенной в полости внешнего проводника 9 полуволнового коаксиального резонатора и коаксиально окружающей внутренний проводник 10 резонатора 3, при этом диэлектрический держатель 30 жестко соединен с проводниками 9 и 10. Такое конструктивное выполнение диэлектрического держателя 30 может быть использовано как в многолучевых, так и в однолучевых устройствах. В качестве диэлектрических держателей могут быть использованы также стержни, размещенные параллельно оси резонатора 3 в промежутке между его внешним 9 и внутренним 10 проводниками и жестко соединенные с ними, например, с помощью пайки и тугой посадки.
В устройстве, фрагмент которого показан на фиг.4 (в отличие от устройства, показанного на фиг.1) с внутренней стороны внешнего проводника 9 резонатора 3 выполнены продольные пазы 31, в которых размещены поглотители СВЧ-энергии 32, выполненные в виде штабиков или стержней из керамики, поглощающей СВЧ-энергию, или в виде слоя поглощающей СВЧ-энергию пасты, которую наносят на поверхности пазов 31 и затем спекают при заданной температуре.
Устройство, показанное на фиг.1, работает следующим образом.
Многолучевой электронный пучок, сформированный электронной пушкой 1, поступает в первый из резонаторов 5 (входной резонатор) многорезонаторного группирователя 2 и модулируется по скорости входным СВЧ-сигналом, поступающим в этот резонатор через коаксиальный ввод СВЧ-энергии 8. После прохождения промодулированного электронного пучка через последующие резонаторы 5 на выходе группирователя 2 получаются плотно сгруппированные сгустки электронов. При этом электронные сгустки имеют гармоники тока, кратные частоте входного СВЧ-сигнала. Электронные сгустки поступают в высокочастотный зазор 17 полуволнового коаксиального резонатора 3, который имеет собственные колебания также на частотах , 2 , 3 , , n , то есть на частотах, кратных частоте входного СВЧ-сигнала . В полуволновом коаксиальном резонаторе 3 СВЧ электрическое поле максимально в высокочастотном зазоре 17 для каждого из этих видов колебаний. Это означает, что при вхождении электронного потока в высокочастотный зазор резонатора в нем одновременно возбуждаются все эти виды колебаний. При взаимодействии электронного потока с полем каждого из видов колебаний происходит автоматическая фазировка всех видов колебаний. В этом случае результирующую амплитуду колебаний можно представить как сумму амплитуд этих колебаний. В результате такого суммирования на выходе резонатора 3 образуется последовательность импульсов напряжения с частотой повторения , которая через коаксиальную линию передачи 4 вывода СВЧ-энергии передается во внешнюю нагрузку, например в антенну.
Для получения максимальной величины результирующей амплитуды колебаний (для формирования импульсов напряжения с максимальной амплитудой) необходимо увеличивать добротность полуволнового резонатора по мере увеличения частоты, что позволяет компенсировать как падение импеданса резонатора, так и уменьшение амплитуд гармоник тока в электронном пучке, которые происходят с ростом частоты. В реальной конструкции увеличение добротности резонатора на более высоких по частоте видах колебаний достигается путем подбора формы и размеров элементов полуволнового резонатора и величины связи с выводом СВЧ-энергии.
Более точную настройку полуволнового коаксиального резонатора 3 можно осуществить за счет введения в резонатор дополнительных элементов настройки, причем после откачки устройства такие элементы настройки могут быть размещены только вне вакуумной части устройства, то есть с внешней стороны второй торцевой стенки 19 внутреннего проводника 10 резонатора 3.
Возможность одновременного возбуждения в полуволновом коаксиальном резонаторе предлагаемого устройства большого числа фазированных видов колебаний с высокой амплитудой создает условия получения на выходе устройства сверхкоротких импульсов напряжения.
Таким образом, в предлагаемом устройстве формируется последовательность сверхкоротких импульсов напряжения с высокой амплитудой и со сверхвысокой частотой повторения и обеспечивается передача таких импульсов в нагрузку.
Предлагаемое изобретение позволяет создать простую и компактную конструкцию выходного коаксиального резонатора и всего устройства в целом, обеспечить высокую электрическую прочность выходного коаксиального резонатора и возможность подстройки его частот. Изобретение позволяет существенно уменьшить вероятность возникновения паразитных видов колебаний в выходном коаксиальном резонаторе и предусматривает конструктивные возможности их подавления. Кроме того, изобретение позволяет обеспечить эффективный отвод тепла от коллектора и теплонагруженных элементов коаксиального резонатора, что необходимо для создания устройств с высоким уровнем мощности.
Источники информации
1. Лебедев И.В. Техника и приборы СВЧ. Том 2. – М.: Высшая школа, 1972, с.154.
2. Патент РФ 2178947, МПК: H01J 25/02, опуб. 27.01.2002 г., Устройство для генерирования электрических импульсов напряжения.
Формула изобретения
1. Устройство для генерирования электрических импульсов напряжения на основе СВЧ-прибора пролетного типа, содержащее последовательно расположенные вдоль общей оси электронную пушку, многорезонаторный группирователь электронных сгустков с вводом СВЧ-энергии, устройство преобразования энергии электронов в СВЧ-энергию и коллектор электронов, а также вывод СВЧ-энергии в виде коаксиальной линии передачи, отличающееся тем, что устройство преобразования энергии электронов в СВЧ-энергию выполнено в виде полуволнового коаксиального резонатора, содержащего расположенные соосно внешний и внутренний полые цилиндрические проводники, отделенные друг от друга высокочастотным зазором, образованным между расположенными со стороны группирователя электронных сгустков первыми торцевыми стенками внешнего и внутреннего проводников полуволнового коаксиального резонатора, в которых выполнены сквозные отверстия для пролета электронов, расположенные соосно пролетным каналам многорезонаторного группирователя электронных сгустков, при этом между расположенными со стороны вывода СВЧ-энергии вторыми торцевыми стенками внешнего и внутреннего проводников полуволнового коаксиального резонатора и соосно ему размещена диэлектрическая втулка из вакуумноплотной керамики, противоположные торцы которой вакуумноплотно соединены со вторыми торцевыми стенками внешнего и внутреннего проводников резонатора, коллектор электронов расположен в полости внутреннего проводника полуволнового коаксиального резонатора со стороны высокочастотного зазора, коаксиальная линия вывода СВЧ-энергии расположена соосно полуволновому коаксиальному резонатору, причем ее внешний проводник соединен со второй торцевой стенкой внешнего проводника полуволнового коаксиального резонатора, а внутренний проводник коаксиальной линии соединен со второй торцевой стенкой внутреннего проводника полуволнового коаксиального резонатора через центральное сквозное отверстие во второй торцевой стенке внешнего проводника этого резонатора.
2. Устройство по п.1, отличающееся тем, что в вакуумной части полуволнового коаксиального резонатора установлен диэлектрический держатель, расположенный соосно резонатору и жестко соединенный с его проводниками.
3. Устройство по п.2, отличающееся тем, что диэлектрический держатель расположен между центральными участками первых торцевых стенок внешнего и внутреннего проводников полуволнового коаксиального резонатора, при этом сквозные отверстия для пролета электронов в этих торцевых стенках расположены с внешней стороны диэлектрического держателя.
4. Устройство по п.3, отличающееся тем, что диэлектрический держатель выполнен в виде стержня или трубки.
5. Устройство по п.2, отличающееся тем, что диэлектрический держатель выполнен в виде трубки, расположенной в полости внешнего проводника полуволнового коаксиального резонатора и коаксиально окружающей внутренний проводник этого резонатора.
6. Устройство по п.1, отличающееся тем, что в вакуумной части полуволнового коаксиального резонатора установлены диэлектрические держатели в виде стержней, расположенных параллельно оси резонатора в промежутке между его внешним и внутренним проводниками и жестко соединенных с ними.
7. Устройство по п.1, отличающееся тем, что в полости внутреннего проводника полуволнового коаксиального резонатора с внешней стороны коллектора расположены каналы охлаждения.
8. Устройство по п.7, отличающееся тем, что каналы охлаждения соединены с размещенными с внешней стороны полуволнового коаксиального резонатора патрубками через сквозные отверстия во внутреннем проводнике этого резонатора и расположенные перпендикулярно продольной оси резонатора и проходящие при этом через сквозные отверстия во внешнем проводнике резонатора диэлектрические трубки из вакуумноплотной керамики, противоположные торцы каждой из которых вакуумноплотно соединены с внутренним проводником резонатора и с соответствующим патрубком, причем каждый из патрубков вакуумноплотно соединен с внешним проводником резонатора.
9. Устройство по п.1, отличающееся тем, что с внутренней стороны внешнего проводника полуволнового коаксиального резонатора выполнены продольные пазы, в которых размещены поглотители СВЧ- энергии.
10. Устройство по п.1, отличающееся тем, что первые торцевые стенки внутреннего и внешнего проводников полуволнового коаксиального резонатора снабжены расположенными со стороны высокочастотного зазора соосно резонатору выступами в виде диска или кольца с отверстиями для пролета электронов.
РИСУНКИ
|