|
|
(21), (22) Заявка: 2008139669/28, 06.10.2008
(24) Дата начала отсчета срока действия патента:
06.10.2008
(46) Опубликовано: 20.01.2010
(56) Список документов, цитированных в отчете о поиске:
RU 2320048 C1, 20.03.2008. SU 1804263 A1, 27.09.1996. RU 2242062 C1, 10.12.2004. SU 1192571 A1, 10.08.1996. US 4604554 A, 05.08.1986. US 4665337 A, 12.05.1987.
Адрес для переписки:
390023, г.Рязань, ул. Циолковского, 24, Открытое акционерное общество “Научно-исследовательский институт газоразрядных приборов “Плазма” (ОАО “Плазма”)
|
(72) Автор(ы):
Исаенков Юрий Иванович (RU), Меркулов Борис Петрович (RU), Нестеров Евгений Викторович (RU), Самородов Владислав Георгиевич (RU), Семенов Юрий Викторович (RU)
(73) Патентообладатель(и):
Открытое акционерное общество “Научно-исследовательский институт газоразрядных приборов “Плазма” (ОАО “Плазма”) (RU)
|
(54) ГАЗОНАПОЛНЕННЫЙ РАЗРЯДНИК
(57) Реферат:
Изобретение относится к газоразрядной технике и может быть использовано при разработке высоковольтных приборов, например разрядников-обострителей с субнаносекундной коммутацией, для использования в мощных малогабаритных генераторах высоковольтных импульсов напряжения с длительностью фронта менее 0,5 нс. Газонаполненный разрядник содержит оболочку, состоящую из металлического корпуса в виде цилиндрического стакана и размещенного в нем изолятора в виде полого усеченного конуса, два соосных электрода, один из которых закреплен на внутренней поверхности дна цилиндрического стакана, а второй – на торцевой поверхности меньшего основания изолятора, внутри которого проходит осевой вывод второго электрода. В разряднике образован дополнительный объем, ограниченный дном цилиндрического стакана и продолжением его цилиндрической части за дном стакана, в который введен второй изолятор в виде полого усеченного конуса с большим основанием, соединенным с краем продолжения цилиндрической части стакана и меньшим, обращенным внутрь объема. Осевой вывод второго электрода гальванически соединен с расположенным во втором изоляторе вторым осевым выводом через отверстия в дне цилиндрического стакана посредством проводников, каждый из которых проходит через отверстие, образуя зазор, обеспечивающий электрическую прочность разрядника. Технический результат – создание газонаполненного разрядника с раздельными входом и выходом, используемого для формирования высоковольтных импульсов напряжения с субнаносекундными фронтами (менее 1 нс). 1 ил.
Изобретение относится к газоразрядной технике и может быть использовано при разработке высоковольтных приборов, например разрядников-обострителей с субнаносекундной коммутацией, для использования в мощных малогабаритных генераторах высоковольтных импульсов напряжения с длительностью фронта менее 0,5 нс.
Известен газонаполненный разрядник с коаксиальным расположением электродов, имеющий оболочку, состоящую из электропроводящего корпуса в виде цилиндра, на внутренней поверхности которого закреплен внешний электрод, имеющий форму тора, два изолятора с осевыми отверстиями, внутри которых проходит электропроводящий стержень с закрепленным на нем внутренним электродом, имеющим форму диска и расположенным относительно внешнего электрода таким образом, что они образуют искровой разрядный промежуток в виде кольца [Патент РФ 64822/ H01J 17/00, 2006 г.].
В такой конструкции газонаполненного разрядника соотношение диаметров электропроводящих корпуса и стержня обеспечивает согласование разрядника с коаксиальной линией передачи генератора по волновому сопротивлению с одновременной развязкой входа и выхода генератора.
Кольцевой обостряющий разрядник при выполнении условий многоканальной коммутации обеспечивает минимальное сопротивление и минимальную индуктивность разрядника, что позволяет получать высоковольтные импульсы напряжения с длительностью менее 0,5 нс. Однако, оказалось, что при формировании высоковольтных импульсов напряжения выше 200 кВ с субнаносекундными фронтами невозможно обеспечить равномерный по периметру искровой зазор величиной менее 1 мм, что мешает реализации многоканальной коммутации. В такой конструкции разрядника разряд привязывается к одной точке, что приводит к искажению ТЕМ-волны и затягиванию фронта импульса.
Известен также газонаполненный разрядник, содержащий оболочку, состоящую из металлического корпуса и изолятора, два электрода, один из которых закреплен на металлическом корпусе, а другой на изоляторе, выполненном в виде полого тела вращения (усеченного конуса) и размещенного внутри металлического корпуса, при этом одно основание изолятора соединено с торцом корпуса, а другое, на котором закреплен электрод, обращено в сторону второго электрода и вывод электрода, проходящий внутри изолятора [Авт. свидетельство СССР 360886, H01J 17/18, 1973 г.].
Данный разрядник имеет большую механическую прочность, что позволяет наполнять его газом до давления порядка единиц МПа. Высокое давление газа при малых межэлектродных расстояниях в такой конструкции обеспечивает время коммутации в пределах единиц нс. Недостатком разрядника является низкая электрическая прочность из-за неравномерного распределения потенциала электрического поля вдоль образующей конической поверхности изолятора, обусловленного неоптимальными размерами и взаимным расположением элементов разрядника. К недостаткам разрядника следует также отнести недостаточную механическую прочность при формировании амплитуды импульса порядка 200 кВ и выше с длительностью фронта порядка 0,2-0,3 нс, что может быть получено при давлении более 10 МПа. Кроме того, конструкция, имеющая один высоковольтный вывод при использовании его в генераторах высоковольтных импульсов с субнаносекундными фронтами, не позволяет сделать развязку входа и выхода, т.е. высоковольтные импульсы подаются на вход генератора, имеющий гальваническую связь с высоковольтным выводом разрядника через центральную жилу коаксиала со стороны нагрузки. Наличие второй цепи генератора для зарядки его емкостного накопителя энергии параллельной его нагрузки приводит к искажению ТЕМ-волны из-за рассогласования и затягивания фронта выхода импульса.
Наиболее близким к предлагаемому изобретению является газонаполненный разрядник, содержащий оболочку, состоящую из металлического корпуса в виде цилиндрического стакана и размещенного в нем изолятора в виде полого усеченного конуса, два соосных электрода, один из которых закреплен на внутренней поверхности дна цилиндрического стакана, а второй на торцевой поверхности меньшего основания изолятора, внутри которого проходит осевой вывод второго электрода [Патент РФ 2320048, H01J 17/04, 2008 г. – прототип].
К недостаткам такого разрядника, используемого в схемах генератора высоковольтных импульсов с субнаносекундным фронтом, следует отнести невозможность развязки его входа и выхода. Наличие входной цепи генератора для зарядки емкостного накопителя энергии параллельной нагрузки приводит к искажению ТЕМ-волны в коаксиальной линии передачи из-за рассогласования и затягивания фронта выходного импульса.
Задачей данного изобретения является создание газонаполненного разрядника с раздельными входом и выходом, используемого для формирования высоковольтных импульсов напряжения с субнаносекундными фронтами (менее 1 нс).
Указанный технический результат достигается тем, что в известном газонаполненном разряднике, содержащем оболочку, состоящую из металлического корпуса в виде цилиндрического стакана и размещенного в нем изолятора в виде полого усеченного конуса, два соосных электрода, один из которых закреплен на внутренней поверхности дна цилиндрического стакана, а второй на торцевой поверхности меньшего основания изолятора, внутри которого проходит осевой вывод второго электрода, в объем, образованный дном цилиндрического стакана и продолжением его цилиндрической части за дном стакана, введен второй изолятор в виде полого усеченного конуса с большим основанием, соединенным с краем продолжения цилиндрической части стакана и меньшим, обращенным внутрь объема, а осевой вывод второго электрода гальванически соединен с расположенным во втором изоляторе вторым осевым выводом через отверстия в дне цилиндрического стакана посредством проводников, каждый из которых проходит через отверстие, образуя зазор, обеспечивающий электрическую прочность разрядника.
Конструкция разрядника с двумя осевыми выводами позволяет использовать его в генераторах высоковольтных импульсов напряжения с субнаносекундными фронтами (менее 1 нс) с развязкой его входа и выхода.
Проведенный заявителем анализ уровня техники, включающий поиск по патентным и научно-техническим источникам информации, и выявление источников, содержащих сведения об аналогах заявленного изобретения, позволяет установить, что заявителем не обнаружен аналог, характеризующийся признаками, идентичными признакам заявленного изобретения, а определение из перечня выявленных аналогов прототипа как наиболее близкого по совокупности признаков аналога, позволил выявить совокупность существенных по отношению к усматриваемому заявителем техническому результату отличительных признаков в заявленном объекте, изложенных в формуле изобретения.
Следовательно, заявленное изобретение соответствует требованию “новизна”.
Для проверки соответствия заявленного изобретения требованию изобретательского уровня был проведен дополнительный поиск известных решений с целью выявления признаков, совпадающих с отличительными от прототипа признаками заявленного изобретения, результаты которого показывают, что заявленное изобретение не следует для специалиста явным образом из известного уровня техники, так как не выявлены технические решения, позволяющие создать разрядник с развязкой входа и выхода, используемый для в генераторах высоковольтного импульсного напряжения за счет того, что в разряднике, содержащем оболочку, состоящую из металлического корпуса в виде цилиндрического стакана и размещенного в нем изолятора в виде полого усеченного конуса, два соосных электрода, один из которых закреплен на внутренней поверхности дна цилиндрического стакана, а второй на торцевой поверхности меньшего основания изолятора, внутри которого проходит осевой вывод второго электрода, образован дополнительный объем, ограниченный дном цилиндрического стакана и продолжением его цилиндрической части за дном стакана, в который введен второй изолятор в виде полого усеченного конуса с большим основанием, соединенным с краем продолжения цилиндрической части стакана, и меньшим, обращенным внутрь объема, а осевой вывод второго электрода гальванически соединен с расположенным во втором изоляторе вторым осевым выводом через отверстия в дне цилиндрического стакана посредством проводников, причем края отверстий в дне стакана и поверхность проводников, проходящих через эти отверстия, образуют зазор, обеспечивающий электрическую прочность разрядника.
Следовательно, заявленное изобретение соответствует требованию “изобретательский уровень”.
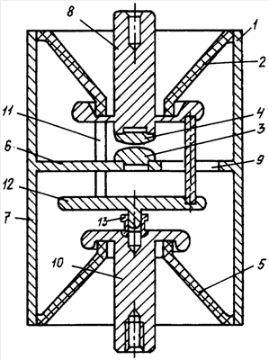
Заявленное изобретение поясняется чертежом,
на котором показан один из вариантов предлагаемого газонаполненного разрядника.
Газонаполненный разрядник содержит металлический корпус 1 в виде цилиндрического стакана, изолятор 2 в виде полого усеченного конуса, первый электрод 3, закрепленный на внутренней поверхности дна металлического корпуса 1, и второй электрод 4, размещенный на торцевой поверхности меньшего основания изолятора 2, второй изолятор 5 в виде полого усеченного конуса, расположенный в объеме, образованном дном 6 цилиндрического стакана и продолжением его цилиндрической части 7 за дном стакана, причем большее основание второго изолятора 5 соединено с краем продолжения 7 цилиндрической части стакана, а меньшее обращено внутрь объема, осевой вывод 8 второго электрода 4, проходящий внутри изолятора 2 и соединенный через отверстия 9 в дне 6 цилиндрического стакана с проходящим через второй изолятор 5 вторым осевым выводом 10, посредством проводников 11, диска 12 и осевого цангового соединения 13, причем края отверстий 9 в дне 6 цилиндрического стакана и края проводников 12, проходящих через эти отверстия, образуют зазор, обеспечивающий электрическую прочность разрядника.
Работает газонаполненный разрядник следующим образом.
В результате подачи высоковольтных импульсов напряжения на второй осевой вывод 10, электрически соединенный с осевым выводом 8 через отверстия 9 в дне 6 цилиндрического стакана, происходит зарядка емкостной накопительной линии совместно с емкостью межэлектродного промежутка, при пробое которого в нагрузке выделяется импульс напряжения с формой, зависящей от коммутационных характеристик разрядника и элементов разрядного контура. При оптимальном согласовании разрядника с накопительной (формирующей) линией и нагрузкой, что обеспечивается данной конструкцией разрядника, имеющей два высоковольтных вывода, расположенных по оси прибора, фронт импульсов напряжения в основном определяется временем коммутации разрядника, которое при давлении наполняющего газа более 10 МПа и межэлектродном расстоянии порядка 1 мм составляет менее 0,5 нс. Такая конструкция разрядника по своей работе равносильна разряднику с кольцевым разрядным промежутком. Однако использовать разрядник с кольцевым разрядным промежутком в режиме многоканальной коммутации практически невозможно, т.к. невозможно обеспечить постоянный зазор величиной менее 1 мм по периметру кольца, в результате чего разряд привязывается к одной точке, что приводит к искажению ТЕМ-волны и затягиванию фронта импульса. При использовании предлагаемого газонаполненного разрядника устраняются искажения ТЕМ-волны и сохраняются преимущества разрядника с кольцевым зазором при выполнении условий многоканальной коммутации.
На базе серийно выпускаемого разрядника РО-49 были изготовлены макетные образцы, соответствующие заявленной конструкции разрядника с межэлектродным расстоянием 1 и 2 мм и напряжению пробоя 150 и 250 кВ соответственно. Приборы наполнялись водородом до давления (более 100 атм), обеспечивающего указанные выше динамические напряжения пробоя при времени нарастания напряжения равном 100 нс. Проведенные испытания показали, что макетные образцы имеют время коммутации порядка 0,3 нс.
Таким образом, использование предлагаемого изобретения позволяет создать газонаполненный разрядник с раздельными входом и выходом, для формирования высоковольтных импульсов напряжения с субнаносекундными фронтами (менее 1 нс).
Формула изобретения
Газонаполненный разрядник, содержащий оболочку, состоящую из металлического корпуса в виде цилиндрического стакана и размещенного в нем изолятора в виде полого усеченного конуса, два соосных электрода, один из которых закреплен на внутренней поверхности дна цилиндрического стакана, а второй на торцевой поверхности меньшего основания изолятора, внутри которого проходит осевой вывод второго электрода, отличающийся тем, что в объем, образованный дном цилиндрического стакана и продолжением его цилиндрической части за дном стакана, введен второй изолятор в виде полого усеченного конуса с большим основанием, соединенным с краем продолжения цилиндрической части стакана и меньшим, обращенным внутрь объема, а осевой вывод второго электрода гальванически соединен с расположенным во втором изоляторе вторым осевым выводом через отверстия в дне цилиндрического стакана посредством проводников, каждый из которых проходит через отверстие, образуя зазор, обеспечивающий электрическую прочность разрядника.
РИСУНКИ
|
|